CN214685301U - Special fixture for numerical control machining center - Google Patents

Special fixture for numerical control machining center Download PDF

Info

Publication number
CN214685301U
CN214685301U CN202022972675.6U CN202022972675U CN214685301U CN 214685301 U CN214685301 U CN 214685301U CN 202022972675 U CN202022972675 U CN 202022972675U CN 214685301 U CN214685301 U CN 214685301U
Authority
CN
China
Prior art keywords
clamping
numerical control
chip
control machining
machining center
Prior art date
Legal status (The legal status is an assumption and is not a legal conclusion. Google has not performed a legal analysis and makes no representation as to the accuracy of the status listed.)
Expired - Fee Related
Application number
CN202022972675.6U
Other languages
Chinese (zh)
Inventor
杨易
Current Assignee (The listed assignees may be inaccurate. Google has not performed a legal analysis and makes no representation or warranty as to the accuracy of the list.)
Wuhan Li Jia Cheng Machinery Co ltd
Original Assignee
Wuhan Li Jia Cheng Machinery Co ltd
Priority date (The priority date is an assumption and is not a legal conclusion. Google has not performed a legal analysis and makes no representation as to the accuracy of the date listed.)
Filing date
Publication date
Application filed by Wuhan Li Jia Cheng Machinery Co ltd filed Critical Wuhan Li Jia Cheng Machinery Co ltd
Priority to CN202022972675.6U priority Critical patent/CN214685301U/en
Application granted granted Critical
Publication of CN214685301U publication Critical patent/CN214685301U/en
Expired - Fee Related legal-status Critical Current
Anticipated expiration legal-status Critical

Links

Images

Landscapes

  • Jigs For Machine Tools (AREA)

Abstract

本实用新型公开了数控加工中心专用夹具,涉及数控加工中心技术领域,为解决现有的夹具装夹动作繁琐,易积屑,导致难以清理的问题。所述装夹平台的下端安装有基座,所述基座的两侧和前后两端均设置有驱动腔,所述装夹平台的上端设置有夹持块,且夹持块设置有四个,所述夹持块的内侧设置有夹持杆,所述夹持块的下端设置有导向板,所述装夹平台的上端设置有滑槽,且滑槽设置有四个,且滑槽位于夹持块的下方,所述驱动腔的外侧设置有手柄,所述手柄的一端安装有丝杆,且丝杆位于驱动腔的内部,所述丝杆的下方设置有导向杆,且导向板嵌入驱动腔的内部,且丝杆和导向杆均贯穿导向板,且导向板与导向杆滑动连接。

Figure 202022972675

The utility model discloses a special fixture for a numerical control machining center, which relates to the technical field of numerical control machining centers. The lower end of the clamping platform is provided with a base, the two sides and the front and rear ends of the base are provided with drive cavities, the upper end of the clamping platform is provided with clamping blocks, and the clamping blocks are provided with four , the inner side of the clamping block is provided with a clamping rod, the lower end of the clamping block is provided with a guide plate, the upper end of the clamping platform is provided with a chute, and the chute is provided with four, and the chute is located in Below the clamping block, a handle is arranged on the outer side of the drive cavity, one end of the handle is installed with a screw rod, and the screw rod is located inside the drive cavity, a guide rod is arranged below the screw rod, and the guide plate is embedded Inside the drive cavity, the screw rod and the guide rod pass through the guide plate, and the guide plate is slidably connected with the guide rod.

Figure 202022972675

Description

Special fixture for numerical control machining center
Technical Field
The utility model relates to a numerical control machining center technical field specifically is numerical control machining center special fixture.
Background
The numerical control machining center is a numerical control machining tool with complete functions; is one of numerical control machines with the highest yield and the most extensive application in the world. The numerical control machining center is a numerical control machine tool with a tool magazine and capable of automatically replacing tools and performing various machining operations on a workpiece within a certain range, is widely applied to the field of industries such as mechanical manufacturing due to the advantages of stable machining quality, high machining precision, high production efficiency and the like, and is one of the most important process equipment for fixing a machined object in the mechanical manufacturing process, thereby ensuring the machining quality, improving the production efficiency and reducing the machining cost and the labor intensity of workers.
However, the existing clamp is complex in clamping action, easy to accumulate chips and difficult to clean, so that the existing requirement is not met, and the special clamp for the numerical control machining center is provided.
SUMMERY OF THE UTILITY MODEL
An object of the utility model is to provide a numerical control machining center special fixture to current anchor clamps clamping action that proposes in solving above-mentioned background art is loaded down with trivial details, and easy long-pending bits leads to the problem that is difficult to the clearance.
In order to achieve the above object, the utility model provides a following technical scheme: the special clamp for the numerical control machining center comprises a clamping platform, wherein a base is installed at the lower end of the clamping platform, driving cavities are formed in two sides and the front end and the rear end of the base, clamping blocks are arranged at the upper end of the clamping platform, four clamping blocks are arranged on the clamping blocks, clamping rods are arranged on the inner sides of the clamping blocks, guide plates are arranged at the lower ends of the clamping blocks, sliding grooves are formed in the upper end of the clamping platform, four sliding grooves are formed in the sliding grooves and are located below the clamping blocks, a handle is arranged on the outer side of each driving cavity, a lead screw is installed at one end of each handle and is located inside the driving cavity, guide rods are arranged below the lead screws and are embedded into the driving cavities, the lead screws and the guide rods penetrate through the guide plates, the guide plates are connected with the guide rods in a sliding mode and are in threaded connection with the lead screws, through holes are formed in the upper end of the clamping platform, the lower extreme in drive chamber is provided with the chip groove, the mounting panel is installed to the lower extreme of clamping platform, the upper end of mounting panel is provided with first chip guide hole and second chip guide hole, and just first chip guide hole is located the below of through-hole, and the second chip guide hole is located the below of chip groove.
Preferably, the lower end of the mounting plate is provided with a chip collecting box.
Preferably, the inner side of the clamping rod is provided with an anti-slip pad, the inner side of the anti-slip pad is provided with an anti-slip groove, and the clamping rod is connected with the anti-slip pad in a gluing mode.
Preferably, a cooling water pipe is arranged inside the base.
Preferably, the chip collecting box is connected with the mounting plate in a sliding mode.
Compared with the prior art, the beneficial effects of the utility model are that:
1. the utility model discloses a manual turning handle drives the lead screw and rotates, makes the deflector rotate along spout and guide bar horizontal slip, carries out the quick adjustment to the clamping position of clamping piece one end supporting rod, and four supporting rods realize rocking the all-round of work piece, and the centre gripping stability is good, avoids the work piece to produce man-hour and rocks, and the position homoenergetic of four supporting rods can the independent control, is applicable to not unidimensional work piece, has improved the flexibility when using.
2. The utility model discloses a through-hole and chip groove can in time be discharged with the inside piece that gets into drive intracavity portion and through-hole, and the inside that gets into collection bits box is concentrated to the first chip guide hole of piece rethread and second chip guide hole, realizes avoiding the inside long-pending bits of whole anchor clamps to clastic collection, because collection bits box and mounting panel sliding connection, so can will collect the bits box fast and lift off, and is convenient to the clearance of long-pending bits.
3. The utility model discloses a let in the cooling water to condenser tube's inside, realized also playing the effect of cooling to the work piece simultaneously to the cooling of anchor clamps, the transfer to the work piece after convenient processing is accomplished.
Drawings
FIG. 1 is a schematic structural view of a special fixture for a numerical control machining center of the present invention;
fig. 2 is a top view of the clamping platform of the present invention;
FIG. 3 is a schematic structural view of the cooling water pipe of the present invention;
fig. 4 is a partial enlarged view of the region a of the present invention.
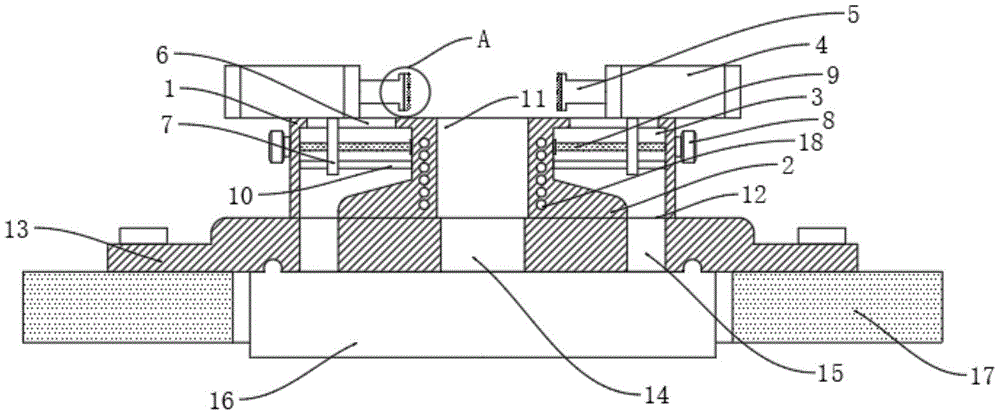
In the figure: 1. clamping the platform; 2. a base; 3. a drive chamber; 4. a clamping block; 5. a clamping rod; 6. a chute; 7. a guide plate; 8. a handle; 9. a screw rod; 10. a guide bar; 11. a through hole; 12. a chip groove; 13. mounting a plate; 14. a first chip guide hole; 15. a second chip guide hole; 16. a scrap collecting box; 17. a processing platform; 18. A cooling water pipe; 19. a non-slip mat; 20. and (4) an anti-slip groove.
Detailed Description
The technical solutions in the embodiments of the present invention will be described clearly and completely with reference to the accompanying drawings in the embodiments of the present invention, and it is obvious that the described embodiments are only some embodiments of the present invention, not all embodiments.
Referring to fig. 1-4, the present invention provides an embodiment: a special clamp for a numerical control machining center comprises a clamping platform 1, wherein a base 2 is installed at the lower end of the clamping platform 1, driving cavities 3 are formed in two sides and the front end and the rear end of the base 2, clamping blocks 4 are arranged at the upper end of the clamping platform 1, four clamping blocks 4 are arranged on the clamping blocks 4, clamping rods 5 are arranged on the inner sides of the clamping blocks 4, guide plates 7 are arranged at the lower ends of the clamping blocks 4, sliding grooves 6 are arranged at the upper end of the clamping platform 1, four sliding grooves 6 are arranged on the sliding grooves 6, a handle 8 is arranged on the outer side of each driving cavity 3, a lead screw 9 is installed at one end of each handle 8, the lead screw 9 is located inside each driving cavity 3, guide rods 10 are arranged below the lead screws 9, the guide plates 7 are embedded into the driving cavities 3, the lead screws 9 and the guide rods 10 penetrate through the guide plates 7, the guide plates 7 are connected with the guide rods 10 in a sliding mode, and the guide plates 7 are in threaded connection with the lead screws 9, the upper end of clamping platform 1 is arranged in to the work piece that will treat the clamping, manual twist grip 8 drives lead screw 9 and rotates, make deflector 7 along spout 6 and guide bar 10 horizontal slip, carry out quick adjustment to the clamping position of 4 one end supporting rods 5 of grip block, four supporting rods 5 realize the all-round fixed to the work piece, the centre gripping stability is good, avoid the work piece to produce when adding man-hour and rock, and the position homoenergetic of four supporting rods 5 can the independent control, be applicable to not unidimensional work piece, flexibility when using has been improved.
Furthermore, the upper end of the clamping platform 1 is provided with a through hole 11, the lower end of the driving cavity 3 is provided with a chip removal groove 12, the lower end of the clamping platform 1 is provided with a mounting plate 13, the upper end of the mounting plate 13 is provided with a first chip removal hole 14 and a second chip removal hole 15, the first chip removal hole 14 is located below the through hole 11, the second chip removal hole 15 is located below the chip removal groove 12, the mounting plate 13 is connected with the processing platform 17 through a bolt, during processing, the through hole 11 and the chip removal groove 12 in the upper end of the clamping platform 1 can timely discharge chips entering the interior of the driving cavity 3 and the interior of the through hole 11, the chips are concentrated into the interior of the chip collection box 16 through the first chip removal hole 14 and the second chip removal hole 15, collection of the chips is achieved, and chip accumulation in the whole fixture is avoided.
Further, the lower end of the mounting plate 13 is provided with a chip collecting box 16 for collecting chips.
Further, the inboard of supporting rod 5 is provided with slipmat 19, and the inboard of slipmat 19 is provided with non-slip groove 20, and supporting rod 5 is connected with slipmat 19 cementing, improves the clamp force, avoids the work piece to rock, also avoids the workpiece surface mar to appear simultaneously.
Further, base 2's inside is provided with condenser tube 18, and condenser tube 18 is helical structure, lets in the cooling water to condenser tube 18's inside, has realized the cooling to anchor clamps, also plays the effect of cooling to the work piece simultaneously, makes things convenient for the transfer to the work piece after the processing is accomplished.
Further, collection bits box 16 and mounting panel 13 sliding connection can lift collection bits box 16 off fast, and is convenient to the clearance of long-pending bits.
The working principle is as follows: when the clamping device is used, a workpiece to be clamped is arranged at the upper end of the clamping platform 1, the handle 8 is manually rotated to drive the screw rod 9 to rotate, the guide plate 7 horizontally slides along the sliding groove 6 and the guide rod 10, the clamping position of the clamping rod 5 at one end of the clamping block 4 is rapidly adjusted, the four clamping rods 5 realize the all-dimensional fixation of the workpiece, the clamping stability is good, the workpiece is prevented from shaking during processing, the positions of the four clamping rods 5 can be independently adjusted, the clamping device is suitable for workpieces with different sizes, the flexibility during use is improved, during clamping, the contact friction force between the anti-slip pads 19 at the inner sides of the clamping rods 5 and the workpiece is increased, the clamping force is improved, the workpiece shaking is avoided, meanwhile, scratches are also avoided on the surface of the workpiece, and during processing, the chips entering the inside the driving cavity 3 and the through holes 11 can be timely discharged through the through holes 11 by the through holes 11 and the chip discharge grooves 12 at the upper end of the clamping platform 1, piece rethread first leads bits hole 14 and second and leads the inside that the piece hole 15 concentrates and get into collection bits box 16, the realization is to the collection of piece, avoid the inside long-pending bits of whole anchor clamps, because collection bits box 16 and mounting panel 13 sliding connection, so can lift collection bits box 16 off fast, it is convenient to the clearance of long-pending bits, at the in-process of processing, let in the cooling water to the inside of condenser tube 18, the cooling to anchor clamps has been realized, also play the effect of cooling simultaneously to the work piece, make things convenient for the transfer to the work piece after the processing is accomplished.
It is obvious to a person skilled in the art that the invention is not restricted to details of the above-described exemplary embodiments, but that it can be implemented in other specific forms without departing from the spirit or essential characteristics of the invention. The present embodiments are therefore to be considered in all respects as illustrative and not restrictive, the scope of the invention being indicated by the appended claims rather than by the foregoing description, and all changes which come within the meaning and range of equivalency of the claims are therefore intended to be embraced therein. Any reference sign in a claim should not be construed as limiting the claim concerned.

Claims (5)

1. Numerical control machining center special fixture, including clamping platform (1), its characterized in that: the clamping device is characterized in that a base (2) is installed at the lower end of a clamping platform (1), driving cavities (3) are arranged on two sides and the front end and the rear end of the base (2), clamping blocks (4) are arranged at the upper end of the clamping platform (1), four clamping blocks (4) are arranged, clamping rods (5) are arranged on the inner side of each clamping block (4), a guide plate (7) is arranged at the lower end of each clamping block (4), a sliding groove (6) is arranged at the upper end of the clamping platform (1), four sliding grooves (6) are arranged, each sliding groove (6) is located below each clamping block (4), a handle (8) is arranged on the outer side of each driving cavity (3), a lead screw (9) is installed at one end of each handle (8), each lead screw (9) is located inside each driving cavity (3), each guide rod (10) is arranged below each lead screw (9), and each guide plate (7) is embedded into each driving cavity (3), and lead screw (9) and guide bar (10) all run through deflector (7), and deflector (7) and guide bar (10) sliding connection, deflector (7) and lead screw (9) threaded connection, the upper end of clamping platform (1) is provided with through-hole (11), the lower extreme of drive chamber (3) is provided with chip groove (12), mounting panel (13) are installed to the lower extreme of clamping platform (1), the upper end of mounting panel (13) is provided with first chip guide hole (14) and second chip guide hole (15), and first chip guide hole (14) are located the below of through-hole (11), and second chip guide hole (15) are located the below of chip groove (12).
2. The special fixture for the numerical control machining center according to claim 1, characterized in that: the lower end of the mounting plate (13) is provided with a chip collecting box (16).
3. The special fixture for the numerical control machining center according to claim 1, characterized in that: the inner side of the clamping rod (5) is provided with an anti-skid pad (19), the inner side of the anti-skid pad (19) is provided with an anti-skid groove (20), and the clamping rod (5) is connected with the anti-skid pad (19) in a gluing mode.
4. The special fixture for the numerical control machining center according to claim 1, characterized in that: and a cooling water pipe (18) is arranged in the base (2).
5. The special fixture for the numerical control machining center according to claim 2, characterized in that: the scrap collecting box (16) is connected with the mounting plate (13) in a sliding mode.
CN202022972675.6U 2020-12-11 2020-12-11 Special fixture for numerical control machining center Expired - Fee Related CN214685301U (en)

Priority Applications (1)

Application Number Priority Date Filing Date Title
CN202022972675.6U CN214685301U (en) 2020-12-11 2020-12-11 Special fixture for numerical control machining center

Applications Claiming Priority (1)

Application Number Priority Date Filing Date Title
CN202022972675.6U CN214685301U (en) 2020-12-11 2020-12-11 Special fixture for numerical control machining center

Publications (1)

Publication Number Publication Date
CN214685301U true CN214685301U (en) 2021-11-12

Family

ID=78557747

Family Applications (1)

Application Number Title Priority Date Filing Date
CN202022972675.6U Expired - Fee Related CN214685301U (en) 2020-12-11 2020-12-11 Special fixture for numerical control machining center

Country Status (1)

Country Link
CN (1) CN214685301U (en)

Similar Documents

Publication Publication Date Title
CN205733971U (en) A kind of practical two-way Set and Positioning boring grab
CN220921597U (en) Milling equipment
CN215281496U (en) Polishing fixing device is used in cutter production
CN214685301U (en) Special fixture for numerical control machining center
CN201990700U (en) Combined clamp for quenching machine tool
CN212496556U (en) Clamping tool for machining metal workpiece
CN205394164U (en) Full -automatic grinding device of fluted drill
CN212443365U (en) Hydraulic drilling device capable of automatically clamping
CN216913334U (en) Burnishing device that metal surface treatment used
CN215281255U (en) Burr removing device for metal flange
CN118478226A (en) Polishing, drilling and tapping integrated machine
CN213054124U (en) Grinding device is used in production of accurate screw
CN213195661U (en) Multifunctional machine tool sliding table
CN221817384U (en) A deburring drilling machine
CN211916151U (en) Efficient numerical control milling machine works
CN223098633U (en) Clamping mechanism
CN218746586U (en) A grinding device for cutter
CN223236098U (en) An automated fixture
CN221338029U (en) Steel pipe processing equipment
CN219704553U (en) Cutter thickness processing equipment
CN222791543U (en) A grinding device for processing sheet metal parts of machine tools
CN220296653U (en) Deburring cutter arbor device
CN222059887U (en) A grinding machine for metal parts processing
CN219704497U (en) Grinding machine for mechanical manufacturing
CN214722398U (en) Line rail type cutting fixing device

Legal Events

Date Code Title Description
GR01 Patent grant
GR01 Patent grant
CF01 Termination of patent right due to non-payment of annual fee

Granted publication date: 20211112