CN214676449U - Novel agricultural machine is multi-functional with pulling device - Google Patents
Novel agricultural machine is multi-functional with pulling device Download PDFInfo
- Publication number
- CN214676449U CN214676449U CN202120861869.0U CN202120861869U CN214676449U CN 214676449 U CN214676449 U CN 214676449U CN 202120861869 U CN202120861869 U CN 202120861869U CN 214676449 U CN214676449 U CN 214676449U
- Authority
- CN
- China
- Prior art keywords
- connecting plate
- fixed
- threaded
- holes
- shaped sliding
- Prior art date
- Legal status (The legal status is an assumption and is not a legal conclusion. Google has not performed a legal analysis and makes no representation as to the accuracy of the status listed.)
- Expired - Fee Related
Links
- 230000000694 effects Effects 0.000 abstract description 4
- 239000011435 rock Substances 0.000 abstract description 4
- 230000009286 beneficial effect Effects 0.000 abstract description 2
- 230000002035 prolonged effect Effects 0.000 description 2
- 238000010276 construction Methods 0.000 description 1
- 238000003306 harvesting Methods 0.000 description 1
- 230000002262 irrigation Effects 0.000 description 1
- 238000003973 irrigation Methods 0.000 description 1
- 210000001503 joint Anatomy 0.000 description 1
- 238000004519 manufacturing process Methods 0.000 description 1
- 238000000034 method Methods 0.000 description 1
- 230000000149 penetrating effect Effects 0.000 description 1
- 239000002689 soil Substances 0.000 description 1
- 239000002699 waste material Substances 0.000 description 1
Images
Landscapes
- Agricultural Machines (AREA)
Abstract
The utility model relates to a novel agricultural machine is multi-functional with traction device, including tractor connecting plate, traction frame, fixed shell and removal connecting plate, the traction frame is installed to tractor connecting plate one side, install fixed shell on the traction frame, be equipped with the removal connecting plate in the fixed shell, it has fixed through hole to remove connecting plate one end and open, it has spacing logical groove to open on the removal connecting plate, install fixed gag lever post in the fixed shell, and fixed gag lever post runs through spacing logical groove. The beneficial effects of the utility model are that, remove the removal connecting plate through rotating turning handle, reduced the connection difficulty degree, reduced the work flow, the operation of being convenient for plays spacing effect to removing the connecting plate through fixed gag lever post and spacing logical groove, when pulling, the mechanical connecting plate can slide from top to bottom, can not lead to the fact the influence to agricultural machine when the tractor rocks, prevents the draw gear rupture, and the flexibility is good, has improved life.
Description
Technical Field
The utility model relates to the technical field of agricultural machinery, specifically be a novel multi-functional traction of using of agricultural machine device.
Background
Agricultural machinery refers to various machines used in the production process of crop planting industry and animal husbandry, and the primary processing and treatment process of agricultural and animal products, and the agricultural machinery comprises agricultural power machinery, farmland construction machinery, soil cultivation machinery, planting and fertilizing machinery, plant protection machinery, farmland irrigation and drainage machinery, crop harvesting machinery, agricultural product processing machinery, animal husbandry machinery, agricultural transportation machinery and the like.
At present, with the continuous development of scientific and technological science, the tractor that agricultural machine made obtains extensive application with its unique advantage, when drawing aircraft nose and agricultural machine butt joint, the position that the operation personnel need adjust the aircraft nose repeatedly makes draw gear and agricultural machine establish being connected, and the flexibility of drawing the aircraft nose is relatively poor, leads to draw gear and agricultural machine to be difficult to be connected to increased the operation degree of difficulty of operation personnel, increased operating personnel's work load, waste a large amount of time, be not convenient for operate and use.
SUMMERY OF THE UTILITY MODEL
The utility model provides a novel agricultural machine is multi-functional with traction device to the not enough of prior art, the utility model provides a problem of proposing in solving above-mentioned background art.
In order to achieve the above purpose, the utility model discloses a following technical scheme realizes: the utility model provides a novel agricultural machine is multi-functional with traction device, includes tractor connecting plate, traction frame, fixed shell and removal connecting plate, the traction frame is installed to tractor connecting plate one side, install fixed shell on the traction frame, be equipped with the removal connecting plate in the fixed shell, and remove connecting plate one end and run through fixed shell, it has fixed through hole to remove connecting plate one end and open, it has spacing logical groove to open on the removal connecting plate, install fixed gag lever post in the fixed shell, and fixed gag lever post runs through spacing logical groove.
Preferably, the fixed tooth plate is installed at the top of the movable connecting plate, the fixed tooth plate is located inside the fixed shell, a fixed bearing is arranged on one side of the fixed shell, a rotating handle is sleeved on the fixed bearing and penetrates through the fixed bearing to extend into the fixed shell, a fixed gear is installed on the rotating handle, and the fixed gear is mutually meshed with the fixed tooth plate.
Preferably, the mobile connecting plate is provided with an Contraband-type connecting piece, the Contraband-type connecting piece is movably connected with the mobile connecting plate, the Contraband-type connecting piece is provided with a threaded through hole, the threaded through hole is opposite to the fixed through hole in position, the threaded through hole is provided with a threaded connecting rod, and the threaded connecting rod penetrates through the fixed through hole and is in threaded connection with the threaded through hole.
Preferably, Contraband type connecting piece installs fixed connection board in one side, and vertical fixed block is installed to fixed connection board one side, and it has T type slide rail to open on the vertical fixed block, is equipped with T type slider in the T type slide rail, and T type slider and T type slide rail sliding connection are equipped with expanding spring in the T type slide rail, and expanding spring is located both ends about the T type slider, and mechanical connecting plate is installed to T type slider one side.
Preferably, bolt through holes are formed in the tractor connecting plate and the mechanical connecting plate and are respectively located at four corners of the tractor connecting plate and the mechanical connecting plate.
Preferably, the fixed bearing outer ring is fixedly connected with the fixed shell, and the fixed bearing inner ring is fixedly connected with the rotating handle.
Preferably, one end of the telescopic spring is fixedly connected with the T-shaped sliding rail, and the other end of the telescopic spring is fixedly connected with the T-shaped sliding block.
Advantageous effects
The utility model provides a novel agricultural machine is multi-functional with draw gear, possess following beneficial effect, this device removes the connecting plate through rotating handle, the connection difficulty degree has been reduced, the work flow has been reduced, the operation of being convenient for, play spacing effect to the connecting plate through fixed gag lever post and spacing logical groove, the back in the Contraband type connecting piece is removed to the connecting plate, run through threaded through hole and fixed through hole with threaded connecting rod, fix threaded connecting rod and threaded through hole threaded connection, when pulling, mechanical connecting plate can slide from top to bottom in the T type slide rail on vertical fixed block through T type slider, can not cause the influence to agricultural machine when the tractor rocks, prevent draw gear rupture, the flexibility is good, and service life is prolonged.
Drawings
Fig. 1 is a schematic view of the main structure of the present invention.
Fig. 2 is a schematic top sectional view of the fixing housing of the present invention.
Fig. 3 is an enlarged schematic view of the position a of the present invention.
Fig. 4 is the schematic view of the vertical fixing block of the present invention.
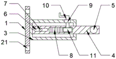
In the figure: 1. a tractor connection plate; 2. a traction frame; 3. fixing the housing; 4. moving the connecting plate; 5. a fixing through hole; 6. a limiting through groove; 7. fixing a limiting rod; 8. a fixed toothed plate; 9. fixing the bearing; 10. rotating the handle; 11. fixing a gear; 12. model Contraband connection elements; 13. a threaded through hole; 14. a threaded connecting rod; 15. fixing the connecting plate; 16. a vertical fixed block; 17. a T-shaped slide rail; 18. a T-shaped slider; 19. a tension spring; 20. a mechanical connection plate; 21. and a bolt through hole.
Detailed Description
The technical solutions in the embodiments of the present invention will be described clearly and completely with reference to the accompanying drawings in the embodiments of the present invention, and it is obvious that the described embodiments are only some embodiments of the present invention, not all embodiments. Based on the embodiments in the present invention, all other embodiments obtained by a person skilled in the art without creative efforts belong to the protection scope of the present invention.
In the description of the present invention, it should be noted that the terms "upper", "lower", "inner", "outer", "front end", "rear end", "both ends", "one end", "the other end" and the like indicate orientations or positional relationships based on the orientations or positional relationships shown in the drawings, and are only for convenience of description and simplification of description, but do not indicate or imply that the device or element to which the reference is made must have a specific orientation, be constructed in a specific orientation, and be operated, and thus, should not be construed as limiting the present invention. Furthermore, the terms "first" and "second" are used for descriptive purposes only and are not to be construed as indicating or implying relative importance.
In the description of the present invention, it is to be noted that, unless otherwise explicitly specified or limited, the terms "mounted," "disposed," "connected," and the like are to be construed broadly, and for example, "connected" may be either fixedly connected or detachably connected, or integrally connected; can be mechanically or electrically connected; they may be connected directly or indirectly through intervening media, or they may be interconnected between two elements. The specific meaning of the above terms in the present invention can be understood in specific cases to those skilled in the art.
Referring to fig. 1-4, the present invention provides an embodiment: the utility model provides a novel agricultural machine is multi-functional with draw device, includes tractor connecting plate 1, traction frame 2, fixed shell 3 and removal connecting plate 4, traction frame 2 is installed to tractor connecting plate 1 one side, install fixed shell 3 on the traction frame 2, be equipped with removal connecting plate 4 in the fixed shell 3, and remove 4 one ends of connecting plate and run through fixed shell 3, 4 one ends of removal connecting plate are opened there is fixed through hole 5, it has spacing logical groove 6 to open on the removal connecting plate 4, install fixed gag lever post 7 in the fixed shell 3, and fixed gag lever post 7 runs through spacing logical groove 6, and removal connecting plate 4 can remove conveniently and Contraband type connecting piece 12 and be connected, plays spacing effect to removal connecting plate 4 through fixed gag lever post 7 and spacing logical groove 6.
Further, remove 4 tops of connecting plate and install fixed tooth plate 8, and fixed tooth plate 8 is located inside fixed shell 3, 3 one sides of fixed shell are equipped with fixing bearing 9, the cover is equipped with turning handle 10 on the fixing bearing 9, and turning handle 10 runs through in fixing bearing 9 stretches into fixed shell 3, install fixed gear 11 on the turning handle 10, and fixed gear 11 and fixed tooth plate 8 interlock each other, move the connecting plate 4 through rotating turning handle 10, the connection difficulty degree has been reduced, the work flow has been reduced, and the operation of being convenient for.
Furthermore, Contraband type connecting pieces 12 are arranged on the movable connecting plate 4, the Contraband type connecting pieces 12 are movably connected with the movable connecting plate 4, threaded through holes 13 are formed in the Contraband type connecting pieces 12, the threaded through holes 13 are opposite to the fixed through holes 5 in position, threaded connecting rods 14 are arranged on the threaded through holes 13, the threaded connecting rods 14 penetrate through the fixed through holes 5 and are in threaded connection with the threaded through holes 13, after the movable connecting plate 4 moves into the Contraband type connecting pieces 12, the threaded connecting rods 14 penetrate through the threaded through holes 13 and the fixed through holes 5, and the threaded connecting rods 14 are fixed with the threaded through holes 13 in a threaded connection mode.
Further, fixed connection board 15 is installed to Contraband type connecting piece 12 one side, vertical fixed block 16 is installed to fixed connection board 15 one side, it has T type slide rail 17 to open on the vertical fixed block 16, be equipped with T type slider 18 in the T type slide rail 17, and T type slider 18 and T type slide rail 17 sliding connection, be equipped with expanding spring 19 in the T type slide rail 17, and expanding spring 19 is located T type slider 18 upper and lower both ends, mechanical connecting plate 20 is installed to T type slider 18 one side, when pulling, mechanical connecting plate 20 can slide from top to bottom in the T type slide rail 17 on vertical fixed block 16 through T type slider 18, can not cause the influence to agricultural machine when the tractor rocks, prevent draw gear rupture, the flexibility is good, and service life is prolonged.
Further, bolt through holes 21 are formed in the tractor connecting plate 1 and the mechanical connecting plate 20, the bolt through holes 21 are located at four corners of the tractor connecting plate 1 and the mechanical connecting plate 20 respectively, and the tractor connecting plate 1 and the mechanical connecting plate 20 are connected with a tractor and agricultural machinery through fixing bolts penetrating through the bolt through holes 21 respectively.
Further, the outer ring of the fixed bearing 9 is fixedly connected with the fixed shell 3, and the inner ring of the fixed bearing 9 is fixedly connected with the rotating handle 10.
Furthermore, one end of the extension spring 19 is fixedly connected with the T-shaped slide rail 17, and the other end of the extension spring 19 is fixedly connected with the T-shaped slide block 18.
The working principle is as follows: fixing bolts are fixedly connected with a tractor through bolt through holes 21 on a tractor connecting plate 1, the tractor connecting plate 1 is fixed, the fixing bolts are fixedly connected with agricultural machinery through bolt through holes 21 on a mechanical connecting plate 20, the mechanical connecting plate 20 and the tractor are moved, the tractor is close to the agricultural machinery to be towed, an operator rotates a rotating handle 10, the rotating handle 10 rotates in a fixed bearing 9, the rotating handle 10 drives a fixed gear 11 to rotate, the fixed gear 11 is meshed with a fixed toothed plate 8 to drive a movable connecting plate 4 to move, a limiting through groove 6 and a fixed limiting rod 7 play a limiting role on the movable connecting plate 4, the movable connecting plate 4 is moved to an Contraband-type connecting piece 12 through the movable connecting plate 4, the connecting difficulty is reduced, the working flow is reduced, the operation is convenient, a threaded connecting rod 14 penetrates through a threaded through hole 13 and a fixed through hole 5, fix threaded connection pole 14 and threaded through hole 13 threaded connection, when pulling, mechanical connecting plate 20 can slide from top to bottom in T type slide rail 17 on vertical fixed block 16 through T type slider 18, can not cause the influence to agricultural machine when the tractor rocks, prevents the draw gear rupture, and the flexibility is good, has improved life, behind the disconnection draw gear, T type slider 18 restores to the original position through expanding spring 19's elasticity, and it is fixed to make things convenient for pulling next time.
It is obvious to a person skilled in the art that the invention is not restricted to details of the above-described exemplary embodiments, but that it can be implemented in other specific forms without departing from the spirit or essential characteristics of the invention. The present embodiments are therefore to be considered in all respects as illustrative and not restrictive, the scope of the invention being indicated by the appended claims rather than by the foregoing description, and all changes which come within the meaning and range of equivalency of the claims are therefore intended to be embraced therein. Any reference sign in a claim should not be construed as limiting the claim concerned.
Claims (7)
1. The utility model provides a novel agricultural machine is multi-functional with draw gear, includes tractor connecting plate (1), traction frame (2), fixed shell (3) and removes connecting plate (4), its characterized in that, traction frame (2) are installed to tractor connecting plate (1) one side, install fixed shell (3) on traction frame (2), be equipped with in fixed shell (3) and remove connecting plate (4), and remove connecting plate (4) one end and run through fixed shell (3), it has fixing hole (5) to remove connecting plate (4) one end to open, it has spacing logical groove (6) to open on removing connecting plate (4), fixed shell (3) internally mounted has fixed gag lever post (7), and fixed gag lever post (7) run through spacing logical groove (6).
2. The novel multifunctional agricultural machinery traction device according to claim 1, wherein a fixed toothed plate (8) is mounted at the top of the movable connecting plate (4), the fixed toothed plate (8) is located inside the fixed shell (3), a fixed bearing (9) is arranged on one side of the fixed shell (3), a rotating handle (10) is sleeved on the fixed bearing (9), the rotating handle (10) penetrates through the fixed bearing (9) and extends into the fixed shell (3), a fixed gear (11) is mounted on the rotating handle (10), and the fixed gear (11) and the fixed toothed plate (8) are mutually meshed.
3. The novel agricultural machinery multifunctional traction device as claimed in claim 1, wherein the movable connecting plate (4) is provided with Contraband type connecting pieces (12), the Contraband type connecting pieces (12) are movably connected with the movable connecting plate (4), the Contraband type connecting pieces (12) are provided with threaded through holes (13), the threaded through holes (13) are opposite to the fixing through holes (5), the threaded through holes (13) are provided with threaded connecting rods (14), and the threaded connecting rods (14) penetrate through the fixing through holes (5) and are in threaded connection with the threaded through holes (13).
4. The novel agricultural machine multifunctional traction device according to claim 3, wherein a fixed connecting plate (15) is installed on one side of the Contraband-type connecting piece (12), a vertical fixed block (16) is installed on one side of the fixed connecting plate (15), a T-shaped sliding rail (17) is arranged on the vertical fixed block (16), a T-shaped sliding block (18) is arranged in the T-shaped sliding rail (17), the T-shaped sliding block (18) is connected with the T-shaped sliding rail (17) in a sliding mode, a telescopic spring (19) is arranged in the T-shaped sliding rail (17), the telescopic spring (19) is located at the upper end and the lower end of the T-shaped sliding block (18), and a mechanical connecting plate (20) is installed on one side of the T-shaped sliding block (18).
5. The novel agricultural-machinery multifunctional traction device as claimed in claim 1, wherein bolt through holes (21) are formed in the tractor connecting plate (1) and the mechanical connecting plate (20), and the bolt through holes (21) are respectively located at four corners of the tractor connecting plate (1) and the mechanical connecting plate (20).
6. The novel agricultural machinery multifunctional traction device as claimed in claim 2, wherein the outer ring of the fixed bearing (9) is fixedly connected with the fixed shell (3), and the inner ring of the fixed bearing (9) is fixedly connected with the rotating handle (10).
7. The novel multifunctional agricultural mechanical traction device as claimed in claim 4, wherein one end of the extension spring (19) is fixedly connected with the T-shaped sliding rail (17), and the other end of the extension spring (19) is fixedly connected with the T-shaped sliding block (18).
Priority Applications (1)
| Application Number | Priority Date | Filing Date | Title |
|---|---|---|---|
| CN202120861869.0U CN214676449U (en) | 2021-04-25 | 2021-04-25 | Novel agricultural machine is multi-functional with pulling device |
Applications Claiming Priority (1)
| Application Number | Priority Date | Filing Date | Title |
|---|---|---|---|
| CN202120861869.0U CN214676449U (en) | 2021-04-25 | 2021-04-25 | Novel agricultural machine is multi-functional with pulling device |
Publications (1)
| Publication Number | Publication Date |
|---|---|
| CN214676449U true CN214676449U (en) | 2021-11-12 |
Family
ID=78533623
Family Applications (1)
| Application Number | Title | Priority Date | Filing Date |
|---|---|---|---|
| CN202120861869.0U Expired - Fee Related CN214676449U (en) | 2021-04-25 | 2021-04-25 | Novel agricultural machine is multi-functional with pulling device |
Country Status (1)
| Country | Link |
|---|---|
| CN (1) | CN214676449U (en) |
Cited By (1)
| Publication number | Priority date | Publication date | Assignee | Title |
|---|---|---|---|---|
| CN114097342A (en) * | 2021-11-19 | 2022-03-01 | 王秀娟 | Adjustable draw gear for agricultural machine |
-
2021
- 2021-04-25 CN CN202120861869.0U patent/CN214676449U/en not_active Expired - Fee Related
Cited By (1)
| Publication number | Priority date | Publication date | Assignee | Title |
|---|---|---|---|---|
| CN114097342A (en) * | 2021-11-19 | 2022-03-01 | 王秀娟 | Adjustable draw gear for agricultural machine |
Similar Documents
| Publication | Publication Date | Title |
|---|---|---|
| CN201430781Y (en) | Adjustable plough-type agricultural multi-purpose reaping machine | |
| CN214676449U (en) | Novel agricultural machine is multi-functional with pulling device | |
| CN211353014U (en) | Agricultural equipment for improving soil | |
| CN212064795U (en) | Soil loosening, ditching and earthing all-in-one machine for agricultural planting | |
| CN211531708U (en) | Efficient straw spiral deep-loosening and ridging integrated machine | |
| CN213233605U (en) | Ditch pull throughs for agricultural production | |
| CN213586843U (en) | Farmland is with device of digging | |
| CN214316790U (en) | Paddy field weeding machine with consideration of row spacing and seedling spacing | |
| CN114667816A (en) | Integrated control farming machine | |
| CN210247474U (en) | Furrow opener is planted in greenhouse | |
| CN115088447A (en) | Orchard fertilizer distributor | |
| CN201629952U (en) | Transmission device of plowing machine | |
| CN209420288U (en) | A kind of Tea planting soil perforating device | |
| CN210042748U (en) | Farming equipment for farming | |
| CN204762197U (en) | Can convert lawnmower of machine ploughed a little to | |
| CN213094842U (en) | Agricultural machine fertilization levelling soil machine | |
| CN213404049U (en) | Agricultural is with quick weeding device | |
| CN112450195A (en) | Paddy field weeding machine with consideration of row spacing and seedling spacing | |
| CN217038088U (en) | A dig and get device for soil culture cinnamomum camphora seedling | |
| CN204907207U (en) | Cut grass and plough all -in -one scissors transmission case a little | |
| CN212970698U (en) | Mud removing device for tool bit of agricultural machine | |
| CN213029184U (en) | Agricultural machine weeding device | |
| CN213073513U (en) | Crops seeding ridging device | |
| CN118140620B (en) | Root breaking device for farmland of agricultural machinery | |
| CN211745252U (en) | Ditching equipment for farming is planted |
Legal Events
| Date | Code | Title | Description |
|---|---|---|---|
| GR01 | Patent grant | ||
| GR01 | Patent grant | ||
| CF01 | Termination of patent right due to non-payment of annual fee | ||
| CF01 | Termination of patent right due to non-payment of annual fee |
Granted publication date: 20211112 |