CN214668347U - A slicing blade quality inspection equipment - Google Patents

A slicing blade quality inspection equipment Download PDF

Info

Publication number
CN214668347U
CN214668347U CN202120734027.9U CN202120734027U CN214668347U CN 214668347 U CN214668347 U CN 214668347U CN 202120734027 U CN202120734027 U CN 202120734027U CN 214668347 U CN214668347 U CN 214668347U
Authority
CN
China
Prior art keywords
base
side wall
fixedly connected
blade
sliding
Prior art date
Legal status (The legal status is an assumption and is not a legal conclusion. Google has not performed a legal analysis and makes no representation as to the accuracy of the status listed.)
Expired - Fee Related
Application number
CN202120734027.9U
Other languages
Chinese (zh)
Inventor
黄弟炜
龚冬梅
Current Assignee (The listed assignees may be inaccurate. Google has not performed a legal analysis and makes no representation or warranty as to the accuracy of the list.)
Shenzhen Weichuangda Technology Co ltd
Original Assignee
Shenzhen Weichuangda Technology Co ltd
Priority date (The priority date is an assumption and is not a legal conclusion. Google has not performed a legal analysis and makes no representation as to the accuracy of the date listed.)
Filing date
Publication date
Application filed by Shenzhen Weichuangda Technology Co ltd filed Critical Shenzhen Weichuangda Technology Co ltd
Priority to CN202120734027.9U priority Critical patent/CN214668347U/en
Application granted granted Critical
Publication of CN214668347U publication Critical patent/CN214668347U/en
Expired - Fee Related legal-status Critical Current
Anticipated expiration legal-status Critical

Links

Images

Landscapes

  • Processing Of Stones Or Stones Resemblance Materials (AREA)

Abstract

本实用新型公开了一种切片刀片质量检测设备,包括底座,所述底座的上侧壁通过多个防护板转动连接有送线辊,所述底座的上侧壁通过支杆转动连接有导向辊,所述底座的上侧壁通过多个固定柱固定连接有横梁,所述横梁靠近底座的侧壁固定连接有驱动装置,所述驱动装置远离横梁的侧壁设有液压杆,所述横梁靠近底座的侧壁固定连接有多个滑杆多个滑杆通过滑套滑动连接有检测装置。本实用新型的优点在于,在对刀片切断切割线后通过转盘、固定筒和固定杆等结构可以以重新拉伸出一条剪切线,以便进行下一次刀片检测,因此,工作人员仅需要每次更换刀片即可,大大提高了刀片检测的工作效率,减少刀片检测时的劳动量,便于人们使用。

Figure 202120734027

The utility model discloses a slicing blade quality detection device, comprising a base, the upper side wall of the base is rotatably connected with a wire feeding roller through a plurality of protective plates, and the upper side wall of the base is rotatably connected with a guide roller through a support rod , the upper side wall of the base is fixedly connected with a cross beam through a plurality of fixed columns, the side wall of the cross beam close to the base is fixedly connected with a driving device, the side wall of the driving device away from the cross beam is provided with a hydraulic rod, and the cross beam is close to the base. The side wall of the base is fixedly connected with a plurality of sliding bars and the plurality of sliding bars are slidably connected with a detection device through a sliding sleeve. The advantage of the utility model is that after cutting the cutting line on the blade, a cutting line can be redrawn through the structures such as the turntable, the fixing cylinder and the fixing rod, so as to perform the next blade detection, so the staff only needs to The blade can be replaced, which greatly improves the work efficiency of blade detection, reduces the labor amount during blade detection, and is convenient for people to use.

Figure 202120734027

Description

Slicing blade quality detection equipment
Technical Field
The utility model relates to a blade quality testing technical field especially relates to a section blade quality testing equipment.
Background
The blade of the slicing knife is thin and sharp and is generally used for slicing materials, the degree of the cutting edge of the slicing knife is generally about 15 degrees, so that the cutting knife has strict requirements on the sharpness of the cutting edge of the blade during processing, and quality detection needs to be carried out on the sharpness of the blade of the slicing knife after the processing of the slicing knife is finished.
The existing blade sharpness detection device generally cuts a cutting line by using a blade, the sharpness of the blade is judged according to the force when the blade cuts the cutting line, the smaller the force when the blade cuts is, the higher the sharpness of the blade is, and after the cutting line is cut by the blade every time, a worker needs to rearrange the cutting line so as to detect the blade, the cutting line is arranged to be relatively troublesome, so that the efficiency is low when the blade is used for sharpness detection, and the blade is not convenient for people to use.
To this end, we propose a slicing blade quality inspection apparatus to solve the above problems.
SUMMERY OF THE UTILITY MODEL
The utility model aims at solving the problem that the arrangement of the cutting line in the prior art is very troublesome and the like, and providing a slicing blade quality detection device.
In order to achieve the above purpose, the utility model adopts the following technical scheme:
a slicing blade quality detection device comprises a base, wherein the upper side wall of the base is rotatably connected with a wire feeding roller through a plurality of protection plates, the upper side wall of the base is rotatably connected with a guide roller through a support rod, the upper side wall of the base is fixedly connected with a cross beam through a plurality of fixed columns, the side wall of the cross beam close to the base is fixedly connected with a driving device, the side wall of the driving device far away from the cross beam is provided with a hydraulic rod, the side wall of the cross beam close to the base is fixedly connected with a plurality of slide rods and a detection device through a sliding sleeve, the detection device is fixedly connected with the hydraulic rod, the part of the side wall of the base close to the detection device is rotatably connected with a rotary table, the side wall of the rotary table far away from the base is symmetrically and fixedly connected with two fixed rods through two fixed blocks, each fixed rod is slidably connected with a fixed cylinder, and the side wall of each sliding sleeve close to the rotary table is provided with a plurality of slide grooves matched with the fixed blocks, each fixed block is connected with the fixed cylinder in a clamping mode through a plurality of springs.
Preferably, each detection device is provided with an inner groove, a pressure sensor is fixedly connected inside the upper side of the inner groove, a bearing block is connected inside the inner groove in a sliding mode, a plurality of clamping devices are fixedly connected to the side wall, far away from the inner groove, of the bearing block, and each clamping device is magnetic.
Preferably, an inner chamber is formed in each rotary disc, a fixing ring is fixedly connected to the part, close to the inner chamber, of the base, the fixing ring abuts against a plurality of fixing cylinders, and the thickness of the fixing ring is uneven.
Preferably, a sliding groove is formed in one of the fixing columns, a rack is connected in the sliding groove in a sliding mode, the rack is fixedly connected with one sliding sleeve through a connecting rod, an inner groove is formed in a portion, close to the rotating disc, of the base, a worm wheel is connected in the inner groove in a rotating mode, the worm wheel is fixedly connected with the rotating disc through a short rod, a worm matched with the worm wheel is connected in the inner groove in a rotating mode, the worm extends into the sliding groove, and one end, extending into the sliding groove, of the worm is connected with a gear matched with the rack in a rotating mode through a flywheel.
Preferably, the wire feeding roller is wound with a cutting wire, the cutting wire abuts against the guide roller, and the cutting wire is connected with the plurality of fixing cylinders and the fixing rod in a clamping mode.
Compared with the prior art, the beneficial effects of the utility model are that:
1. after the cutting line is cut off from the blade, a cutting line can be stretched again through the structures such as the rotary table, the fixed cylinder, the fixed rod and the like so as to facilitate the next blade detection, so that a worker only needs to replace the blade every time, the working efficiency of the blade detection is greatly improved, the labor amount in the blade detection is reduced, and the blade detection is convenient for people to use;
2. clamping device has magnetism can be fine fix the blade, and the staff of being convenient for changes and detects the blade, improves staff's work efficiency, can prevent through the guide roll when the line is sheared in the clamping of solid fixed cylinder to the solid fixed cylinder accomplishes the centre gripping of shearing the line, drives the auto-lock that the carousel can realize the carousel through worm gear drive carousel rotation, avoids the carousel to receive external force oneself and rotates convenient to use.
Drawings
Fig. 1 is a left side view structural diagram of a slicing blade quality detecting apparatus provided by the present invention;
fig. 2 is a schematic structural view of a slicing blade quality inspection apparatus according to the present invention;
fig. 3 is a schematic structural diagram at a in fig. 2.
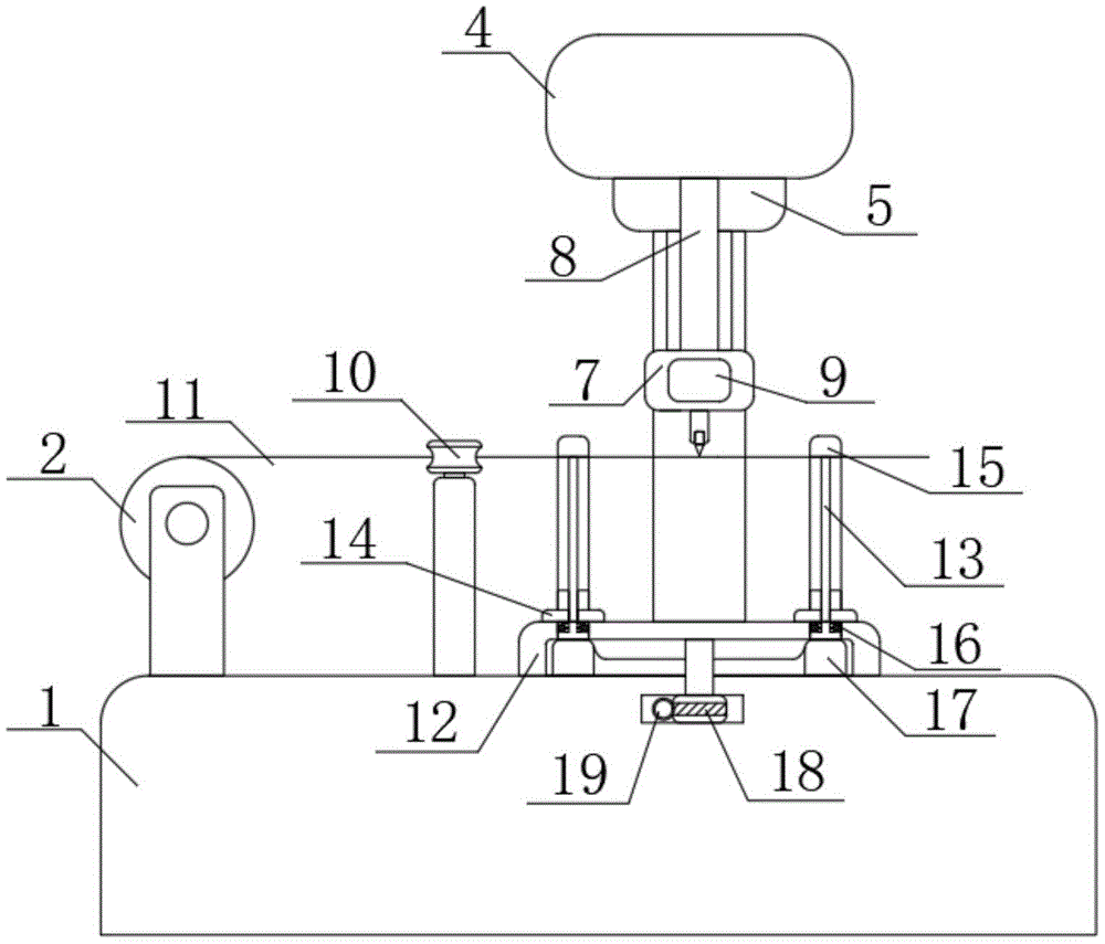
In the figure: the device comprises a base 1, a thread feeding roller 2, a fixed column 3, a cross beam 4, a driving device 5, a hydraulic rod 6, a detection device 7, a sliding rod 8, a sliding sleeve 9, a guide roller 10, a cutting line 11, a rotating disc 12, a fixed rod 13, a fixed block 14, a fixed cylinder 15, a spring 16, a fixed ring 17, a worm gear 18, a worm 19, a pressure sensor 20, a rack 21, a bearing block 22, a clamping device 23, a flywheel 24 and a gear 25.
Detailed Description
The technical solutions in the embodiments of the present invention will be described clearly and completely with reference to the accompanying drawings in the embodiments of the present invention, and it is obvious that the described embodiments are only some embodiments of the present invention, not all embodiments.
Referring to fig. 1-3, a slicing blade quality detection device comprises a base 1, wherein the upper side wall of the base 1 is rotatably connected with a wire feeding roller 2 through a plurality of protection plates, the upper side wall of the base 1 is rotatably connected with a guide roller 10 through a support rod, the shearing line can be prevented from being dislocated when a fixed cylinder 15 clamps the shearing line through the guide roller 10, so that the fixed cylinder 15 can clamp the shearing line, the upper side wall of the base 1 is fixedly connected with a cross beam 4 through a plurality of fixed columns 3, the side wall of the cross beam 4 close to the base 1 is fixedly connected with a driving device 5, the side wall of the driving device 5 far away from the cross beam 4 is provided with a hydraulic rod 6, the side wall of the cross beam 4 close to the base 1 is fixedly connected with a plurality of slide rods 8, the slide rods 8 are slidably connected with a detection device 7 through a sliding sleeve 9, the detection device 7 is fixedly connected with the hydraulic rod 6, and the part of the upper side wall of the base 1 close to the detection device 7 is rotatably connected with a rotary table 12, the side wall of the rotary table 12, which is far away from the base 1, is symmetrically and fixedly connected with two fixing rods 13 through two fixing blocks 14, each fixing rod 13 is connected with a fixing cylinder 15 in a sliding manner, the side wall of each sliding sleeve 9, which is close to the rotary table 12, is provided with a plurality of sliding grooves matched with the fixing blocks 14, each fixing block 14 is connected with the fixing cylinder 15 in a clamping manner through a plurality of springs 16, and after the cutting line 11 is cut off for the blade, a cutting line can be stretched again through the structures of the rotary table 12, the fixing cylinders 15, the fixing rods 13 and the like so as to carry out the next blade detection;
each detection device 7 is provided with an inner groove, the upper side of the inner groove is internally and fixedly connected with a pressure sensor 20, the inner groove is internally and slidably connected with a receiving block 22, the side wall of the receiving block 22 far away from the inner groove is fixedly connected with a plurality of clamping devices 23, each clamping device 23 has magnetism, the clamping devices 23 have magnetism and can well fix a blade, the detection blade is convenient for workers to replace, the working efficiency of the workers is improved, each turntable 12 is internally provided with an inner chamber, the part of the base 1 close to the inner chamber is fixedly connected with a fixing ring 17, the fixing ring 17 is abutted against a plurality of fixing cylinders 15, the thickness of the fixing ring 17 is uneven, a fixed column 3 is internally provided with a chute, the chute is internally and slidably connected with a rack 21, the rack 21 is fixedly connected with a sliding sleeve 9 through a connecting rod, the part of the base 1 close to the turntable 12 is provided with the inner groove, and the inner groove is rotatably connected with a worm wheel 18, worm wheel 18 passes through quarter butt and carousel 12 fixed connection, the inside groove internal rotation is connected with the worm 19 that matches with worm wheel 18, it can realize the auto-lock of carousel 12 to drive carousel 12 through worm wheel 18 worm 19 and rotate, it rotates to avoid carousel 12 to receive external force oneself, and convenient to use, worm 19 stretches into the spout, worm 19 stretches into the one end of spout and rotates through flywheel 24 and is connected with the gear 25 that matches with rack 21, the winding has line of cut 11 on the roller 2 of sending the line, line of cut 11 offsets with guide roll 10, line of cut 11 is connected with a plurality of fixed cylinders 15 and dead lever 13 joint.
When the utility model is used for detecting the blade, the blade is placed on the clamping device 23 by the staff, the blade is attracted by the clamping device 23 through magnetic force, at the moment, the driving device 5 is started, the hydraulic rod 6 in the air of the driving device 5 drives the detecting device 7 to move downwards, the detecting device 7 moves downwards to enable the blade to shear the cutting line 11, when the cutting line 11 is sheared by the blade, the force generated when the blade is cut is detected through the pressure sensor 20, so as to judge whether the blade is qualified, after shearing is finished, the driving device 5 enables the hydraulic rod 6 to drive the detecting device 7 to move upwards to wait for the staff to change the blade, so as to carry out next detection, when the detecting device 7 moves upwards, the sliding sleeve 9 drives the rack 21 to move upwards, when the rack 21 moves upwards, the rack 21 is meshed with the gear 25 to rotate, the gear 25 drives the worm 19 to rotate through the flywheel 24, the worm 19 drives the worm wheel 18 to rotate, the worm wheel 18 drives the turntable 12 to rotate through the short rod to rotate, the rotary table 12 drives the plurality of fixed cylinders 15 and the fixed rod 13 to rotate, the plurality of fixed cylinders 15 are abutted against the fixed ring 17, and the thickness of the fixed ring 17 is uneven, so the fixed cylinders 15 can move up and down under the action of the plurality of springs 16, at the moment, the fixed cylinders 15 far away from the guide roller 10 move down, so that the broken cutting lines 11 fall down, the fixed cylinders 15 close to the guide roller 10 continue to clamp the cutting lines 11 without moving up and down, when the rotary table 12 is rotated to the fixed cylinders 15 without clamping the cutting lines 11 and close to the steering roller, the thickness of the fixed ring 17 is increased, the fixed cylinders 15 start to move up, so that the fixed cylinders 15 and the fixed rod 13 clamp the cutting lines 11, so as to detect the sharpness of the blades, when the blades are replaced by workers and the detection device 7 moves down again, the sliding sleeve 9 drives the rack 21 to move down, the rack 21 drives the gear 25 to rotate, but the flywheel 24 cannot reversely drive the worm 19 to rotate, therefore, the gear 25 and the flywheel 24 can transmit automatically, the worm 19 cannot rotate, and the rotary disc 12 cannot rotate when the blade moves downwards to cut the cutting line 11, so that automatic arrangement of the cutting line can be realized, the detection efficiency of workers is improved, and the use is convenient.
The above, only be the concrete implementation of the preferred embodiment of the present invention, but the protection scope of the present invention is not limited thereto, and any person skilled in the art is in the technical scope of the present invention, according to the technical solution of the present invention and the utility model, the concept of which is equivalent to replace or change, should be covered within the protection scope of the present invention.

Claims (5)

1. The slicing blade quality detection equipment comprises a base (1) and is characterized in that the upper side wall of the base (1) is rotatably connected with a wire feeding roller (2) through a plurality of protection plates, the upper side wall of the base (1) is rotatably connected with a guide roller (10) through a support rod, the upper side wall of the base (1) is fixedly connected with a cross beam (4) through a plurality of fixing columns (3), the cross beam (4) is close to the side wall of the base (1) and is fixedly connected with a driving device (5), the side wall of the driving device (5) far away from the cross beam (4) is provided with a hydraulic rod (6), the side wall of the cross beam (4) close to the base (1) is fixedly connected with a plurality of sliding rods (8), a plurality of sliding rods (8) are slidably connected with a detection device (7) through a sliding sleeve (9), the detection device (7) is fixedly connected with the hydraulic rod (6), and the part of the upper side wall of the base (1) close to the detection device (7) is rotatably connected with a rotary table (12), the lateral wall that base (1) was kept away from in carousel (12) is through two dead levers (13) of two fixed block (14) symmetry fixedly connected with, every dead lever (13) sliding connection has a fixed cylinder (15), every sliding sleeve (9) are close to the lateral wall of carousel (12) and offer a plurality of spouts that match with fixed block (14), every fixed block (14) are connected with fixed cylinder (15) joint through a plurality of springs (16).
2. The slicing blade quality detecting apparatus according to claim 1, wherein each detecting device (7) is provided with an inner groove, a pressure sensor (20) is fixedly connected inside the upper side of the inner groove, a receiving block (22) is slidably connected in the inner groove, a plurality of clamping devices (23) are fixedly connected to the side wall of the receiving block (22) far away from the inner groove, and each clamping device (23) has magnetism.
3. The slicing blade quality detecting device according to claim 1, wherein an inner chamber is formed in each rotating disc (12), a fixing ring (17) is fixedly connected to a portion, close to the inner chamber, of the base (1), the fixing ring (17) abuts against a plurality of fixing cylinders (15), and the thickness of the fixing ring (17) is not uniform.
4. The slicing blade quality detection device according to claim 1, wherein a sliding groove is formed in one of the fixed columns (3), a rack (21) is connected in the sliding groove in a sliding manner, the rack (21) is fixedly connected with one of the sliding sleeves (9) through a connecting rod, an inner groove is formed in a part, close to the turntable (12), of the base (1), a worm wheel (18) is connected in the inner groove in a rotating manner, the worm wheel (18) is fixedly connected with the turntable (12) through a short rod, a worm (19) matched with the worm wheel (18) is connected in the inner groove in a rotating manner, the worm (19) extends into the sliding groove, and a gear (25) matched with the rack (21) is connected in a rotating manner through a flywheel (24) at one end, extending into the sliding groove, of the worm (19).
5. The slicing blade quality detection device as claimed in claim 1, wherein the wire feeding roller (2) is wound with a cutting wire (11), the cutting wire (11) is abutted against the guide roller (10), and the cutting wire (11) is connected with a plurality of fixed cylinders (15) and fixed rods (13) in a clamping manner.
CN202120734027.9U 2021-04-10 2021-04-10 A slicing blade quality inspection equipment Expired - Fee Related CN214668347U (en)

Priority Applications (1)

Application Number Priority Date Filing Date Title
CN202120734027.9U CN214668347U (en) 2021-04-10 2021-04-10 A slicing blade quality inspection equipment

Applications Claiming Priority (1)

Application Number Priority Date Filing Date Title
CN202120734027.9U CN214668347U (en) 2021-04-10 2021-04-10 A slicing blade quality inspection equipment

Publications (1)

Publication Number Publication Date
CN214668347U true CN214668347U (en) 2021-11-09

Family

ID=78461054

Family Applications (1)

Application Number Title Priority Date Filing Date
CN202120734027.9U Expired - Fee Related CN214668347U (en) 2021-04-10 2021-04-10 A slicing blade quality inspection equipment

Country Status (1)

Country Link
CN (1) CN214668347U (en)

Similar Documents

Publication Publication Date Title
CN102152327B (en) Film cutting machine
CN110773789A (en) Full-automatic pipe cutting machine
CN103328122B (en) For the method and device from the sheet metal pruning samples being wound around
CN103008505B (en) Automatic shearing device for stator copper wire
CN202428473U (en) Pipe cutter
CN106340833B (en) A kind of 10kV cable armourings stripper
CN207289589U (en) A kind of automatic beginning material, the multi-functional sawing sheet equipment for removing tailing
CN209811088U (en) Cutting device for fixed-length blanking of prestressed steel wires
CN214668347U (en) A slicing blade quality inspection equipment
CN204322200U (en) A kind of cutting cutter being applicable to regular sheet material
CN211438316U (en) Full-automatic pipe cutting machine
CN208322275U (en) The adjustable water pipe cutter device of bore
US20130112054A1 (en) Double-acting pipe cutting band saw apparatus and method for using the same
US2680457A (en) Cylindrical wooden billet sawing apparatus
CN110154117A (en) An anti-pressure roll cutting device
CN115343095A (en) A fully automatic concrete core sample cutting and grinding machine and its cutting and grinding method
CN109463765A (en) A kind of durian pulp cutting device and method
CN206740485U (en) Automatic preparation of soil sample device
CN208245955U (en) A kind of positioning device of band sawing machine
JPH048127B2 (en)
CN107297763B (en) Cutting machine for cutting polyethylene cold-winding adhesive tape roll
CN101279383B (en) Flying cutting apparatus for welded pipes
KR102105023B1 (en) Hydraulic chuck of copper tube cutting machine
CN204892817U (en) Shearing head of ware is cut to full -automatic reinforcing bar
CN107457567A (en) A kind of surface trimming hank knotting all-in-one and its processing method

Legal Events

Date Code Title Description
GR01 Patent grant
GR01 Patent grant
CF01 Termination of patent right due to non-payment of annual fee
CF01 Termination of patent right due to non-payment of annual fee

Granted publication date: 20211109