CN214667089U - A connection structure of a stainless steel valve-controlled water meter outlet pipe - Google Patents
A connection structure of a stainless steel valve-controlled water meter outlet pipe Download PDFInfo
- Publication number
- CN214667089U CN214667089U CN202120418355.8U CN202120418355U CN214667089U CN 214667089 U CN214667089 U CN 214667089U CN 202120418355 U CN202120418355 U CN 202120418355U CN 214667089 U CN214667089 U CN 214667089U
- Authority
- CN
- China
- Prior art keywords
- sealing ring
- outlet pipe
- water outlet
- wall
- clamping groove
- Prior art date
- Legal status (The legal status is an assumption and is not a legal conclusion. Google has not performed a legal analysis and makes no representation as to the accuracy of the status listed.)
- Active
Links
Images
Landscapes
- Measuring Volume Flow (AREA)
Abstract
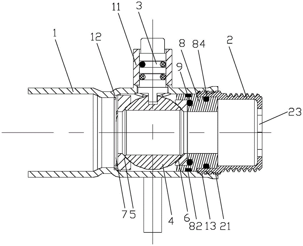
本实用新型提供了一种不锈钢阀控水表出水管的连接结构,包括出水管和连接接头,所述出水管上卡设有球阀,球阀两侧分别设有密封环一和密封环二,靠近密封环一一侧的出水管内设有凸台卡槽,所述凸台卡槽与密封环一之间连接有弹性件,靠近密封环二一侧的出水管内设有内螺纹,所述连接接头一端外壁设有外螺纹,所述出水管和连接接头的连接处设有密封环座,所述密封环座一端内壁设有卡槽一、外壁套设有密封圈二,所述卡槽一内卡设有密封圈一和所述密封环二,所述密封环座另一端外壁上设有卡槽二,所述卡槽二中部套设有密封圈三,本实用新型可简化连接接头与出水管之间的连接结构,便于冲压成型,进而降低制造成本。
The utility model provides a connection structure of a water outlet pipe of a stainless steel valve-controlled water meter. The water outlet pipe on one side of the ring is provided with a boss slot, an elastic member is connected between the boss slot and the seal ring 1, and an inner thread is arranged in the outlet tube on the second side of the seal ring, and the connection is The outer wall of one end of the joint is provided with an external thread, the connection between the water outlet pipe and the connecting joint is provided with a sealing ring seat, the inner wall of one end of the sealing ring seat is provided with a clamping groove, and the outer wall is sleeved with a sealing ring 2, the clamping groove 1 The first sealing ring and the second sealing ring are arranged in the inner clamping, the outer wall of the other end of the sealing ring seat is provided with a clamping groove 2, and the middle part of the clamping groove 2 is sleeved with a sealing ring 3. The utility model can simplify the connection between the joint and the outer wall. The connection structure between the water outlet pipes is convenient for stamping and forming, thereby reducing the manufacturing cost.
Description
Claims (3)
Priority Applications (1)
| Application Number | Priority Date | Filing Date | Title |
|---|---|---|---|
| CN202120418355.8U CN214667089U (en) | 2021-02-25 | 2021-02-25 | A connection structure of a stainless steel valve-controlled water meter outlet pipe |
Applications Claiming Priority (1)
| Application Number | Priority Date | Filing Date | Title |
|---|---|---|---|
| CN202120418355.8U CN214667089U (en) | 2021-02-25 | 2021-02-25 | A connection structure of a stainless steel valve-controlled water meter outlet pipe |
Publications (1)
| Publication Number | Publication Date |
|---|---|
| CN214667089U true CN214667089U (en) | 2021-11-09 |
Family
ID=78449087
Family Applications (1)
| Application Number | Title | Priority Date | Filing Date |
|---|---|---|---|
| CN202120418355.8U Active CN214667089U (en) | 2021-02-25 | 2021-02-25 | A connection structure of a stainless steel valve-controlled water meter outlet pipe |
Country Status (1)
| Country | Link |
|---|---|
| CN (1) | CN214667089U (en) |
-
2021
- 2021-02-25 CN CN202120418355.8U patent/CN214667089U/en active Active
Similar Documents
| Publication | Publication Date | Title |
|---|---|---|
| CN214667089U (en) | A connection structure of a stainless steel valve-controlled water meter outlet pipe | |
| CN208123562U (en) | A kind of water valve connector | |
| CN201858454U (en) | Splicing pipe connecting pipe fitting with bushing | |
| CN214744054U (en) | Water pipe elbow with good sealing performance | |
| CN201818958U (en) | A joint structure of a valve and a pipe fitting | |
| CN215635526U (en) | A connection structure of a plumbing pipe fitting | |
| CN222437272U (en) | A water-leakage-proof structure for inner thread joint of water supply pipe | |
| CN216923498U (en) | A corrugated water pipe with a connector | |
| CN221762862U (en) | Pipe loose joint cutting ferrule joint | |
| CN207378352U (en) | A new double-circle plug connector assembly | |
| CN2527825Y (en) | Pipeline expansion joint | |
| CN223107022U (en) | Sealed reinforced cold water meter | |
| CN213089032U (en) | A high-sealing aluminum pipe joint | |
| CN217842921U (en) | A kind of faucet pipe prefabricated part with strong sealing performance | |
| CN221762954U (en) | A ring pressed stainless steel pipe | |
| CN223294487U (en) | A glass fiber reinforced plastic straight pipe tee | |
| CN222798137U (en) | A composite sealing gasket for small oil port | |
| CN221780054U (en) | A stable faucet | |
| CN219809551U (en) | A drainage pipe structure | |
| CN223550051U (en) | U-shaped tee joint | |
| CN222717746U (en) | Air conditioner pipe joint | |
| CN223483691U (en) | Straight-through joint | |
| CN219712581U (en) | Corrosion-resistant bathroom pipe | |
| CN214743991U (en) | Prevent to connect pivoted universal pipe tooth type assembly structure | |
| CN221943521U (en) | A gas insulating quick connector |
Legal Events
| Date | Code | Title | Description |
|---|---|---|---|
| GR01 | Patent grant | ||
| GR01 | Patent grant | ||
| EE01 | Entry into force of recordation of patent licensing contract | ||
| EE01 | Entry into force of recordation of patent licensing contract |
Assignee: Jiangxi Sanchuan Technology Co.,Ltd. Assignor: SANCHUAN WISDOM TECHNOLOGY Co.,Ltd. Contract record no.: X2025980007651 Denomination of utility model: A connection structure for the outlet pipe of a stainless steel valve controlled water meter Granted publication date: 20211109 License type: Common License Record date: 20250423 |
