CN214665068U - A fully automatic air purification device based on microalgae plant system - Google Patents

A fully automatic air purification device based on microalgae plant system Download PDF

Info

Publication number
CN214665068U
CN214665068U CN202120718890.5U CN202120718890U CN214665068U CN 214665068 U CN214665068 U CN 214665068U CN 202120718890 U CN202120718890 U CN 202120718890U CN 214665068 U CN214665068 U CN 214665068U
Authority
CN
China
Prior art keywords
microalgae
plant
inner core
device based
plant system
Prior art date
Legal status (The legal status is an assumption and is not a legal conclusion. Google has not performed a legal analysis and makes no representation as to the accuracy of the status listed.)
Active
Application number
CN202120718890.5U
Other languages
Chinese (zh)
Inventor
马文标
林玉玲
付楠洁
陈流东
林宗仁
欧洋铭
黄进
Current Assignee (The listed assignees may be inaccurate. Google has not performed a legal analysis and makes no representation or warranty as to the accuracy of the list.)
Chengdu University
Original Assignee
Chengdu University
Priority date (The priority date is an assumption and is not a legal conclusion. Google has not performed a legal analysis and makes no representation as to the accuracy of the date listed.)
Filing date
Publication date
Application filed by Chengdu University filed Critical Chengdu University
Priority to CN202120718890.5U priority Critical patent/CN214665068U/en
Application granted granted Critical
Publication of CN214665068U publication Critical patent/CN214665068U/en
Active legal-status Critical Current
Anticipated expiration legal-status Critical

Links

Images

Landscapes

  • Cultivation Of Plants (AREA)
  • Apparatus Associated With Microorganisms And Enzymes (AREA)
  • Micro-Organisms Or Cultivation Processes Thereof (AREA)

Abstract

本实用新型公开了一种基于微藻植物系统的全自动空气净化装置,包括内芯和外壳,内芯包括从上至下依次设置的植物系统、微藻系统和控制系统,植物系统包括从上至下依次设置的植物生长区、植物器皿和出液口,微藻系统包括内芯筒体和置于内芯筒体内部的微藻区,内芯筒体内壁设置有照明装置和水泵,水泵出水口连接植物器皿,进水口连接微藻区,内芯筒体下部设置有底座,控制系统包括设置在内芯底部的曝气盘、底座内部的气泵、气管和照明驱动。通过本装置,可以自动调节微藻母液的浓度,使其为植物系统提供营养物质,同时土壤中的无机物也可以保证微藻的生存营养,两者互相配合不需要随时补充营养既可以自给自足,从而达到更有效的空气净化效果。

Figure 202120718890

The utility model discloses a fully automatic air purification device based on a microalgae plant system, which comprises an inner core and an outer shell. The plant growth area, plant utensils and liquid outlet are arranged in sequence from the bottom. The microalgae system includes an inner core cylinder and a microalgae area placed inside the inner core cylinder. The inner wall of the inner core cylinder is provided with a lighting device and a water pump. The water pump The water outlet is connected to the plant utensils, the water inlet is connected to the microalgae area, the lower part of the inner core cylinder is provided with a base, and the control system includes an aeration plate arranged at the bottom of the inner core, an air pump, an air pipe and a lighting driver inside the base. Through the device, the concentration of the microalgae mother liquor can be automatically adjusted to provide nutrients for the plant system, and the inorganic substances in the soil can also ensure the survival and nutrition of the microalgae. , so as to achieve a more effective air purification effect.

Figure 202120718890

Description

Full-automatic air purification device based on microalgae plant system
Technical Field
The utility model relates to an air purification technical field, concretely relates to full-automatic air purification device based on little algae plant system.
Background
At present, places where people live are seriously affected by greenhouse gases such as carbon dioxide and fine particles such as haze, and people basically respond by reducing outdoor activities in order to ensure that air breathed by people is relatively clean.
The microalgae is tiny in individual, can be observed only under a microscope, has wide distribution range, and can grow and propagate almost in any humid place. In addition, microalgae are a type of autotrophic plants with strong photosynthesis. Secondly, microalgae and plants can absorb CO in the air2Reduction of CO in air2The content of the active ingredients in the formula is reduced, so that the effect of reducing the greenhouse effect is achieved. Meanwhile, the content of harmful particulate matters in the air to human bodies and the environment can be reduced.
In the process of microalgae growth and propagation, certain nutrients need to be consumed, and in the process of microalgae air purification known in the prior art, the energy substances which can be used by the microalgae need to be continuously provided by the outside in the process of microalgae growth and regrowth, so that huge manpower and financial resources are consumed, and the difficulty is increased in the process of microalgae air purification.
SUMMERY OF THE UTILITY MODEL
The utility model aims at providing a full-automatic air purification device based on little algae plant system can reach its common growth and high-efficient air-purifying's effect through interact between little algae and the plant, need not reach the condition of automatic growth completely to plant or supply unnecessary nutrient between little algae.
In order to achieve the above purpose, the technical scheme adopted by the utility model is as follows: the utility model provides a full-automatic air purification device based on little algae plant system, including inner core device and shell, the inner core includes from last plant system that sets gradually extremely down, little algae system and control system, plant system includes from last vegetation district that sets gradually extremely down, plant household utensils and liquid outlet, little algae system includes the inner core barrel and arranges the inside little algae district of inner core barrel in, inner core barrel inner wall is provided with lighting device and water pump, the plant household utensils is connected to the water pump delivery port, little algae district is connected to the water inlet, inner core barrel lower part is provided with the base, control system is including setting up the aeration dish in the inner core bottom, the inside air pump of base, trachea and lighting drive, the air pump passes through the trachea with the aeration dish and is connected, lighting drive and lighting device electric connection.
The beneficial effect who adopts above-mentioned scheme is: firstly, the microalgae system provides nutrition for the plant system, and then the plant system achieves the effect of purifying air by absorbing carbon dioxide and other particles and releasing oxygen. After the plant system absorbs the nutrient substances provided by the microalgae system, the water which is not absorbed enters the microalgae system, the microalgae in the microalgae area is irradiated by the lighting device, the microalgae can be subjected to photosynthesis to generate biomass, and then the biomass is formed through photosynthesis by the inorganic nutrient substances and the carbon dioxide to grow, so that the self-sufficient effect is achieved, and the nutrient substances are not required to be supplemented by extra people. And the base can provide stability, sets up aeration dish, air pump and trachea in the base inside, can fill carbon dioxide gas and particulate matter in the air in little algae system, provides the reaction material for little algae. And the algae in the soil can provide nutrients for plants after being decomposed, and the water can take away inorganic matters in the soil to provide nutrients for the algae, so that zero waste of resources is realized.
Furthermore, an inner round table is arranged between the plant system and the microalgae system, a plurality of holes are uniformly formed in the inner round table, and gauze covers the holes.
The beneficial effect who adopts above-mentioned scheme is: the inner round platform can be used for placing and fixing plants, the gauze can filter soil and impurities cultured by the plants, and only water flows back to the microalgae system through the holes.
Further, the lower end of the water pump is provided with a hose.
Further, the lighting device is an LED bulb which is uniformly arranged, and the lighting drive is an LED drive.
The beneficial effect who adopts above-mentioned scheme is: the LED lamp can be turned on through LED driving, and the light source generated by the LED lamp can ensure that all microalgae are irradiated in all directions, so that the microalgae can be subjected to sufficient photosynthesis.
Further, be provided with the color mark sensor on the outer wall of shell, color mark sensor and the equal electric connection of water pump and controller.
The beneficial effect who adopts above-mentioned scheme is: the color mark sensor can sense the density change condition of microalgae in the microalgae system, and the water pump is controlled to use the hose to enable microalgae mother liquor in the microalgae system to enter the plant growth area so as to provide nutrients for plants. The color mark sensor can be KS-RG22, and the controller can be ohm dragon CP1H-X40DT-D PLC controller.
Further, an air pump switch is arranged outside the base.
Further, the LED driver is electrically connected with the light source remote control switch.
Furthermore, an outer circular truncated cone is arranged outside the plant growing area, the outer circular truncated cone is in an inverted circular truncated cone shape, and the lower end of the outer circular truncated cone is movably connected with the upper end of the shell.
The beneficial effect who adopts above-mentioned scheme is: through the structure of outer round platform and interior round platform, can fix the plant system between interior round platform and outer round platform.
To sum up, the utility model has the advantages of it is following:
1. by using the microalgae plant system, CO in the air can be efficiently absorbed2The absorption rate is improved; in addition, the system can improve the removal rate of PM2.5 and PM10, thereby achieving the purpose of purifying air;
2. in the device, when the density of the algae liquid reaches a certain standard, the sensor is excited, the water pump pumps the algae liquid out to reach the soil of the plant through the hose, and an automatic water pumping-watering automatic process can be realized, so that the manpower, material resources and financial resources are reduced.
Drawings
Fig. 1 is a schematic structural view of the present invention;
FIG. 2 is a perspective view of the present invention;
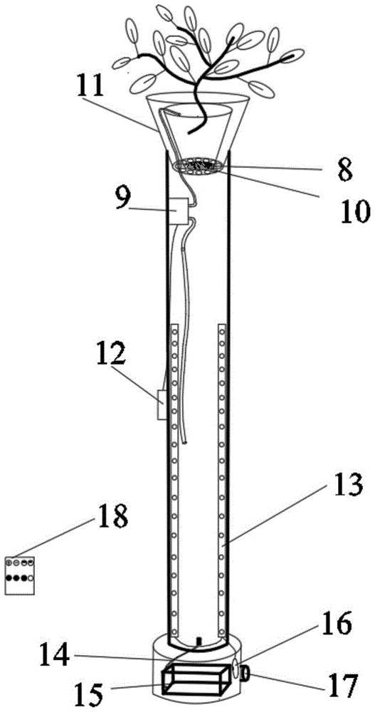
wherein, 1, a plant growing area; 2. a plant vessel; 3. a hose; 4. an inner core cylinder; 5. a housing; 6. an aeration disc; 7. an air pump; 8. a liquid outlet; 9. a water pump; 10. a hole; 11. an outer circular truncated cone; 12. a color code sensor; 13. an LED lamp; 14. an air tube; 15. a base; 16. driving an LED; 17. an air pump controller switch; 18. a light source remote control switch;
FIG. 3 shows the growth of the devices of example 1 and comparative example 1 in the same environment;
FIG. 4 is a graph showing the change in carbon dioxide concentration for two consecutive days after the apparatus of example 1 and comparative examples 1, 2 and 4 were stabilized by being placed in the same air atmosphere;
FIG. 5 is a graph showing the change in carbon dioxide concentration for five consecutive days after the apparatus of example 1 and comparative examples 1, 2 and 4 were stabilized in the same air atmosphere;
FIG. 6 shows the PM1.0 particulate matter absorption of the apparatus of example 1 and comparative examples 2 and 4 when the apparatus is placed in the same environment;
FIG. 7 shows the PM2.5 particulate matter absorption of the apparatus of example 1 and comparative examples 2 and 4 in the same environment;
FIG. 8 is a graph showing the adsorption of PM10 by the apparatus of example 1 and comparative examples 2 and 4 when they are placed in the same environment;
FIG. 9 shows the absorption of carbon dioxide in the apparatus of example 1 and comparative examples 2 and 4, which were placed in the same environment.
Detailed Description
The following detailed description of the embodiments of the present invention will be made with reference to the accompanying drawings.
In an embodiment of the present invention, as shown in fig. 1-2, a fully automatic air purification device based on microalgae plant system is provided, comprising an inner core and an outer shell 5, wherein the inner core comprises a plant system, a microalgae system and a control system which are sequentially arranged from top to bottom, the plant system comprises a plant growth area 1, a plant vessel 2 and a liquid outlet 8 which are sequentially arranged from top to bottom, the microalgae system comprises an inner core cylinder 4 and a microalgae area arranged inside the inner core cylinder 4, and the volume of the microalgae mother liquor inside the microalgae area accounts for 85-95% of the volume of the inner core cylinder 4. The height of the inner core cylinder body 4 is 74.5cm, the inner diameter is 9.4cm, and the diameter of the outer shell 5 is 10 cm. The inner wall of the inner core cylinder body 4 is provided with a lighting device and a water pump 9, the upper end of the water pump 9 is connected with the plant vessel 2, the lower end of the water pump 9 is connected with the microalgae area, the lower part of the inner core cylinder body 4 is provided with a base 15, the height of the base 15 is 13.5cm, and the diameter of the base 15 is 16 cm. The control system comprises an aeration disc 6 arranged at the bottom of the inner core, an air pump 7, an air pipe 14 and a lighting drive, wherein the air pump 7 is arranged in the base 15, the air pump 7 is connected with the aeration disc 6 through the air pipe 14, and the lighting drive is electrically connected with the lighting device.
Wherein, be provided with interior round platform between plant system and little algae system, evenly be provided with a plurality of hole 10 on the interior round platform, hole 10 coats and is stamped the gauze, and interior round platform can completely cut off impurity and the earth that plant system produced, and only water can fall into little algae system from hole 10 through the gauze, and the diameter of hole 10 is 0.5 cm.
Wherein, the lower extreme of water pump 9 is provided with hose 3, and the diameter of hose 3 is 0.5 cm.
The lighting device is an LED lamp 13 which is uniformly arranged, and the lighting drive is an LED drive 16. The outer wall of the shell 5 is provided with a color mark sensor 12, and the color mark sensor 12 is electrically connected with the water pump 9 and the controller. The model of the color mark sensor 12 can be KS-RG22, and the model of the controller can be ohm dragon CP1H-X40DT-D PLC controller. An air pump controller switch 17 is provided outside the base 15. The LED driver 16 is electrically connected to the light source remote switch 18.
Wherein, the outside of vegetation district is provided with outer round platform 11, and the shape of outer round platform 11 is the inverted circular truncated cone shape, and outer round platform 11 lower extreme and shell 5 upper end swing joint.
Example 1
Pouring the microalgae mother liquor into the inner core cylinder body 4, and putting the plants into the plant vessel 2, wherein the microalgae mother liquor is cultured in the following way: and (3) placing the microalgae mother liquor in a sealed box for culturing for 8 days, keeping the temperature at 25 ℃, and introducing gas at the rate of 1L/min, wherein the gas is a mixture of air and 3% carbon dioxide, and measuring the OD content every 12 hours. After day 8 the test was carried out in the inner cylinder 4. The OD content was measured every 7 days.
Comparative example 1
Pouring the microalgae mother liquor into the inner core cylinder body 4, and leaving the plant vessel 2 empty without placing plants. The other structures and methods were consistent with example 1.
Comparative example 2
Tap water is poured into the inner core cylinder body 4 to replace microalgae mother liquor, plants are placed into the plant container 2, and other treatment modes are consistent with those of the embodiment 1.
Comparative example 3
Pouring tap water into the inner core cylinder body 4 to replace the microalgae mother liquor, and leaving the plant vessel 2 empty without plants. The other treatment was performed in the same manner as in example 1.
Comparative example 4
The inner core cylinder body 4 is empty, the plant vessel 2 is also empty, and other treatment modes are consistent with those of the embodiment 1.
The apparatus of example 1 and the apparatus of comparative example 1 were placed in a closed box and an indoor environment, respectively, and the growth (OD) thereof was changed as shown in fig. 3.
As can be seen from FIG. 3, the OD content of the device provided by the present invention tends to be stable after the 8 th day, and the OD content of the device only containing microalgae is in a downward trend after the 8 th day, which means that the microalgae plant system can continuously provide nutrients to ensure the growth of plants and algae, and if the algae culture is performed for a day that the nutrients are exhausted, the nutrients need to be supplemented in time, consuming time and labor.
The apparatus of example 1 and comparative examples 1, 2 and 4 were placed in the same air atmosphere and the same carbon dioxide gas was simultaneously introduced thereto, and the change in the carbon dioxide concentration was as shown in FIGS. 4 to 5, respectively.
As can be seen from fig. 4-5, during the microalgae exponential growth phase and the stabilization phase, the carbon dioxide content of the device provided by the present invention was always kept at a minimum, indicating that the absorption capacity for carbon dioxide is higher than that of the devices provided in the remaining comparative examples.
The devices of example 1 and comparative examples 2 and 4 were placed in the same environment and the particulate material was introduced into the base using a kitchen smoke gun and pumped into the core by an air pump, with the concentration of the different particulate materials including PM1.0, PM2.5, PM10 and carbon dioxide varying as shown in figures 6-9, respectively.
As can be seen from fig. 6 to 9, the fully automatic air purification apparatus based on the microalgae plant system provided in example 1 maintains the best absorption effect for PM1, PM2.5, PM10, and carbon dioxide at the same time period.
While the present invention has been described in detail and with reference to the accompanying drawings, it is not to be considered as limited to the scope of the invention. Various modifications and changes may be made by those skilled in the art without inventive step within the scope of the appended claims.

Claims (7)

1.一种基于微藻植物系统的全自动空气净化装置,其特征在于,包括内芯和外壳(5),所述内芯包括从上至下依次设置的植物系统、微藻系统和控制系统,所述植物系统包括从上至下依次设置的植物生长区(1)、植物器皿(2)和出液口(8),所述微藻系统包括内芯筒体(4)和置于内芯筒体(4)内部的微藻区,所述内芯筒体(4)内壁设置有照明装置和水泵(9),所述水泵(9)出水口连接植物器皿(2),进水口连接微藻区,所述内芯筒体(4)下部设置有底座(15),所述控制系统包括设置在内芯底部的曝气盘(6)、底座(15)内部的气泵(7)、气管(14)和照明驱动,所述气泵(7)与曝气盘(6)通过气管(14)连接,所述照明驱动与照明装置电性连接。1. a fully automatic air purifying device based on microalgae plant system, is characterized in that, comprises inner core and shell (5), and described inner core comprises plant system, microalgae system and control system that are arranged sequentially from top to bottom , the plant system comprises a plant growth area (1), a plant vessel (2) and a liquid outlet (8) arranged in sequence from top to bottom, and the microalgae system comprises an inner core cylinder (4) and a The microalgae area inside the core cylinder (4), the inner wall of the inner core cylinder (4) is provided with a lighting device and a water pump (9), the water outlet of the water pump (9) is connected to the plant vessel (2), and the water inlet is connected to In the microalgae area, a base (15) is provided at the lower part of the inner core cylinder (4), and the control system includes an aeration plate (6) arranged at the bottom of the inner core, an air pump (7) inside the base (15), An air pipe (14) and a lighting driver, the air pump (7) and the aeration plate (6) are connected through the gas pipe (14), and the lighting driver is electrically connected with the lighting device. 2.如权利要求1所述的基于微藻植物系统的全自动空气净化装置,其特征在于,所述植物系统与所述微藻系统间设置有内圆台,所述内圆台上均匀设置有若干个孔洞(10),所述孔洞(10)上覆盖有纱布。2. The fully automatic air purification device based on a microalgae plant system as claimed in claim 1, wherein an inner circular platform is arranged between the plant system and the microalgae system, and several There are holes (10), the holes (10) are covered with gauze. 3.如权利要求1所述的基于微藻植物系统的全自动空气净化装置,其特征在于,所述水泵(9)下端设置有软管(3)。3. The fully automatic air purification device based on a microalgae plant system according to claim 1, wherein a hose (3) is provided at the lower end of the water pump (9). 4.如权利要求1所述的基于微藻植物系统的全自动空气净化装置,其特征在于,所述照明装置为均匀设置的LED灯(13),所述照明驱动为LED驱动(16)所述LED驱动(16)与光源遥控开关(18)连接。4. The fully automatic air purification device based on a microalgae plant system according to claim 1, wherein the lighting device is an evenly arranged LED lamp (13), and the lighting driver is driven by an LED driver (16). The LED driver (16) is connected with the light source remote control switch (18). 5.如权利要求1所述的基于微藻植物系统的全自动空气净化装置,其特征在于,所述外壳(5)的外壁上设置有色标传感器(12),所述色标传感器(12)与所述水泵(9)和控制器均电性连接。5. The fully automatic air purification device based on a microalgae plant system according to claim 1, wherein a color code sensor (12) is provided on the outer wall of the outer shell (5), and the color code sensor (12) It is electrically connected to the water pump (9) and the controller. 6.如权利要求1所述的基于微藻植物系统的全自动空气净化装置,其特征在于,所述底座(15)外部设置有气泵控制器开关(17)。6. The fully automatic air purification device based on a microalgae plant system according to claim 1, wherein an air pump controller switch (17) is provided outside the base (15). 7.如权利要求1所述的基于微藻植物系统的全自动空气净化装置,其特征在于,所述植物生长区外部设置有外圆台(11),所述外圆台(11)的形状为倒圆台形,所述外圆台(11)下端与外壳(5)上端活动连接。7. The fully automatic air purification device based on a microalgae plant system as claimed in claim 1, wherein an outer circular platform (11) is provided outside the plant growth area, and the outer circular platform (11) is shaped like an inverted It is in the shape of a circular truncated cone, and the lower end of the outer circular truncated table (11) is movably connected with the upper end of the casing (5).
CN202120718890.5U 2021-04-09 2021-04-09 A fully automatic air purification device based on microalgae plant system Active CN214665068U (en)

Priority Applications (1)

Application Number Priority Date Filing Date Title
CN202120718890.5U CN214665068U (en) 2021-04-09 2021-04-09 A fully automatic air purification device based on microalgae plant system

Applications Claiming Priority (1)

Application Number Priority Date Filing Date Title
CN202120718890.5U CN214665068U (en) 2021-04-09 2021-04-09 A fully automatic air purification device based on microalgae plant system

Publications (1)

Publication Number Publication Date
CN214665068U true CN214665068U (en) 2021-11-09

Family

ID=78460446

Family Applications (1)

Application Number Title Priority Date Filing Date
CN202120718890.5U Active CN214665068U (en) 2021-04-09 2021-04-09 A fully automatic air purification device based on microalgae plant system

Country Status (1)

Country Link
CN (1) CN214665068U (en)

Cited By (1)

* Cited by examiner, † Cited by third party
Publication number Priority date Publication date Assignee Title
CN115159781A (en) * 2022-07-22 2022-10-11 江苏桁壹生物科技有限公司 A method and system for denitrification and carbon sequestration sewage treatment utilizing biology

Cited By (1)

* Cited by examiner, † Cited by third party
Publication number Priority date Publication date Assignee Title
CN115159781A (en) * 2022-07-22 2022-10-11 江苏桁壹生物科技有限公司 A method and system for denitrification and carbon sequestration sewage treatment utilizing biology

Similar Documents

Publication Publication Date Title
CN107012072B (en) Optical biomembrane reactor and application thereof in sewage treatment, carbon fixation and microalgae collection
CN210193886U (en) A high-efficiency closed marine microalgae culture photobioreactor
CN103623693B (en) A kind of Efficient biological deodorization equipment
RU2678129C2 (en) Photobioreactor for co2 biosequestration with immobilised biomass of algae or cyanobacteria
CN104214845A (en) Microalgae oxygen bar-mediated air purification device
CN108579405A (en) A kind of novel microalgae removes haze oxygen-enriched air purifier
CN214665068U (en) A fully automatic air purification device based on microalgae plant system
CN204307523U (en) Biological air purifying device
CN104663560A (en) Laboratory simulation ocean acidification system
CN104328030A (en) Surface growth type culture plate having sandwich structure, surface growing culture system and surface growing culture method
CN109456885A (en) A kind of automatically cleaning fluidized bed bioreactor
JPH07184630A (en) Incubator for photosynthetic organisms
TWM459867U (en) Air purifier device
CN102242064B (en) Continuous air supplying method and system for chlamydomonas cultivation
WO2022175984A1 (en) Automated decarbonizing algae reactor
CN109821397A (en) Waste liquid exhaust treatment system
CN206637749U (en) A kind of environmental hydroponic plant air purifier
CN211078607U (en) Self-cleaning large-scale cultivation control device by utilizing immobilized microorganism water body
CN204443704U (en) A kind of laboratory simulation Ocean acidification system
CN1174090C (en) A kind of method of cultivating hair vegetable cell
CN212260172U (en) A column type aquaponics system
CN204880380U (en) Intelligence biological purification ware
CN204227560U (en) The air cleaning unit of a kind of Wei Zao oxygen bar mediation
CN203498388U (en) Device for increasing carbon dioxide utilization rate in microalgae cultivation
CN215050204U (en) Little algae group banks up device with earth

Legal Events

Date Code Title Description
GR01 Patent grant
GR01 Patent grant