CN214664093U - 一种节能环保照明路灯 - Google Patents

一种节能环保照明路灯 Download PDF

Info

Publication number
CN214664093U
CN214664093U CN202120111781.7U CN202120111781U CN214664093U CN 214664093 U CN214664093 U CN 214664093U CN 202120111781 U CN202120111781 U CN 202120111781U CN 214664093 U CN214664093 U CN 214664093U
Authority
CN
China
Prior art keywords
ring
fixed
lamp
energy
environment
Prior art date
Legal status (The legal status is an assumption and is not a legal conclusion. Google has not performed a legal analysis and makes no representation as to the accuracy of the status listed.)
Expired - Fee Related
Application number
CN202120111781.7U
Other languages
English (en)
Inventor
崔焱鑫
Current Assignee (The listed assignees may be inaccurate. Google has not performed a legal analysis and makes no representation or warranty as to the accuracy of the list.)
Individual
Original Assignee
Individual
Priority date (The priority date is an assumption and is not a legal conclusion. Google has not performed a legal analysis and makes no representation as to the accuracy of the date listed.)
Filing date
Publication date
Application filed by Individual filed Critical Individual
Priority to CN202120111781.7U priority Critical patent/CN214664093U/zh
Application granted granted Critical
Publication of CN214664093U publication Critical patent/CN214664093U/zh
Expired - Fee Related legal-status Critical Current
Anticipated expiration legal-status Critical

Links

Images

Classifications

    • YGENERAL TAGGING OF NEW TECHNOLOGICAL DEVELOPMENTS; GENERAL TAGGING OF CROSS-SECTIONAL TECHNOLOGIES SPANNING OVER SEVERAL SECTIONS OF THE IPC; TECHNICAL SUBJECTS COVERED BY FORMER USPC CROSS-REFERENCE ART COLLECTIONS [XRACs] AND DIGESTS
    • Y02TECHNOLOGIES OR APPLICATIONS FOR MITIGATION OR ADAPTATION AGAINST CLIMATE CHANGE
    • Y02BCLIMATE CHANGE MITIGATION TECHNOLOGIES RELATED TO BUILDINGS, e.g. HOUSING, HOUSE APPLIANCES OR RELATED END-USER APPLICATIONS
    • Y02B20/00Energy efficient lighting technologies, e.g. halogen lamps or gas discharge lamps
    • Y02B20/72Energy efficient lighting technologies, e.g. halogen lamps or gas discharge lamps in street lighting
    • YGENERAL TAGGING OF NEW TECHNOLOGICAL DEVELOPMENTS; GENERAL TAGGING OF CROSS-SECTIONAL TECHNOLOGIES SPANNING OVER SEVERAL SECTIONS OF THE IPC; TECHNICAL SUBJECTS COVERED BY FORMER USPC CROSS-REFERENCE ART COLLECTIONS [XRACs] AND DIGESTS
    • Y02TECHNOLOGIES OR APPLICATIONS FOR MITIGATION OR ADAPTATION AGAINST CLIMATE CHANGE
    • Y02EREDUCTION OF GREENHOUSE GAS [GHG] EMISSIONS, RELATED TO ENERGY GENERATION, TRANSMISSION OR DISTRIBUTION
    • Y02E10/00Energy generation through renewable energy sources
    • Y02E10/50Photovoltaic [PV] energy

Landscapes

  • Non-Portable Lighting Devices Or Systems Thereof (AREA)

Abstract

本实用新型涉及路灯技术领域,尤其是一种节能环保照明路灯,包括灯柱,灯柱的上端固定安装有上顶盖,灯柱内通过转动部件安装有内筒,内筒内安装有蓄电池,内筒的下端设置有阻挡部件,内筒的上端贯穿上顶盖并延伸出去设置有端盖,内筒的侧面固定安装有固定环,固定环一侧的上方安装有驱动部件,固定环的上方通过支撑杆固定连接太阳能电池板,灯柱上端的一侧设置有照明部件。此装置控制器控制步进电机的转速,使得步进电机带动太阳能电池板进行转动,使得太阳能电池板一直正对阳光,从而使得太阳能电池板达到最大的发电效率,通过光敏开关将灯头打开,即可达到照明的目的,防止白天灯头持续的照明,方便了人们进行使用,节省了能源。

Description

一种节能环保照明路灯
技术领域
本实用新型涉及路灯领域,尤其涉及一种节能环保照明路灯。
背景技术
随着人们生活水平的提高,人类社会由农业时代进入到工业时代进而进入现在的科技时代,各种工具以及科技产品代替了劳动力,人们进入智能时代,然而随着人类社会的断进步,能源不断减少,要想实现人类发展的可持续,人们必须向着节能、环保、合理利用资源的方向迈进。现有的照明路灯通常会采用太阳能电池板的方式进行供电,通过太阳能电池板从而达到了对路灯进行供电的目的,但是现在路灯上的太阳能电池板朝向都是固定的,但是阳光的射线并不是固定的,因此,太阳能电池板的发电效率得不到最大化,从而造成能源的浪费,为此我们提出了一种节能环保照明路灯。
实用新型内容
本实用新型的目的是为了解决现有技术中存在的缺点,而提出的一种节能环保照明路灯。
为达到以上目的,本实用新型采用的技术方案为:一种节能环保照明路灯,包括灯柱,所述灯柱的上端固定安装有上顶盖,所述灯柱内通过转动部件安装有内筒,所述内筒内安装有蓄电池,所述内筒的下端设置有阻挡部件,所述内筒的上端贯穿上顶盖并延伸出去设置有端盖,所述内筒的侧面固定安装有固定环,所述固定环一侧的上方安装有驱动部件,所述固定环的上方通过支撑杆固定连接太阳能电池板,所述灯柱上端的一侧设置有照明部件。
优选的,所述转动部件包括固定在灯柱内壁上的限位环,所述限位环与上顶盖之间安装有轴承,并且轴承固定套设在内筒上。
优选的,所述阻挡部件包括固定在内筒底部的圆块,所述灯柱的内壁上固定有挡环,所述内筒位于挡环内,所述圆块上套设有套环,所述套环的侧面等距固定有多个固定轴,所述固定轴的一端固定有滑轮,所述滑轮的上方与挡环的底部接触,所述挡环的一侧安装有固定部件。
优选的,所述固定部件包括开设在圆块侧面的螺纹孔,所述套环的一侧螺纹连接有固定螺杆,所述固定螺杆的一端与螺纹孔进行螺纹连接。
优选的,所述固定环的底部等距设置有多个滚轮,所述滚轮的底部与上顶盖的上方进行接触。
优选的,所述驱动部件包括固定在固定环上方的电机安装架,所述电机安装架的一侧固定安装有步进电机,所述步进电机的输出轴上固定安装有齿轮,所述灯柱的上端套设固定有齿环,所述齿环与齿轮相互啮合。
优选的,所述照明部件包括固定在灯柱上端一侧的连杆,所述连杆的一端固定安装有灯头。
优选的,所述圆块的下端固定安装有固定框,所述固定框内固定安装有控制器,所述灯柱的一侧固定安装有与控制器对应的壳体,所述壳体的一侧固定安装有壳盖。
优选的,所述太阳能电池板与蓄电池进行电性连接,所述蓄电池与控制器电性连接,所述控制器与步进电机电性连接,所述灯头的上方固定有光敏开关,所述蓄电池与光敏开关电性连接,所述光敏开关与灯头电性连接。
优选的,所述灯柱的下端固定安装有底板,所述底板上等距开设有多个固定孔,所述底板与灯柱之间固定安装有加强板。
与现有技术相比,本实用新型具有以下有益效果:
1、灯柱内壁上的限位环,从而达到了对轴承进行支撑的目的,将轴承套设安装在内筒上,方便了内筒进行转动,顶盖的设置,方便了对轴承进行阻挡限位,防止了轴承脱落,方便了内筒进行旋转,从而方便了对太阳能电池板的角度进行调节。
2、通过滑轮在挡环的底部进行移动,从而达到了对内筒进行限位的目的,同时不会影响内筒的转动,当需要对内筒上的零件进行更换时,只需要拧下固定螺杆,将套环从圆块上取下,即可方便对内筒进行取下,达到方便对内筒进行拆卸的目的。
3、在固定环的上方安装步进电机,由于步进电机输出轴上的齿轮与齿环是进行啮合的,因此当步进电机进行转动时,从而使得内筒进行来回的转动,通过步进电机的设置,从而方便内筒进行来回的转动,以此来达到调节太阳能电池板角度的目的。
4、通过控制器控制步进电机的转速,使得步进电机带动太阳能电池板进行转动,使得太阳能电池板一直正对阳光,从而使得太阳能电池板达到最大的发电效率,在使用的过程中,通过光敏开关从而明确昼夜,当夜晚降临时,通过光敏开关将灯头打开,即可达到照明的目的,防止白天灯头持续的照明,方便了人们进行使用,节省了能源。
附图说明
图1为本实用新型的结构示意图;
图2为本实用新型的上部结构示意图;
图3为本实用新型的图2中的A处放大结构示意图;
图4为本实用新型的内部结构示意图;
图5为本实用新型的图4中的B处放大结构示意图。
图6为本实用新型的图4中的C处放大结构示意图。
图7为本实用新型的阻挡部件的结构示意图。
图8为本实用新型的固定部件的结构示意图。
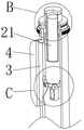
图中:太阳能电池板1、上顶盖2、壳体3、壳盖4、灯柱5、加强板6、固定孔7、底板8、支撑杆9、连杆10、光敏开关11、灯头12、滚轮13、固定环14、内筒15、端盖16、电机安装架17、步进电机18、齿轮19、齿环20、蓄电池21、轴承22、限位环23、挡环24、固定螺杆25、套环26、滑轮27、固定轴28、控制器29、固定框30、圆块31、螺纹孔32。
具体实施方式
以下描述用于揭露本实用新型以使本领域技术人员能够实现本实用新型。以下描述中的优选实施例只作为举例,本领域技术人员可以想到其他显而易见的变型。
如图1-8所示的一种节能环保照明路灯,包括灯柱5,灯柱5的上端固定安装有上顶盖2,灯柱5内通过转动部件安装有内筒15,转动部件包括固定在灯柱5内壁上的限位环23,限位环23与上顶盖2之间安装有轴承22,并且轴承22固定套设在内筒15上,灯柱5的下端固定安装有底板8,底板8上等距开设有多个固定孔7,底板8与灯柱5之间固定安装有加强板6。
实施方式具体为:在灯柱5的下端安装底板8,通过底板8上的固定孔7从而达到对灯柱5进行固定安装的目的,通过灯柱5内壁上的限位环23,从而达到了对轴承22进行支撑的目的,将轴承22套设安装在内筒15上,方便了内筒15进行转动,顶盖2的设置,方便了对轴承22进行阻挡限位,防止了轴承22脱落。
内筒15内安装有蓄电池21,内筒15的下端设置有阻挡部件,阻挡部件包括固定在内筒15底部的圆块31,灯柱5的内壁上固定有挡环24,内筒15位于挡环24内,圆块31上套设有套环26,套环26的侧面等距固定有多个固定轴28,固定轴28的一端固定有滑轮27,滑轮27的上方与挡环24的底部接触,挡环24的一侧安装有固定部件,固定部件包括开设在圆块31侧面的螺纹孔32,套环26的一侧螺纹连接有固定螺杆25,固定螺杆25的一端与螺纹孔32进行螺纹连接。
实施方式具体为:通过挡环24的设置,以便于对内筒15的下端进行平衡,将套环26套在圆块31上,然后通过固定螺杆25与螺纹孔32进行螺纹连接,从而方便将套环26固定在圆块31上,通过套环26侧面的固定轴28,从而方便对滑轮27进行安装,通过滑轮27在挡环24的底部进行移动,从而达到了对内筒15进行限位的目的,同时不会影响内筒15的转动,当需要对内筒15上的零件进行更换时,只需要拧下固定螺杆25,将套环26从圆块31上取下,即可方便对内筒15进行取下,达到方便对内筒15进行拆卸的目的。
内筒15的上端贯穿上顶盖2并延伸出去设置有端盖16,内筒15的侧面固定安装有固定环14,固定环14的底部等距设置有多个滚轮13,滚轮13的底部与上顶盖2的上方进行接触,固定环14一侧的上方安装有驱动部件,驱动部件包括固定在固定环14上方的电机安装架17,电机安装架17的一侧固定安装有步进电机18,步进电机18的输出轴上固定安装有齿轮19,灯柱5的上端套设固定有齿环20,齿环20与齿轮19相互啮合。
实施方式具体为:在使用的过程中,打开端盖16从而方便将蓄电池21安装至内筒15内,通过固定环14的设置,防止了内筒15向下坠,达到了对内筒15进行限位的目的,固定环14底部安装的滚轮13使得内筒15能够正常的进行转动,防止内筒15在转动的过程中卡涩,在固定环14的上方安装步进电机18,由于步进电机18输出轴上的齿轮19与齿环20是进行啮合的,因此当步进电机18进行转动时,从而使得内筒15进行来回的转动。
固定环14的上方通过支撑杆9固定连接太阳能电池板1,灯柱5上端的一侧设置有照明部件,照明部件包括固定在灯柱5上端一侧的连杆10,连杆10的一端固定安装有灯头12,圆块31的下端固定安装有固定框30,固定框30内固定安装有控制器29,灯柱5的一侧固定安装有与控制器29对应的壳体3,壳体3的一侧固定安装有壳盖4,太阳能电池板1与蓄电池21进行电性连接,蓄电池21与控制器29电性连接,控制器29与步进电机18电性连接,灯头12的上方固定有光敏开关11,蓄电池21与光敏开关11电性连接,光敏开关11与灯头12电性连接。
实施方式具体为:通过支撑杆9将太阳能电池板1固定在固定环14的上方,通过太阳能电池板1将光能转化成电能存储在蓄电池21中,通过控制器29控制步进电机18的转速,使得步进电机18带动太阳能电池板1进行转动,使得太阳能电池板1一直正对阳光,从而使得太阳能电池板1达到最大的发电效率,在使用的过程中,通过光敏开关11从而明确昼夜,当夜晚降临时,通过光敏开关11将灯头12打开,即可达到照明的目的,防止白天灯头12持续的照明,方便了人们进行使用,节省了能源。
本实用新型工作原理:
通过控制器29控制步进电机18的转速,使得步进电机18带动太阳能电池板1进行转动,使得太阳能电池板1一直正对阳光,从而使得太阳能电池板1达到最大的发电效率,通过套环26侧面的固定轴28,从而方便对滑轮27进行安装,通过滑轮27在挡环24的底部进行移动,从而达到了对内筒15进行限位的目的,同时不会影响内筒15的转动,当需要对内筒15上的零件进行更换时,只需要拧下固定螺杆25,将套环26从圆块31上取下,即可方便对内筒15进行取下,达到方便对内筒15进行拆卸的目的,当夜晚降临时,通过光敏开关11将灯头12打开,即可达到照明的目的,防止白天灯头12持续的照明,方便了人们进行使用,节省了能源。
以上显示和描述了本实用新型的基本原理、主要特征和本实用新型的优点。本行业的技术人员应该了解,本实用新型不受上述实施例的限制,上述实施例和说明书中描述的只是本实用新型的原理,在不脱离本实用新型精神和范围的前提下本实用新型还会有各种变化和改进,这些变化和改进都落入要求保护的本实用新型的范围内,本实用新型要求的保护范围由所附的权利要求书及其等同物界定。

Claims (10)

1.一种节能环保照明路灯,包括灯柱(5),其特征在于,所述灯柱(5)的上端固定安装有上顶盖(2),所述灯柱(5)内通过转动部件安装有内筒(15),所述内筒(15)内安装有蓄电池(21),所述内筒(15)的下端设置有阻挡部件,所述内筒(15)的上端贯穿上顶盖(2)并延伸出去设置有端盖(16),所述内筒(15)的侧面固定安装有固定环(14),所述固定环(14)一侧的上方安装有驱动部件,所述固定环(14)的上方通过支撑杆(9)固定连接太阳能电池板(1),所述灯柱(5)上端的一侧设置有照明部件。
2.根据权利要求1所述的一种节能环保照明路灯,其特征在于,所述转动部件包括固定在灯柱(5)内壁上的限位环(23),所述限位环(23)与上顶盖(2)之间安装有轴承(22),并且轴承(22)固定套设在内筒(15)上。
3.根据权利要求1所述的一种节能环保照明路灯,其特征在于,所述阻挡部件包括固定在内筒(15)底部的圆块(31),所述灯柱(5)的内壁上固定有挡环(24),所述内筒(15)位于挡环(24)内,所述圆块(31)上套设有套环(26),所述套环(26)的侧面等距固定有多个固定轴(28),所述固定轴(28)的一端固定有滑轮(27),所述滑轮(27)的上方与挡环(24)的底部接触,所述挡环(24)的一侧安装有固定部件。
4.根据权利要求3所述的一种节能环保照明路灯,其特征在于,所述固定部件包括开设在圆块(31)侧面的螺纹孔(32),所述套环(26)的一侧螺纹连接有固定螺杆(25),所述固定螺杆(25)的一端与螺纹孔(32)进行螺纹连接。
5.根据权利要求1所述的一种节能环保照明路灯,其特征在于,所述固定环(14)的底部等距设置有多个滚轮(13),所述滚轮(13)的底部与上顶盖(2)的上方进行接触。
6.根据权利要求1所述的一种节能环保照明路灯,其特征在于,所述驱动部件包括固定在固定环(14)上方的电机安装架(17),所述电机安装架(17)的一侧固定安装有步进电机(18),所述步进电机(18)的输出轴上固定安装有齿轮(19),所述灯柱(5)的上端套设固定有齿环(20),所述齿环(20)与齿轮(19)相互啮合。
7.根据权利要求1所述的一种节能环保照明路灯,其特征在于,所述照明部件包括固定在灯柱(5)上端一侧的连杆(10),所述连杆(10)的一端固定安装有灯头(12)。
8.根据权利要求3所述的一种节能环保照明路灯,其特征在于,所述圆块(31)的下端固定安装有固定框(30),所述固定框(30)内固定安装有控制器(29),所述灯柱(5)的一侧固定安装有与控制器(29)对应的壳体(3),所述壳体(3)的一侧固定安装有壳盖(4)。
9.根据权利要求7所述的一种节能环保照明路灯,其特征在于,所述太阳能电池板(1)与蓄电池(21)进行电性连接,所述蓄电池(21)与控制器(29)电性连接,所述控制器(29)与步进电机(18)电性连接,所述灯头(12)的上方固定有光敏开关(11),所述蓄电池(21)与光敏开关(11)电性连接,所述光敏开关(11)与灯头(12)电性连接。
10.根据权利要求1所述的一种节能环保照明路灯,其特征在于,所述灯柱(5)的下端固定安装有底板(8),所述底板(8)上等距开设有多个固定孔(7),所述底板(8)与灯柱(5)之间固定安装有加强板(6)。
CN202120111781.7U 2021-01-15 2021-01-15 一种节能环保照明路灯 Expired - Fee Related CN214664093U (zh)

Priority Applications (1)

Application Number Priority Date Filing Date Title
CN202120111781.7U CN214664093U (zh) 2021-01-15 2021-01-15 一种节能环保照明路灯

Applications Claiming Priority (1)

Application Number Priority Date Filing Date Title
CN202120111781.7U CN214664093U (zh) 2021-01-15 2021-01-15 一种节能环保照明路灯

Publications (1)

Publication Number Publication Date
CN214664093U true CN214664093U (zh) 2021-11-09

Family

ID=78515806

Family Applications (1)

Application Number Title Priority Date Filing Date
CN202120111781.7U Expired - Fee Related CN214664093U (zh) 2021-01-15 2021-01-15 一种节能环保照明路灯

Country Status (1)

Country Link
CN (1) CN214664093U (zh)

Cited By (1)

* Cited by examiner, † Cited by third party
Publication number Priority date Publication date Assignee Title
CN112747280A (zh) * 2021-01-15 2021-05-04 崔焱鑫 一种节能环保照明路灯

Cited By (1)

* Cited by examiner, † Cited by third party
Publication number Priority date Publication date Assignee Title
CN112747280A (zh) * 2021-01-15 2021-05-04 崔焱鑫 一种节能环保照明路灯

Similar Documents

Publication Publication Date Title
CN110686205A (zh) 可自主改变光照强度的工程路灯
CN214664093U (zh) 一种节能环保照明路灯
CN2586875Y (zh) 向日葵式太阳能路灯
CN110645533A (zh) 一种可调节式太阳能路灯
CN211738703U (zh) 一种节能型便携式移动照明设备
CN212034062U (zh) 路灯用太阳能支架
CN112747280A (zh) 一种节能环保照明路灯
CN220228808U (zh) 一种节能型伸缩式太阳能路灯
CN209558216U (zh) 一种太阳能壁灯
CN111810902A (zh) 一种基于物联网控制器的风力光伏路灯
CN218895318U (zh) 一种太阳能路灯
CN217684706U (zh) 一种自动调节的太阳能路灯
CN210831765U (zh) 一种便于调整角度的太阳能路灯
CN210197165U (zh) 太阳能灯
CN214380770U (zh) 一种高采光率的可调式太阳能板
CN213395100U (zh) 一种城市路灯智能控制系统
CN211289864U (zh) 一种路灯
CN210462810U (zh) 一种太阳能智慧园区智能照明装置
CN211289849U (zh) 一种太阳能路灯装置
CN214405871U (zh) 一种光电转化效率高的太阳能路灯
CN114484360A (zh) 一种新型太阳能led路灯
CN206018472U (zh) 一种可转动的路灯
CN207780610U (zh) 一种太阳能双轴跟踪系统
CN220770875U (zh) 一种远程控制新型风光互补led路灯
CN210345304U (zh) 一种太阳储能一体式路灯头

Legal Events

Date Code Title Description
GR01 Patent grant
GR01 Patent grant
CF01 Termination of patent right due to non-payment of annual fee

Granted publication date: 20211109