CN214633771U - A kind of reciprocating limb auxiliary exercise device for elderly fitness - Google Patents

A kind of reciprocating limb auxiliary exercise device for elderly fitness Download PDF

Info

Publication number
CN214633771U
CN214633771U CN202120638176.5U CN202120638176U CN214633771U CN 214633771 U CN214633771 U CN 214633771U CN 202120638176 U CN202120638176 U CN 202120638176U CN 214633771 U CN214633771 U CN 214633771U
Authority
CN
China
Prior art keywords
exercise
fixed
bottom plate
pull rod
exercise device
Prior art date
Legal status (The legal status is an assumption and is not a legal conclusion. Google has not performed a legal analysis and makes no representation as to the accuracy of the status listed.)
Expired - Fee Related
Application number
CN202120638176.5U
Other languages
Chinese (zh)
Inventor
王冲
Current Assignee (The listed assignees may be inaccurate. Google has not performed a legal analysis and makes no representation or warranty as to the accuracy of the list.)
Guangdong Ocean University
Original Assignee
Guangdong Ocean University
Priority date (The priority date is an assumption and is not a legal conclusion. Google has not performed a legal analysis and makes no representation as to the accuracy of the date listed.)
Filing date
Publication date
Application filed by Guangdong Ocean University filed Critical Guangdong Ocean University
Priority to CN202120638176.5U priority Critical patent/CN214633771U/en
Application granted granted Critical
Publication of CN214633771U publication Critical patent/CN214633771U/en
Expired - Fee Related legal-status Critical Current
Anticipated expiration legal-status Critical

Links

Images

Landscapes

  • Rehabilitation Tools (AREA)

Abstract

本实用新型公开了一种往复式老年健身用肢体辅助锻炼装置,包括固定底板,其安装于平整光滑的地面上,所述固定底板的顶部螺纹连接有固定螺栓;固定架,其焊接在所述固定底板的顶部,所述固定架的内顶壁的正中位置固定有连接杆,且连接杆的底端连接有铰链;锻炼拉杆,活动安装于固定架的正下方;支撑座,安装于固定底板的顶部。该往复式老年健身用肢体辅助锻炼装置,设置有锻炼拉杆,可用于老年人做拉伸运动,锻炼胳膊、手臂和肩膀;支撑座与固定底板之间通过连接轴承进行连接,老年人可通过脚踩踩踏钢架板进行旋转扭动,对腰部进行锻炼,整体运动难度较低,更适合老年人日常运动使用,可锻炼身体多个部位,维持肢体管节的灵活性。

Figure 202120638176

The utility model discloses a reciprocating limb auxiliary exercise device for elderly fitness, comprising a fixed bottom plate, which is installed on a flat and smooth ground, the top of the fixed bottom plate is threadedly connected with fixed bolts; a fixed frame is welded on the The top of the fixed base plate is fixed, a connecting rod is fixed at the middle position of the inner top wall of the fixed frame, and the bottom end of the connecting rod is connected with a hinge; the exercise rod is movably installed directly under the fixed frame; the support seat is installed on the fixed base plate the top of. The reciprocating limb auxiliary exercise device for elderly fitness is provided with exercise pull rods, which can be used for stretching exercises for the elderly to exercise arms, arms and shoulders; the support seat and the fixed bottom plate are connected by connecting bearings, and the elderly can pass the feet Stepping on the steel frame plate to rotate and twist, and exercise the waist, the overall exercise difficulty is low, and it is more suitable for the daily exercise of the elderly. It can exercise multiple parts of the body and maintain the flexibility of the limbs.

Figure 202120638176

Description

Reciprocating type body-building for old people is with supplementary device of taking exercise of limbs
Technical Field
The utility model relates to a limbs is assisted and is taken exercise technical field, specifically is a reciprocating type old body-building is with limbs auxiliary exercise device.
Background
Along with the development of times, more and more old people are not like fitness ranks, but because the physical function of old people is degenerated, a common exercise device has no pertinence, the old people keep healthy but not fit for the body, the whole movement difficulty of the limb auxiliary exercise device on the market is higher at present, the limb auxiliary exercise device is not suitable for the daily fitness of the old people, the body shaping or muscle exercise is usually emphasized, the limb auxiliary exercise device is not suitable for the whole body of the old people, the exercise intensity cannot be adjusted, the exercise needs to be gradual, and the adaptability to the old people is poor.
In order to solve the problems, innovative design is urgently needed on the basis of the structure of the original limb auxiliary exercise device.
SUMMERY OF THE UTILITY MODEL
An object of the utility model is to provide a reciprocating type old body-building is with limbs auxiliary exercise device to solve the great, unable problem of adjusting the motion intensity of the motion degree of difficulty that provides among the above-mentioned background art.
In order to achieve the above object, the utility model provides a following technical scheme: a reciprocating type body-building auxiliary exercise device for old people comprises:
the fixed bottom plate is arranged on a flat and smooth ground, and the top of the fixed bottom plate is in threaded connection with a fixed bolt;
the fixing frame is welded at the top of the fixing bottom plate, a connecting rod is fixed at the center of the inner top wall of the fixing frame, and the bottom end of the connecting rod is connected with a hinge;
the exercise pull rod is movably arranged right below the fixed frame;
the supporting seat is installed at the top of the fixed bottom plate.
Preferably, the fixing bolts are penetratingly mounted at the top of the fixing base plate, and the fixing bolts are symmetrically arranged at the top of the fixing base plate.
Preferably, the exercise bar is further provided with:
the handles are symmetrically arranged on the outer walls of the two sides of the exercise pull rod;
the inner surface of the foam cotton gasket is attached to the outer surface of the handle, and the inner size of the foam cotton gasket is completely matched with the outer size of the handle.
Preferably, the exercise bar is further provided with:
the threaded holes are symmetrically arranged on the inner side wall of the exercise pull rod;
the spring, the dismantlement installation sets up in the inboard of tempering the pull rod, the both ends fixedly connected with connecting thread bolt of spring.
Preferably, the supporting seat is further provided with:
the connecting bearing is arranged on the outer wall of the supporting seat;
trample the steel frame board, its welding sets up the top intermediate position at the supporting seat, trample the steel frame board top and evenly be provided with anti-skidding burr.
Compared with the prior art, the utility model provides a reciprocating type body building is with limbs auxiliary exercise device for old person has following advantage:
1. the exercise pull rod is arranged, so that the old people can do stretching exercise to exercise arms, arms and shoulders; the supporting seat is connected with the fixed bottom plate through the connecting bearing, and the old can step on the stepping steel frame plate to do rotary twisting to exercise the waist, so that the whole exercise difficulty is low, the waist training device is more suitable for the old to use in daily exercise, a plurality of body parts can be exercised, and the flexibility of the limb pipe joint is maintained;
2. it is inboard to be provided with the screw hole taking exercise the pull rod, has made things convenient for the spring to be fixed in taking exercise the pull rod through connecting thread post in, utilizes the pulling force of spring, carries out reciprocating stretching motion, can increase and decrease spring quantity as required for take exercise the pulling force increase between the railing or reduce, made things convenient for regulation motion intensity, make the holistic adaptability of device stronger.
Drawings
FIG. 1 is a schematic side view of the present invention;
FIG. 2 is a schematic front sectional view of the present invention;
FIG. 3 is a schematic cross-sectional view of the exercise rod of the present invention;
FIG. 4 is an enlarged schematic view of the structure at A of FIG. 1 according to the present invention;
fig. 5 is a schematic view of the connection between the threaded bolt and the spring according to the present invention.
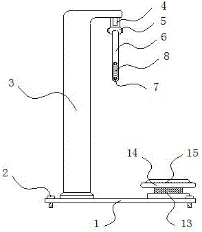
In the figure: 1. fixing the bottom plate; 2. fixing the bolt; 3. a fixed mount; 4. a connecting rod; 5. a hinge; 6. exercising the pull rod; 7. a handle; 8. a foam cotton gasket; 9. a threaded hole; 10. connecting a threaded bolt; 11. a spring; 12. connecting a bearing; 13. a supporting seat; 14. trampling the steel frame plate; 15. anti-skid wales.
Detailed Description
The technical solutions in the embodiments of the present invention will be described clearly and completely with reference to the accompanying drawings in the embodiments of the present invention, and it is obvious that the described embodiments are only some embodiments of the present invention, not all embodiments. Based on the embodiments in the present invention, all other embodiments obtained by a person skilled in the art without creative work belong to the protection scope of the present invention.
Referring to fig. 1-5, the present invention provides a technical solution: a reciprocating type body-building auxiliary exercise device for old people comprises:
the fixed base plate 1 is arranged on a flat and smooth ground, and the top of the fixed base plate 1 is in threaded connection with a fixed bolt 2;
the fixing frame 3 is welded at the top of the fixing bottom plate 1, a connecting rod 4 is fixed at the center of the inner top wall of the fixing frame 3, and the bottom end of the connecting rod 4 is connected with a hinge 5;
the exercise pull rod 6 is movably arranged right below the fixed frame 3;
and the supporting seat 13 is installed at the top of the fixed bottom plate 1.
The fixing bolts 2 are installed at the top of the fixing base plate 1 in a penetrating mode, the fixing bolts 2 are symmetrically arranged at the top of the fixing base plate 1, and the installation of the exercise device is facilitated through the arranged fixing bolts 2, so that the fixing base plate 1 can be stably fixed on the ground, and the overall fixing effect of the device is enhanced;
the exercise pull rod 6 is further provided with:
the handles 7 are symmetrically arranged on the outer walls of the two sides of the exercise pull rod 6;
the foam cotton gasket 8 is fixedly arranged on the outer wall of the handle 7, the inner surface of the foam cotton gasket 8 is attached to the outer surface of the handle 7, the inner size of the foam cotton gasket 8 is completely matched with the outer size of the handle 7, and the foam cotton gasket 8 is arranged, so that the effect of protecting the palm of the elderly can be achieved when the elderly take exercises by using the exercise pull rod 6;
the exercise pull rod 6 is further provided with:
the threaded holes 9 are symmetrically arranged on the inner side wall of the exercise pull rod 6;
the spring 11 is arranged on the inner side of the exercise pull rod 6 in a dismounting mode, the two ends of the spring 11 are fixedly connected with the connecting threaded bolts 10, and the dismounting and the mounting of the spring 11 are facilitated through the arranged threaded holes 9 and the connecting threaded bolts 10, so that the purpose of changing the tensile strength of the exercise pull rod 6 is achieved;
the connecting bearing 12 is arranged on the outer wall of the supporting seat 13, and the steel frame plate 14 is convenient to rotate by the arranged connecting bearing 12, so that the waist exercising effect is achieved;
trample steel frame plate 14, its welding sets up the top intermediate position at supporting seat 13, tramples 14 tops of steel frame plate and evenly is provided with anti-skidding burr 15, and anti-skidding burr 15's design plays the anti-skidding effect for the old person when the motion, can be more steady stand on trampling steel frame plate 14.
The working principle is as follows: when the reciprocating type limb auxiliary exercise device for old people fitness is used, according to the figures 1-5, a fixing bottom plate 1 is fixed on the ground by using a fixing bolt 2, an old person steps on a stepping steel frame plate 14, an anti-slip convex pattern 15 arranged on the top of the stepping steel frame plate 14 is stepped on to play an anti-slip role, then a handle 7 is held by a hand, a foam cotton gasket 8 arranged on the outer wall of the handle 7 plays a role in protecting the palm, the old person can twist the waist left and right, a supporting seat 13 arranged at the bottom of the stepping steel frame plate 14 rotates under the action of a connecting bearing 12 to repeatedly exercise the waist, after the waist exercise is finished, the handle 7 is held by the hand to stretch an exercise pull rod 6 outwards, the exercise effect is played on arms, shoulders and other parts of the old person under the tensile force of a spring 11 and the double acting force of a hinge 5, the tensile force of the spring 11 plays a role in the tensile movement, connecting threaded bolts 10 are arranged at two ends of the spring 11, through rotating, can be fixed in threaded hole 9 with connecting thread bolt 10, according to actual conditions needs, the tensile motion intensity of taking exercise pull rod 6 is changed to the accessible dismantlement installation spring 11.
Those not described in detail in this specification are within the skill of the art.
Although embodiments of the present invention have been shown and described, it will be appreciated by those skilled in the art that changes, modifications, substitutions and alterations can be made in these embodiments without departing from the principles and spirit of the invention, the scope of which is defined in the appended claims and their equivalents.

Claims (5)

1. The utility model provides a reciprocating type old age body-building is with limbs auxiliary exercise device which characterized in that includes:
the fixed bottom plate is arranged on a flat and smooth ground, and the top of the fixed bottom plate is in threaded connection with a fixed bolt;
the fixing frame is welded at the top of the fixing bottom plate, a connecting rod is fixed at the center of the inner top wall of the fixing frame, and the bottom end of the connecting rod is connected with a hinge;
the exercise pull rod is movably arranged right below the fixed frame;
the supporting seat is installed at the top of the fixed bottom plate.
2. The reciprocating type body-building auxiliary exercise device for elderly people as claimed in claim 1, wherein: the fixing bolts are installed at the top of the fixing bottom plate in a penetrating mode and are symmetrically arranged at the top of the fixing bottom plate.
3. The reciprocating type body-building auxiliary exercise device for elderly people as claimed in claim 1, wherein the exercise pull rod is further provided with:
the handles are symmetrically arranged on the outer walls of the two sides of the exercise pull rod;
the inner surface of the foam cotton gasket is attached to the outer surface of the handle, and the inner size of the foam cotton gasket is completely matched with the outer size of the handle.
4. The reciprocating type body-building auxiliary exercise device for elderly people as claimed in claim 1, wherein the exercise pull rod is further provided with:
the threaded holes are symmetrically arranged on the inner side wall of the exercise pull rod;
the spring, the dismantlement installation sets up in the inboard of tempering the pull rod, the both ends fixedly connected with connecting thread bolt of spring.
5. The reciprocating type body-building auxiliary exercise device for elderly people as claimed in claim 1, wherein the supporting base is further provided with:
the connecting bearing is arranged on the outer wall of the supporting seat;
trample the steel frame board, its welding sets up the top intermediate position at the supporting seat, trample the steel frame board top and evenly be provided with anti-skidding burr.
CN202120638176.5U 2021-03-30 2021-03-30 A kind of reciprocating limb auxiliary exercise device for elderly fitness Expired - Fee Related CN214633771U (en)

Priority Applications (1)

Application Number Priority Date Filing Date Title
CN202120638176.5U CN214633771U (en) 2021-03-30 2021-03-30 A kind of reciprocating limb auxiliary exercise device for elderly fitness

Applications Claiming Priority (1)

Application Number Priority Date Filing Date Title
CN202120638176.5U CN214633771U (en) 2021-03-30 2021-03-30 A kind of reciprocating limb auxiliary exercise device for elderly fitness

Publications (1)

Publication Number Publication Date
CN214633771U true CN214633771U (en) 2021-11-09

Family

ID=78457126

Family Applications (1)

Application Number Title Priority Date Filing Date
CN202120638176.5U Expired - Fee Related CN214633771U (en) 2021-03-30 2021-03-30 A kind of reciprocating limb auxiliary exercise device for elderly fitness

Country Status (1)

Country Link
CN (1) CN214633771U (en)

Cited By (1)

* Cited by examiner, † Cited by third party
Publication number Priority date Publication date Assignee Title
CN114177572A (en) * 2021-11-24 2022-03-15 杭州科技职业技术学院 Novel old person's intelligence many functional safety fitness equipment

Cited By (1)

* Cited by examiner, † Cited by third party
Publication number Priority date Publication date Assignee Title
CN114177572A (en) * 2021-11-24 2022-03-15 杭州科技职业技术学院 Novel old person's intelligence many functional safety fitness equipment

Similar Documents

Publication Publication Date Title
CN201871160U (en) Multi-functional exercise machine
CN214633771U (en) A kind of reciprocating limb auxiliary exercise device for elderly fitness
CN208511781U (en) A kind of high machine drawing
CN201070136Y (en) Multipurpose physiotherapeutic chair for health care
CN211724536U (en) Many function body educate training auxiliary device
CN208465069U (en) A kind of rowing machine
CN205460708U (en) Multifunction exercise apparatus
CN115253180B (en) Waist body-building equipment
CN207055830U (en) A kind of leg power exercising machine
CN215737894U (en) An auxiliary chair for limb rehabilitation training
KR200450114Y1 (en) Lower part of the body and upper body sportign goods
CN209155007U (en) A kind of physical education pulling force dorsal muscles training device
CN213347658U (en) Sports teaching is with device of warming up
CN213698715U (en) Leg training machine
KR200351859Y1 (en) Twist machine for training whole body
CN205730115U (en) A kind of rotating waist treadmills
CN206518815U (en) A kind of Portable body-building equipment
CN106075823B (en) A kind of body-building equipment that can freely regulate and control
CN109350919A (en) A multifunctional fitness equipment
CN212593763U (en) Multifunctional portal trainer
CN206007928U (en) A kind of chest expanding trainer
CN223542393U (en) Novel rowing training ware
CN219001860U (en) Water resistance rowing machine with adjustable pedal
CN221267051U (en) An indoor full body stretching force balance massage leisure all-in-one machine
CN209451231U (en) A kind of physical fitness training device

Legal Events

Date Code Title Description
GR01 Patent grant
GR01 Patent grant
CF01 Termination of patent right due to non-payment of annual fee
CF01 Termination of patent right due to non-payment of annual fee

Granted publication date: 20211109