CN214625935U - But height-adjusting's block terminal - Google Patents

But height-adjusting's block terminal Download PDF

Info

Publication number
CN214625935U
CN214625935U CN202121090358.XU CN202121090358U CN214625935U CN 214625935 U CN214625935 U CN 214625935U CN 202121090358 U CN202121090358 U CN 202121090358U CN 214625935 U CN214625935 U CN 214625935U
Authority
CN
China
Prior art keywords
piston
box body
rod
box
mounting
Prior art date
Legal status (The legal status is an assumption and is not a legal conclusion. Google has not performed a legal analysis and makes no representation as to the accuracy of the status listed.)
Expired - Fee Related
Application number
CN202121090358.XU
Other languages
Chinese (zh)
Inventor
蒋浩力
Current Assignee (The listed assignees may be inaccurate. Google has not performed a legal analysis and makes no representation or warranty as to the accuracy of the list.)
Sichuan Chuangli Electrical Co ltd
Original Assignee
Sichuan Chuangli Electrical Co ltd
Priority date (The priority date is an assumption and is not a legal conclusion. Google has not performed a legal analysis and makes no representation as to the accuracy of the date listed.)
Filing date
Publication date
Application filed by Sichuan Chuangli Electrical Co ltd filed Critical Sichuan Chuangli Electrical Co ltd
Priority to CN202121090358.XU priority Critical patent/CN214625935U/en
Application granted granted Critical
Publication of CN214625935U publication Critical patent/CN214625935U/en
Expired - Fee Related legal-status Critical Current
Anticipated expiration legal-status Critical

Links

Images

Landscapes

  • Transmission Devices (AREA)

Abstract

本实用新型公开了一种可调节高度的配电箱,涉及配电技术领域,主要为了解决现有配电箱固定安装,其高度无法调整的问题;包括箱体,还包括有:安装板,用于安装箱体;高度调节机构,其安装于安装板和箱体之间,用于驱动箱体升降,所述高度调节机构包括导向件、齿轮和第一连杆,还包括有减震单元,所述减震单元包括网板、第二连杆、活塞杆和第二弹性件,所述活塞缸上安装有用于调节第二弹性件弹力的调节机构,所述调节机构包括调节螺杆和第二活塞,设有高度调节机构,带动箱体升降,进行高度调整;设有减震单元,利用活塞缸内的空气以及弹簧的反作用力进行缓冲减震,通过转动调节螺杆,达到调整缓冲减震效果的作用。

Figure 202121090358

The utility model discloses a height-adjustable power distribution box, which relates to the technical field of power distribution, mainly for solving the problem that the existing power distribution box is fixed and installed, and its height cannot be adjusted; the utility model comprises a box body, and further comprises: a mounting plate, It is used to install the box body; the height adjustment mechanism is installed between the mounting plate and the box body, and is used to drive the box body to rise and fall. The height adjustment mechanism includes a guide member, a gear, a first link, and a shock absorbing unit , the damping unit includes a mesh plate, a second connecting rod, a piston rod and a second elastic member, an adjustment mechanism for adjusting the elastic force of the second elastic member is installed on the piston cylinder, and the adjustment mechanism includes an adjustment screw and a first elastic member. Two pistons are equipped with a height adjustment mechanism to drive the box to rise and fall to adjust the height; a shock absorption unit is provided, which uses the air in the piston cylinder and the reaction force of the spring to buffer and dampen, and adjust the buffer and shock by rotating the adjusting screw. effect of effect.

Figure 202121090358

Description

But height-adjusting's block terminal
Technical Field
The utility model relates to a distribution technology field specifically is a distribution box of adjustable height.
Background
The distribution box is a total circuit distribution box for all users. The working principle distribution box is that the switch equipment, the measuring instrument, the protective electrical equipment and the auxiliary equipment are assembled in a closed or semi-closed metal cabinet or on a screen according to the electrical wiring requirement to form a low-voltage distribution device.
The existing distribution box is generally fixedly mounted on a wall or the ground, the height of the distribution box cannot be adjusted, and the distribution box cannot meet more and more use requirements.
SUMMERY OF THE UTILITY MODEL
An object of the utility model is to provide a but height-adjusting's block terminal to solve above-mentioned problem.
In order to achieve the above object, the utility model provides a following technical scheme:
the utility model provides a but height-adjusting's block terminal, includes the box, still including:
the mounting plate is used for mounting the box body;
height adjusting mechanism, it is installed between mounting panel and box for the drive box goes up and down, height adjusting mechanism includes guide, gear and first connecting rod, be connected with at least one guide between bottom half and the mounting panel, two engaged with gears are installed to the symmetry on the mounting panel, install the rotatory driving piece of any gear of drive on the mounting panel, two gear end face symmetric position is eccentric articulated respectively has first connecting rod, and the one end that the gear was kept away from to two first connecting rods is articulated with bottom half symmetric position respectively.
On the basis of the technical scheme, the utility model discloses still provide following optional technical scheme:
in one alternative: the gyro wheel is installed to the even symmetry of mounting panel bottom, and the drilling rod is worn to be equipped with by the equal screw thread in mounting panel both sides.
In one alternative: the top of the box body is fixedly provided with a top plate which is umbrella-shaped.
In one alternative: be equipped with ventilation assembly on the box, ventilation assembly includes ventilation hole, dust screen and weather shield, the ventilation hole has evenly been seted up on the wall of box both sides, install the dust screen on the box inside wall, lie in ventilation hole top fixed mounting on the box lateral wall and have the weather shield.
In one alternative: still including shock attenuation unit, shock attenuation unit includes otter board, second connecting rod, piston rod and second elastic component, the otter board is used for installing electrical component, the otter board locate box inner chamber lower part and with box sliding connection, be connected with first elastic component between otter board and the bottom half, the otter board bottom articulates there is the second connecting rod, and the one end that the otter board was kept away from to the second connecting rod is articulated with piston rod one end, and the piston rod other end runs through the piston cylinder end wall and extends to the piston cylinder in, and the one end that the piston rod is located the piston cylinder is fixed with first piston, and the one side that the piston rod was kept away from to first piston that is located in the piston cylinder is equipped with the second elastic component.
In one alternative: and the piston cylinder is provided with an adjusting mechanism for adjusting the elasticity of the second elastic part.
In one alternative: the adjusting mechanism comprises an adjusting screw rod and a second piston, the adjusting screw rod penetrates through the thread at one end, far away from the piston rod, of the piston rod, the second piston is rotatably connected to one end, located in the piston cylinder, of the adjusting screw rod, and the second elastic piece is located between the first piston and the second piston.
In one alternative: still including the heat dissipation unit, the heat dissipation unit is including installation pole, nozzle and be used for driving installation pole wobbling actuating mechanism, many installation poles are installed at the top of box, and installation pole one end is articulated with the box top, and the nozzle is installed to the installation pole other end, is connected with an at least connecting rod between many installation poles, the installation pole is connected in the actuating mechanism drive, be connected with the air supply pipe on the nozzle, the air supply pipe other end is connected with the air outlet of outside fan.
In one alternative: the driving mechanism comprises a power part, a rotary table and a third connecting rod, the power part is installed at the top of the inner cavity of the box body, the rotary table is fixedly installed on an output shaft of the power part, the end face of the rotary table is eccentrically hinged with at least one third connecting rod, and one end, far away from the rotary table, of the third connecting rod is hinged with one installation rod.
Compared with the prior art, the beneficial effects of the utility model are as follows:
1. the height adjusting mechanism comprises a guide piece, a gear and a first connecting rod, the two gears are driven to rotate by a driving piece, the gear drives the first connecting rod to move, and the first connecting rod drives the box body to lift so as to adjust the height;
2. be equipped with the shock attenuation unit, the shock attenuation unit includes otter board, second connecting rod, piston rod and second elastic component, install the adjustment mechanism who is used for adjusting second elastic component elasticity on the piston cylinder, adjustment mechanism includes adjusting screw and second piston, and during vibrations, the otter board transmits vibrations for the second connecting rod, and the second connecting rod passes through the piston rod and drives the piston motion, compresses the air in second elastic component and the piston cylinder, utilizes the air in the piston cylinder and the reaction force of spring to cushion the shock attenuation, and through rotating adjusting screw, adjusting screw drives the second piston and removes the distance between adjustment and the first piston, adjusts the decrement of second elastic component, reaches the effect of adjustment buffering shock attenuation effect.
Drawings
Fig. 1 is a schematic structural diagram of an embodiment of the present invention.
Fig. 2 is a schematic structural diagram of another embodiment of the present invention.
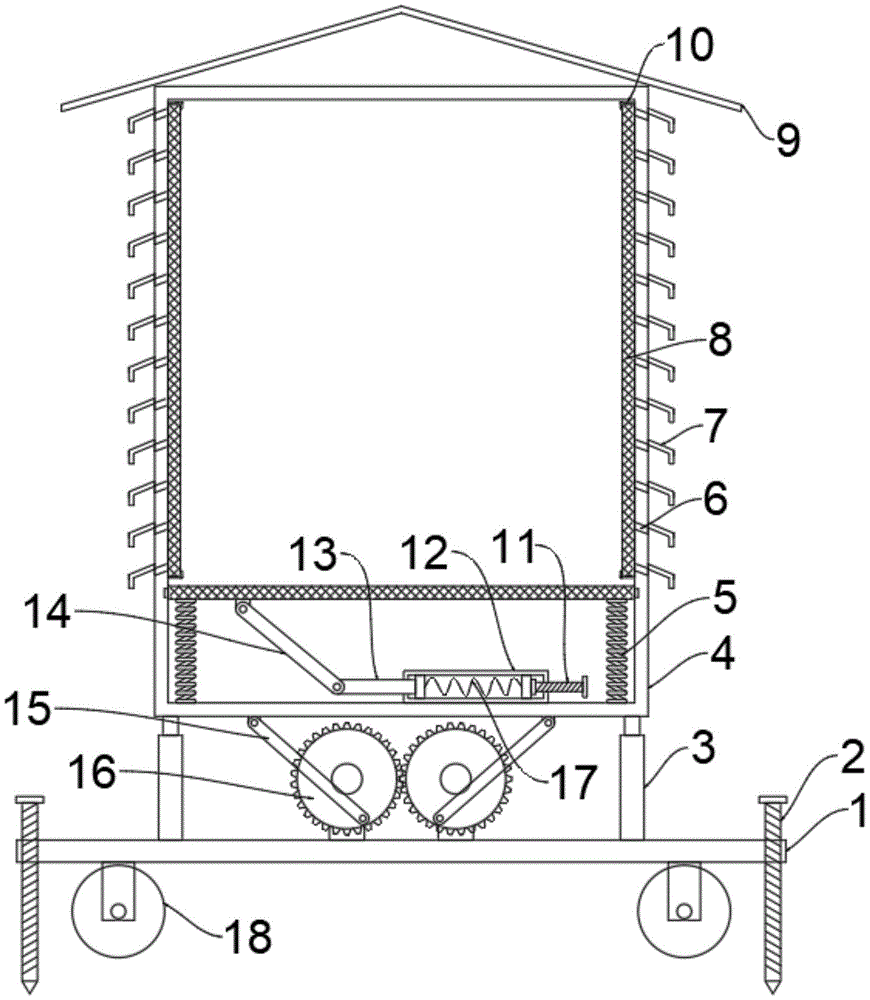
Notations for reference numerals: the device comprises a mounting plate 1, a drill rod 2, a guide 3, a box 4, a first elastic part 5, a vent hole 6, a rain baffle 7, a dust screen 8, a top plate 9, a clamping groove 10, an adjusting screw rod 11, a piston cylinder 12, a piston rod 13, a second connecting rod 14, a first connecting rod 15, a gear 16, a second elastic part 17, a roller 18, a rotary table 19, a nozzle 20, a third connecting rod 21, a connecting rod 22 and a mounting rod 23.
Detailed Description
The present invention will be described in detail with reference to the following embodiments, wherein like or similar elements are designated by like reference numerals throughout the drawings or description, and wherein the shape, thickness or height of the various elements may be expanded or reduced in practical applications. The embodiments of the present invention are provided only for illustration, and not for limiting the scope of the present invention. Any obvious and obvious modifications or alterations to the present invention can be made without departing from the spirit and scope of the present invention.
Examples
As an embodiment of the utility model, like fig. 1, but a height-adjusting's block terminal, including box 4, install the chamber door on the box 4, in this embodiment, the chamber door is preferred to be connected with box 4 through hinge and hasp, still including:
the mounting plate 1 is used for mounting the box body 4;
the height adjusting mechanism is arranged between the mounting plate 1 and the box body 4 and used for driving the box body 4 to lift, the height adjusting mechanism comprises a guide part 3, a gear 16 and a first connecting rod 15, at least one guide part 3 is connected between the bottom of the box body 4 and the mounting plate 1, in the embodiment, the guide part 3 is preferably a telescopic rod, the telescopic rods are symmetrically arranged, two ends of the telescopic rod are respectively and fixedly connected with the mounting plate 1 and the box body 4, the mounting plate 1 is symmetrically provided with two meshed gears 16, the mounting plate 1 is provided with a driving part for driving any one gear 16 to rotate, the driving part is preferably a motor, the two symmetrical positions of the end surfaces of the gears 16 are respectively and eccentrically hinged with the first connecting rod 15, one ends of the two first connecting rods 15, far away from the gears 16, are respectively hinged with the symmetrical positions of the bottom of the box body 4, and during use, the two gears 16 are driven to rotate by the driving part, the gear 16 drives the first connecting rod 15 to move, and the first connecting rod 15 drives the box body 4 to lift, so that the height is adjusted.
In another embodiment of the present invention: the gyro wheel 18 is installed to the even symmetry in mounting panel 1 bottom, can select from locking-type gyro wheel 18, and convenient the removal, the equal screw thread in mounting panel 1 both sides is worn to be equipped with drilling rod 2, drills into ground through rotating drilling rod 2, helps improving stability.
In another embodiment of the present invention: the top of the box body 4 is fixedly provided with a top plate 9, and the top plate 9 is umbrella-shaped and can play a role in rain prevention.
In another embodiment of the present invention: be equipped with ventilation assembly on box 4, ventilation assembly includes ventilation hole 6, dust screen 8 and weather shield 7, ventilation hole 6 has evenly been seted up on 4 both sides walls of box, and is preferred, ventilation hole 6 sets up to the downside from inside to outside, install dust screen 8 on 4 inside walls of box, the preferred demountable installation of dust screen 8, it is further, detachable mode can select bolted connection, joint etc. and this embodiment is preferred 4 inner walls of box are equipped with draw-in groove 10, 8 activities of dust screen are packed in draw-in groove 10, conveniently carry out the dismouting clearance, lie in ventilation hole 6 top fixed mounting on 4 lateral walls of box and have weather shield 7, and weather shield 7 can prevent that the rainwater from getting into in box 4 from ventilation hole 6.
In another embodiment of the present invention: the shock absorption device further comprises a shock absorption unit, the shock absorption unit comprises a screen plate, a second connecting rod 14, a piston rod 13 and a second elastic part 17, the screen plate is used for mounting electric elements, the screen plate is arranged on the lower portion of an inner cavity of the box body 4 and is in sliding connection with the box body 4, in the embodiment, sliding blocks are fixed at two ends of the screen plate, a sliding groove for sliding connection of the sliding blocks is formed in the inner wall of the box body 4, a first elastic part 5 is connected between the screen plate and the bottom of the box body 4, the first elastic part 5 can be an elastic sheet, a spring and the like, preferably, in the embodiment, the spring is arranged at the bottom of the screen plate, the second connecting rod 14 is hinged at the bottom of the screen plate, one end, far away from the screen plate, of the second connecting rod 14 is hinged at one end of the piston rod 13, the other end of the piston rod 13 penetrates through the end wall of the piston cylinder 12 and extends into the piston cylinder 12, a first piston is fixed at one end of the piston rod 13, and a second elastic part 17 is arranged at one side, far away from the piston rod 13, far away from the first piston, in the piston rod 12, the second elastic element 17 may be a spring, etc., and preferably is a spring in this embodiment, when vibrating, the mesh plate transmits the vibration to the second connecting rod 14, the second connecting rod 14 drives the piston to move through the piston rod 13, the second elastic element 17 and the air in the piston cylinder 12 are compressed, and the air in the piston cylinder 12 and the reaction force of the spring are utilized to perform buffering and damping.
In another embodiment of the present invention: an adjusting mechanism for adjusting the elasticity of the second elastic element 17 is arranged on the piston cylinder 12.
In another embodiment of the present invention: the adjusting mechanism comprises an adjusting screw rod 11 and a second piston, the adjusting screw rod 11 is arranged in a penetrating mode through a thread at one end, far away from the piston rod 13, of the piston rod 13, the adjusting screw rod 11 is located in the piston cylinder 12, the second piston is connected to one end of the adjusting screw rod 11 in a rotating mode, the second elastic piece 17 is located between the first piston and the second piston, the adjusting screw rod 11 drives the second piston to move and adjust the distance between the adjusting screw rod 11 and the first piston by rotating the adjusting screw rod 11, the compression amount of the second elastic piece 17 is adjusted, and the effect of adjusting the buffering and damping effects is achieved.
In another embodiment of the present invention: as shown in fig. 2, the heat dissipation device further comprises a heat dissipation unit, the heat dissipation unit comprises an installation rod 23, a nozzle 20 and a driving mechanism for driving the installation rod 23 to swing, a plurality of installation rods 23 are installed at the top of the box body 4, one end of each installation rod 23 is hinged to the top of the box body 4, the nozzle 20 is installed at the other end of each installation rod 23, at least one connecting rod 22 is connected between the plurality of installation rods 23, the driving mechanism drives the installation rods 23 to be connected, an air supply pipe is connected to each nozzle 20, the other end of the air supply pipe is connected with an air outlet of an external fan, the installation rods 23 are driven to swing through the driving mechanism, the installation rods 23 drive the nozzle 20 to swing, the heat dissipation range can be enlarged, the heat dissipation device can dissipate heat in multiple directions and at multiple angles, and the heat dissipation efficiency is improved.
In another embodiment of the present invention: the actuating mechanism includes power spare, carousel 19 and third connecting rod 21, 4 inner chamber tops of box are installed with the power spare, in this embodiment, the preferred motor that is the power spare, and fixed mounting has carousel 19 on the output shaft of power spare, and 19 terminal surface eccentrics of carousel articulate has an at least third connecting rod 21, and the one end that carousel 19 was kept away from to third connecting rod 21 is articulated rather than an installation pole 23, drives the carousel 19 through the power spare and rotates, and carousel 19 drives the motion of third connecting rod 21, and third connecting rod 21 drives the swing of installation pole 23.
The utility model discloses a theory of operation is: when the shock absorber is used, the two gears 16 are driven to rotate through the driving part, the gears 16 drive the first connecting rod 15 to move, the first connecting rod 15 drives the box body 4 to lift and lower for height adjustment, during shock, the screen plate transmits shock to the second connecting rod 14, the second connecting rod 14 drives the piston to move through the piston rod 13, air in the second elastic part 17 and the piston cylinder 12 is compressed, buffering and shock absorption are performed by utilizing air in the piston cylinder 12 and reaction force of the spring, the distance between the adjustment screw 11 and the first piston is adjusted through rotating the adjustment screw 11, the compression amount of the second elastic part 17 is adjusted, the effect of adjusting buffering and shock absorption is achieved, the power part drives the rotary disc 19 to rotate, the rotary disc 19 drives the third connecting rod 21 to move, the third connecting rod 21 drives the mounting rod 23 to swing, the mounting rod 23 drives the nozzle 20 to swing, the heat dissipation range can be expanded, and the multi-direction can be achieved through multi-direction, The multi-angle heat dissipation improves the radiating efficiency.
The above description is only for the specific embodiments of the present disclosure, but the scope of the present disclosure is not limited thereto, and any person skilled in the art can easily conceive of the changes or substitutions within the technical scope of the present disclosure, and all the changes or substitutions should be covered within the scope of the present disclosure. Therefore, the protection scope of the present disclosure shall be subject to the protection scope of the claims.

Claims (9)

1. The utility model provides a but height-adjusting's block terminal, includes the box, its characterized in that still including:
the mounting plate is used for mounting the box body;
height adjusting mechanism, it is installed between mounting panel and box for the drive box goes up and down, height adjusting mechanism includes guide, gear and first connecting rod, be connected with at least one guide between bottom half and the mounting panel, two engaged with gears are installed to the symmetry on the mounting panel, install the rotatory driving piece of any gear of drive on the mounting panel, two gear end face symmetric position is eccentric articulated respectively has first connecting rod, and the one end that the gear was kept away from to two first connecting rods is articulated with bottom half symmetric position respectively.
2. The adjustable height distribution box of claim 1, wherein the rollers are symmetrically mounted on the bottom of the mounting plate, and the drill rods are threaded on both sides of the mounting plate.
3. The adjustable height electrical box of claim 1, wherein a top plate is fixedly mounted to the top of the box body, the top plate being umbrella-shaped.
4. The distribution box with the adjustable height of claim 1, wherein the box body is provided with a ventilation assembly, the ventilation assembly comprises ventilation holes, a dust screen and a rain shield, the ventilation holes are uniformly formed in two side walls of the box body, the dust screen is arranged on the inner side wall of the box body, and the rain shield is fixedly arranged on the outer side wall of the box body above the ventilation holes.
5. The distribution box with the adjustable height of claim 1, further comprising a damping unit, wherein the damping unit comprises a screen plate, a second connecting rod, a piston rod and a second elastic piece, the screen plate is used for mounting an electrical element, the screen plate is arranged on the lower portion of an inner cavity of the box body and is in sliding connection with the box body, a first elastic piece is connected between the screen plate and the bottom of the box body, the bottom of the screen plate is hinged to the second connecting rod, one end, away from the screen plate, of the second connecting rod is hinged to one end of the piston rod, the other end of the piston rod penetrates through an end wall of the piston cylinder and extends into the piston cylinder, a first piston is fixed to one end, located in the piston cylinder, of the piston rod, and a second elastic piece is arranged on one side, away from the piston rod, of the first piston in the piston cylinder.
6. The adjustable height electrical box of claim 5, wherein an adjustment mechanism is mounted on the piston cylinder for adjusting the spring force of the second resilient member.
7. The adjustable height distribution box of claim 6, wherein the adjusting mechanism comprises an adjusting screw and a second piston, the adjusting screw is threaded through one end of the piston rod away from the piston rod, the second piston is rotatably connected to one end of the adjusting screw located in the piston cylinder, and the second elastic element is located between the first piston and the second piston.
8. The distribution box with the adjustable height of claim 1, further comprising a heat dissipation unit, wherein the heat dissipation unit comprises a mounting rod, a nozzle and a driving mechanism for driving the mounting rod to swing, a plurality of mounting rods are mounted on the top of the box body, one end of each mounting rod is hinged to the top of the box body, the other end of each mounting rod is provided with the nozzle, at least one connecting rod is connected between the plurality of mounting rods, the driving mechanism is connected with the mounting rods in a driving manner, an air supply pipe is connected onto each nozzle, and the other end of the air supply pipe is connected with an air outlet of an external fan.
9. The distribution box with the adjustable height of claim 8, wherein the driving mechanism comprises a power part, a rotary disc and a third connecting rod, the power part is arranged at the top of the inner cavity of the box body, the rotary disc is fixedly arranged on an output shaft of the power part, at least one third connecting rod is eccentrically hinged to the end surface of the rotary disc, and one end, far away from the rotary disc, of the third connecting rod is hinged to one mounting rod of the third connecting rod.
CN202121090358.XU 2021-05-20 2021-05-20 But height-adjusting's block terminal Expired - Fee Related CN214625935U (en)

Priority Applications (1)

Application Number Priority Date Filing Date Title
CN202121090358.XU CN214625935U (en) 2021-05-20 2021-05-20 But height-adjusting's block terminal

Applications Claiming Priority (1)

Application Number Priority Date Filing Date Title
CN202121090358.XU CN214625935U (en) 2021-05-20 2021-05-20 But height-adjusting's block terminal

Publications (1)

Publication Number Publication Date
CN214625935U true CN214625935U (en) 2021-11-05

Family

ID=78408279

Family Applications (1)

Application Number Title Priority Date Filing Date
CN202121090358.XU Expired - Fee Related CN214625935U (en) 2021-05-20 2021-05-20 But height-adjusting's block terminal

Country Status (1)

Country Link
CN (1) CN214625935U (en)

Cited By (1)

* Cited by examiner, † Cited by third party
Publication number Priority date Publication date Assignee Title
CN116395513A (en) * 2023-04-21 2023-07-07 江苏威尔曼科技有限公司 An IC card elevator safety device

Cited By (1)

* Cited by examiner, † Cited by third party
Publication number Priority date Publication date Assignee Title
CN116395513A (en) * 2023-04-21 2023-07-07 江苏威尔曼科技有限公司 An IC card elevator safety device

Similar Documents

Publication Publication Date Title
CN214625935U (en) But height-adjusting's block terminal
CN217976517U (en) Vibration/noise reduction air compressor
CN210271977U (en) Heat-dissipation dustproof transformer
CN221042090U (en) A standardized integrated distribution box
CN212085475U (en) Switch board with shock-absorbing function
CN110996584A (en) Novel PLC switch board
CN217713494U (en) Nuclear power is with antidetonation diesel generating set mount pad
CN207801197U (en) Outdoor electrical control cabinet based on Internet of Things
CN211656707U (en) Regulator cubicle convenient to heat dissipation
CN212840415U (en) A base for installing electromechanical equipment with shock absorption function
CN210867401U (en) Motor adjusting device capable of transversely moving motor base
CN213043536U (en) Damping device of electric automobile motor
CN222717164U (en) Noise reduction device for fan
CN207800343U (en) A variable frequency transformer
CN117937280B (en) Shockproof box-type substation
CN113572060B (en) Stealthy electrical equipment base
CN214742387U (en) Noise reduction and silencing air cooler
CN210490712U (en) Double-air-duct heat dissipation frequency converter
CN216280242U (en) New forms of energy architectural equipment with shock attenuation effect
CN222502536U (en) Buffering and vibration reducing base of air cooling unit
CN222366148U (en) A high stability linear motor
CN216960500U (en) A highly protective communication device
CN221628737U (en) Energy dissipation spring seat
CN221146317U (en) Panel light installation chassis
CN218896313U (en) Computer host with noise reduction function

Legal Events

Date Code Title Description
GR01 Patent grant
GR01 Patent grant
CF01 Termination of patent right due to non-payment of annual fee
CF01 Termination of patent right due to non-payment of annual fee

Granted publication date: 20211105