CN214620737U - A steam turbine regenerative device - Google Patents

A steam turbine regenerative device Download PDF

Info

Publication number
CN214620737U
CN214620737U CN202120369771.3U CN202120369771U CN214620737U CN 214620737 U CN214620737 U CN 214620737U CN 202120369771 U CN202120369771 U CN 202120369771U CN 214620737 U CN214620737 U CN 214620737U
Authority
CN
China
Prior art keywords
pipeline
fixed
heat
fixed mounting
fixedly installed
Prior art date
Legal status (The legal status is an assumption and is not a legal conclusion. Google has not performed a legal analysis and makes no representation as to the accuracy of the status listed.)
Expired - Fee Related
Application number
CN202120369771.3U
Other languages
Chinese (zh)
Inventor
郑连兴
Current Assignee (The listed assignees may be inaccurate. Google has not performed a legal analysis and makes no representation or warranty as to the accuracy of the list.)
Guangdong Ocean University
Original Assignee
Guangdong Ocean University
Priority date (The priority date is an assumption and is not a legal conclusion. Google has not performed a legal analysis and makes no representation as to the accuracy of the date listed.)
Filing date
Publication date
Application filed by Guangdong Ocean University filed Critical Guangdong Ocean University
Priority to CN202120369771.3U priority Critical patent/CN214620737U/en
Application granted granted Critical
Publication of CN214620737U publication Critical patent/CN214620737U/en
Expired - Fee Related legal-status Critical Current
Anticipated expiration legal-status Critical

Links

Images

Landscapes

  • Engine Equipment That Uses Special Cycles (AREA)

Abstract

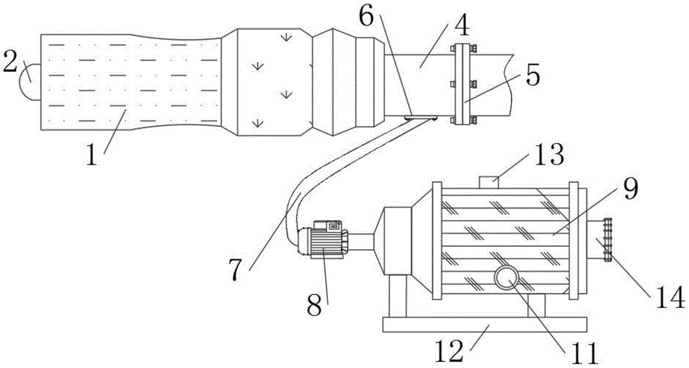
本实用新型涉及汽轮机技术领域,具体为一种汽轮机回热装置,包括外壳和空气压缩机,所述外壳的右侧固定安装有管道,所述管道的底部外表面固定安装有固定组件,所述固定组件包括固定块,所述固定块的外表面固定安装有固定扣,所述固定块的内部包裹有连接杆,所述固定块的中部开设有传热管,所述管道的内壁开设有槽口,所述槽口的内壁包裹有弹簧,所述传热管的中部固定安装有空气压缩机,所述传热管的底部固定安装有防护壳,所述防护壳的顶部固定安装有进水口。本实用新型在使用时原始设计的显热和潜热能合理利用,不会产生热量浪费,使用时方便对传热管进行拆卸,便于更换新的传热管。

Figure 202120369771

The utility model relates to the technical field of steam turbines, in particular to a steam turbine regenerative device, comprising a casing and an air compressor. A pipeline is fixedly installed on the right side of the casing, and a fixing component is fixedly installed on the outer surface of the bottom of the pipeline. The fixing assembly includes a fixing block, the outer surface of the fixing block is fixedly installed with a fixing buckle, the interior of the fixing block is wrapped with a connecting rod, the middle part of the fixing block is provided with a heat transfer pipe, and the inner wall of the pipe is provided with a groove The inner wall of the slot is wrapped with a spring, the middle of the heat transfer tube is fixedly installed with an air compressor, the bottom of the heat transfer tube is fixedly installed with a protective shell, and the top of the protective shell is fixedly installed with a water inlet . The originally designed sensible heat and latent heat energy of the utility model can be reasonably utilized during use, no heat waste is generated, the heat transfer tube can be easily disassembled during use, and a new heat transfer tube can be easily replaced.

Figure 202120369771

Description

Steam turbine backheating device
Technical Field
The utility model relates to a steam turbine technical field specifically is a steam turbine backheat device.
Background
The steam turbine is also called as a steam turbine engine, and is a rotary steam power device.A high-temperature high-pressure steam passes through a fixed nozzle to become an accelerated airflow and then is sprayed onto blades, so that a rotor provided with blade rows rotates, and simultaneously, the rotor does work outwards. Steam turbines are the main equipment of modern thermal power plants, and are also used in the metallurgical industry, chemical industry and ship power plants.
The prior heat regenerative device of the steam turbine has the following defects when in use: at first is the sensible heat and the latent heat of steam turbine backheating device original design can not by rational utilization when using, produces the heat waste, and secondly inconvenient dismantles the heat transfer pipe when backheating device uses, old heat transfer pipe under the be not convenient for change, consequently need to design a steam turbine backheating device and solve above-mentioned problem urgently.
SUMMERY OF THE UTILITY MODEL
An object of the utility model is to provide a steam turbine backheat device to the sensible heat and the latent heat of the original design of steam turbine backheat device that proposes in solving above-mentioned background art when using can not by rational utilization, and it is extravagant to produce the heat, and inconvenient dismantlement to the heat transfer pipe when backheat device uses, is not convenient for more change the problem of old heat transfer pipe down.
In order to achieve the above object, the utility model provides a following technical scheme: the utility model provides a steam turbine backheat device, includes shell and air compressor, the right side fixed mounting of shell has the pipeline, the bottom external fixed surface of pipeline installs fixed subassembly, fixed subassembly includes the fixed block, the external fixed surface of fixed block installs fixed the knot, the inside parcel of fixed block has the connecting rod, the heat-transfer pipe has been seted up at the middle part of fixed block, the notch has been seted up to the inner wall of pipeline, the inner wall parcel of notch has the spring, the middle part fixed mounting of heat-transfer pipe has air compressor, the bottom fixed mounting of heat-transfer pipe has the protecting crust, the top fixed mounting of protecting crust has the water inlet, the external fixed surface of protecting crust has the delivery port, the right side external fixed surface of protecting crust installs the gas outlet, the inside fixed mounting of protecting crust has the cask.
Preferably, the main body is fixedly installed inside the shell, and combustion chambers are fixedly installed on two sides of the middle of the main body.
Preferably, a flange is fixedly installed in the middle of the pipeline.
Preferably, the joint of the pipeline and the fixed block is provided with an interface, and the pipeline and the fixed block are movably connected through a connecting rod.
Preferably, the bottom of the protective shell is fixedly provided with a base, and the bottom of the base is provided with a strip-shaped groove.
Preferably, the top of the bucket is provided with a water inlet, and the outer surface of the bucket is provided with a water outlet.
Compared with the prior art, the beneficial effects of the utility model are that: the sensible heat and the latent heat energy rational utilization of original design can not produce the heat waste when the steam turbine backheat device uses, and unnecessary heat can be reasonable when the steam turbine backheat device uses utilizes, can not make the heat surplus reduce the emergence of the extravagant condition, conveniently dismantles the heat-transfer pipe when the backheat device uses, is convenient for more renew the heat-transfer pipe.
(1) Enter into the inside of protecting crust after going on from the heat-transfer pipe through air compressor through unnecessary steam, cask through protecting crust internal connection, make the bottom of heat-transfer pipe connect the surface at the cask, heat up through carrying out the inside water of air entrainment messenger cask to the cask outside, make water flow out through the delivery port after the intensification, make water enter into inside through the water inlet, make some gas go out through the gas outlet and prevent that the too big device that makes of protecting crust pressure from damaging, thereby reach and carry out reasonable utilization to unnecessary heat, make the heat can not be extravagant.
(2) Can let heat-transfer pipe and pipeline connect through fixed subassembly, the notch has been seted up through the inside of pipeline, connects through notch and fixed block to make the connecting rod can fix fixed block and pipeline, the fixed surface through the connecting rod installs the spring, makes to drag fixed knot and can drive opposite direction power of transportation, thereby makes the connecting rod can open thereby be convenient for dismantle, can change the heat-transfer pipe.
Drawings
FIG. 1 is a schematic front view of the structure of the present invention;
fig. 2 is a schematic cross-sectional view of the housing of fig. 1 according to the present invention;
fig. 3 is a front cross-sectional view of the structure a in fig. 2 according to the present invention;
fig. 4 is a schematic sectional view of the protective shell of fig. 1 according to the present invention.
In the figure: 1. a housing; 2. a main body; 3. a combustion chamber; 4. a pipeline; 5. a flange; 6. a fixing assembly; 61. a fixed block; 62. a fixing buckle; 63. a connecting rod; 64. a spring; 65. an interface; 66. a notch; 7. a heat transfer tube; 8. an air compressor; 9. a protective shell; 10. a water bucket; 11. a water outlet; 12. a base; 13. a water inlet; 14. and an air outlet.
Detailed Description
The technical solutions in the embodiments of the present invention will be described clearly and completely with reference to the accompanying drawings in the embodiments of the present invention, and it is obvious that the described embodiments are only some embodiments of the present invention, not all embodiments. Based on the embodiments in the present invention, all other embodiments obtained by a person skilled in the art without creative work belong to the protection scope of the present invention.
Referring to fig. 1-4, the present invention provides an embodiment: a turbine backheating device comprises a shell 1 and an air compressor 8, a pipeline 4 is fixedly arranged on the right side of the shell 1, a fixing component 6 is fixedly arranged on the outer surface of the bottom of the pipeline 4, the fixing component 6 comprises a fixing block 61, a fixing buckle 62 is fixedly arranged on the outer surface of the fixing block 61, a connecting rod 63 is wrapped inside the fixing block 61, a heat transfer pipe 7 is arranged in the middle of the fixing block 61, a notch 66 is formed in the inner wall of the pipeline 4, a spring 64 is wrapped on the inner wall of the notch 66, the air compressor 8 is fixedly arranged in the middle of the heat transfer pipe 7, a protective shell 9 is fixedly arranged at the bottom of the heat transfer pipe 7, a water inlet 13 is fixedly arranged at the top of the protective shell 9, a water outlet 11 is fixedly arranged on the outer surface of the protective shell 9, an air outlet 14 is fixedly arranged on the outer surface of the right side of the protective shell 9, a water bucket 10 is fixedly arranged inside the protective shell 9, and the compressor is directly driven by a motor during use, the crankshaft is rotated to drive the connecting rod to reciprocate the piston, resulting in volume change of the cylinder. Because the change of the in-cylinder pressure, make the air get into the cylinder through air cleaner through the admission valve, in compression stroke, because the reduction of cylinder volume, compressed air passes through discharge valve's effect, through the blast pipe, the check valve gets into the gas holder, reach the rated pressure and can compress hot gas when the exhaust pressure, it is better to make the heat transfer effect, use through shell 1 can protect main part 2, can convey the heat through pipeline 4, conveniently fix heat transfer pipe 7 when conveniently fixing heat transfer pipe 7 through fixed subassembly 6, can convey the heat to air compressor 8 in the heat transfer pipe 7, compress hot gas through air compressor 8 and enter into inside protective housing 9, thereby wrap up cask 10.
Further, the inside fixed mounting of shell 1 has main part 2, and 2 middle part both sides fixed mounting of main part have combustion chamber 3, can protect main part 2 and combustion chamber 3 through shell 1 during the use.
Further, the middle part of the pipeline 4 is fixedly provided with a flange 5, and the flange 5 is convenient to use and is connected with a next device to be used.
Further, the joint 65 is provided at the joint of the pipeline 4 and the fixed block 61, the pipeline 4 and the fixed block 61 are movably connected through a connecting rod 63, heat transfer is carried out through the convenience of use of the pipeline 4 during use, and the heat transfer pipe 7 and the pipeline 4 can be connected through the connecting rod 63.
Further, the bottom fixed mounting of protecting crust 9 has base 12, and there is a strip recess bottom of base 12, and the use through base 12 is convenient for protecting crust 9 and can be fixed during the use.
Further, a water inlet 13 is formed in the top of the bucket 10, a water outlet 11 is formed in the outer surface of the bucket 10, when the water dispenser is used, water can enter the bucket 10 through the water inlet 13, and the water can be discharged through the water outlet 11.
The working principle is as follows: move combustion chamber 3 through main part 2 during the use thereby heating, make steam convey the inside of pipeline 4, make fixed knot 62 drive connecting rod 63 and rotate through rotating fixed knot 62, it can be for fixed block 61 and fixed knot 62 to be the cross dress, move fixed knot 62 and make spring 64 move, thereby dismantle, it compresses through air compressor 8 through heat-transfer pipe 7 of seting up through pipeline 4 inside, make air compressor 8 convey the inside of protecting crust 9 to compressed steam, make the water source enter into the inside of cask 10 through water inlet 13, heat bucket 10 surface through steam, it becomes hot to make water heat through the water heat absorption, open the use through delivery port 11 when needing to use, close when not needing.
It is obvious to a person skilled in the art that the invention is not restricted to details of the above-described exemplary embodiments, but that it can be implemented in other specific forms without departing from the spirit or essential characteristics of the invention. The present embodiments are therefore to be considered in all respects as illustrative and not restrictive, the scope of the invention being indicated by the appended claims rather than by the foregoing description, and all changes which come within the meaning and range of equivalency of the claims are therefore intended to be embraced therein. Any reference sign in a claim should not be construed as limiting the claim concerned.

Claims (6)

1. The utility model provides a steam turbine backheating device, includes shell (1) and air compressor (8), its characterized in that: the right side fixed mounting of shell (1) has pipeline (4), the bottom external fixed surface of pipeline (4) installs fixed subassembly (6), fixed subassembly (6) include fixed block (61), the external fixed surface of fixed block (61) installs fixed knot (62), the inside parcel of fixed block (61) has connecting rod (63), heat-transfer pipe (7) have been seted up at the middle part of fixed block (61), notch (66) have been seted up to the inner wall of pipeline (4), the inner wall parcel of notch (66) has spring (64), the middle part fixed mounting of heat-transfer pipe (7) has air compressor (8), the bottom fixed mounting of heat-transfer pipe (7) has protecting crust (9), the top fixed mounting of protecting crust (9) has water inlet (13), the external fixed surface of protecting crust (9) has delivery port (11), the right side outer surface fixed mounting of protecting crust (9) has gas outlet (14), the inside fixed mounting of protecting crust (9) has cask (10).
2. The turbine recuperator of claim 1, wherein: the internal fixed mounting of shell (1) has main part (2), main part (2) middle part both sides fixed mounting has combustion chamber (3).
3. The turbine recuperator of claim 1, wherein: and a flange (5) is fixedly arranged in the middle of the pipeline (4).
4. The turbine recuperator of claim 1, wherein: the joint of the pipeline (4) and the fixed block (61) is provided with an interface (65), and the pipeline (4) and the fixed block (61) are movably connected through a connecting rod (63).
5. The turbine recuperator of claim 4, wherein: the bottom of protective housing (9) is fixedly mounted with a base (12), and the bottom of base (12) is provided with a strip-shaped groove.
6. The turbine recuperator of claim 1, wherein: a water inlet (13) is formed in the top of the bucket (10), and a water outlet (11) is formed in the outer surface of the bucket (10).
CN202120369771.3U 2021-02-08 2021-02-08 A steam turbine regenerative device Expired - Fee Related CN214620737U (en)

Priority Applications (1)

Application Number Priority Date Filing Date Title
CN202120369771.3U CN214620737U (en) 2021-02-08 2021-02-08 A steam turbine regenerative device

Applications Claiming Priority (1)

Application Number Priority Date Filing Date Title
CN202120369771.3U CN214620737U (en) 2021-02-08 2021-02-08 A steam turbine regenerative device

Publications (1)

Publication Number Publication Date
CN214620737U true CN214620737U (en) 2021-11-05

Family

ID=78442194

Family Applications (1)

Application Number Title Priority Date Filing Date
CN202120369771.3U Expired - Fee Related CN214620737U (en) 2021-02-08 2021-02-08 A steam turbine regenerative device

Country Status (1)

Country Link
CN (1) CN214620737U (en)

Similar Documents

Publication Publication Date Title
CN114458580A (en) Cooling structure and cooling method of compressor cylinder for refrigeration equipment
CN214620737U (en) A steam turbine regenerative device
CN210343484U (en) A diesel engine cooling device
KR101235296B1 (en) Heated Air Cooling Device Of Compressor Housing
CN209990533U (en) Adjustable exhaust silencer for internal combustion engine
CN102767422B (en) Combustion gases compressor
CN217444455U (en) Purging device for fuel cell shell
CN105626265B (en) Intercooling and backheating system of gas turbine
CN211287878U (en) Cooling device of turbocharger
CN210564758U (en) Mixed-flow turbocharger of adjustable nozzle ring
CN213953890U (en) Roots blower special for low temperature and high pressure
CN201053343Y (en) Hot turbine supercharging internal and outer combustion engine
CN214273746U (en) Heat radiation structure is used in power plant steam turbine operation
CN201043489Y (en) internal combustion engine
CN208486929U (en) Water cooling noise reduction cooling, silencing device
CN106939848A (en) A kind of efficient joint hybrid power system
CN206000624U (en) The forced-ventilated cooling structure of exocoel in a kind of electromotor of interior
CN210768953U (en) Turbine box
CN221373717U (en) Heat dissipation fan cover for gasoline engine
CN212512605U (en) A waste heat collection and utilization system
CN207018085U (en) A kind of power set for improving the efficiency of internal combustion engine
CN212671878U (en) Turbocharger volute
CN221220625U (en) Heat dissipation connection structure of turbocharger and intermediate
CN220194451U (en) Heat pump dehumidification device
CN205895378U (en) Internal combustion tail gas processing device

Legal Events

Date Code Title Description
GR01 Patent grant
GR01 Patent grant
CF01 Termination of patent right due to non-payment of annual fee
CF01 Termination of patent right due to non-payment of annual fee

Granted publication date: 20211105