CN214603463U - 平面磨床自动送放工件装置 - Google Patents
平面磨床自动送放工件装置 Download PDFInfo
- Publication number
- CN214603463U CN214603463U CN202121028895.1U CN202121028895U CN214603463U CN 214603463 U CN214603463 U CN 214603463U CN 202121028895 U CN202121028895 U CN 202121028895U CN 214603463 U CN214603463 U CN 214603463U
- Authority
- CN
- China
- Prior art keywords
- fixedly connected
- platform
- polishing
- threaded rod
- driving motor
- Prior art date
- Legal status (The legal status is an assumption and is not a legal conclusion. Google has not performed a legal analysis and makes no representation as to the accuracy of the status listed.)
- Active
Links
- 238000005498 polishing Methods 0.000 claims abstract description 25
- 239000002245 particle Substances 0.000 claims description 2
- 230000008878 coupling Effects 0.000 abstract description 3
- 238000010168 coupling process Methods 0.000 abstract description 3
- 238000005859 coupling reaction Methods 0.000 abstract description 3
- 238000003754 machining Methods 0.000 abstract description 2
- 239000000463 material Substances 0.000 description 5
- 238000005457 optimization Methods 0.000 description 5
- 238000007599 discharging Methods 0.000 description 2
- 239000002253 acid Substances 0.000 description 1
- 230000009471 action Effects 0.000 description 1
- 239000003513 alkali Substances 0.000 description 1
- 230000009286 beneficial effect Effects 0.000 description 1
- 230000007547 defect Effects 0.000 description 1
- 238000010586 diagram Methods 0.000 description 1
- 230000000694 effects Effects 0.000 description 1
- 239000008187 granular material Substances 0.000 description 1
- 230000005012 migration Effects 0.000 description 1
- 238000013508 migration Methods 0.000 description 1
- 238000012986 modification Methods 0.000 description 1
- 230000004048 modification Effects 0.000 description 1
- 239000002861 polymer material Substances 0.000 description 1
- 230000002441 reversible effect Effects 0.000 description 1
Images
Landscapes
- Constituent Portions Of Griding Lathes, Driving, Sensing And Control (AREA)
Abstract
本实用新型属于平面磨床技术领域,尤其为平面磨床自动送放工件装置,包括打磨台,所述打磨台的一侧固定连接有固定板,所述固定板的顶部固定连接有连接板,所述固定板的顶部开设有限位槽,所述连接板的一侧固定连接有驱动电机,所述驱动电机的输出轴通过联轴器固定连接有螺纹杆,所述螺纹杆的外壁活动连接有螺纹块,所述螺纹块的底部固定连接有连接块,所述连接块的底部固定连接有限位块。该平面磨床自动送放工件装置,能够达到便于送放工件,加工效率高的目的,无需人工不断一次次送入和放入工件,避免人手直接接触磨砂轮,提高了平面磨床打磨的安全性,同时也节约了时间,提高了工作效率,满足了人们工件的推送需求。
Description
技术领域
本实用新型涉及平面磨床技术领域,具体涉及平面磨床自动送放工件装置。
背景技术
平面磨床是磨床的一种。主要用砂轮旋转研磨工件以使其可达到要求的平整度,根据工作台形状可分为矩形工作台和圆形工作台两种,矩形工作台平面磨床的主参数为工作台宽度及长度,圆形工作台的主参数为工作台面直径。根据轴类的不同可分为卧轴及立轴磨床之分。
但现有的平面磨床工件放送装置具有以下不足:
1、在传统的平面磨床加工操作中,当操作者在将每片产品放置在磨床工作台上时,由于手指与磨头砂轮的距离比较近,存在着严重安全隐患,同时人工一次次送放较为麻烦,耗费时间,工作效率低;
2、传统的平面磨床一般未设置连接平台对工件进行推进放送,不仅耗费人力和时间,无形中提高了成本。
发明内容
为解决上述背景技术中提出的问题,本实用新型提供了平面磨床自动送放工件装置,具有的特点。
为实现上述目的,本实用新型提供如下技术方案:平面磨床自动送放工件装置,包括打磨台,所述打磨台的一侧固定连接有固定板,所述固定板的顶部固定连接有连接板,所述固定板的顶部开设有限位槽,所述连接板的一侧固定连接有驱动电机,所述驱动电机的输出轴通过联轴器固定连接有螺纹杆,所述螺纹杆的外壁活动连接有螺纹块,所述螺纹块的底部固定连接有连接块。
所述连接块的底部固定连接有限位块,所述螺纹块的顶部固定连接有第一电动推杆,所述第一电动推杆的输出端固定连接有第二电动推杆,所述第二电动推杆的输出端活动连接有推动臂,所述打磨台的顶部开设有引导槽,所述打磨台的一侧固定连接有连接放置台,所述打磨台的另一侧活动连接有集料箱。
为了便于螺纹块能够跟随螺纹杆移动,所述螺纹块的一侧开设有螺纹孔,且螺纹块通过螺纹孔与螺纹杆螺纹连接。
为了保证螺纹块不跟着螺纹杆连轴转,所述限位槽的内壁与限位块的外壁活动连接,且限位槽的形状大小与限位块的形状大小均相互匹配。
为了便于卡合工件进行推动,所述推动臂为L型推动臂,且推动臂的数量为两个。
为了对工件进行保护,所述推动臂的内壁固定连接有防滑垫,且防滑垫为橡胶防滑垫,且防滑垫的一侧设置有防滑颗粒。
为了保证工件稳定向前推动,所述螺纹杆的数量和驱动电机的数量均为两个,且每一个螺纹杆和每一个驱动电机为一组,且两组螺纹杆和驱动电机以打磨台的水平中线为对称轴对称设置。
与现有技术相比,本实用新型的有益效果是:
1、该平面磨床自动送放工件装置,通过打磨台、固定板、连接板、限位槽、驱动电机、螺纹杆、螺纹块、连接块、限位块、第一电动推杆、第二电动推杆和推动臂的相互配合使用,能够达到便于送放工件,加工效率高的目的,无需人工不断一次次送入和放入工件,避免人手直接接触磨砂轮,提高了平面磨床打磨的安全性,同时也节约了时间,提高了工作效率,满足了人们工件的推送需求。
2、该平面磨床自动送放工件装置,通过打磨台、引导槽和连接放置台的相互配合使用,能够达到便于推动的目的,可一次性在连接放置台上放置一些工件,从而便于推动臂连续进行推动,同时引导槽能够对工件的推动进行引导,也使得打磨位置更为精确,提高了打磨质量,方便了人们的使用。
3、该平面磨床自动送放工件装置,通过打磨台和集料箱的相互配合使用,能够达到便于收集的目的,便于对打磨加工完成的工件进行收集,从而不必要一次次进行收放,等集料箱收集满后一次性运送,减少了无用功,提高了工作效率,再次方便了人们的使用。
综上所述,该种平面磨床自动送放工件装置具有便于放送工件,便于推动,安全性高的特点。
附图说明
附图用来提供对本实用新型的进一步理解,并构成说明书的一部分,与本实用新型的实施例一起用于解释本实用新型,并不构成对本实用新型的限制。
在附图中:
图1为本实用新型整体结构图;
图2为本实用新型固定板与连接板连接正剖图;
图3为本实用新型侧视图。
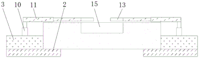
图中,1、打磨台;2、固定板;3、连接板;4、限位槽;5、驱动电机;6、螺纹杆;7、螺纹块;8、连接块;9、限位块;10、第一电动推杆;11、第二电动推杆;12、推动臂;13、防滑垫;14、引导槽;15、连接放置台;16、集料箱。
具体实施方式
为了使本实用新型的目的、技术方案及优点更加清楚明白,以下结合附图及实施例,对本实用新型进行进一步详细说明。应当理解,此处所描述的具体实施例仅仅用以解释本实用新型,并不用于限定本实用新型。
在本实用新型的描述中,需要理解的是,术语“长度”、“宽度”、“上”、“下”、“前”、“后”、“左”、“右”、“竖直”、“水平”、“顶”、“底”“内”、“外”等指示的方位或位置关系为基于附图所示的方位或位置关系,仅是为了便于描述本实用新型和简化描述,而不是指示或暗示所指的装置或元件必须具有特定的方位、以特定的方位构造和操作,因此不能理解为对本实用新型的限制。此外,在本实用新型的描述中,“多个”的含义是两个或两个以上,除非另有明确具体的限定。
请参阅图1-3,本实用新型提供以下技术方案:平面磨床自动送放工件装置,包括打磨台1,打磨台1的一侧固定连接有固定板2,固定板2的顶部固定连接有连接板3,固定板2的顶部开设有限位槽4,连接板3的一侧固定连接有驱动电机5,驱动电机5的输出轴通过联轴器固定连接有螺纹杆6,螺纹杆6的外壁活动连接有螺纹块7,螺纹块7的底部固定连接有连接块8。
连接块8的底部固定连接有限位块9,螺纹块7的顶部固定连接有第一电动推杆10,第一电动推杆10的输出端固定连接有第二电动推杆11,第二电动推杆11的输出端活动连接有推动臂12,打磨台1的顶部开设有引导槽14,打磨台1的一侧固定连接有连接放置台15,打磨台1的另一侧活动连接有集料箱16。
本实施例中:通过打磨台1、固定板2、连接板3、限位槽4、驱动电机5、螺纹杆6、螺纹块7、连接块8、限位块9、第一电动推杆10、第二电动推杆11和推动臂12的相互配合使用,能够达到便于送放工件,加工效率高的目的,无需人工不断一次次送入和放入工件,避免人手直接接触磨砂轮,提高了平面磨床打磨的安全性,同时也节约了时间,提高了工作效率,满足了人们工件的推送需求;
通过打磨台1、引导槽14和连接放置台15的相互配合使用,能够达到便于推动的目的,可一次性在连接放置台15上放置一些工件,从而便于推动臂12连续进行推动,同时引导槽14能够对工件的推动进行引导,也使得打磨位置更为精确,提高了打磨质量,方便了人们的使用;
通过打磨台1和集料箱16的相互配合使用,能够达到便于收集的目的,便于对打磨加工完成的工件进行收集,从而不必要一次次进行收放,等集料箱16收集满后一次性运送,减少了无用功,提高了工作效率,再次方便了人们的使用。
作为本实用新型的一种技术优化方案,螺纹块7的一侧开设有螺纹孔,且螺纹块7通过螺纹孔与螺纹杆6螺纹连接。
本实施例中:通过设置的螺纹孔便于螺纹块7跟随螺纹杆6进行转动。
作为本实用新型的一种技术优化方案,限位槽4的内壁与限位块9的外壁活动连接,且限位槽4的形状大小与限位块9的形状大小均相互匹配。
本实施例中:通过设置的限位槽4和限位块9便于对螺纹块7进行限位,保证了螺纹块7只能跟随螺纹杆6水平移动。
作为本实用新型的一种技术优化方案,推动臂12为L型推动臂,且推动臂的数量为两个。
本实施例中:通过设置的推动臂12便于对工件进行两边夹持进行推动,保证推动顺利。
作为本实用新型的一种技术优化方案,推动臂12的内壁固定连接有防滑垫13,且防滑垫13为橡胶防滑垫,且防滑垫13的一侧设置有防滑颗粒。
本实施例中:橡胶是指具有可逆形变的高弹性聚合物材料,在室温下富有弹性,在很小的外力作用下能产生较大形变,除去外力后能恢复原状,具有弹性好,耐酸碱的特点,通过设置的防滑垫一方面达到了防滑的效果,另一方面对工件进行了保护。
作为本实用新型的一种技术优化方案,螺纹杆6的数量和驱动电机5的数量均为两个,且每一个螺纹杆6和每一个驱动电机5为一组,且两组螺纹杆6和驱动电机5以打磨台1的水平中线为对称轴对称设置。
本实施例中:通过两组对称设置使得工件向打磨台1推动时更为稳定。
本实用新型的工作原理及使用流程:将所需加工的工件先一件件放置在连接放置台15上,此时驱动电机5运行,驱动电机5带动螺纹杆6转动,螺纹杆6带动螺纹块7向左移动,螺纹块7带动第一电动推杆10及第二电动推杆11和推动臂12向左移动,此时第一电动推杆10带动推动臂12向下移动,第二电动推杆11带动推动臂向中间推进,使得推动臂12的一侧接触工件的一侧,从而此时螺纹块7向右移动,带动工件推动进入引导槽14内。
以上仅为本实用新型的较佳实施例而已,并不用以限制本实用新型,凡在本实用新型的精神和原则之内所作的任何修改、等同替换和改进等,均应包含在本实用新型的保护范围之内。
Claims (6)
1.平面磨床自动送放工件装置,包括打磨台(1),其特征在于:所述打磨台(1)的一侧固定连接有固定板(2),所述固定板(2)的顶部固定连接有连接板(3),所述固定板(2)的顶部开设有限位槽(4),所述连接板(3)的一侧固定连接有驱动电机(5),所述驱动电机(5)的输出轴通过联轴器固定连接有螺纹杆(6),所述螺纹杆(6)的外壁活动连接有螺纹块(7),所述螺纹块(7)的底部固定连接有连接块(8);
所述连接块(8)的底部固定连接有限位块(9),所述螺纹块(7)的顶部固定连接有第一电动推杆(10),所述第一电动推杆(10)的输出端固定连接有第二电动推杆(11),所述第二电动推杆(11)的输出端活动连接有推动臂(12),所述打磨台(1)的顶部开设有引导槽(14),所述打磨台(1)的一侧固定连接有连接放置台(15),所述打磨台(1)的另一侧活动连接有集料箱(16)。
2.根据权利要求1所述的平面磨床自动送放工件装置,其特征在于:所述螺纹块(7)的一侧开设有螺纹孔,且螺纹块(7)通过螺纹孔与螺纹杆(6)螺纹连接。
3.根据权利要求1所述的平面磨床自动送放工件装置,其特征在于:所述限位槽(4)的内壁与限位块(9)的外壁活动连接,且限位槽(4)的形状大小与限位块(9)的形状大小均相互匹配。
4.根据权利要求1所述的平面磨床自动送放工件装置,其特征在于:所述推动臂(12)为L型推动臂,且推动臂的数量为两个。
5.根据权利要求1所述的平面磨床自动送放工件装置,其特征在于:所述推动臂(12)的内壁固定连接有防滑垫(13),且防滑垫(13)为橡胶防滑垫,且防滑垫(13)的一侧设置有防滑颗粒。
6.根据权利要求1所述的平面磨床自动送放工件装置,其特征在于:所述螺纹杆(6)的数量和驱动电机(5)的数量均为两个,且每一个螺纹杆(6)和每一个驱动电机(5)为一组,且两组螺纹杆(6)和驱动电机(5)以打磨台(1)的水平中线为对称轴对称设置。
Priority Applications (1)
| Application Number | Priority Date | Filing Date | Title |
|---|---|---|---|
| CN202121028895.1U CN214603463U (zh) | 2021-05-14 | 2021-05-14 | 平面磨床自动送放工件装置 |
Applications Claiming Priority (1)
| Application Number | Priority Date | Filing Date | Title |
|---|---|---|---|
| CN202121028895.1U CN214603463U (zh) | 2021-05-14 | 2021-05-14 | 平面磨床自动送放工件装置 |
Publications (1)
| Publication Number | Publication Date |
|---|---|
| CN214603463U true CN214603463U (zh) | 2021-11-05 |
Family
ID=78407896
Family Applications (1)
| Application Number | Title | Priority Date | Filing Date |
|---|---|---|---|
| CN202121028895.1U Active CN214603463U (zh) | 2021-05-14 | 2021-05-14 | 平面磨床自动送放工件装置 |
Country Status (1)
| Country | Link |
|---|---|
| CN (1) | CN214603463U (zh) |
Cited By (1)
| Publication number | Priority date | Publication date | Assignee | Title |
|---|---|---|---|---|
| CN117140294A (zh) * | 2023-08-24 | 2023-12-01 | 湖州南浔精弘机械制造有限公司 | 一种光圆棒拉丝装置及拉丝加工系统 |
-
2021
- 2021-05-14 CN CN202121028895.1U patent/CN214603463U/zh active Active
Cited By (1)
| Publication number | Priority date | Publication date | Assignee | Title |
|---|---|---|---|---|
| CN117140294A (zh) * | 2023-08-24 | 2023-12-01 | 湖州南浔精弘机械制造有限公司 | 一种光圆棒拉丝装置及拉丝加工系统 |
Similar Documents
| Publication | Publication Date | Title |
|---|---|---|
| CN103465360B (zh) | 日用陶瓷自动修坯系统 | |
| CN209189322U (zh) | 一种模具加工用外表面清理装置 | |
| CN214603463U (zh) | 平面磨床自动送放工件装置 | |
| CN205870153U (zh) | 一种全自动送料磨刀机 | |
| CN209684824U (zh) | 一种玻璃位置可调节的全自动上片台 | |
| CN109227266B (zh) | 一种叉子的叉柄边沿处打磨装置 | |
| CN208179235U (zh) | 一种用于塑料的打磨装置 | |
| CN215617056U (zh) | 一种卧式磨边机的光学镜片自动上下料系统及卧式磨边机 | |
| CN215548191U (zh) | 一种零件加工用固定架 | |
| CN212420864U (zh) | 一种不锈钢钢管内壁抛光机 | |
| CN209717317U (zh) | 一种钕铁硼磁体辅助加工装置 | |
| CN209831165U (zh) | 一种便于取放的amr传感器用底板打磨装置 | |
| CN211661193U (zh) | 一种可自动上下料的工件切割装置 | |
| CN208728091U (zh) | 地板成型用的下部辊刷式自动化清洗设备 | |
| CN113857983A (zh) | 一种金属机械导轮加工表面处理装置 | |
| CN207618401U (zh) | 一种玻璃换片机的上料装置 | |
| CN208601352U (zh) | 全自动磨角机 | |
| CN208841865U (zh) | 地板成型用的载架式自动化清洗设备 | |
| CN219670730U (zh) | 一种将长丝束切断成散状短纤维的切断装置 | |
| CN216179053U (zh) | 一种摩托车配件生产用卧轴矩台平面磨床的固定机构 | |
| CN223749354U (zh) | 一种石墨烯材料研磨设备 | |
| CN220407711U (zh) | 一种制氢盘自动上下料翻转装置 | |
| CN218427530U (zh) | 一种木材打磨机 | |
| CN223721829U (zh) | 一种提扣收料设备 | |
| CN211967767U (zh) | 一种木制办公家具加工设备 |
Legal Events
| Date | Code | Title | Description |
|---|---|---|---|
| GR01 | Patent grant | ||
| GR01 | Patent grant | ||
| PE01 | Entry into force of the registration of the contract for pledge of patent right |
Denomination of utility model: Automatic workpiece feeding device for surface grinder Effective date of registration: 20221109 Granted publication date: 20211105 Pledgee: Rizhao Bank Co.,Ltd. Weihai Rongcheng sub branch Pledgor: Shandong Beike New Energy Technology Co.,Ltd. Registration number: Y2022980021369 |
|
| PE01 | Entry into force of the registration of the contract for pledge of patent right |