CN214595424U - 一种新型l形窗帘盒 - Google Patents
一种新型l形窗帘盒 Download PDFInfo
- Publication number
- CN214595424U CN214595424U CN202022916465.5U CN202022916465U CN214595424U CN 214595424 U CN214595424 U CN 214595424U CN 202022916465 U CN202022916465 U CN 202022916465U CN 214595424 U CN214595424 U CN 214595424U
- Authority
- CN
- China
- Prior art keywords
- plate
- vertical plate
- transverse plate
- shaped
- transverse
- Prior art date
- Legal status (The legal status is an assumption and is not a legal conclusion. Google has not performed a legal analysis and makes no representation as to the accuracy of the status listed.)
- Withdrawn - After Issue
Links
- 238000000465 moulding Methods 0.000 claims description 17
- 230000003014 reinforcing effect Effects 0.000 claims description 4
- 238000009434 installation Methods 0.000 abstract description 17
- 239000000463 material Substances 0.000 abstract description 6
- 238000000034 method Methods 0.000 description 13
- 238000005452 bending Methods 0.000 description 7
- 230000000694 effects Effects 0.000 description 7
- 230000002860 competitive effect Effects 0.000 description 5
- 238000005034 decoration Methods 0.000 description 5
- 238000005516 engineering process Methods 0.000 description 5
- 238000005192 partition Methods 0.000 description 4
- 210000003128 head Anatomy 0.000 description 3
- 230000000007 visual effect Effects 0.000 description 3
- 239000003292 glue Substances 0.000 description 2
- 238000004519 manufacturing process Methods 0.000 description 2
- 230000004048 modification Effects 0.000 description 2
- 238000012986 modification Methods 0.000 description 2
- 239000011120 plywood Substances 0.000 description 2
- 210000002489 tectorial membrane Anatomy 0.000 description 2
- 238000010923 batch production Methods 0.000 description 1
- 238000010276 construction Methods 0.000 description 1
- 230000007547 defect Effects 0.000 description 1
- 238000010586 diagram Methods 0.000 description 1
- 238000004134 energy conservation Methods 0.000 description 1
- 230000007613 environmental effect Effects 0.000 description 1
- 239000007789 gas Substances 0.000 description 1
- 229910052602 gypsum Inorganic materials 0.000 description 1
- 239000010440 gypsum Substances 0.000 description 1
- 239000004816 latex Substances 0.000 description 1
- 229920000126 latex Polymers 0.000 description 1
- WSFSSNUMVMOOMR-NJFSPNSNSA-N methanone Chemical compound O=[14CH2] WSFSSNUMVMOOMR-NJFSPNSNSA-N 0.000 description 1
- 238000003801 milling Methods 0.000 description 1
- 239000003973 paint Substances 0.000 description 1
- 239000004033 plastic Substances 0.000 description 1
- 230000002787 reinforcement Effects 0.000 description 1
- 239000002023 wood Substances 0.000 description 1
Images
Landscapes
- Curtains And Furnishings For Windows Or Doors (AREA)
Abstract
本实用新型公开了一种新型L形窗帘盒,包括阴角连接线条和L形板;阴角连接线条包括一个横板、一个第一竖板和一个第二竖板,第一竖板的一端与横板的下端面固定连接,第二竖板的一端与横板的下端面固定连接,第一竖板、第二竖板平行设置;第一竖板、横板与第二竖板间形成一个第一卡接凹槽;第一竖板与第二竖板之间的距离小于横板的长度;L形板包括连接成一体的竖向板和横向板,竖向板的上端卡接在第一卡接凹槽内,竖向板的下端与横向板的一端固定连接,竖向板的长度大于横向板的长度。本实用新型的一种新型L形窗帘盒结构简单,组装方便,降低了材料成本和人工成本,提高了安装效率。
Description
技术领域
本实用新型涉及室内装修技术领域,尤其是,本实用新型涉及一种新型L形窗帘盒。
背景技术
窗帘盒是室内装修中的重要部位,是隐蔽窗帘帘头的重要设施。窗帘盒一般有两种形式:一种是房间有吊顶的,窗帘盒应隐蔽在吊顶内,在做顶部吊顶时就一同完成;另一种是房间没有吊顶,窗帘盒固定在墙上,与窗框套成为一个整体。传统装修做法一般是采用在天花吊顶上预留槽口以容纳窗帘的结构,槽口周边常采用木夹板基层,外贴石膏板,表面刷乳胶漆的做法,施工安装空间有限,不仅繁琐而且浪费材料,不够节能环保。另一方面,槽口宽度和高度大多在150mm×200mm左右,槽口直接外露,可以清晰看到卷帘支架和五金配件等结构,影响天花板整体的装饰效果。此外,木夹板基层的耐火性能差,遇潮易变形开裂,而且有些合成木板材还会释放甲醛、TOVC等有害气体,不利于室内环境质量。
传统的窗帘盒的安装方式比较复杂,而目前装配式琉晶吊顶系统中窗帘盒的做法都是在工厂铣V槽,在现场将有机板折弯成形,工人需要对折弯处安装一排角码,并且在窗帘盒腔内用木塑板进行加固,防止窗帘盒变形,最后还需安装封板遮盖内腔,再经过几道工序将窗帘盒内部加固组装,最后才能将窗帘盒安装,窗帘盒耗费较多角码、螺钉、有机板材,工人在安装时也需要注意严格把控窗帘盒与顶面板相接处的平整度,所以现场安装繁琐,耗费较多工时,导致人工成本较高,在中低端内装领域市场里,价格上不具备竞争优势。
中国专利CN201811419225.5公开了一种窗帘盒结构、窗帘盒系统及其组装方法,该窗帘盒结构包括窗帘盒主体和窗帘盒隔断;所述窗帘盒主体包括窗帘盒顶板和L型侧板;所述窗帘盒隔断包括第一侧板和第二侧板;所述第一侧板与所述第二侧板通过连接底板连接;所述第二侧板的顶端与所述窗帘盒顶板连接;所述L型侧板包括侧板竖板和与侧板平板,所述侧板竖板的顶端与所述窗帘盒顶板连接,所述侧板平板连接在所述侧板竖板的底端上;在垂直方向上,所述侧板平板位于所述连接底板的上方。该公开的窗帘盒结构、窗帘盒系统及其组装方法,通过将窗帘盒主体和窗帘盒隔断模块化设计,然后进行组装,可以能实现快速装配,大大提高了安装效率,可模块化生产,降低生产成本。然而,该专利中的窗帘盒主体和窗帘盒隔断仍然各自由多个小部件通过连接件连接而成,结构比较复杂,组装不够简便,价格上仍然不具备竞争优势。
实用新型内容
为了克服上述现有技术的不足,本实用新型的目的在于提供一种新型L形窗帘盒。
为解决上述问题,本实用新型采用如下技术方案:
一种新型L形窗帘盒,包括阴角连接线条和L形板;
所述阴角连接线条包括一个横板、一个第一竖板和一个第二竖板,所述第一竖板的一端与所述横板的下端面固定连接,所述第二竖板的一端与所述横板的下端面固定连接,所述第一竖板、所述第二竖板平行设置;所述第一竖板、所述横板与所述第二竖板间形成一个第一卡接凹槽;所述第一竖板与所述第二竖板之间的距离小于所述横板的长度;
所述L形板包括连接成一体的竖向板和横向板,所述竖向板的上端卡接在所述第一卡接凹槽内,所述竖向板的下端与所述横向板的一端固定连接,所述竖向板的长度大于所述横向板的长度。
优选地,所述第二竖板的上部侧面上开设有第一螺钉定位凹槽,所述第二竖板通过所述第一螺钉定位凹槽内钉入的螺钉与所述竖向板连接成一体。
优选地,还包括角码,所述竖向板的下部侧面上开设有第二螺钉定位凹槽,所述竖向板通过所述角码和所述第二螺钉定位凹槽内钉入的螺钉与侧面墙体连接。
优选地,所述横板的下端面上设有第三螺钉定位凹槽,所述横板通过所述第三螺钉定位凹槽内钉入的螺钉与顶部天花板连接。
优选地,所述第二竖板与所述横板间通过一个倾斜的加强板连接。
优选地,所述横板的上端面的一端上开设有一个缺口凹槽。
优选地,所述第一竖板的长度小于所述第二竖板的长度。
优选地,所述L形板为镂空结构。
优选地,还包括F形装饰线条,所述F形装饰线条包括第一横板、第二横板和第三竖板,所述第一横板的一端连接在所述第三竖板上,所述第二横板的一端连接在所述第三竖板上,所述第一横板、所述第二横板位于所述第三竖板的同一侧,所述第一横板与所述第二横板平行设置;所述第一横板、所述第二横板与所述第三竖板间形成一个第二卡接凹槽,所述横向板的另一端卡接在所述第二卡接凹槽内。
本实用新型还提供一种新型L形窗帘盒的安装方法,包括以下步骤:
将所述阴角连接线条与所述L形板通过所述第一卡接凹槽连接成一体;
将所述阴角连接线条的所述横板的上端面通过螺钉固定到顶部天花板上;
将所述L形板的所述竖向板固定在侧面墙体上。
与现有技术相比,本实用新型的技术效果体现在:
本实用新型的一种新型L形窗帘盒整体由阴角连接线条和L形板构成,结构简单,组装方便,相比于传统折弯工艺的窗帘盒结构,本实用新型的一种新型L形窗帘盒大大减少装配时角码、螺钉的消耗量,降低了材料成本和人工成本,提高了安装效率,提升了装配式琉晶吊顶在中低端内装领域上的竞争优势。此外,阴角连接线条避免了采用折弯工艺的窗帘盒与顶部天花板存在缝隙的问题,改善了阴角缝隙的的外观效果,整体更加美观。
本实用新型的一种新型L形窗帘盒的安装方法操作简单,安装轻松可靠,安装效率高。
本实用新型的附加优点、目的以及特征将在下面的描述中将部分地加以阐述,且将对于本领域普通技术人员在研究下文后部分地变得明显,或者可以根据本实用新型的实践而获知。本实用新型的目的和其他的优点可以通过在书面说明及其权利要求书以及附图中具体指出的结构实现并获得。
本领域技术人员将会理解的是,能够用本实用新型实现的目的和优点不限于以上具体所述,并且根据以下详细说明将更清楚地理解本实用新型能够实现的上述和其他目的。
附图说明
此处所说明的附图用以提供对本实用新型的进一步理解,构成本申请的一部分,并不构成对本实用新型的限定。参照以下附图,将更好地理解本实用新型的许多方面。附图中的组成部分不一定成比例,重点在于清楚地示例出本实用新型的原理。在附图中:
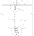
图1为本实用新型实施例1提供的一种新型L形窗帘盒的结构示意图;
图2为图1中A处的局部放大图;
图3为图1中B处的局部放大图;
图4为本实用新型实施例1提供的阴角连接线条的横截面的结构示意图;
图5为本实用新型实施例1提供的L形板的结构示意图;
图6为本实用新型实施例1提供的F形装饰线条的结构示意图。
图中,1、阴角连接线条,2、L形板,3、螺钉,4、角码,5、墙体,6、天花板,7、加强板,8、F形装饰线条,101、横板,102、第一竖板,103、第二竖板,104、第一卡接凹槽,201、竖向板,202、横向板,801、第一横板,802、第二横板,803、第三竖板,804、第二卡接凹槽,1011、第三螺钉定位凹槽,1012、缺口凹槽,1031、第一螺钉定位凹槽,2011、第二螺钉定位凹槽。
具体实施方式
为了使本实用新型的目的、技术方案及优点更加清楚明白,以下结合附图和实施例,对本实用新型进行进一步详细说明。应当理解,此处所描述的具体实施例仅用以解释本实用新型,并不用于限定本实用新型。
此外,还需要说明的是,为了避免不必要的细节而模糊了本实用新型,在附图中仅仅示出了与根据本实用新型的方案密切相关的结构和/或处理步骤,而省略了与本实用新型关系不大的其它细节。
此外,还需要说明的是,本实用新型实施例中,在没有特殊说明的情况下,术语“连接”可以是直线连接,也可以是中间有附加连接件的间接连接。
在下文中,将参考附图描述本实用新型的实施例。在附图中,相同的附图标记代表相同或类似的部件,或者相同或类似的步骤。
实施例1
本实用新型实施例1提供一种新型L形窗帘盒,结构如图1~图6所示。一种新型L形窗帘盒,包括阴角连接线条1和L形板2;阴角连接线条1包括一个横板101、一个第一竖板102和一个第二竖板103,第一竖板102的一端与横板101的下端面固定连接,第二竖板103的一端与横板101的下端面固定连接,第一竖板102、第二竖板103平行设置;第一竖板102、横板101与第二竖板103间形成一个第一卡接凹槽104;第一竖板102与第二竖板103之间的距离小于横板101的长度,即第一竖板102与第二竖板103不能同时位于横板101下端面的两端,以便在横板101的下端面上可预留一定长度的板面用于与顶面天花板6连接;
L形板2包括连接成一体的竖向板201和横向板202,竖向板201的上端卡接在第一卡接凹槽104内,竖向板201的下端与横向板202的一端固定连接,竖向板201的长度大于横向板202的长度。
本实用新型实施例的一种新型L形窗帘盒在使用时,先将阴角连接线条1与L形板通过阴角连接线条1上的第一卡接凹槽104连接成一体,然后再将阴角连接线条1通过其横板101下端面上预留的板面用螺钉3固定连接到顶面天花板6上,这样就完成了新型L形窗帘盒的安装。安装好后,L形板的竖向板201可将窗帘头隐藏在竖向板201的内侧,起到美观装饰的作用。
本实用新型的一种新型L形窗帘盒整体由阴角连接线条1和L形板2构成,结构简单,组装方便,相比于传统折弯工艺的窗帘盒结构,本实用新型的一种新型L形窗帘盒大大减少装配时角码、螺钉的消耗量,降低了材料成本和人工成本,提高了安装效率,提升了装配式琉晶吊顶在中低端内装领域上的竞争优势。此外,阴角连接线条1避免了采用折弯工艺的窗帘盒与顶部天花板6存在缝隙的问题,改善了阴角缝隙的的外观效果,整体更加美观。
优选地,第二竖板103的上部侧面上开设有第一螺钉定位凹槽1031,第二竖板103通过第一螺钉定位凹槽1031内钉入的螺钉3与竖向板201连接成一体。在阴角连接线条1和L形板2通过第一卡接凹槽104连接的情况下,通过在第二竖板103的上部侧面增设第一螺钉定位凹槽1031,通过钉入螺钉3可加固阴角连接线条1和L形板2之间的连接强度,使它们之间的连接更牢固。第一螺钉定位凹槽1031可在第二竖板103的高度方向上至少设置两排,如图1、图2、图4所示。此外,第一螺钉定位凹槽1031的设置可使得钉在第二竖板103上的所有螺钉3都固定在特定位置处,即第一螺钉定位凹槽1031所处的位置,这样,钉入的螺钉3整体排列整齐有序,视觉更美观,可避免打钉位置随意造成的杂乱无序感,提升窗帘盒的美观性。
优选地,本实用新型的一种新型L形窗帘盒还包括角码4,竖向板201的下部侧面上开设有第二螺钉定位凹槽2011,竖向板201通过角码4和第二螺钉定位凹槽2011内钉入的螺钉3与侧面墙体连接。由于窗帘盒整体是悬设在顶部天花板6的下面,通过角码4可将竖向板201用螺钉3固定在与顶部天花板6相连的侧面墙体5上,增强窗帘盒与顶部天花板6和侧面墙体5连接的牢固性,防止窗帘盒长时间使用由于螺钉3的松动而发生坠落,提高窗帘盒的使用安全性。
优选地,横板101的下端面上设有第三螺钉定位凹槽1011,横板101通过第三螺钉定位凹槽1011内钉入的螺钉3与顶部天花板6连接。使用时,阴角连接线条1通过其横板101下端面上钉入的螺钉3与顶部天花板6固定连接,横板101的上端面与顶部天花板6贴合,可避免采用折弯工艺的窗帘盒与顶面存在缝隙的问题,改善了阴角缝隙的的外观效果;另一方面,第三螺钉定位凹槽1011的设置可使得钉在横板101下端面上的所有螺钉3都处于特定位置,即第三螺钉定位凹槽1011的位置,这样,钉入的螺钉3整体排列整齐有序,视觉更美观,可避免打钉位置随意造成的杂乱无序感,提升窗帘盒的美观性。
优选地,第二竖板103与横板101间通过一个倾斜的加强板7连接,相比于第二竖板103与横板101间直角连接方式,这种带一定倾斜角度的连接方式可使得阴角连接线条1的结构强度更高,承重及抗变形能力更好;另一方面,第二竖板103与横板101间的倾斜角度设计更方便第一螺钉定位凹槽1031与第三螺钉定位凹槽1011内的打钉操作。此外,第二竖板103与横板101间也可采用弧形角的连接方式连接。
优选地,横板101的上端面的一端上开设有一个缺口凹槽1012。开设缺口凹槽1012可以减轻阴角连接线条1的结构重量,使其更轻质,便于窗帘盒的安装,并降低材料消耗的成本;另一方面,缺口凹槽1012可以使得阴角连接线条1更具有造型性,给人以不同的视觉体验。
优选地,第一竖板102的长度小于第二竖板103的长度。第一竖板102只需要突出横板101的下端面,可与第二竖板103、横板101之间形成卡接L形板2的第一卡接凹槽104即可,L形板2的竖向板201的外侧面上设有装饰覆膜,可以起到美观窗帘帘头的作用,若第一竖板102的长度过长,会遮盖住部分竖向板201的装饰覆膜面,影响窗帘盒整体的美观性。
优选地, L形板2为镂空结构,如蜂窝结构,这样可以减轻L形板2整体的重量,使其更轻便,便于安装;另一方面,也可以低材料消耗的成本,使得窗帘盒更具备价格竞争优势。
优选地,本实用新型的一种新型L形窗帘盒还包括F形装饰线条8,如图1、图3、图6所示。F形装饰线条8包括第一横板801、第二横板802和第三竖板803,第一横板801的一端连接在第三竖板803上,第二横板802的一端连接在第三竖板803上,第一横板801、第二横板802位于第三竖板803的同一侧,第一横板801与第二横板802平行设置;第一横板801、第二横板802与第三竖板803间形成一个第二卡接凹槽804,横向板202的另一端卡接在第二卡接凹槽804内。F形装饰线条8可对L形板2的下端面进行遮盖,使得窗帘盒整体外观效果更好,提升视觉美感。为了加强F形装饰线条8与L形板2之间连接的牢固性,可使用免钉胶对F形装饰线条8进行加固连接。
本实用新型的阴角连接线条1、L形板2和F形装饰线条8都可在工厂开模制成,相比于折弯工艺的窗帘盒结构,本实用新型的一种新型L形窗帘盒简化了窗帘盒的整体造型,保证了窗帘盒在批量生产时的工艺均一性,避免了折弯工艺的良莠不齐,安装也更为简便,整体上减少了窗帘盒成本。
实施例2
本实用新型实施例2提供一种新型L形窗帘盒的安装方法,包括以下步骤:
(1)将阴角连接线条1与L形板2通过第一卡接凹槽104连接成一体;
(2)将阴角连接线条1的横板101的上端面通过螺钉3固定到顶部天花板6上;
(3)将L形板2的竖向板201固定在侧面墙体5上,具体地,可在L形板2的两侧安装角码4,利用角码4和螺钉3配合将L形板2固定到侧面墙体5上。
在新型L形窗帘盒包含F形装饰线条8的情况下,进一步地,还包括以下步骤:
(4)将L形板2与F形装饰线条8通过第二卡接凹槽804卡接成一体,并用免钉胶加固。
本实用新型的一种新型L形窗帘盒的安装方法只需要在现场将阴角连接线条1、L形板2和F形装饰线条8进行简单组装即可,安装方法操作简单,安装轻松可靠,安装效率高。
本实用新型不局限于上述具体的实施方式,本实用新型可以有各种更改和变化。凡是依据本实用新型的技术实质对以上实施方式所作的任何修改、等同替换、改进等,均应包含在本实用新型的保护范围之内。
Claims (9)
1.一种新型L形窗帘盒,其特征在于,包括阴角连接线条和L形板;
所述阴角连接线条包括一个横板、一个第一竖板和一个第二竖板,所述第一竖板的一端与所述横板的下端面固定连接,所述第二竖板的一端与所述横板的下端面固定连接,所述第一竖板、所述第二竖板平行设置;所述第一竖板、所述横板与所述第二竖板间形成一个第一卡接凹槽;所述第一竖板与所述第二竖板之间的距离小于所述横板的长度;
所述L形板包括连接成一体的竖向板和横向板,所述竖向板的上端卡接在所述第一卡接凹槽内,所述竖向板的下端与所述横向板的一端固定连接,所述竖向板的长度大于所述横向板的长度。
2.根据权利要求1所述的一种新型L形窗帘盒,其特征在于,所述第二竖板的上部侧面上开设有第一螺钉定位凹槽,所述第二竖板通过所述第一螺钉定位凹槽内钉入的螺钉与所述竖向板连接成一体。
3.根据权利要求2所述的一种新型L形窗帘盒,其特征在于,还包括角码,所述竖向板的下部侧面上开设有第二螺钉定位凹槽,所述竖向板通过所述角码和所述第二螺钉定位凹槽内钉入的螺钉与侧面墙体连接。
4.根据权利要求3所述的一种新型L形窗帘盒,其特征在于,所述横板的下端面上设有第三螺钉定位凹槽,所述横板通过所述第三螺钉定位凹槽内钉入的螺钉与顶部天花板连接。
5.根据权利要求1~4任一项所述的一种新型L形窗帘盒,其特征在于,所述第二竖板与所述横板间通过一个倾斜的加强板连接。
6.根据权利要求5所述的一种新型L形窗帘盒,其特征在于,所述横板的上端面的一端上开设有一个缺口凹槽。
7.根据权利要求6所述的一种新型L形窗帘盒,其特征在于,所述第一竖板的长度小于所述第二竖板的长度。
8.根据权利要求7所述的一种新型L形窗帘盒,其特征在于,所述L形板为镂空结构。
9.根据权利要求8所述的一种新型L形窗帘盒,其特征在于,还包括F形装饰线条,所述F形装饰线条包括第一横板、第二横板和第三竖板,所述第一横板的一端连接在所述第三竖板上,所述第二横板的一端连接在所述第三竖板上,所述第一横板、所述第二横板位于所述第三竖板的同一侧,所述第一横板与所述第二横板平行设置;所述第一横板、所述第二横板与所述第三竖板间形成一个第二卡接凹槽,所述横向板的另一端卡接在所述第二卡接凹槽内。
Priority Applications (1)
| Application Number | Priority Date | Filing Date | Title |
|---|---|---|---|
| CN202022916465.5U CN214595424U (zh) | 2020-12-08 | 2020-12-08 | 一种新型l形窗帘盒 |
Applications Claiming Priority (1)
| Application Number | Priority Date | Filing Date | Title |
|---|---|---|---|
| CN202022916465.5U CN214595424U (zh) | 2020-12-08 | 2020-12-08 | 一种新型l形窗帘盒 |
Publications (1)
| Publication Number | Publication Date |
|---|---|
| CN214595424U true CN214595424U (zh) | 2021-11-05 |
Family
ID=78429366
Family Applications (1)
| Application Number | Title | Priority Date | Filing Date |
|---|---|---|---|
| CN202022916465.5U Withdrawn - After Issue CN214595424U (zh) | 2020-12-08 | 2020-12-08 | 一种新型l形窗帘盒 |
Country Status (1)
| Country | Link |
|---|---|
| CN (1) | CN214595424U (zh) |
Cited By (1)
| Publication number | Priority date | Publication date | Assignee | Title |
|---|---|---|---|---|
| CN112450706A (zh) * | 2020-12-08 | 2021-03-09 | 浙江亚厦装饰股份有限公司 | 一种新型l形窗帘盒及安装方法 |
-
2020
- 2020-12-08 CN CN202022916465.5U patent/CN214595424U/zh not_active Withdrawn - After Issue
Cited By (2)
| Publication number | Priority date | Publication date | Assignee | Title |
|---|---|---|---|---|
| CN112450706A (zh) * | 2020-12-08 | 2021-03-09 | 浙江亚厦装饰股份有限公司 | 一种新型l形窗帘盒及安装方法 |
| CN112450706B (zh) * | 2020-12-08 | 2024-09-06 | 浙江亚厦装饰股份有限公司 | 一种新型l形窗帘盒及安装方法 |
Similar Documents
| Publication | Publication Date | Title |
|---|---|---|
| CN205712903U (zh) | 一种挂接饰面板的室内饰面墙及饰面板挂接装置 | |
| CN210177866U (zh) | 一种墙面龙骨 | |
| CN112554425B (zh) | 一种可快速安装跌级吊顶连接件、吊顶系统及安装方法 | |
| CN113863555B (zh) | 一种多功能装配式吊顶及安装方法 | |
| CN214595424U (zh) | 一种新型l形窗帘盒 | |
| CN209958579U (zh) | 一种装配式幕墙安装结构 | |
| CN2272915Y (zh) | 塑料壁板吊顶板衔接结构 | |
| CN212336485U (zh) | 一种蜂窝板错层搭接型材 | |
| CN214614935U (zh) | 一种可快速安装跌级吊顶连接件及吊顶系统 | |
| CN113530067A (zh) | 一种插扣跌级吊顶模块、吊顶总成及其安装方法 | |
| CN214614957U (zh) | 一种单块饰面板上顶的连接构件及吊顶系统 | |
| CN112450706A (zh) | 一种新型l形窗帘盒及安装方法 | |
| CN221168495U (zh) | 一种用于异形曲面幕墙的装饰格栅 | |
| CN209907810U (zh) | 一种节能建筑装饰板 | |
| CN220133229U (zh) | 一种装配式跌级吊顶结构 | |
| CN209277487U (zh) | 一种超长悬挑竖向装饰条的单元系统 | |
| CN216075843U (zh) | 一种插扣跌级吊顶模块及吊顶总成 | |
| CN210177867U (zh) | 一种土字型墙面龙骨 | |
| CN210177868U (zh) | 一种开字型墙面龙骨 | |
| CN214498193U (zh) | 一种装配式安装的室内装饰墙板系统 | |
| CN115075454A (zh) | 一种一体式吊顶用收口件 | |
| CN212613212U (zh) | 一种穿条式幕墙系统的洞穿主体伸缩结构 | |
| CN222413616U (zh) | 一种不锈钢双曲飘带幕墙 | |
| CN210563149U (zh) | 一种王字型墙面龙骨 | |
| CN223689162U (zh) | 一种高层倾斜单元幕墙的可调节挂接结构 |
Legal Events
| Date | Code | Title | Description |
|---|---|---|---|
| GR01 | Patent grant | ||
| GR01 | Patent grant | ||
| AV01 | Patent right actively abandoned |
Granted publication date: 20211105 Effective date of abandoning: 20240906 |
|
| AV01 | Patent right actively abandoned |
Granted publication date: 20211105 Effective date of abandoning: 20240906 |
|
| AV01 | Patent right actively abandoned | ||
| AV01 | Patent right actively abandoned |