CN214591764U - A stereoscopic image recording device - Google Patents

A stereoscopic image recording device Download PDF

Info

Publication number
CN214591764U
CN214591764U CN202120644292.8U CN202120644292U CN214591764U CN 214591764 U CN214591764 U CN 214591764U CN 202120644292 U CN202120644292 U CN 202120644292U CN 214591764 U CN214591764 U CN 214591764U
Authority
CN
China
Prior art keywords
base
rod
shooting
plate
stereoscopic image
Prior art date
Legal status (The legal status is an assumption and is not a legal conclusion. Google has not performed a legal analysis and makes no representation as to the accuracy of the status listed.)
Expired - Fee Related
Application number
CN202120644292.8U
Other languages
Chinese (zh)
Inventor
翁均明
Current Assignee (The listed assignees may be inaccurate. Google has not performed a legal analysis and makes no representation or warranty as to the accuracy of the list.)
Individual
Original Assignee
Individual
Priority date (The priority date is an assumption and is not a legal conclusion. Google has not performed a legal analysis and makes no representation as to the accuracy of the date listed.)
Filing date
Publication date
Application filed by Individual filed Critical Individual
Priority to CN202120644292.8U priority Critical patent/CN214591764U/en
Application granted granted Critical
Publication of CN214591764U publication Critical patent/CN214591764U/en
Expired - Fee Related legal-status Critical Current
Anticipated expiration legal-status Critical

Links

Images

Landscapes

  • Stereoscopic And Panoramic Photography (AREA)

Abstract

本实用新型实施例公开了一种立体图像摄录装置,包括转向单元和摄录单元,转向单元包括底板和转接块,取被采集物体的位置设为采集定点,以底板指向采集定点,摄录单元包括拍摄杆和摄影设备,且拍摄杆的一端通过转接块转动连接于底板上,在拍摄杆的的另一端连接有夹持支架,将摄影设备夹持固定于夹持支架内,使摄影设备在转接块的水平转动下,分别于采集定点的两侧构成采集基点,使两个采集基点和采集定点之间构成“V”字形的立体图像采集区域。本实用新型通过一台摄影设备分别获取被采集物体不同位置的图像信息,以后期生成立体图像或视频,其结构简单,方便操作,可令立体图像摄录装置可快速进入大众市场领域。

Figure 202120644292

The embodiment of the utility model discloses a stereoscopic image recording device, which includes a steering unit and a recording unit. The steering unit includes a base plate and an adapter block. The recording unit includes a shooting rod and a photographing equipment, and one end of the shooting rod is connected to the base plate through an adapter block in rotation, and a clamping bracket is connected to the other end of the shooting rod, and the photographing equipment is clamped and fixed in the clamping bracket, so that the Under the horizontal rotation of the adapter block, the photographing equipment forms a collection base point on both sides of the collection point, so that a "V"-shaped stereo image collection area is formed between the two collection base points and the collection point. The utility model obtains image information of different positions of the collected object through a photographing device, and generates stereoscopic images or videos in the later stage.

Figure 202120644292

Description

Stereo image shooting and recording device
Technical Field
The embodiment of the utility model provides a relate to the cell-phone technical field of shooing, concretely relates to stereoscopic image shoots up with video-corder.
Background
The principle of stereo photography is that two groups of images are shot by two lenses at positions similar to the positions of two eyes of human beings, and then the two groups of images are combined into one image, and the stereo effect can be seen by carrying stereo glasses. Because of the high technical threshold, the related photography equipment is very expensive, and can only be applied to the high-price field such as stereoscopic movies, and can not be popularized and used by the public, therefore, in daily life, the public can only see stereoscopic visuals to see some stereoscopic movies with the ticket price several times higher than the normal price, and the stereoscopic movies are not frequently shown.
SUMMERY OF THE UTILITY MODEL
Therefore, the embodiment of the present invention provides a stereo image shooting device to solve the problem in the prior art that the related shooting device is complicated and expensive due to the high threshold of stereo shooting technology.
In order to achieve the above object, the embodiment of the present invention provides the following technical solutions:
according to a first aspect of the embodiments of the present invention, a stereoscopic image photographing apparatus includes a steering unit and a photographing unit, the steering unit comprises a bottom plate and a switching block, the bottom plate is arranged parallel to the ground, the position of the collected object is taken as a collecting fixed point, the front end of the bottom plate points to the acquisition fixed point, the switching block is rotatably connected on the top surface of the front end of the bottom plate, the shooting unit comprises a shooting rod and shooting equipment, the shooting rod is arranged above the bottom plate in parallel, one end of the shooting rod is connected to the transfer block, the other end of the shooting rod is connected with a clamping bracket at the rear side of the bottom plate, the photographic equipment is clamped and fixed in the clamping bracket, and the rear camera of the photographic equipment faces the acquisition fixed point, and the photographing equipment forms acquisition base points on two sides of the acquisition fixed point respectively under the horizontal rotation of the transfer block, so that a V-shaped three-dimensional image acquisition area is formed between the two acquisition base points and the acquisition fixed point.
Further, the bottom rigid coupling of bottom plate has the handle, wherein, the handle is the C type structure of opening towards the bottom plate bottom surface, and the one end rigid coupling of handle is on the bottom surface of bottom plate front end, and the other end rigid coupling of handle is on the bottom surface of bottom plate rear end.
Further, the centre gripping support is the opening towards the C type structure of bottom plate rear side, including lower plate, punch holder and connect the telescopic adjusting rod between punch holder and the lower plate, the punch holder level sets up the top at the lower plate, with form the centre gripping clearance that supplies the horizontal putting into of photography equipment between punch holder and the lower plate, wherein, telescopic adjusting rod is equipped with two sets of parallel arrangement.
Further, be equipped with the base station between centre gripping support and the shooting pole, the base station sets up at the rear side of shooting the pole, makes the antetheca of base station shoot the pole setting perpendicularly, forms the recess at the middle part of base station diapire, and has seted up the through-hole on one side inner wall of recess, with the through-hole runs through to the lateral wall of base station homonymy to set up threaded hole on the opposite side inner wall of recess, the rear end of shooting the pole rigid coupling has the rotation post of shooting the pole setting perpendicularly in the recess, it is the hollow post structure of both ends open-ended to rotate the post, the outside of through-hole is equipped with the screw rod, with the screw rod passes through-hole and rotation post in proper order to threaded connection is in the threaded hole, with the base station rotates from top to bottom, wherein, the lower plate of centre gripping support rotates to be connected on the roof of base station.
Furthermore, the outer end of the screw rod is fixedly connected with a knob at the outer side of the through hole.
Further, the shooting rod is of a telescopic rod structure.
The embodiment of the utility model provides a have following advantage: by arranging the steering unit and the shooting unit, the shooting rod is horizontally arranged above the bottom plate, the front end of the bottom plate points to the collected object, the shooting rod can be rotated left and right in the horizontal direction under the action of the transfer block under the condition that the bottom plate is kept still by utilizing the arrangement of the transfer block, so that the shooting equipment respectively forms collecting base points at two sides of a collecting fixed point, a V-shaped three-dimensional image collecting area is formed between the two collecting base points and the collecting fixed point, the shooting equipment is fixed on the clamping bracket, the shooting equipment is only required to be rotated to the left and the right of the collected object to respectively shoot a photo, and a three-dimensional photo is obtained after post-washing and drying, or the shooting equipment is slowly rotated to the other side of the collected object by adopting a video recording mode, the obtained video is a three-dimensional video effect after post-washing and drying, and a three-dimensional technology specially designed and manufactured is not needed, the stereo image shooting device has the advantages of simple structure and convenient operation, and can shoot stereo images, thereby reducing the production cost and enabling the stereo image shooting device to rapidly enter the mass market field.
Drawings
In order to more clearly illustrate the embodiments of the present invention or the technical solutions in the prior art, the drawings used in the description of the embodiments or the prior art will be briefly described below. It should be apparent that the drawings in the following description are merely exemplary, and that other embodiments can be derived from the drawings provided by those of ordinary skill in the art without inventive effort.
The structure, ratio, size and the like shown in the present specification are only used for matching with the content disclosed in the specification, so as to be known and read by people familiar with the technology, and are not used for limiting the limit conditions which can be implemented by the present invention, so that the present invention has no technical essential significance, and any structure modification, ratio relationship change or size adjustment should still fall within the scope which can be covered by the technical content disclosed by the present invention without affecting the efficacy and the achievable purpose of the present invention.
Fig. 1 is a schematic view of an overall structure of a stereo image recording apparatus according to an embodiment of the present invention;
fig. 2 is a schematic structural explosion diagram of a stereoscopic image recording device according to an embodiment of the present invention.
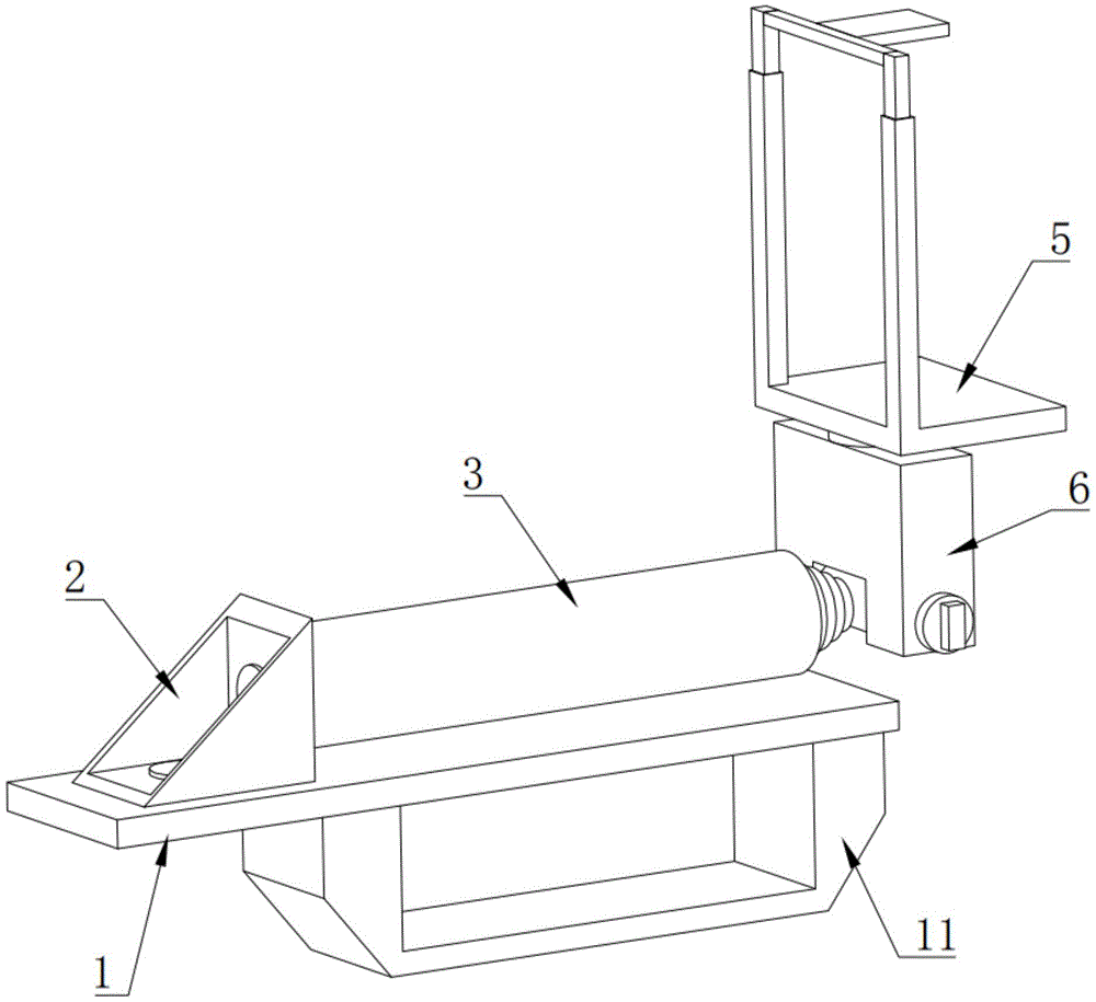
In the figure: 1. a base plate; 11. a handle; 2. a transfer block; 3. a shooting lever; 31. rotating the column; 4. a photographing apparatus; 5. clamping the bracket; 51. a lower splint; 52. an upper splint; 53. a telescopic adjusting rod; 6. a base station; 61. a groove; 7. a screw; 71. a knob.
Detailed Description
The present invention is described in terms of specific embodiments, and other advantages and benefits of the present invention will become apparent to those skilled in the art from the following disclosure. Based on the embodiments in the present invention, all other embodiments obtained by a person skilled in the art without creative work belong to the protection scope of the present invention.
As shown in fig. 1, an embodiment of the present invention provides a stereoscopic image recording device, which includes a steering unit and a recording unit. The steering unit comprises a bottom plate 1 and a switching block 2, wherein the bottom plate 1 is arranged in parallel to the ground, and the position of the collected object is taken as a collection fixed point, so that the front end of the bottom plate 1 points to the collection fixed point. The transfer block 2 is rotatably connected to the top surface of the front end of the bottom plate 1, so that the transfer block 2 can freely rotate along the horizontal direction. Wherein, there is handle 11 at the bottom rigid coupling of bottom plate 1, and handle 11 is the C type structure of opening towards bottom plate 1 bottom surface, and the one end rigid coupling of handle 11 on the bottom surface of bottom plate 1 front end, the other end rigid coupling of handle 11 is on the bottom surface of bottom plate 1 rear end to can singlehanded bottom plate 1 through handle 11.
The camcorder unit includes a photographing rod 3 and a photographing apparatus 4. Shoot pole 3 choose for use have on the market telescopic structure shoot pole 3 can, for example from rapping bar etc., its parallel arrangement is in the top of bottom plate 1, the one end that will shoot pole 3 is connected on switching piece 2, and the other end that will shoot pole 3 is connected with centre gripping support 5 in the rear side of bottom plate 1, so that the centre gripping of photography equipment 4 is fixed in centre gripping support 5, thereby make and shoot pole 3 under switching piece 2's effect, rotate about in the horizontal direction, constitute the collection basic point in the both sides of gathering the fixed point respectively by photography equipment 4, and make two gather the basic point and gather the stereo image who constitutes "V" font between the fixed point and gather the region. The camera 4 is preferably a mobile phone, and may be replaced by a video head, a video recorder, or the like.
As described above, the clamping bracket 5 is a C-shaped structure with an opening facing the rear side of the bottom plate 1, and includes the lower plate 51, the upper plate 52 and the telescopic adjusting rod 53 connected between the upper plate 52 and the lower plate 51, the upper plate 52 is horizontally disposed above the lower plate 51, so that a clamping gap for the photographing apparatus 4 to be transversely placed is formed between the upper plate 52 and the lower plate 51, wherein the telescopic adjusting rod 53 is disposed with reference to the existing mobile phone bracket of the selfie stick, and the telescopic adjusting rod 53 is provided with two sets of parallel arrangements, so as to ensure that the supporting bracket 5 can be adapted to mobile phones of different sizes. Preferably, when the photographing device 4 is a video head, a video recorder, or the like, the holding bracket 5 may be replaced with a corresponding supporting and fixing structure, such as a pan/tilt head or the like. A base 6 is further provided between the clamp bracket 5 and the photographing rod 3, and the base 6 is provided on the rear side of the photographing rod 3 such that the front wall of the base 6 is disposed perpendicular to the photographing rod 3. A groove 61 is formed in the middle of the bottom wall of the base station 6, and a through hole is formed in the inner wall of one side of the groove 61, so that the through hole penetrates through the outer side wall of the base station 6 on the same side, and a threaded hole is formed in the inner wall of the other side of the groove 61. The rear end of the shooting rod 3 is fixedly connected with a rotating column 31 which is vertical to the shooting rod 3 in the groove 61, and the rotating column 31 is of a hollow column structure with two open ends. And a screw 7 is arranged outside the through hole, so that the screw 7 sequentially passes through the through hole and the rotating column 31 and is in threaded connection with the threaded hole, and the base 6 rotates up and down under the action of the rotating column 31 and can be screwed by the screw 7. Wherein, the lower clamping plate 51 of the clamping bracket 5 is rotatably connected on the top wall of the base 6, so that the supporting bracket 5 can be adjusted by rotating along the horizontal direction on the base 6. Preferably, a knob 71 is fixed to the outer end of the screw 7 outside the through hole to facilitate manual rotation of the screw 7.
The specific operation process is as follows:
when in shooting, the handle 11 is held by the left hand, the front end of the shooting rod 3 is close to the collected object, the photographic equipment 4 is rotated to the left and the right of the collected object to respectively take a picture, and a stereo picture is obtained after post-washing and drying, or the photographic equipment 4 is rotated to the other side of the collected object at a slow speed in a video recording mode, and the obtained video is the stereo video effect after post-washing and drying.
The utility model discloses a set up and turn to the unit and shoot with video-corder the unit, will shoot 3 levels of pole and set up in bottom plate 1 top, make the directional quilt of front end of bottom plate 1 gather the object, utilize the setting of switching piece 2, can be under the circumstances that bottom plate 1 keeps motionless, make and shoot pole 3 under the effect of switching piece 2, rotate about in the horizontal direction, thereby make photography equipment 4 constitute in the both sides of gathering the fixed point respectively and gather the basic point, and make two gather the basic point and gather the stereo image collection region that constitutes "V" font between the fixed point, and then need not the stereotech of professional design and manufacturing, can shoot out the stereo image, the production cost is reduced, and simple structure, convenient operation, make the stereo image shoot with video-corder the device can get into mass market field fast.
Although the invention has been described in detail with respect to the general description and the specific embodiments, it will be apparent to those skilled in the art that modifications and improvements can be made based on the invention. Therefore, such modifications and improvements are intended to be within the scope of the invention as claimed.

Claims (6)

1.一种立体图像摄录装置,其特征在于:所述立体图像摄录装置包括转向单元和摄录单元,所述转向单元包括底板和转接块,所述底板平行于地面设置,并取被采集物体的位置设为采集定点,以所述底板的前端指向采集定点,所述转接块转动连接在底板前端的顶面上,所述摄录单元包括拍摄杆和摄影设备,所述拍摄杆平行设置于底板的上方,且拍摄杆的一端连接于转接块上,另一端于底板的后侧连接有夹持支架,所述摄影设备夹持固定于夹持支架内,且摄影设备的后置摄像头朝向采集定点,以所述摄影设备在转接块的水平转动下,分别于采集定点的两侧构成采集基点,使两个采集基点和采集定点之间构成“V”字形的立体图像采集区域。1. A stereoscopic image recording device, characterized in that: the stereoscopic image recording device comprises a steering unit and a recording unit, the steering unit comprises a base plate and an adapter block, and the base plate is arranged parallel to the ground, and takes the The position of the object to be collected is set as the collection point, with the front end of the base plate pointing to the collection point, the adapter block is rotatably connected to the top surface of the front end of the base plate, the recording unit includes a shooting rod and a photographing device, the shooting The rod is arranged in parallel above the bottom plate, and one end of the shooting rod is connected to the adapter block, and the other end is connected to the rear side of the bottom plate with a clamping bracket, the photographing equipment is clamped and fixed in the clamping bracket, and the photographic equipment is clamped and fixed in the clamping bracket. The rear camera faces the collection point, and the photographing device is rotated horizontally by the adapter block to form collection base points on both sides of the collection point, so that a “V”-shaped stereo image is formed between the two collection base points and the collection point. collection area. 2.根据权利要求1所述的一种立体图像摄录装置,其特征在于:所述底板的底部固接有把手,其中,所述把手为开口朝向底板底面的C型结构,且把手的一端固接于底板前端的底面上,把手的另一端固接于底板后端的底面上。2 . The stereoscopic image recording device according to claim 1 , wherein a handle is fixedly connected to the bottom of the bottom plate, wherein the handle is a C-shaped structure with an opening facing the bottom surface of the bottom plate, and one end of the handle is in a C-shaped structure. 3 . The handle is fixed on the bottom surface of the front end of the base plate, and the other end of the handle is fixed on the bottom surface of the rear end of the base plate. 3.根据权利要求1所述的一种立体图像摄录装置,其特征在于:所述夹持支架呈开口朝向底板后侧的C型结构,包括下夹板、上夹板以及连接在上夹板和下夹板之间的伸缩调节杆,所述上夹板水平设置在下夹板的上方,以所述上夹板和下夹板之间形成供摄影设备横向置入的夹持间隙,其中,所述伸缩调节杆设有平行设置的两组。3 . The stereoscopic image recording device according to claim 1 , wherein the clamping bracket has a C-shaped structure with an opening facing the rear side of the bottom plate, and comprises a lower clamping plate, an upper clamping plate, and a connection between the upper clamping plate and the lower clamping plate. 4 . A telescopic adjusting rod between the splints, the upper splint is horizontally arranged above the lower splint, and a clamping gap is formed between the upper splint and the lower splint for the lateral insertion of the photographic equipment, wherein the telescopic adjusting rod is provided with Two groups set in parallel. 4.根据权利要求3所述的一种立体图像摄录装置,其特征在于:所述夹持支架和拍摄杆之间设有基台,所述基台设置在拍摄杆的后侧,使基台的前壁垂直拍摄杆设置,在基台底壁的中部形成凹槽,且凹槽的一侧内壁上开设有通孔,以所述通孔贯穿至基台同侧的外侧壁,并在凹槽的另一侧内壁上开设有螺纹孔,所述拍摄杆的后端于凹槽内固接有垂直拍摄杆设置的转动柱,所述转动柱为两端开口的空心柱结构,所述通孔的外侧设有螺杆,以所述螺杆依次穿过通孔和转动柱,并螺纹连接在螺纹孔内,以所述基台上下转动,其中,所述夹持支架的下夹板转动连接在基台的顶壁上。4 . The stereoscopic image recording device according to claim 3 , wherein a base is arranged between the clamping bracket and the shooting rod, and the base is arranged on the rear side of the shooting rod, so that the base The front wall of the platform is arranged vertically with the shooting rod, and a groove is formed in the middle of the bottom wall of the base, and a through hole is opened on one inner wall of the groove, and the through hole penetrates to the outer side wall of the same side of the base, and is located at the same side of the base. The inner wall of the other side of the groove is provided with a threaded hole, the rear end of the shooting rod is fixed in the groove with a rotating column arranged perpendicular to the shooting rod, and the rotating column is a hollow column structure with openings at both ends. The outer side of the through hole is provided with a screw rod, and the screw rod passes through the through hole and the rotating column in sequence, and is threadedly connected in the threaded hole, and the base is rotated up and down, wherein the lower plate of the clamping bracket is rotatably connected to the on the top wall of the base. 5.根据权利要求4所述的一种立体图像摄录装置,其特征在于:所述螺杆的外端于通孔的外侧固接有旋钮。5 . The stereoscopic image recording device according to claim 4 , wherein a knob is fixedly connected to the outer end of the screw rod on the outer side of the through hole. 6 . 6.根据权利要求1所述的一种立体图像摄录装置,其特征在于:所述拍摄杆为伸缩杆结构。6 . The stereoscopic image recording device according to claim 1 , wherein the shooting rod is a telescopic rod structure. 7 .
CN202120644292.8U 2021-03-30 2021-03-30 A stereoscopic image recording device Expired - Fee Related CN214591764U (en)

Priority Applications (1)

Application Number Priority Date Filing Date Title
CN202120644292.8U CN214591764U (en) 2021-03-30 2021-03-30 A stereoscopic image recording device

Applications Claiming Priority (1)

Application Number Priority Date Filing Date Title
CN202120644292.8U CN214591764U (en) 2021-03-30 2021-03-30 A stereoscopic image recording device

Publications (1)

Publication Number Publication Date
CN214591764U true CN214591764U (en) 2021-11-02

Family

ID=78322451

Family Applications (1)

Application Number Title Priority Date Filing Date
CN202120644292.8U Expired - Fee Related CN214591764U (en) 2021-03-30 2021-03-30 A stereoscopic image recording device

Country Status (1)

Country Link
CN (1) CN214591764U (en)

Cited By (1)

* Cited by examiner, † Cited by third party
Publication number Priority date Publication date Assignee Title
CN114727086A (en) * 2022-04-29 2022-07-08 临沂中科英泰智能科技有限责任公司 Image data processing method and system

Cited By (1)

* Cited by examiner, † Cited by third party
Publication number Priority date Publication date Assignee Title
CN114727086A (en) * 2022-04-29 2022-07-08 临沂中科英泰智能科技有限责任公司 Image data processing method and system

Similar Documents

Publication Publication Date Title
CN204852863U (en) From rapping bar
CN214591764U (en) A stereoscopic image recording device
KR101297835B1 (en) Camera fixing rig for three-dimensional image photographing
CN205261179U (en) Microphone is from rapping bar
CN108833807A (en) A kind of panoramic shooting camera lens
CN205792939U (en) Pisces Eye imaging device for panoramic camera
CN209201177U (en) A kind of photographic equipment of competitive sports
CN217279100U (en) Portable microscope image collector
CN212338654U (en) Portable real estate landscape feature acquisition and extraction processing equipment
CN206694758U (en) Efficient data shooting frame
CN214281551U (en) Three-dimensional video shooting device
CN210894939U (en) An optical anti-shake coil
CN207848899U (en) A kind of Multifunction video camera for computer
CN207848818U (en) Camera horizontal turning adjusting device is used inside mirror image photo exhibition booth
CN221825069U (en) Telescopic structure of conference camera
CN221728423U (en) Shoulder-mounted video recording device
CN211402886U (en) Optical lens with good protection performance
CN216768882U (en) Balance stabilizer for photography and camera shooting
CN221704953U (en) 360-Degree VR camera capable of performing real-time image processing
CN220930709U (en) Camera convenient to use
CN212510206U (en) Rectangle tripod convenient to accomodate
CN223207190U (en) Outdoor scene delay photographic camera for indoor window
CN212628121U (en) Device for picture matting and background replacement in exhibition hall
CN217463773U (en) A portable photogrammetry device
CN204836284U (en) Cell phone stand that microscopic examination image was shot is exclusively used in

Legal Events

Date Code Title Description
GR01 Patent grant
GR01 Patent grant
CF01 Termination of patent right due to non-payment of annual fee
CF01 Termination of patent right due to non-payment of annual fee

Granted publication date: 20211102