CN214570004U - A large generator assembly auxiliary device - Google Patents

A large generator assembly auxiliary device Download PDF

Info

Publication number
CN214570004U
CN214570004U CN202022734763.2U CN202022734763U CN214570004U CN 214570004 U CN214570004 U CN 214570004U CN 202022734763 U CN202022734763 U CN 202022734763U CN 214570004 U CN214570004 U CN 214570004U
Authority
CN
China
Prior art keywords
plate
sliding
fixedly connected
groove
fixed
Prior art date
Legal status (The legal status is an assumption and is not a legal conclusion. Google has not performed a legal analysis and makes no representation as to the accuracy of the status listed.)
Expired - Fee Related
Application number
CN202022734763.2U
Other languages
Chinese (zh)
Inventor
王浩东
Current Assignee (The listed assignees may be inaccurate. Google has not performed a legal analysis and makes no representation or warranty as to the accuracy of the list.)
PowerChina Ningxia Engineering Corp Ltd
Original Assignee
PowerChina Ningxia Engineering Corp Ltd
Priority date (The priority date is an assumption and is not a legal conclusion. Google has not performed a legal analysis and makes no representation as to the accuracy of the date listed.)
Filing date
Publication date
Application filed by PowerChina Ningxia Engineering Corp Ltd filed Critical PowerChina Ningxia Engineering Corp Ltd
Priority to CN202022734763.2U priority Critical patent/CN214570004U/en
Application granted granted Critical
Publication of CN214570004U publication Critical patent/CN214570004U/en
Expired - Fee Related legal-status Critical Current
Anticipated expiration legal-status Critical

Links

Images

Landscapes

  • Connection Of Motors, Electrical Generators, Mechanical Devices, And The Like (AREA)

Abstract

本实用新型公开了一种大型发电机装配辅助装置,包括安装底板,所述安装底板的内部设置有卡接装置,所述卡接装置包括固定槽和固定板,所述固定槽内壁的一侧转动连接有正反螺纹杆,两个所述正反螺纹杆的表面啮合连接有螺纹块,所述螺纹块的底部固定连接有滑块,所述滑块的表面与固定槽的底部滑动连接,所述滑块的一侧固定连接有插板。本实用新型利用设置通过安装底板、固定板,滚轮方便移动安装底板,通过移动安装底板方便快速移动到吊机起吊电机组件的位置,通过设置卡接装置、调节装置方便对移动的底板进行角度的调节,从而安装底板可以方便不同方向的移动,同时方便对固定板和滚轮的快速拆卸和维修。

Figure 202022734763

The utility model discloses an auxiliary device for assembling a large generator, which comprises an installation base plate, a clamping device is arranged inside the installation base plate, the clamping device comprises a fixing groove and a fixing plate, one side of the inner wall of the fixing groove is The front and back threaded rods are rotatably connected, the surfaces of the two front and back threaded rods are engaged with a threaded block, the bottom of the threaded block is fixedly connected with a slider, and the surface of the slider is slidably connected with the bottom of the fixing groove, One side of the sliding block is fixedly connected with a plug board. The utility model utilizes the installation base plate, the fixed plate, the rollers to facilitate the movement of the installation base plate, the convenient and rapid movement of the installation base plate to the position where the hoist lifts the motor assembly, and the installation of the clamping device and the adjustment device to facilitate the angle adjustment of the moving base plate. Adjustment, so that the bottom plate can be installed to facilitate the movement in different directions, and at the same time, it is convenient to quickly disassemble and repair the fixed plate and the roller.

Figure 202022734763

Description

Large-scale generator assembly auxiliary device
Technical Field
The utility model relates to a large-scale generator technical field specifically is a large-scale generator assembly auxiliary device.
Background
The power generation rate of a general large generator is more than 100kw, and the maximum power generation rate can be tens of thousands of kilowatts. The generator is mechanical equipment for converting energy in other forms into electric energy, and is driven by a water turbine, a steam turbine, a diesel engine or other power machines, and converts energy generated by water flow, air flow, fuel combustion or nuclear fission into mechanical energy to be transmitted to the generator, and then the mechanical energy is converted into electric energy by the generator.
The existing large generator is large in size and troublesome to assemble, all parts of the generator are assembled by using the base plate generally, the common base plate does not have a moving function, and the working efficiency is greatly reduced by manual calibration when each part of the motor is lifted by a crane, so that time and labor are wasted.
SUMMERY OF THE UTILITY MODEL
An object of the utility model is to provide a large-scale generator assembly auxiliary device to solve the problem that proposes among the above-mentioned background art.
In order to achieve the above object, the utility model provides a following technical scheme: an assembly auxiliary device of a large-scale generator comprises an installation bottom plate, wherein a clamping device is arranged in the installation bottom plate and comprises a fixed groove and a fixed plate, one side of the inner wall of the fixed groove is rotatably connected with a positive and negative threaded rod, the surfaces of the two positive and negative threaded rods are meshed with a threaded block, the bottom of the threaded block is fixedly connected with a sliding block, the surface of the sliding block is in sliding connection with the bottom of the fixed groove, one side of the sliding block is fixedly connected with an inserting plate, slots are formed in two sides of the fixed plate, the bottom of the fixed plate is rotatably connected with a roller, the inserting plate sequentially penetrates through one side of the fixed plate and extends into the slots, one side of the positive and negative threaded rod penetrates through one side of the inner wall of the fixed groove, one side of the positive and negative threaded rod is fixedly connected with a servo motor, and an axis center of the top of the installation bottom plate is provided with an adjusting device, the bottom of the mounting bottom plate is fixedly connected with a fixing block.
Preferably, the bottom of slide is provided with branch, the bottom of hollow inslot wall is run through to one side of branch, the spring has been cup jointed to the bottom of branch, the bottom fixed connection of the inside of one end and the mounting plate of spring.
Preferably, the bottom of the supporting rod is rotatably connected with a pressing plate.
Preferably, a second chute is formed in one side of the hollow groove, threaded rods are rotatably connected to two sides of the inner wall of the second chute, the surface of each threaded rod is in threaded connection with one side of the sliding plate, and a first bevel gear is fixedly connected to the surface of the bottom of each threaded rod.
Preferably, the surface of the first bevel gear is engaged with a second bevel gear, one side of the second bevel gear is fixedly connected with a motor, one side of the motor is fixedly connected with a motor box, and one side of the motor box is fixedly connected with one side of the hollow groove.
Compared with the prior art, the beneficial effects of the utility model are that: the utility model discloses the setting is through mounting plate, fixed plate, and the gyro wheel is convenient to remove mounting plate, through removing the position that mounting plate made things convenient for the quick travel to hoist motor assembly, through setting up clamping device, adjusting device convenience and carrying out the regulation of angle to the bottom plate that removes to mounting plate can make things convenient for not equidirectional removal, convenient quick dismantlement and the maintenance to fixed plate and gyro wheel simultaneously.
Drawings
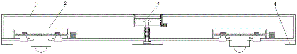
FIG. 1 is a schematic view of the overall cross-sectional structure of the present invention;
FIG. 2 is a bottom sectional view of the present invention;
FIG. 3 is a schematic view of the internal structure of the adjusting device of the present invention;
fig. 4 is a schematic structural view of the latch device of the present invention.
In the figure: 1. mounting a bottom plate; 2. a clamping device; 21. fixing grooves; 22. a positive and negative threaded rod; 23. a thread block; 24. a slider; 25. inserting plates; 26. a slot; 27. a fixing plate; 28. a roller; 29. a servo motor; 3. an adjustment device; 31. a hollow groove; 32. a first chute; 33. a slide bar; 34. a slide plate; 35. a strut; 36. a spring; 37. pressing a plate; 38. a second chute; 39. a threaded rod; 310. a first bevel gear; 311. a second bevel gear; 312. a motor; 313. a motor case; 4. and (5) fixing blocks.
Detailed Description
The technical solutions in the embodiments of the present invention will be described clearly and completely with reference to the accompanying drawings in the embodiments of the present invention, and it is obvious that the described embodiments are only some embodiments of the present invention, not all embodiments. Based on the embodiments in the present invention, all other embodiments obtained by a person skilled in the art without creative work belong to the protection scope of the present invention.
Referring to fig. 1-4, the present invention provides an embodiment:
the utility model provides a large-scale generator assembly auxiliary device, includes mounting plate 1, mounting plate 1's inside is provided with latch device 2, latch device 2 includes fixed slot 21 and fixed plate 27, one side of fixed slot 21 inner wall is rotated and is connected with positive reverse threaded rod 22, two the surface meshing of positive reverse threaded rod 22 is connected with thread block 23, the bottom fixedly connected with slider 24 of thread block 23, the surface of slider 24 and the bottom sliding connection of fixed slot 21, one side fixedly connected with picture peg 25 of slider 24, slot 26 has all been seted up to the both sides of fixed plate 27, the bottom of fixed plate 27 is rotated and is connected with gyro wheel 28, picture peg 25 run through in proper order in one side of fixed plate 27 and extend to the inside of slot 26, one side of positive reverse threaded rod 22 runs through one side with fixed slot 21 inner wall, one side fixedly connected with servo motor 29 of positive reverse threaded rod 22, the middle axle center department in the top of mounting plate 1 is provided with adjusting device 3, the bottom fixedly connected with fixed block 4 of mounting plate 1.
The bottom of the fixing groove 21 is provided with a groove for mounting the fixing plate 27, and the surface threads of the positive and negative threaded rod 22 extend from the middle to opposite threads.
In this embodiment, the bottom of the sliding plate 34 is provided with a supporting rod 35, one side of the supporting rod 35 penetrates through the bottom of the inner wall of the hollow groove 31, the bottom of the supporting rod 35 is sleeved with a spring 36, and one end of the spring 36 is fixedly connected with the bottom of the inside of the installation bottom plate 1.
The supporting rod 35 penetrates through the top of the mounting base plate 1, and one end of the spring 36 is fixedly connected with the bottom of the hollow groove 31.
In this embodiment, a pressing plate 37 is rotatably connected to the bottom of the supporting rod 35.
In this embodiment, a second sliding groove 38 is formed in one side of the hollow groove 31, a threaded rod 39 is rotatably connected to two sides of an inner wall of the second sliding groove 38, a surface of the threaded rod 39 is in threaded connection with one side of the sliding plate 34, and a first bevel gear 310 is fixedly connected to a surface of a bottom of the threaded rod 39.
The top and bottom of the inner wall of the second chute 38 are rotatably connected to both sides of the threaded rod 39.
In this embodiment, a second bevel gear 311 is engaged with a surface of the first bevel gear 310, a motor 312 is fixedly connected to one side of the second bevel gear, a motor box 313 is fixedly connected to one side of the motor 312, and one side of the motor box 313 is fixedly connected to one side of the hollow groove 31.
The output end of the motor 312 penetrates through one side of the second sliding chute 38 and extends into the second sliding chute, and the threaded rod 39 penetrates through the top middle axis of the first bevel gear 310 and fixedly connects with the surface.
The working principle is as follows: the fixing plate 27 is fixed at the bottom of the bottom plate 1 in advance, before that, the servo motor 29 is rotated to drive the output end to rotate the positive and negative threaded rod 22 which is fixedly connected with the positive and negative threaded rod 22, so that one side of the positive and negative threaded rod 22 is rotated to be connected with one side of the inner wall of the fixing groove 21, the two thread blocks 23 which are in threaded connection with the surfaces of the positive and negative threaded rod 22 are rotated to move oppositely, so that the sliding block 24 which is fixedly connected with the bottom of the thread block 23 slides along the bottom of the fixing groove 21, the inserting plate 25 which is fixedly connected with one side is driven to move by the movement of the sliding block 24, and the inserting plate 25 is moved to clamp the inside of the inserting groove 26, so that the fixing plate 27 is fixed.
When the installation bottom plate 1 needs to turn by moving through the roller 28 arranged at the bottom, the adjusting device 3 arranged in the installation bottom plate 1 rotates through the motor box 313 included by the adjusting device 3, the motor 312 fixedly connected with one side of the inner wall of the motor box 313 rotates through the output end of the motor 312, the second bevel gear 311 fixedly connected with one side of the motor box rotates through the rotation of the output end of the motor 312, the first bevel gear 310 connected with surface meshing rotates through the rotation of the second bevel gear 311, the threaded rod 39 fixedly connected with the inner surface rotates along the top and the bottom of the inner wall of the second sliding chute 38 arranged at the right side of the hollow groove 31 through the rotation of the first bevel gear 310, the sliding plate 34 connected with the thread at one side of the surface slides along the two sides of the inner wall of the hollow groove 31 through the rotation of the threaded rod 39, and the support rod 35 fixedly connected with the bottom is driven to move through one side of the installation bottom plate 1 through the movement of the sliding plate 34, the spring 36 sleeved on the surface of the supporting rod 35 is stretched by force, and the pressing plate 37 rotatably connected to the bottom of the supporting rod 35 is moved by the movement of the supporting rod, so that the pressing plate 37 supports the installation base plate 1, and the installation base plate 1 is rotated to adjust the angle.
Although the present invention has been described in detail with reference to the foregoing embodiments, it will be apparent to those skilled in the art that modifications may be made to the embodiments or portions thereof without departing from the spirit and scope of the invention.

Claims (6)

1. The utility model provides a large-scale generator assembly auxiliary device, includes mounting plate, its characterized in that: the inside of the mounting bottom plate is provided with a clamping device which comprises a fixed groove and a fixed plate, one side of the inner wall of the fixed groove is rotationally connected with a positive and negative threaded rod, the surfaces of the two positive and negative threaded rods are engaged and connected with a threaded block, the bottom of the thread block is fixedly connected with a sliding block, the surface of the sliding block is connected with the bottom of the fixed groove in a sliding way, one side of the sliding block is fixedly connected with an inserting plate, the two sides of the fixed plate are both provided with inserting grooves, the bottom of the fixed plate is rotatably connected with a roller, the inserting plate sequentially penetrates through one side of the fixing plate and extends into the slot, one side of the positive and negative threaded rod penetrates through one side of the inner wall of the fixing slot, one side fixedly connected with servo motor of positive and negative threaded rod, axle center department is provided with adjusting device in the middle of mounting plate's the top, mounting plate's bottom fixedly connected with fixed block.
2. A large scale generator assembly auxiliary device according to claim 1, characterized in that: the adjusting device comprises a hollow groove, a first sliding groove is formed in one side of the hollow groove, sliding rods are rotatably connected to two sides of the inner wall of the first sliding groove, and sliding plates are slidably connected to the surfaces of the sliding rods.
3. A large scale generator assembly auxiliary device according to claim 2, characterized in that: the bottom of slide is provided with branch, the bottom of hollow inslot wall is run through to one side of branch, the spring has been cup jointed to the bottom of branch, the bottom fixed connection of the one end of spring and the inside of mounting plate.
4. A large scale generator assembly auxiliary device according to claim 3, wherein: the bottom of the supporting rod is rotatably connected with a pressing plate.
5. A large scale generator assembly auxiliary device according to claim 2, characterized in that: the sliding plate is characterized in that a second sliding groove is formed in one side of the hollow groove, threaded rods are rotatably connected to two sides of the inner wall of the second sliding groove, the surface of each threaded rod is in threaded connection with one side of the sliding plate, and a first bevel gear is fixedly connected to the surface of the bottom of each threaded rod.
6. A large scale generator assembly auxiliary device according to claim 5, characterized in that: the surface meshing of first conical gear is connected with second conical gear, one side fixedly connected with motor of second conical gear, one side fixedly connected with motor case of motor, one side of motor case and one side fixed connection of hollow groove.
CN202022734763.2U 2020-11-24 2020-11-24 A large generator assembly auxiliary device Expired - Fee Related CN214570004U (en)

Priority Applications (1)

Application Number Priority Date Filing Date Title
CN202022734763.2U CN214570004U (en) 2020-11-24 2020-11-24 A large generator assembly auxiliary device

Applications Claiming Priority (1)

Application Number Priority Date Filing Date Title
CN202022734763.2U CN214570004U (en) 2020-11-24 2020-11-24 A large generator assembly auxiliary device

Publications (1)

Publication Number Publication Date
CN214570004U true CN214570004U (en) 2021-11-02

Family

ID=78358841

Family Applications (1)

Application Number Title Priority Date Filing Date
CN202022734763.2U Expired - Fee Related CN214570004U (en) 2020-11-24 2020-11-24 A large generator assembly auxiliary device

Country Status (1)

Country Link
CN (1) CN214570004U (en)

Similar Documents

Publication Publication Date Title
CN208842233U (en) A kind of new-energy automobile solar panels of adjustable-angle
CN108933562B (en) A kind of solar energy equipment that lighting angle can be adjusted automatically by guide rail
CN205725591U (en) A kind of adjustable photovoltaic generating support
CN112803649B (en) Hydraulic power generation device convenient to maintain and maintenance method thereof
CN214570004U (en) A large generator assembly auxiliary device
CN213305327U (en) Photovoltaic board fixed bolster for photovoltaic power plant
CN221639660U (en) Photovoltaic frame automatic processing equipment
CN221436323U (en) Positioning fixture for photovoltaic support assembly
CN203708179U (en) Photovoltaic panel sun orientation power generation device
CN219212637U (en) Carbon brush grinding device for large-scale generator set
CN218041295U (en) A structure of a solar photovoltaic module angle
CN214014171U (en) A solar panel mounting bracket
CN213937680U (en) Power plant motor overhauls equipment convenient to operation
CN221779573U (en) Wind power generation and energy storage device
CN222831699U (en) A wind turbine nacelle iron plate pre-embedded positioning tool
CN216437122U (en) Solar cell module with steering function
CN222521055U (en) A positioning fixture for maintenance of hydroelectric power generation equipment
CN220678892U (en) Photovoltaic module dust collector
CN221227425U (en) Photovoltaic panel fixing device for photovoltaic power generation
CN216866893U (en) A wind turbine blade fixing mechanism
CN221799977U (en) Bidirectional power generation device utilizing tidal energy
CN221688601U (en) A battery tracking device that is easy to install and disassemble
CN222154462U (en) Welding base for new energy equipment
CN222868757U (en) Generator overhauls frock
CN219611683U (en) Maintainable photovoltaic solar tracker

Legal Events

Date Code Title Description
GR01 Patent grant
GR01 Patent grant
CF01 Termination of patent right due to non-payment of annual fee

Granted publication date: 20211102