CN214541785U - 一种变压器防爆防火灭火保护装置 - Google Patents

一种变压器防爆防火灭火保护装置 Download PDF

Info

Publication number
CN214541785U
CN214541785U CN202120279251.3U CN202120279251U CN214541785U CN 214541785 U CN214541785 U CN 214541785U CN 202120279251 U CN202120279251 U CN 202120279251U CN 214541785 U CN214541785 U CN 214541785U
Authority
CN
China
Prior art keywords
explosion
pressure relief
proof
transformer
valve
Prior art date
Legal status (The legal status is an assumption and is not a legal conclusion. Google has not performed a legal analysis and makes no representation as to the accuracy of the status listed.)
Active
Application number
CN202120279251.3U
Other languages
English (en)
Inventor
朱述友
李童
周贤武
Current Assignee (The listed assignees may be inaccurate. Google has not performed a legal analysis and makes no representation or warranty as to the accuracy of the list.)
Beijing Zhongruihe Electrical Co ltd
Original Assignee
Beijing Zhongruihe Electrical Co ltd
Priority date (The priority date is an assumption and is not a legal conclusion. Google has not performed a legal analysis and makes no representation as to the accuracy of the date listed.)
Filing date
Publication date
Application filed by Beijing Zhongruihe Electrical Co ltd filed Critical Beijing Zhongruihe Electrical Co ltd
Priority to CN202120279251.3U priority Critical patent/CN214541785U/zh
Application granted granted Critical
Publication of CN214541785U publication Critical patent/CN214541785U/zh
Active legal-status Critical Current
Anticipated expiration legal-status Critical

Links

Images

Landscapes

  • Housings And Mounting Of Transformers (AREA)

Abstract

本实用新型提供了一种变压器防爆防火灭火保护装置,包括油气分离罐、防爆泄压装置和注氮装置;变压器上设有若干所述防爆泄压装置;所述防爆泄压装置通过排气管路与所述油气分离罐的进气口相连,所述防爆泄压装置通过排油管路与所述油气分离罐的进油口相连,所述油气分离罐的排气口设有空气隔离阀;所述注氮装置通过注氮管路与所述变压器相连。本实用新型密封性能更好、耐真空度更高、压力控制更精准、使用寿命更长、流通面积更大而且可以更灵敏更快捷地监测爆破片的工作状态,传出信号所需的时间更短,且不会对流体产生阻力,相比传统形式的膜片报警器更有利于高速泄压。

Description

一种变压器防爆防火灭火保护装置
技术领域
本实用新型涉及防爆防火技术领域,尤其是涉及一种变压器防爆防火灭火保护装置。
背景技术
大型油浸式变压器需要使用大量的绝缘材料和变压器油等可燃物,在遇到内部高能故障时,极易发生爆炸危险,同时大概率引发火灾。因此,必须对变压器进行防爆保护及消防保护。
国内外常用的防爆泄压装置就是使用压力释放阀。通常安装在变压器本体油箱及有载分接开关顶部。由于压力释放阀的泄压能力有限,近年来多次发生变压器爆炸事故。对变压器爆炸事故进行统计分析,会发现这些发生爆炸事故的变压器均安装有压力释放阀,这足以说明压力释放阀的泄放能力不足以应对变压器的高能量故障,只能释放压力增速不高的一些小能量故障,而且高压套管升高座往往是事故发生率较高的地方,然而套管升高座上却没有任何防爆保护措施。
变压器消防方面,通常采用固定式水喷雾灭火系统、排油注氮灭火系统、泡沫喷雾灭火系统等。水喷雾灭火系统用水量较大,对消防水源的保障性要求高,一般需要设置较大容量的消防水池和大流量的消防水泵。并且系统投入运行后,需要系统始终处于良好的状态,水泵、电动阀门必须运转灵活、开启自如、关闭严密。泡沫喷雾灭火系统的不足之处在于采用的合成泡沫灭火剂使用有效期较短:一般普通型产品检定的有效期为3年,即便是价格较高的长效型的SP合成泡沫,其有效期也只有5~8年。因此需要定期更换泡沫灭火剂。以上两种灭火系统都属于被动型灭火系统,只能等到火灾真正发生后,才能进行灭火。
实用新型内容
本实用新型的目的在于提供一种变压器防爆防火灭火保护装置,该变压器防爆防火灭火保护装置能够对变压器进行全面防爆保护,也能实现防火灭火功能的保护方案;
本实用新型提供一种变压器防爆防火灭火保护装置,包括断流阀、油气分离罐、防爆泄压装置和注氮装置;所述断流阀安装于变压器的油枕和瓦斯继电器之间;所述变压器上设有若干所述防爆泄压装置,所述防爆泄压装置分别与变压器的主油箱、有载分接开关和套管升高座相连;所述防爆泄压装置通过排气管路与所述油气分离罐的进气口相连,所述防爆泄压装置通过排油管路与所述油气分离罐的进油口相连,所述油气分离罐的排气口设有空气隔离阀;所述注氮装置通过注氮管路与所述主油箱、所述有载分接开关和所述套管升高座相连。
进一步地,所述变压器的主油箱的顶部和侧面设有一个或多个主油箱泄压口,所述变压器的每个套管升高座上设有升高座泄压口,所述主油箱泄压口和所述升高座泄压口为锥形口或直管形口,所述变压器的有载分接开关上设有压力释放口,所述防爆泄压装置的进油口分别连接在所述主油箱泄压口、所述升高座泄压口和所述有载分接开关的压力释放口上。
进一步地,所述防爆泄压装置包括阀膜组合式防爆泄压装置、膜片式防爆泄压装置和三通式防爆泄压装置;所述阀膜组合式防爆泄压装置的进油口与所述主油箱泄压口或有载分接开关压力释放口相连;所述膜片式防爆泄压装置的进油口与所述升高座泄压口相连;所述三通式防爆泄压装置的进油口与所述有载分接开关压力释放口相连;所述阀膜组合式防爆泄压装置、所述膜片式防爆泄压装置和所述三通式防爆泄压装置的排油口分别与所述排油管路相连;所述阀膜组合式防爆泄压装置的排气口与所述排气管路相连。
进一步地,所述膜片式防爆泄压装置包括刀闸阀、减压舱和膜片防爆装置,所述刀闸阀和所述减压舱相连,所述刀闸阀和所述减压舱之间设有所述膜片防爆装置。
进一步地,所述膜片防爆装置包括反拱形爆破膜片、膜片状态监测装置、报警信号发射器和夹持器,所述膜片状态监测装置和所述反拱形爆破膜片固定连接,所述夹持器由夹持片连接板、膜片密封圈、进口侧夹持片和泄压侧夹持片组成,所述反拱形爆破膜片和所述膜片状态监测装置位于所述进口侧夹持片和所述泄压侧夹持片之间,所述密封圈位于所述反拱形爆破膜片和进口侧夹持器之间,所述进口侧夹持片和所述泄压侧夹持片通过所述夹持片连接板固定连接,所述膜片状态监测装置与所述报警信号发射器电性连接。
进一步地,所述反拱形爆破膜片包括外层密封膜、中层密封膜和内层爆破片,所述外层密封膜、所述中层密封膜和所述内层爆破片均为拱形结构,所述中层密封膜嵌套在所述外层密封膜内,所述内层爆破片嵌套在所述中层密封膜内,所述外层密封膜、所述中层密封膜和所述内层爆破片固定连接,所述内层爆破片的拱面上切割出鳄齿以及若干个支撑桥段。
进一步地,所述膜片状态监测装置包括柔性电路、背胶、信号引线和引线接头安装座,所述柔性电路与所述反拱形爆破膜片通过所述背胶粘接,所述泄压侧夹持片上设有密封塞,所述密封塞设有所述信号引线,所述信号引线穿过所述密封塞与所述柔性电路相连,所述防爆泄压装置的外壁设有所述引线接头安装座,所述引线接头安装座的一端设有软管接头,所述信号引线贯穿所述引线接头安装座和所述软管接头与所述引线接头安装座相连。
进一步地,所述注氮装置包括氮气储存柜和注氮管路,所述注氮管路的最高处设有放气阀,所述注氮管路的一端与所述氮气储存柜相连,所述注氮管路的另一端分成主油箱支路和有载分接开关支路,所述主油箱支路和所述有载分接开关支路上分别设有单向阀,所述主油箱支路分别与所述变压器的主油箱的注氮口和所述变压器的套管升高座的注氮口相连,所述有载分接开关支路与所述变压器的有载分接开关上增设的有载分接开关注氮口相连,所述有载分接开关支路与所述有载分接开关之间设有注氮隔离阀。
进一步地,所述氮气储存柜内设有氮气瓶组、氮气释放阀、四合一组合阀和氮气输出接口,所述氮气瓶组的出口与所述氮气释放阀相连,所述氮气释放阀的进口侧安装有电接点压力表,所述氮气释放阀的出口侧安装有氮气减压阀,所述氮气减压阀的出口通过高压软管连接到所述四合一组合阀,所述四合一阀的出口通过氮气输出接口与注氮管路相连,所述氮气储存柜的下部设有温湿度传感器、加热器和用于与控制系统连线的端子排,所述端子排与所述温湿度传感器、所述加热器和所述氮气释放阀电性连接。
进一步地,还包括控制柜,所述控制柜内设有所述控制系统,所述控制系统包括PLC、触控屏、指示灯、试灯按钮、消音按钮、紧急启动按钮、转换开关、端子排和连接电线,所述控制系统与所述端子排电性连接。
本实用新型的技术方案通过反拱形膜片作为主要密封元件,极大地提高了膜片的密封性能,通过安装防爆装置对主油箱、套管升高座和有载分接开关进行有效地保护,在油枕与主油箱的管路上安装断流阀,可在油枕向主油箱大量补油时自动关闭,切断补油通路,防止“火上浇油”,注氮灭火属于主动型消防方式,通过采集变压器的运行状况,满足启动条件时对变压器进行注氮,可以同时实现防火、灭火功能,符合“以防为主,防消结合”的思想。
附图说明
为了更清楚地说明本实用新型具体实施方式或现有技术中的技术方案,下面将对具体实施方式或现有技术描述中所需要使用的附图作简单地介绍,显而易见地,下面描述中的附图是本实用新型的一些实施方式,对于本领域普通技术人员来讲,在不付出创造性劳动的前提下,还可以根据这些附图获得其他的附图。
图1为本实用新型的整体视图;
图2为油枕并列式油气分离罐的安装方式示意图;
图3为墙挂式油气分离罐的安装方式示意图;
图4为高架式油气分离罐的安装方式示意图;
图5为落地式油气分离罐的安装方式示意图;
图6为本实用新型的阀膜组合式泄压装置的主视图;
图7为本实用新型的阀膜组合式泄压装置的剖视图;
图8为本实用新型的三通式泄压装置的结构视图;
图9、图10和图11为三通式泄压装置可使用的三通类型;
图12和图13为本实用新型的膜片式泄压装置的结构视图;
图14为本实用新型的防爆装置的主视图;
图15为本实用新型的防爆装置的侧视图;
图16为本实用新型的防爆装置A-A位置的剖视图;
图17为本实用新型的法兰式防爆装置的主视图;
图18为本实用新型的法兰式防爆装置的侧视图;
图19为本实用新型的法兰式防爆装置B-B位置的剖视图;
图20为本实用新型的反拱形爆破膜片的结构视图;
图21为本实用新型的反拱形爆破膜片C-C位置的剖视图;
图22为本实用新型的反拱形爆破膜片位置Ⅰ的局部放大视图;
图23为本实用新型的反拱形爆破膜片位置Ⅱ的局部放大视图;
图24为本实用新型的有载分接开关处的结构视图;
图25为本实用新型的套管升高座处的结构视图;
图26为氮气储存柜的结构视图;
图27为氮气释放阀的结构视图;
图28为四合一组合阀的主视图;
图29为四合一组合阀的侧视图;
图30为四合一组合阀的俯视图;
图31为控制柜的外形图;
图32为控制箱的外形图;
图33为氮气注入的逻辑图;
附图标记说明:
1-外层密封膜、2-中层密封膜、3-内层爆破片、301鳄齿、302桥段、4-柔性电路、5-背胶、6-接插件公头、7-接插件母头、8-信号线引线、9-密封胶、10-软管接头、11-泄压侧夹持片、1101-泄压侧法兰、12-进口侧夹持片、1201-进口侧法兰、1202-螺栓、13-膜片密封圈、14-夹持器连接板、15- 反拱形爆破膜片、16-电线固定夹、17-主油箱、18-高压侧套管升高座、19- 泄压接口、20-高压侧套管升高座防爆装置、21-断流阀、22-主油箱油枕、 23-排油管路、24-排气管路、25-油气分离罐、2501-进气口、2502-进油口、 2503-油气混合进口、2504-排气口、26-空气隔离阀、27-有载分接开关油枕、 28-瓦斯气体排放管道、29-主油箱防爆装置、30-有载分接开关防爆装置、 31-有载分接开关、32-低压侧套管升高座防爆装置、33-低压侧套管升高座、 34-排气口、35-排油口、36-安装口、37-膜片防爆装置、38-弹簧机构、39- 刀闸阀、40-垂直式减压舱、41-水平式减压舱、42-Y形三通、43-压力释放阀、44-U形三通、45-直角三通46-树杈形三通、47-减压舱、48-主油箱注氮口、49-套管升高座注氮口、50-主油箱注氮管、51-有载分接开关注氮口、52-有载分接开关注氮管、53-注氮管排气口、54-注氮管单向阀、55-氮气储存柜、56-氮气柜的防火墙、57-注氮隔离阀、58-有载分接开关注氮电磁阀、 59-柜门开关、60-四合一组合阀、61-温湿度传感器、62-端子排、63-加热器、 64-氮气输出接口、65-氮气释放阀、66-电接点压力表、67-氮气减压阀、68- 氮气瓶组、69-电磁驱动器、6901-氮气释放阀阀体、70-阀体、71-油气隔离阀、72-流量调节阀、73-信号反馈器、74-低泄高封阀、75-控制柜、7501- 控制箱;
具体实施方式
下面将结合实施例对本实用新型的技术方案进行清楚、完整地描述,显然,所描述的实施例是本实用新型一部分实施例,而不是全部的实施例。基于本实用新型中的实施例,本领域普通技术人员在没有做出创造性劳动前提下所获得的所有其他实施例,都属于本实用新型保护的范围。
在本实用新型的描述中,需要理解的是,术语"中心"、"纵向"、"横向"、 "长度"、"宽度"、"厚度"、"上"、"下"、"前"、"后"、"左"、"右"、"竖直"、" 水平"、"顶"、"底"、"内"、"外"、"顺时针"、"逆时针"等指示的方位或位置关系为基于附图所示的方位或位置关系,仅是为了便于描述本实用新型和简化描述,而不是指示或暗示所指的装置或元件必须具有特定的方位、以特定的方位构造和操作,因此不能理解为对本实用新型的限制。
此外,术语"第一"、"第二"仅用于描述目的,而不能理解为指示或暗示相对重要性或者隐含指明所指示的技术特征的数量。由此,限定有"第一"、 "第二"的特征可以明示或者隐含地包括一个或者更多个所述特征。在本实用新型的描述中,"多个"的含义是两个或两个以上,除非另有明确具体的限定。此外,术语“安装”、“相连”、“连接”应做广义理解,例如,可以是固定连接,也可以是可拆卸连接,或一体地连接;可以是机械连接,也可以是电连接;可以是直接相连,也可以通过中间媒介间接相连,可以是两个元件内部的连通。对于本领域的普通技术人员而言,可以具体情况理解上述术语在本实用新型中的具体含义。
如图1所示:
一种变压器防爆防火灭火保护装置,包括断流阀21、油气分离罐25、防爆泄压装置和注氮装置;断流阀21安装于变压器的油枕22和瓦斯继电器之间,当主油箱17大量排油引起油枕22大量补油时,断流阀21会自动关闭,切断油枕22与主油箱17的油路;变压器上设有若干所述防爆泄压装置;所述防爆泄压装置通过排气管路24与所述油气分离罐的进气口2501 相连,所述防爆泄压装置通过排油管路23与所述油气分离罐的进油口2502 相连,所述油气分离罐25的排气口2504设有空气隔离阀26;所述注氮装置通过注氮管路与所述变压器相连。
如图2-图5所示:
油气分离罐25根据安装方式的不同,可分为油枕并列式、墙挂式、高架式、落地式四种形式。不同的安装方式,外形结构也有所不同。图2中的油气分离罐25采用的是油枕并列式,安装在主油箱油枕22与有载分接开关油枕27之间。墙挂式油气分离罐安装在防火墙上,如图3所示。高架式油气分离罐安装在油枕顶部或单独的支架上,如图4所示。落地式油气分离罐安装在地面,如图5所示。
主油箱17的顶部或侧面设置一个或多个泄压口,每个高压侧套管升高座18上设置一个泄压口,每个低压侧套管升高座33上设置一个泄压口。泄压口优先采用锥形管形式,条件不具备时,方可采用直管形式或其他形式。
防爆泄压装置包括阀膜组合式式防爆泄压装置、膜片式防爆泄压装置和三通式防爆泄压装置;在主油箱17的泄压口上安装主油箱防爆泄压装置 29,主油箱防爆泄压装置29优先选择阀膜组合式泄压装置,也可采用膜片式泄压装置,这时主油箱上必须安装压力释放阀;高压侧套管升高座18的泄压口上安装高压侧套管升高座防爆装置20,低压侧套管升高座33的泄压口上安装低压侧套管升高座防爆装置32,高压侧套管升高座防爆装置20和低压侧套管升高座33采用膜片式泄压装置;在有载分接开关31的压力释放口安装有载分接开关防爆装置30,有载分接开关防爆装置30优先选择阀膜组合式泄压装置,也可采用三通式泄压装置进行保护;
阀膜组合式泄压装置如图6和图7所示:
阀膜组合式泄压装置的排气口34与排气管路24相连,阀膜组合式泄压装置的排油口35与排油管路23相连,阀膜组合式泄压装置的安装口36 与主油箱17的泄压口相连;阀膜组合式泄压装置包括膜片防爆装置37和弹簧机构38,其均为现有技术故本方案不再赘述。
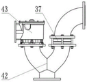
三通式泄压装置如图8-图11所示:
三通式泄压装置的其中一端与有载分接开关31的压力释放口相连,另外两端上分别设有膜片防爆装置37和压力释放阀43,Y形三通42是优先选择的方案。安装条件不允许时,也可以有其他的形式,如U形三通44、直角形三通45、树杈形三通46。三通式泄压装置为现有技术本方案不再赘述。
膜片式泄压装置如图12和图13所示:
膜片式防爆泄压装置包括刀闸阀39、减压舱47和膜片防爆装置37,刀闸阀39和减压舱相连,刀闸阀39和减压舱47之间设有膜片防爆装置37,膜片防爆装置37上设有膜片状态感知系统以及测温装置(膜片状态感知系统以及测温装置为现有技术故本方案不再赘述)。减压舱47分为垂直式减压舱40和水平式减压舱41,垂直式减压舱40用于安装在变压器主油箱17 顶部的泄压口,水平式减压舱41用于安装在变压器主油箱17侧面的泄压口,变压器采用何种型式的减压舱47,应根据防爆要求和安装条件而定。
膜片防爆装置如图14-图19所示:
膜片防爆装置包括反拱形爆破膜片3、膜片状态监测装置和夹持器,膜片状态监测装置的柔性电路4和反拱形爆破膜片3通过背胶5固定粘接,夹持器由夹持片连接板14、膜片密封圈13、进口侧夹持片12和泄压侧夹持片11组成,反拱形爆破膜片和柔性电路4位于进口侧夹持片12和泄压侧夹持片11之间,密封圈13位于反拱形爆破膜片和进口侧夹持片12之间,进口侧夹持片12和泄压侧夹持片11通过夹持片连接板14固定连接,膜片状态监测装置与报警信号发射器电性连接。膜片密封圈13用于确保反拱形爆破膜片3与进口侧夹持器12的密封。当夹持器被压紧后,膜片密封圈13 被压平,反拱形爆破膜片3与夹持器之间得以密封。
夹持器还可以具有另外的型式,比如:泄压侧法兰1101和进口侧法兰 1201。法兰式反拱形爆破膜片装置同样集成膜片状态监测装置。
膜片状态监测装置包括柔性电路4、背胶5、接插件公头6、接插件母头7、信号引线8、密封胶9和软管接头10。柔性电路4通过背胶5与反拱形爆破膜片3粘接,柔性电路4的引线与接插件线母头7连接,信号引线8 与接插件公头6连接,柔性电路4与信号引线通过接插件母头7与接插件公头6连接在一起,信号引线8贯穿软管接头10与报警信号发射器相连,信号引线8与软管接头10之间用密封胶9进行密封。当反拱形爆破膜片破裂时,柔性电路4被拉断,进而报警信号发射器向外界传出信号。
反拱形爆破膜片如图20-图23所示:
反拱形爆破膜片包括外层密封膜1、中层密封膜2和内层爆破片3,外层密封膜1、中层密封膜2和内层爆破片3均为拱形结构,拱形球面朝向进口侧,因此称为反拱形。中层密封膜2嵌套在外层密封膜内1,内层爆破片 3嵌套在中层密封膜2内,外层密封膜1、中层密封膜2和内层爆破片3固定连接,内层爆破片3的平面侧切割出鳄齿以及若干个桥段,内层爆破片3 上的桥段302的大小及数量决定了爆破释放压力的大小。外层密封膜1是一层很薄的耐腐蚀金属薄膜,其强度可承受绝对真空。外层密封膜1承担主要密封作用,中层密封膜2在外层密封膜1与内层爆破片3之间,可以进一步增强密封性能。
当容器内抽真空时,真空压力由外层密封膜1承受。当正常工作状态时,容器内一般为微正压状态,外层密封膜1及中层密封膜2受压贴在内层爆破片3上,内层爆破片3成为正压承受元件。当容器内部压力达到爆破压力值时,内层爆破片3的桥段断裂,在压力下发生弯曲变形,外层密封膜1及中层密封膜2失去支撑后,拱形球面发生翻转,碰到内层爆破片3 的鳄齿301时被割破,从而被内部压力撕裂,反拱形爆破膜片被开启。
注氮装置包括氮气储存柜55和注氮管路,注氮管路的最高处设有放气阀,注氮管路的尽头设有氮气储存柜,注氮管路包括主油箱支路50和有载分接开关支路52,主油箱支路50和有载分接开关支路52上分别设有单向阀54,主油箱支路50分别与变压器的主油箱注氮口48和变压器的套管升高座注氮口49相连,有载分接开关支路52与变压器的有载分接开关上增设的有载分接开关注氮口51相连,有载分接开关支路52与有载分接开关注氮口51之间设有注氮隔离阀57。
主油箱17的底部一般设置有2~6个主油箱注氮口48,变压器的容量越大,油量越多,注氮口数量越多。主油箱注氮口48一般通过一个注氮隔离阀57与主油箱注氮管50相连。系统投运前,注氮隔离阀57应打开。
如图24所示:
有载分接开关的注氮则是从滤油机抽油口增加一个三通作为有载分接开关注氮口51,其后安装注氮隔离阀57,注氮隔离阀57后面再安装一个常闭型注氮电磁阀58。系统投运前,注氮隔离阀57应开启。当需要注氮灭火时,控制系统控制注氮电磁阀58打开,即可对有载分接开关油室进行注氮。
如图25所示:
在套管升高座的下部,开设套管升高座注氮口49。套管升高座注氮口 49一般通过一个注氮隔离阀57与套管升高座注氮管50相连接。系统投运前,注氮隔离阀57应打开。当套管升高座处发生高能故障时,氮气可通过注氮口49直接注入到故障位置,防火灭火的效率大为提高。
如图26所示:
氮气储存柜55内设有氮气瓶组68、氮气释放阀65、四合一组合阀60 和氮气输出接口64,氮气瓶组68的出口与氮气释放阀65相连,氮气释放阀65的进口侧安装有电接点压力表66,氮气释放阀的出口侧安装有氮气减压阀67,氮气减压阀67的出口通过高压软管连接到四合一组合阀60,四合一阀60的出口通过氮气输出接口64与注氮管路相连,氮气储存柜55的下部设有温湿度传感器61、加热器63和用于与控制系统的连线的端子排 62,端子排62与温湿度传感器61、加热器63和氮气释放阀65电性连接。
当氮气瓶组68的压力低于设定值时,电接点压力表66可以向控制系统发出信号,此时氮气减压阀67收到信号开启,可以将氮气释放阀出来的高压氮气减压到设定值。当温湿度传感器61测量到的温度低于设定值时,加热器63会通电发热,保持柜内温度不致太低。当温湿度传感器61测量到的湿度高于设定值时,加热器63也会通电发热进行除温。
氮气释放阀65的外形结构如图27所示:
氮气释放阀65由两部分组成:氮气释放阀阀体70及电磁驱动器69,电磁驱动器69接受外部信号从而控制阀体70的开启或关闭。
四合一阀60的外形结构如图28-图30所示:
四合一阀60由四部分组成:油气隔离阀71、流量调节阀72、信号反馈器73、低泄高封阀74。四合一阀60分别具有四个功能:低泄高封、信号反馈、流量调节、油气隔离。低泄高封指的是在有微量气体出现在管路中时,会将其泄漏到管路外面,从而防止压力积累造成误注氮;而在正常注氮过程中,阀门在较高压力下就会将泄漏口封住,氮气不会出现泄漏。信号反馈指的是当注氮过程发生时,会给控制系统发出一个电信号,提示系统正在注氮。流量调节功能指的是可以调节管路中气体流量的大小。油气隔离指的只允许氮气从阀门出口出去,而出口处的油(如果有)无法进入阀门内部。
如图31和32所示:
整个装置还包括控制柜,控制柜内设有控制系统,控制系统与端子排电性连接。控制柜也可以做成控制箱的形式,控制柜安装在控制室内,一台控制柜可以安装四个控制单元,每个控制单元控制一台变压器的防爆灭火。控制箱可以安装在控制室内的墙上。一个控制箱控制一台变压器的防爆灭火。
氮气注入逻辑如图33所示:
在自动状态下:过流信号、差动信号、接地故障信号和重瓦斯信号由继电器发出;断路器跳闸信号由断路器发出;感温侦测器信号由测温系统发出;套管升高座膜片爆破、OLTC(有载分接开关)膜片爆破和主油箱膜片爆破由报警信号发射器发出;这时才能开启氮气注入。
在手动状态下:需要手动操作控制柜上的手动按钮、套管升高座膜片爆破按钮、OLTC(有载分接开关)膜片爆破按钮和主油箱膜片爆破按钮且在收到断路器跳闸的情况下才能开启氮气注入。
最后应说明的是:以上各实施例仅用以说明本实用新型的技术方案,而非对其限制;尽管参照前述各实施例对本实用新型进行了详细的说明,本领域的普通技术人员应当理解:其依然可以对前述各实施例所记载的技术方案进行修改,或者对其中部分或者全部技术特征进行等同替换;而这些修改或者替换,并不使相应技术方案的本质脱离本实用新型各实施例技术方案的范围。

Claims (10)

1.一种变压器防爆防火灭火保护装置,其特征在于,包括断流阀、油气分离罐、防爆泄压装置和注氮装置;所述断流阀安装于变压器的油枕和瓦斯继电器之间;所述变压器上设有若干所述防爆泄压装置,所述防爆泄压装置分别与变压器的主油箱、有载分接开关和套管升高座相连;所述防爆泄压装置通过排气管路与所述油气分离罐的进气口相连,所述防爆泄压装置通过排油管路与所述油气分离罐的进油口相连,所述油气分离罐的排气口设有空气隔离阀;所述注氮装置通过注氮管路与所述主油箱、所述有载分接开关和所述套管升高座相连。
2.根据权利要求1所述的一种变压器防爆防火灭火保护装置,其特征在于:所述变压器的主油箱的顶部和侧面设有一个或多个主油箱泄压口,所述变压器的每个套管升高座上设有升高座泄压口,所述主油箱泄压口和所述升高座泄压口为锥形口或直管形口,所述变压器的有载分接开关上设有压力释放口,所述防爆泄压装置的进油口分别连接在所述主油箱泄压口、所述升高座泄压口和所述有载分接开关的压力释放口上。
3.根据权利要求2所述的一种变压器防爆防火灭火保护装置,其特征在于:所述防爆泄压装置包括阀膜组合式防爆泄压装置、膜片式防爆泄压装置和三通式防爆泄压装置;所述阀膜组合式防爆泄压装置的进油口与所述主油箱泄压口或有载分接开关压力释放口相连;所述膜片式防爆泄压装置的进油口与所述升高座泄压口相连;所述三通式防爆泄压装置的进油口与所述有载分接开关压力释放口相连;所述阀膜组合式防爆泄压装置、所述膜片式防爆泄压装置和所述三通式防爆泄压装置的排油口分别与所述排油管路相连;所述阀膜组合式防爆泄压装置的排气口与所述排气管路相连。
4.根据权利要求3所述的一种变压器防爆防火灭火保护装置,其特征在于:所述膜片式防爆泄压装置包括刀闸阀、减压舱和膜片防爆装置,所述刀闸阀和所述减压舱相连,所述刀闸阀和所述减压舱之间设有所述膜片防爆装置。
5.根据权利要求4所述的一种变压器防爆防火灭火保护装置,其特征在于:所述膜片防爆装置包括反拱形爆破膜片、膜片状态监测装置、报警信号发射器和夹持器,所述膜片状态监测装置和所述反拱形爆破膜片固定连接,所述夹持器由夹持片连接板、膜片密封圈、进口侧夹持片和泄压侧夹持片组成,所述反拱形爆破膜片和所述膜片状态监测装置位于所述进口侧夹持片和所述泄压侧夹持片之间,所述密封圈位于所述反拱形爆破膜片和进口侧夹持器之间,所述进口侧夹持片和所述泄压侧夹持片通过所述夹持片连接板固定连接,所述膜片状态监测装置与所述报警信号发射器电性连接。
6.根据权利要求5所述的一种变压器防爆防火灭火保护装置,其特征在于:所述反拱形爆破膜片包括外层密封膜、中层密封膜和内层爆破片,所述外层密封膜、所述中层密封膜和所述内层爆破片均为拱形结构,所述中层密封膜嵌套在所述外层密封膜内,所述内层爆破片嵌套在所述中层密封膜内,所述外层密封膜、所述中层密封膜和所述内层爆破片固定连接,所述内层爆破片的拱面上切割出鳄齿以及若干个支撑桥段。
7.根据权利要求5所述的一种变压器防爆防火灭火保护装置,其特征在于:所述膜片状态监测装置包括柔性电路、背胶、信号引线和引线接头安装座,所述柔性电路与所述反拱形爆破膜片通过所述背胶粘接,所述泄压侧夹持片上设有密封塞,所述密封塞设有所述信号引线,所述信号引线穿过所述密封塞与所述柔性电路相连,所述防爆泄压装置的外壁设有所述引线接头安装座,所述引线接头安装座的一端设有软管接头,所述信号引线贯穿所述引线接头安装座和所述软管接头与所述引线接头安装座相连。
8.根据权利要求1所述的一种变压器防爆防火灭火保护装置,其特征在于:所述注氮装置包括氮气储存柜和注氮管路,所述注氮管路的最高处设有放气阀,所述注氮管路的一端与所述氮气储存柜相连,所述注氮管路的另一端分成主油箱支路和有载分接开关支路,所述主油箱支路和所述有载分接开关支路上分别设有单向阀,所述主油箱支路分别与所述变压器的主油箱的注氮口和所述变压器的套管升高座的注氮口相连,所述有载分接开关支路与所述变压器的有载分接开关上增设的有载分接开关注氮口相连,所述有载分接开关支路与所述有载分接开关之间设有注氮隔离阀。
9.根据权利要求8所述的一种变压器防爆防火灭火保护装置,其特征在于:所述氮气储存柜内设有氮气瓶组、氮气释放阀、四合一组合阀和氮气输出接口,所述氮气瓶组的出口与所述氮气释放阀相连,所述氮气释放阀的进口侧安装有电接点压力表,所述氮气释放阀的出口侧安装有氮气减压阀,所述氮气减压阀的出口通过高压软管连接到所述四合一组合阀,所述四合一阀的出口通过氮气输出接口与注氮管路相连,所述氮气储存柜的下部设有温湿度传感器、加热器和用于与控制系统连线的端子排,所述端子排与所述温湿度传感器、所述加热器和所述氮气释放阀电性连接。
10.根据权利要求9所述的一种变压器防爆防火灭火保护装置,其特征在于:还包括控制柜,所述控制柜内设有所述控制系统,所述控制系统包括PLC、触控屏、指示灯、试灯按钮、消音按钮、紧急启动按钮、转换开关、端子排和连接电线,所述控制系统与所述端子排电性连接。
CN202120279251.3U 2021-02-01 2021-02-01 一种变压器防爆防火灭火保护装置 Active CN214541785U (zh)

Priority Applications (1)

Application Number Priority Date Filing Date Title
CN202120279251.3U CN214541785U (zh) 2021-02-01 2021-02-01 一种变压器防爆防火灭火保护装置

Applications Claiming Priority (1)

Application Number Priority Date Filing Date Title
CN202120279251.3U CN214541785U (zh) 2021-02-01 2021-02-01 一种变压器防爆防火灭火保护装置

Publications (1)

Publication Number Publication Date
CN214541785U true CN214541785U (zh) 2021-10-29

Family

ID=78347337

Family Applications (1)

Application Number Title Priority Date Filing Date
CN202120279251.3U Active CN214541785U (zh) 2021-02-01 2021-02-01 一种变压器防爆防火灭火保护装置

Country Status (1)

Country Link
CN (1) CN214541785U (zh)

Similar Documents

Publication Publication Date Title
CN211350324U (zh) 一种变压器防爆泄压系统
CN112542298B (zh) 一种防爆泄压变压器
CN205723077U (zh) 变压器呼吸器阻塞的监测装置
CN214541785U (zh) 一种变压器防爆防火灭火保护装置
CN108468947A (zh) 智能控制水封式煤气排水器防泄漏装置
CN112190850B (zh) 一种室内变压器消防系统及其控制方法
CN111403154A (zh) 一种变压器本体快速排油装置、控制系统及控制方法
CN108511158B (zh) 基于与油浸变压器排油注氮灭火联动的油液回收装置及方法
CN215573138U (zh) 一种稳定监测的消防栓流量监测装置
CN114151729A (zh) 一种液态储氢加氢站的安全放散系统及方法
CN219815086U (zh) 一种充电站充电桩自动灭火系统
CN212159040U (zh) 一种变压器呼吸器检测装置
CN216818041U (zh) 一种具有泄压功能的变压器呼吸器
CN218980079U (zh) 一种救护车智能供氧装置
CN211788530U (zh) 一种变压器本体快速排油装置及控制系统
CN216456632U (zh) 一种集装箱式储能系统消防装置
CN109613881B (zh) 一种矿用防爆型乳化液系统节能保护控制器
CN105632710A (zh) 变压器呼吸器阻塞的监测装置
CN116666053A (zh) 气体式变压器油枕
CN221897657U (zh) 一种转炉煤气管道u型水封水位测量报警补水装置
CN107143689A (zh) 一种石油储罐安全呼吸阀
CN219958732U (zh) 油浸变压器排油注氮灭火装置
CN216280696U (zh) 一种工业气体制造用的压力管道失压保护装置
CN215680340U (zh) 一种油浸式变压器灭火系统用注氮装置
CN220623677U (zh) 充装管路切断装置及液氢加注管路系统

Legal Events

Date Code Title Description
GR01 Patent grant
GR01 Patent grant