CN214512035U - A kind of disinfectant atomization device for pipeline disinfection - Google Patents

A kind of disinfectant atomization device for pipeline disinfection Download PDF

Info

Publication number
CN214512035U
CN214512035U CN202023147421.7U CN202023147421U CN214512035U CN 214512035 U CN214512035 U CN 214512035U CN 202023147421 U CN202023147421 U CN 202023147421U CN 214512035 U CN214512035 U CN 214512035U
Authority
CN
China
Prior art keywords
liquid
disinfection
pipeline
atomizing
disinfectant
Prior art date
Legal status (The legal status is an assumption and is not a legal conclusion. Google has not performed a legal analysis and makes no representation as to the accuracy of the status listed.)
Active
Application number
CN202023147421.7U
Other languages
Chinese (zh)
Inventor
周露茜
魏华海
徐轶凡
林志威
薛明汕
Current Assignee (The listed assignees may be inaccurate. Google has not performed a legal analysis and makes no representation or warranty as to the accuracy of the list.)
First Affiliated Hospital of Guangzhou Medical University
Original Assignee
First Affiliated Hospital of Guangzhou Medical University
Priority date (The priority date is an assumption and is not a legal conclusion. Google has not performed a legal analysis and makes no representation as to the accuracy of the date listed.)
Filing date
Publication date
Application filed by First Affiliated Hospital of Guangzhou Medical University filed Critical First Affiliated Hospital of Guangzhou Medical University
Priority to CN202023147421.7U priority Critical patent/CN214512035U/en
Application granted granted Critical
Publication of CN214512035U publication Critical patent/CN214512035U/en
Active legal-status Critical Current
Anticipated expiration legal-status Critical

Links

Images

Landscapes

  • Apparatus For Disinfection Or Sterilisation (AREA)

Abstract

本实用新型公开了一种用于管路消毒的消毒液雾化装置,包括装置壳体、内腔风道、液体舱、液体舱盖、安置腔、锂电池、主机控制板、主机按键、雾化片、出雾口、进风口、风机、充供电连接口。本实用新型的有益效果是:液体舱内可注入用于消毒的过氧化氢或者过氧乙酸液体,且其下方设置的雾化片将消毒液体起雾成20微米以下的小粒子,通过雾化片对消毒液体的雾化,可以达到消毒管路内壁的消毒方式,这种雾化的消毒方式效果好,比较容易实现快速有效的消毒,内腔风道与出雾口和进风口相连通,且雾化片设置在内腔风道内,雾化片可将把消毒液进行雾化后吹入内腔风道内,并由出雾口吹出,通过向管路内部喷射雾化的消毒液进行消毒,达到便捷,有效的消毒。

Figure 202023147421

The utility model discloses a disinfectant atomization device for pipeline disinfection, which comprises a device casing, an inner cavity air duct, a liquid tank, a liquid tank cover, an installation cavity, a lithium battery, a main engine control board, a main engine key, a fog Chemical film, mist outlet, air inlet, fan, charging and power supply connection port. The beneficial effects of the utility model are: hydrogen peroxide or peracetic acid liquid for sterilization can be injected into the liquid chamber, and the atomizing sheet arranged below the sterilizing liquid mists the sterilizing liquid into small particles below 20 microns, The atomization of the disinfection liquid by the tablet can achieve the disinfection method of the inner wall of the disinfection pipeline. This atomization disinfection method has good effect and is relatively easy to achieve fast and effective disinfection. The inner cavity air duct is connected with the mist outlet and the air inlet, And the atomizing sheet is arranged in the inner cavity air duct, the atomizing sheet can atomize the disinfectant and blow it into the inner cavity air duct, and blow it out from the mist outlet, and disinfect by spraying the atomized disinfectant into the pipeline. To achieve convenient and effective disinfection.

Figure 202023147421

Description

Disinfectant atomizing device for pipeline disinfection
Technical Field
The utility model relates to an atomizing device specifically is an antiseptic solution atomizing device for pipeline disinfection belongs to medical instrument technical field.
Background
The breathing machine pipeline is required to be disinfected after being used by a hospital or a family user, hydrogen peroxide and hydrogen peroxide are required to be disinfected and killed, the disinfection method is a conventional method, the hydrogen peroxide and hydrogen peroxide disinfection needs to be atomized for a certain time, and generally, 30-60 minutes of disinfection can kill bacteria and even spore viruses. Especially, the new coronavirus has good killing effect, the existing pipeline disinfection mode is usually water washing or ozone gas disinfection, but the disinfection and cleaning mode cannot play a role in killing certain viruses, such as the new coronavirus, or even does not play a role, and the atomized disinfectant, such as hydrogen peroxide with the concentration of 3% or peracetic acid, can play a good role in killing.
SUMMERY OF THE UTILITY MODEL
The utility model aims to provide an antiseptic solution atomizing device for pipeline disinfection for the purpose of solving the problem.
The utility model discloses a following technical scheme realizes above-mentioned purpose: a disinfectant atomization device for pipeline disinfection comprises a device shell, a liquid cabin and an atomization sheet; an inner cavity air duct, a liquid cabin and a mounting cavity are arranged in the device shell, the liquid cabin and the mounting cavity are both positioned above the inner cavity air duct, the liquid cabin is arranged at one side of the placing cavity, a liquid cabin cover is arranged on the liquid cabin, a lithium battery and a host control panel are arranged in the placing cavity, the host control panel is powered by a lithium battery and is in signal connection with a host key arranged at the top of the device shell through a connecting circuit, an atomization sheet is arranged at a through hole arranged at the bottom end of the liquid cabin and is electrically connected with the lithium battery, the front end of the device shell is provided with a fog outlet, the tail end of the device shell is provided with an air inlet, one side of the device shell is provided with a charging and power supplying connector, and the lithium battery is electrically connected with an external power supply through the charging and power supplying connector.
As a further aspect of the present invention: the liquid cabin can be injected with hydrogen peroxide or peracetic acid liquid for disinfection, and an atomizing sheet arranged below the liquid cabin atomizes the disinfection liquid into small particles of less than 20 microns.
As a further aspect of the present invention: the inner cavity air duct is communicated with the mist outlet and the air inlet, and the atomizing sheet is arranged in the inner cavity air duct.
As a further aspect of the present invention: the mist outlet is a standard pipeline interface of 22 mm.
As a further aspect of the present invention: the air inlet is provided with a fan, and the fan is electrically connected with the lithium battery.
As a further aspect of the present invention: the lithium cell supplies power for the host computer control panel, and the lithium cell charges through filling the 5V adapter that charges of supplying power connector connection.
As a further aspect of the present invention: the host control panel controls the working time of the atomizing sheet through the host key.
The utility model has the advantages that: this a disinfectant atomizing device for pipeline disinfection reasonable in design, can pour into hydrogen peroxide or peroxyacetic acid liquid that is used for disinfection in the liquid cabin, and the atomizing piece that its below set up becomes the little particle below 20 microns with the atomizing of disinfection liquid, through the atomizing piece to the atomizing of disinfection liquid, can reach the disinfection mode of disinfection pipeline inner wall, this kind of atomizing disinfection mode is effectual, relatively realize quick effectual disinfection easily, the inner chamber wind channel is linked together with fog outlet and air intake, and the atomizing piece sets up in inner chamber wind channel, the atomizing piece can be with blow into the inner chamber wind channel after atomizing the disinfectant, and blow off by fog outlet, disinfect through the inside atomizing disinfectant that sprays to the pipeline, it is convenient to reach, effectual disinfection.
Drawings
FIG. 1 is a schematic sectional view of the present invention;
fig. 2 is a schematic view of the top view structure of the present invention.
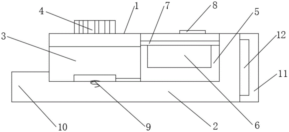
In the figure: 1. the device comprises a shell, 2, an inner cavity air duct, 3, a liquid cabin, 4, a liquid cabin cover, 5, a placement cavity, 6, a lithium battery, 7, a host control panel, 8, a host key, 9, an atomization sheet, 10, a mist outlet, 11, an air inlet, 12, a fan, 13 and a charging and supplying connector.
Detailed Description
The technical solutions in the embodiments of the present invention will be described clearly and completely with reference to the accompanying drawings in the embodiments of the present invention, and it is obvious that the described embodiments are only some embodiments of the present invention, not all embodiments. Based on the embodiments in the present invention, all other embodiments obtained by a person skilled in the art without creative work belong to the protection scope of the present invention.
Referring to fig. 1-2, a disinfectant atomizing device for pipeline disinfection includes a device housing 1, a liquid chamber 3 and an atomizing plate 9; an inner cavity air duct 2, a liquid cabin 3 and a placement cavity 5 are arranged in the device shell 1, the liquid cabin 3 and the placement cavity 5 are both positioned above the inner cavity air duct 2, the liquid cabin 3 is arranged on one side of the placement cavity 5, a liquid cabin cover 4 is installed on the liquid cabin 3, a lithium battery 6 and a host control board 7 are arranged in the placement cavity 5, the host control board 7 is powered by the lithium battery 6, the host control board 7 is in signal connection with a host key 8 installed at the top of the device shell 1 through a connecting circuit, an atomizing sheet 9 is arranged at a through hole formed at the bottom end of the liquid cabin 3, the atomizing sheet 9 is electrically connected with the lithium battery 6, a mist outlet 10 is formed at the front end of the device shell 1, an air inlet 11 is formed at the tail end of the device shell 1, and a charging and power supply connecting port 13 is arranged at one side edge of the device shell 1, and the lithium battery 6 is electrically connected with an external power supply through a charging and power supply connector 13, and the type of the lithium battery 6 is 12V 1800 mAh.
Further, in the embodiment of the utility model provides an in, can inject hydrogen peroxide or the peroxyacetic acid liquid that is used for the disinfection in the liquid cabin 3, and the atomizing piece 9 that sets up its below becomes the tiny particle below 20 microns with the atomizing of disinfection liquid fog, through atomizing piece 9 to the atomizing of disinfection liquid, can reach the disinfection mode of disinfection pipeline inner wall, this kind of atomizing disinfection mode is effectual, realizes quick effectual disinfection relatively easily.
Further, in the embodiment of the utility model provides an in, inner chamber wind channel 2 is linked together with fog outlet 10 and air intake 11, and atomizing piece 9 sets up in inner chamber wind channel 2, and atomizing piece 9 can be with blow into inner chamber wind channel 2 after atomizing the antiseptic solution in to blow off by fog outlet 10.
Further, in the embodiment of the present invention, the mist outlet 10 is a standard 22 mm pipe interface, and can be used for connecting with a pipe requiring disinfection of an external device.
Further, in the embodiment of the utility model provides an in, 11 departments of air intake install fan 12, and fan 12 is electric connection with lithium cell 6, can blow in inner chamber wind channel 2 with dry air, and then blow in the pipeline with atomizing hydrogen peroxide or peracetic acid atomizing granule.
Further, in the embodiment of the present invention, the lithium battery 6 supplies power to the host control board 7, and the lithium battery 6 is connected to the 5V charging adapter through the charging and supplying connector 13 for charging.
Further, in the embodiment of the present invention, the host control board 7 controls the working time of the atomizing sheet 9 through the host key 8, so as to control the disinfection time.
The working principle is as follows: when using this a disinfectant atomizing device for pipeline disinfection, at first to injecting hydrogen peroxide or peracetic acid liquid in the liquid cabin 3, and be connected the pipeline that the export 10 and peripheral hardware need be disinfected, become the tiny particle below 20 microns with the disinfection liquid fog through atomizing piece 9, fan 12 of air intake 11 department installation can blow in inner chamber wind channel 2 with dry air, and then make the atomizing hydrogen peroxide or peracetic acid atomizing granule blow in the pipeline, can realize disinfecting the pipeline.
It is obvious to a person skilled in the art that the invention is not restricted to details of the above-described exemplary embodiments, but that it can be implemented in other specific forms without departing from the spirit or essential characteristics of the invention. The present embodiments are therefore to be considered in all respects as illustrative and not restrictive, the scope of the invention being indicated by the appended claims rather than by the foregoing description, and all changes which come within the meaning and range of equivalency of the claims are therefore intended to be embraced therein. Any reference sign in a claim should not be construed as limiting the claim concerned.
Furthermore, it should be understood that although the present description refers to embodiments, not every embodiment may contain only a single embodiment, and such description is for clarity only, and those skilled in the art should integrate the description, and the embodiments may be combined as appropriate to form other embodiments understood by those skilled in the art.

Claims (7)

1.一种用于管路消毒的消毒液雾化装置,包括装置壳体(1)、液体舱(3)和雾化片(9);其特征在于:所述装置壳体(1)内部设置有内腔风道(2)、液体舱(3)和安置腔(5),所述液体舱(3)和安置腔(5)均位于内腔风道(2)的上方,且所述液体舱(3)设置在安置腔(5)的一侧,所述液体舱(3)上安装有液体舱盖(4),所述安置腔(5)内设置有锂电池(6)和主机控制板(7),所述主机控制板(7)通过锂电池(6)进行供电,所述主机控制板(7)通过连接线路与安装在装置壳体(1)顶部的主机按键(8)进行信号连接,所述液体舱(3)的底端开设的通孔处安置有雾化片(9),所述雾化片(9)与锂电池(6)呈电性连接,所述装置壳体(1)的前端开设有出雾口(10),所述装置壳体(1)的尾端开设有进风口(11),所述装置壳体(1)的一侧边设置有充供电连接口(13),且所述锂电池(6)通过充供电连接口(13)与外接电源进行电性连接。1. A disinfectant atomizing device for pipeline sterilization, comprising a device housing (1), a liquid chamber (3) and an atomizing sheet (9); it is characterized in that: the inside of the device housing (1) An inner cavity air duct (2), a liquid compartment (3) and a placement cavity (5) are provided, and the liquid compartment (3) and the placement cavity (5) are both located above the inner cavity air duct (2), and the The liquid tank (3) is arranged on one side of the placement cavity (5), the liquid tank (3) is provided with a liquid compartment cover (4), and the placement cavity (5) is provided with a lithium battery (6) and a main engine A control board (7), the host control board (7) is powered by a lithium battery (6), and the host control board (7) is connected to a host key (8) installed on the top of the device casing (1) through a connection line For signal connection, an atomizing sheet (9) is arranged at the through hole opened at the bottom end of the liquid chamber (3), and the atomizing sheet (9) is electrically connected with the lithium battery (6), and the device The front end of the housing (1) is provided with a mist outlet (10), the rear end of the device housing (1) is provided with an air inlet (11), and one side of the device housing (1) is provided with an air inlet (11). A power supply connection port (13), and the lithium battery (6) is electrically connected with an external power supply through the charging and power supply connection port (13). 2.根据权利要求1所述的一种用于管路消毒的消毒液雾化装置,其特征在于:所述液体舱(3)内可注入用于消毒的过氧化氢或者过氧乙酸液体,且其下方设置的雾化片(9)将消毒液体起雾成20微米以下的小粒子。2. a kind of disinfectant atomizing device for pipeline sterilization according to claim 1, is characterized in that: hydrogen peroxide or peracetic acid liquid for sterilization can be injected in the liquid chamber (3), And the atomizing sheet (9) arranged below it mists the disinfecting liquid into small particles below 20 microns. 3.根据权利要求1所述的一种用于管路消毒的消毒液雾化装置,其特征在于:所述内腔风道(2)与出雾口(10)和进风口(11)相连通,且雾化片(9)设置在内腔风道(2)内。3. A disinfectant atomizing device for pipeline disinfection according to claim 1, characterized in that: the inner cavity air duct (2) is connected with the mist outlet (10) and the air inlet (11) and the atomizing sheet (9) is arranged in the inner cavity air duct (2). 4.根据权利要求1所述的一种用于管路消毒的消毒液雾化装置,其特征在于:所述出雾口(10)为22毫米的标准管路接口。4. A disinfectant atomization device for pipeline disinfection according to claim 1, characterized in that: the mist outlet (10) is a standard pipeline interface of 22 mm. 5.根据权利要求1所述的一种用于管路消毒的消毒液雾化装置,其特征在于:所述进风口(11)处安装有风机(12),且风机(12)与锂电池(6)呈电性连接。5. A disinfectant atomizing device for pipeline disinfection according to claim 1, characterized in that: a fan (12) is installed at the air inlet (11), and the fan (12) is connected to a lithium battery (6) It is electrically connected. 6.根据权利要求1所述的一种用于管路消毒的消毒液雾化装置,其特征在于:所述锂电池(6)为主机控制板(7)进行供电,且锂电池(6)通过充供电连接口(13)连接5V充电适配器进行充电。6. A disinfectant atomizing device for pipeline disinfection according to claim 1, characterized in that: the lithium battery (6) supplies power for the host control board (7), and the lithium battery (6) Connect the 5V charging adapter through the charging power connector (13) for charging. 7.根据权利要求1所述的一种用于管路消毒的消毒液雾化装置,其特征在于:所述主机控制板(7)通过主机按键(8)控制雾化片(9)的工作时间。7. A kind of disinfectant atomizing device for pipeline disinfection according to claim 1, characterized in that: the host control panel (7) controls the operation of the atomizing sheet (9) through the host key (8) time.
CN202023147421.7U 2020-12-23 2020-12-23 A kind of disinfectant atomization device for pipeline disinfection Active CN214512035U (en)

Priority Applications (1)

Application Number Priority Date Filing Date Title
CN202023147421.7U CN214512035U (en) 2020-12-23 2020-12-23 A kind of disinfectant atomization device for pipeline disinfection

Applications Claiming Priority (1)

Application Number Priority Date Filing Date Title
CN202023147421.7U CN214512035U (en) 2020-12-23 2020-12-23 A kind of disinfectant atomization device for pipeline disinfection

Publications (1)

Publication Number Publication Date
CN214512035U true CN214512035U (en) 2021-10-29

Family

ID=78296019

Family Applications (1)

Application Number Title Priority Date Filing Date
CN202023147421.7U Active CN214512035U (en) 2020-12-23 2020-12-23 A kind of disinfectant atomization device for pipeline disinfection

Country Status (1)

Country Link
CN (1) CN214512035U (en)

Cited By (1)

* Cited by examiner, † Cited by third party
Publication number Priority date Publication date Assignee Title
CN114522257A (en) * 2022-03-14 2022-05-24 浙江清越科技有限公司 Integrated atomizing sterilizer

Cited By (2)

* Cited by examiner, † Cited by third party
Publication number Priority date Publication date Assignee Title
CN114522257A (en) * 2022-03-14 2022-05-24 浙江清越科技有限公司 Integrated atomizing sterilizer
CN114522257B (en) * 2022-03-14 2024-04-09 浙江清越科技有限公司 Integrated atomizing sterilizer

Similar Documents

Publication Publication Date Title
CN208704058U (en) It can sterilization air cleaning unit
CN111318405A (en) Ozone water ultrasonic atomization structure and ozone water spray bottle with same
CN214512035U (en) A kind of disinfectant atomization device for pipeline disinfection
CN209475304U (en) A kind of children atomizing suction apparatus
CN207400947U (en) Champignon disinfecting, deodorizing all-in-one machine
CN210056879U (en) Portable disease prevention degassing unit
CN201227327Y (en) Ultrasonic atomization hand sterilizer
WO2023236448A1 (en) Disinfection and handwashing machine
CN205494649U (en) Ozone disinfection therapeutic instrument
CN219589127U (en) Aromatic disinfection dual-purpose machine
CN217960888U (en) Compression type atomizer
CN215875821U (en) Compressed air type atomizer with disinfection function
CN211675518U (en) Special disinfection box of portable atomizer
CN212940988U (en) Spray sterilizer
CN213312083U (en) Portable plasma disinfection and sterilization equipment
CN217540960U (en) Multi-head atomizing humidifier
CN216319054U (en) An integrated device for ozone water mist sterilization, disinfection and formaldehyde removal
CN212487824U (en) Colony house ventilation equipment for live pig breeding
CN213284592U (en) A disinfection robot
CN212282429U (en) Hand disinfection device for oral outpatient service
CN213312035U (en) Tuberculosis is atomizing degassing unit for prevention and cure
CN218045942U (en) Device for disinfection
CN213964500U (en) Anion sprayer
CN211751262U (en) A kind of atomized hydrogen peroxide disinfection instrument
CN212973616U (en) Bacteria remover

Legal Events

Date Code Title Description
GR01 Patent grant
GR01 Patent grant