CN214511499U - Ophthalmological laser treatment device - Google Patents
Ophthalmological laser treatment device Download PDFInfo
- Publication number
- CN214511499U CN214511499U CN202023024174.1U CN202023024174U CN214511499U CN 214511499 U CN214511499 U CN 214511499U CN 202023024174 U CN202023024174 U CN 202023024174U CN 214511499 U CN214511499 U CN 214511499U
- Authority
- CN
- China
- Prior art keywords
- laser treatment
- fixed mounting
- fixedly arranged
- machine body
- ophthalmic laser
- Prior art date
- Legal status (The legal status is an assumption and is not a legal conclusion. Google has not performed a legal analysis and makes no representation as to the accuracy of the status listed.)
- Expired - Fee Related
Links
- 238000013532 laser treatment Methods 0.000 title claims abstract description 34
- 230000017525 heat dissipation Effects 0.000 claims abstract description 6
- 230000003028 elevating effect Effects 0.000 claims description 11
- 230000001681 protective effect Effects 0.000 claims description 10
- 230000005540 biological transmission Effects 0.000 claims description 3
- 201000010099 disease Diseases 0.000 abstract description 9
- 208000037265 diseases, disorders, signs and symptoms Diseases 0.000 abstract description 9
- 238000000034 method Methods 0.000 abstract description 6
- 230000002035 prolonged effect Effects 0.000 abstract description 5
- 238000011282 treatment Methods 0.000 abstract description 5
- 210000001061 forehead Anatomy 0.000 abstract description 4
- 230000008569 process Effects 0.000 abstract description 4
- 238000002647 laser therapy Methods 0.000 description 8
- 230000009471 action Effects 0.000 description 3
- 230000000694 effects Effects 0.000 description 3
- 201000009487 Amblyopia Diseases 0.000 description 2
- 210000001508 eye Anatomy 0.000 description 2
- 210000003128 head Anatomy 0.000 description 2
- 208000001491 myopia Diseases 0.000 description 2
- 230000000007 visual effect Effects 0.000 description 2
- 208000002177 Cataract Diseases 0.000 description 1
- 208000010412 Glaucoma Diseases 0.000 description 1
- 206010020675 Hypermetropia Diseases 0.000 description 1
- 206010061323 Optic neuropathy Diseases 0.000 description 1
- 230000004075 alteration Effects 0.000 description 1
- 230000009286 beneficial effect Effects 0.000 description 1
- 210000005252 bulbus oculi Anatomy 0.000 description 1
- 230000008859 change Effects 0.000 description 1
- 230000008602 contraction Effects 0.000 description 1
- 230000007547 defect Effects 0.000 description 1
- 208000030533 eye disease Diseases 0.000 description 1
- 230000005764 inhibitory process Effects 0.000 description 1
- 239000000203 mixture Substances 0.000 description 1
- 238000012986 modification Methods 0.000 description 1
- 230000004048 modification Effects 0.000 description 1
- 208000020911 optic nerve disease Diseases 0.000 description 1
- 210000001747 pupil Anatomy 0.000 description 1
- 210000001525 retina Anatomy 0.000 description 1
- 238000001228 spectrum Methods 0.000 description 1
- 238000006467 substitution reaction Methods 0.000 description 1
- 238000002560 therapeutic procedure Methods 0.000 description 1
- 210000004127 vitreous body Anatomy 0.000 description 1
Images
Landscapes
- Radiation-Therapy Devices (AREA)
Abstract
The utility model relates to the technical field of ophthalmic treatment, and discloses an ophthalmic laser treatment device, which solves the problem that when the ophthalmic laser treatment device on the current market is carried or used, the fragile and vulnerable parts on the ophthalmic laser treatment device are difficult to be damaged, and because the interpupillary distance, the forehead height and the like of different patients are different, when the laser device is used for treating ophthalmic diseases, the position of the laser treatment device needs to be adjusted, and comprises a machine body, a heat dissipation port is fixedly arranged on the surface of the machine body, a power switch is fixedly arranged on one side of the machine body, a pull rod is fixedly arranged on the surface of the machine body, which is positioned at the top of the power switch, a universal wheel is fixedly arranged at the bottom of the machine body, the loss of the ophthalmic laser treatment device in the daily use process is avoided, and the service life of the ophthalmic laser treatment device is prolonged, and avoids the trouble caused by the difference of body types of different patients, and improves the efficiency of the ophthalmologic laser treatment.
Description
Technical Field
The utility model belongs to the technical field of ophthalmic therapy, specifically be an ophthalmology laser therapy equipment.
Background
The ophthalmology is called 'ophthalmology specialty' throughout, is the subject of research occurrence in the visual system, including eyeball and its associated tissue related diseases, ophthalmology generally studies vitreous body, retina disease, visual optics, glaucoma and optic neuropathy, cataract and other various ophthalmic diseases, when treating some ophthalmic diseases, the laser technology is needed for treatment, the amount research proves that the people who have more outdoor activity time are short-sighted, the incidence rate of amblyopia is the first, the inhibition of outdoor activity to short-sighted, amblyopia acts on the strong outdoor light, the spectrum difference of natural light and artificial light source, more far-sighted states, the pupil contraction depth of field under the strong light is increased and more physical labor is related, so the ophthalmic treatment is more and more taken attention;
however, the existing ophthalmological laser treatment equipment in the market at present has poor protection effect, the ophthalmological laser treatment equipment is a precise instrument, so that the ophthalmological laser treatment equipment is difficult to protect, and the ophthalmological laser treatment equipment is a large instrument, so that the fragile and vulnerable parts on the ophthalmological laser treatment equipment are difficult to prevent from being damaged when being carried or used;
because the interpupillary distance, the forehead height and the like of different patients are different, when the laser device is used for treating ophthalmic diseases, the position of the laser treatment device needs to be adjusted, and the laser treatment device on the market is troublesome to adjust when in use and cannot adapt to the treatment of different patients, so that the ophthalmic laser treatment equipment is provided.
Disclosure of Invention
To the above situation, for overcoming prior art's defect, the utility model provides an ophthalmology laser therapy equipment, the effectual ophthalmology laser therapy equipment of having solved on the existing market when the transport or when using, hardly avoids some fragile position damage on the ophthalmology laser therapy equipment, and because different patients ' interpupillary distance, forehead height etc. are all inequality, when using laser device to treat the ophthalmology disease, need carry out the problem of adjusting laser therapy device's position.
In order to achieve the above object, the utility model provides a following technical scheme: an ophthalmologic laser treatment device comprises a machine body, wherein a heat dissipation port is fixedly arranged on the surface of the machine body, a power switch is fixedly arranged on one side of the machine body, a pull rod is fixedly arranged on the surface of the machine body, a universal wheel is fixedly arranged on the bottom of the machine body, a support column is fixedly arranged on the bottom of the machine body, which is positioned on the side face of the universal wheel, a foundation column is fixedly arranged on the top of the machine body, an operation table is fixedly arranged on one side of the foundation column, a control panel is fixedly arranged on one side of the operation table, an observer is fixedly arranged on the top of the operation table, a medical microscope is fixedly arranged on the top of the observer, a protective cover is fixedly arranged on the top of the operation table, a clamping groove is fixedly arranged on the surface of the operation table, which is positioned in an inner cavity of the protective cover, and a pulley is fixedly arranged on the surface of the clamping groove, the utility model discloses a building foundation column, including base post, hinge, one side fixed mounting of hinge, the bottom fixed mounting of display has the keyboard, the surperficial swing joint of organism one side has the connecting rod, the one end fixed mounting of connecting rod has the rotation axis, one side fixed mounting of rotation axis has the frame, the top fixed mounting of frame has the elevating platform, the top fixed mounting of elevating platform has the operating table, one side fixed mounting of operating table has the control lever.
Preferably, the number of the medical microscopes is two, and the two medical microscopes are fixedly arranged on the surface of the observer.
Preferably, the bottom of the inner cavity of the machine body is fixedly provided with a motor box, and the surface of the motor box is provided with heat dissipation holes.
Preferably, the surface of one side of the machine body and one side of the lifting platform are respectively and fixedly connected with the head end and the tail end of the power line.
Preferably, the operating table and the base are arranged in parallel, and the bottom of the operating table and the top of the base are fixedly installed with the top and the bottom of the lifting table respectively.
Preferably, one side of the base column is in transmission connection with one side of the display through a hinge, and the top of the base column and the top of the display are horizontally arranged in parallel.
Preferably, a push rod motor is installed in the inner cavity of the lifting platform, and a moving block is installed at the output end of the push rod motor.
Compared with the prior art, the beneficial effects of the utility model are that:
1) in the work, the protective cover connected with the internal pulley of the clamping groove on the surface of the operating table can horizontally move the protective cover to the control panel, the observer and the medical microscope along the clamping groove through the pulley after the ophthalmologic laser treatment operation is finished, so that the problem that the control panel, the observer and the medical microscope fall ash when placed is solved, the loss of the ophthalmologic laser treatment instrument in the daily use process is avoided, and the service life of the ophthalmologic laser treatment instrument is prolonged;
2) through setting up elevating platform and control lever, can carry out corresponding high position and angle modulation because different patient's interpupillary distance, forehead height etc. are different when using laser device to treat ophthalmic diseases, avoided because the size difference of different patients and the trouble that brings, improved ophthalmic laser treatment's efficiency.
Drawings
The accompanying drawings are included to provide a further understanding of the invention, and are incorporated in and constitute a part of this specification, illustrate embodiments of the invention, and together with the description serve to explain the invention and not to limit the invention. In the drawings:
fig. 1 is a schematic front view of the present invention;
FIG. 2 is a schematic structural view of the present invention;
fig. 3 is a schematic side view of the protective cover of the present invention;
fig. 4 is a schematic view of the front structure of the protective cover of the present invention;
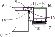
in the figure: 1. a body; 2. a heat dissipation port; 3. a motor case; 4. a power switch; 5. a universal wheel; 6. a support pillar; 7. a pull rod; 8. a base pillar; 9. an operation table; 10. a control panel; 11. an observer; 12. a medical microscope; 13. a pulley; 14. a card slot; 15. a protective cover; 16. a display; 17. a keyboard; 18. a connecting rod; 19. a rotating shaft; 20. a machine base; 21. a lifting platform; 22. an operating table; 23. a control lever; 24. a hinge; 25. a power line.
Detailed Description
The technical solutions in the embodiments of the present invention will be clearly and completely described below with reference to the drawings in the embodiments of the present invention, and it is obvious that the described embodiments are only some embodiments of the present invention, not all embodiments; based on the embodiments in the present invention, all other embodiments obtained by a person skilled in the art without creative work belong to the protection scope of the present invention.
In the embodiment, as shown in fig. 1-4, the utility model comprises a machine body 1, a heat dissipation port 2 is fixedly installed on the surface of the machine body 1, a power switch 4 is fixedly installed on one side of the machine body 1, a pull rod 7 is fixedly installed on the surface of the machine body 1 on the top of the power switch 4, a universal wheel 5 is fixedly installed on the bottom of the machine body 1, a support column 6 is fixedly installed on the bottom of the machine body 1 on the side of the universal wheel 5, a base column 8 is fixedly installed on the top of the machine body 1, an operation table 9 is fixedly installed on one side of the base column 8, a control panel 10 is fixedly installed on one side of the operation table 9, an observer 11 is fixedly installed on the top of the operation table 9, a medical microscope 12 is fixedly installed on the top of the observer 11, a protective cover 15 is fixedly installed on the top of the operation table 9 on one side of the observer 11, a clamping groove 14 is fixedly installed on the surface of the operation table 9 in the inner cavity of the protective cover 15, fixed surface of draw-in groove 14 installs pulley 13, the opposite side swing joint of foundation column 8 has hinge 24, hinge 24's side fixed mounting has display 16, display 16's bottom fixed mounting has keyboard 17, the surface swing joint of organism 1 one side has connecting rod 18, the one end fixed mounting of connecting rod 18 has rotation axis 19, one side fixed mounting of rotation axis 19 has frame 20, the top fixed mounting of frame 20 has elevating platform 21, the top fixed mounting of elevating platform 21 has operating table 22, one side fixed mounting of operating table 22 has control lever 23.
Wherein, the number of the medical microscope 12 is two, and the two medical microscopes 12 are fixedly arranged on the surface of the observer 11, so that the operation efficiency of a doctor can be improved by the two medical microscopes 12 when the laser device is used for treating the eye diseases.
Wherein, the bottom fixed mounting of 1 inner chamber of organism has motor case 3, and the louvre has been seted up on the surface of motor case 3, and the thermovent 2 that the surface of motor case 3 surface and organism 1 was seted up can be when using laser device to treat ophthalmic diseases with the biggest processing of the heat that produces, has prolonged ophthalmic laser therapy ware's life.
Wherein, the surface of organism 1 one side and one side of elevating platform 21 respectively with the head and the tail both ends fixed connection of power cord 25, by motor case 3 driven elevating platform 21, avoided needing artifical manual adjustment to elevating platform 21 for the operation is labour saving and time saving in progress.
The operating table 22 and the base 20 are arranged in parallel, the bottom of the operating table 22 and the top of the base 20 are fixedly mounted with the top and the bottom of the lifting table 21 respectively, and the lifting table 21 driven by the motor box 3 can adjust the angle, the height and the position of a patient when the patient lies on the operating table 22.
Wherein, one side of pillar 8 is connected with one side transmission of display 16 through hinge 24, and the top of pillar 8 is the level with the top of display 16 and sets up side by side, can make display 16 remove when inoperative through hinge 24's connection and laminate with pillar 8, has avoided the loss to display 16 in daily use, has prolonged life.
Wherein, the push rod motor is installed to the inner chamber of elevating platform 21, and the movable block is installed to the output of push rod motor, utilizes the push rod motor to drive the movable block and carries out the change in height, realizes the altitude mixture control function of elevating platform 21 afterwards.
The working principle is as follows: when the ophthalmologic laser treatment equipment is used, firstly, whether the ophthalmologic laser treatment equipment is intact is determined, then the ophthalmologic laser treatment equipment can be normally used, a patient lies on an operating table 22, the operating table 22 is moved through a section of connecting rod 18 of a base 20 at the bottom of the operating table 22 and a rotating shaft 19, so that the operating table 22 is pushed by a universal wheel 5 at the bottom, the operating personnel adjusts the lifting table 21 through a control rod 23, the head and eyes of the patient are aligned to the bottom of the observer 11 through the vertical position and the inclined angle, the observer 11 is waited to be aligned to the eyes of the patient, and then the motor box 3 of the ophthalmologic laser treatment equipment is opened, so that the patient can be treated, the trouble caused by the difference of body sizes of different patients is avoided, and the ophthalmologic laser treatment efficiency is improved;
after the treatment, remove safety cover 15 along pulley 13 on draw-in groove 14, until remove to protect control panel 10 in safety cover 15, protected control panel 10 and observer 11, medical microscope 12 the grey problem that falls when placing, avoided the loss to this ophthalmology laser therapy instrument in daily use, prolonged the life of ophthalmology laser therapy instrument and improved the practicality of this equipment.
It should be noted that, in this document, relational terms such as first and second, and the like are used solely to distinguish one entity or action from another entity or action without necessarily requiring or implying any actual such relationship or order between such entities or actions, and furthermore, the terms "comprise", "include", or any other variation thereof are intended to cover a non-exclusive inclusion, such that a process, method, article, or apparatus that comprises a list of elements does not include only those elements but may include other elements not expressly listed or inherent to such process, method, article, or apparatus.
Although embodiments of the present invention have been shown and described, it will be appreciated by those skilled in the art that changes, modifications, substitutions and alterations can be made in these embodiments without departing from the principles and spirit of the invention, the scope of which is defined in the appended claims and their equivalents.
Claims (7)
1. An ophthalmological laser treatment apparatus comprising a body (1), characterized in that: the surface fixing of organism (1) installs thermovent (2), one side fixed mounting of organism (1) has switch (4), the fixed surface that organism (1) is located switch (4) top installs pull rod (7), the bottom fixed mounting of organism (1) has universal wheel (5), the bottom fixed mounting that organism (1) is located universal wheel (5) side has support column (6), the top fixed mounting of organism (1) has foundation column (8), one side fixed mounting of foundation column (8) has operation panel (9), one side fixed mounting of operation panel (9) has control panel (10), the top fixed mounting of operation panel (9) has viewer (11), the top fixed mounting of viewer (11) has medical microscope (12), the top fixed mounting that operation panel (9) is located viewer (11) one side has safety cover (15), a clamping groove (14) is fixedly arranged on the surface of the operating table (9) positioned in the inner cavity of the protective cover (15), a pulley (13) is fixedly arranged on the surface of the clamping groove (14), a hinge (24) is movably connected with the other side of the base column (8), a display (16) is fixedly arranged on the side surface of the hinge (24), a keyboard (17) is fixedly arranged at the bottom of the display (16), the surface of one side of the machine body (1) is movably connected with a connecting rod (18), one end of the connecting rod (18) is fixedly provided with a rotating shaft (19), a base (20) is fixedly arranged on one side of the rotating shaft (19), a lifting platform (21) is fixedly arranged on the top of the base (20), the top fixed mounting of elevating platform (21) has operating table (22), one side fixed mounting of operating table (22) has control lever (23).
2. The ophthalmic laser treatment apparatus of claim 1, wherein: the number of the medical microscopes (12) is two, and the two medical microscopes (12) are fixedly arranged on the surface of the observer (11).
3. The ophthalmic laser treatment apparatus of claim 1, wherein: the bottom of the inner cavity of the machine body (1) is fixedly provided with a motor box (3), and heat dissipation holes are formed in the surface of the motor box (3).
4. The ophthalmic laser treatment apparatus of claim 1, wherein: the surface of one side of the machine body (1) and one side of the lifting platform (21) are respectively fixedly connected with the head end and the tail end of the power line (25).
5. The ophthalmic laser treatment apparatus of claim 1, wherein: the operating table (22) and the base (20) are arranged in parallel, and the bottom of the operating table (22) and the top of the base (20) are fixedly installed with the top and the bottom of the lifting table (21) respectively.
6. The ophthalmic laser treatment apparatus of claim 1, wherein: one side of the base column (8) is in transmission connection with one side of the display (16) through a hinge (24), and the top of the base column (8) and the top of the display (16) are horizontally arranged in parallel.
7. The ophthalmic laser treatment apparatus of claim 1, wherein: the inner cavity of the lifting platform (21) is provided with a push rod motor, and the output end of the push rod motor is provided with a moving block.
Priority Applications (1)
| Application Number | Priority Date | Filing Date | Title |
|---|---|---|---|
| CN202023024174.1U CN214511499U (en) | 2020-12-15 | 2020-12-15 | Ophthalmological laser treatment device |
Applications Claiming Priority (1)
| Application Number | Priority Date | Filing Date | Title |
|---|---|---|---|
| CN202023024174.1U CN214511499U (en) | 2020-12-15 | 2020-12-15 | Ophthalmological laser treatment device |
Publications (1)
| Publication Number | Publication Date |
|---|---|
| CN214511499U true CN214511499U (en) | 2021-10-29 |
Family
ID=78294122
Family Applications (1)
| Application Number | Title | Priority Date | Filing Date |
|---|---|---|---|
| CN202023024174.1U Expired - Fee Related CN214511499U (en) | 2020-12-15 | 2020-12-15 | Ophthalmological laser treatment device |
Country Status (1)
| Country | Link |
|---|---|
| CN (1) | CN214511499U (en) |
Cited By (1)
| Publication number | Priority date | Publication date | Assignee | Title |
|---|---|---|---|---|
| CN115444657A (en) * | 2022-09-21 | 2022-12-09 | 郑州市中心医院 | An ophthalmic laser treatment device |
-
2020
- 2020-12-15 CN CN202023024174.1U patent/CN214511499U/en not_active Expired - Fee Related
Cited By (1)
| Publication number | Priority date | Publication date | Assignee | Title |
|---|---|---|---|---|
| CN115444657A (en) * | 2022-09-21 | 2022-12-09 | 郑州市中心医院 | An ophthalmic laser treatment device |
Similar Documents
| Publication | Publication Date | Title |
|---|---|---|
| MXPA04006954A (en) | Methods for producing epithelial flaps on the cornea and for placement of ocular devices and lenses beneath an epithelial flap or membrane, epithelial delaminating devices, and structures of epithelium and ocular devices and lenses. | |
| CN111407612A (en) | Vision improvement training instrument | |
| CN214511499U (en) | Ophthalmological laser treatment device | |
| LU600267B1 (en) | Eye decompression device for glaucoma patients | |
| CN112656360A (en) | Be used for ophthalmology be convenient for adjustment type inspection desk | |
| CN108056892A (en) | A kind of integral type clinical ophthalmology auxiliary device | |
| CN213910152U (en) | Novel ophthalmology inspection device | |
| CN213284213U (en) | A kind of massage device after glaucoma surgery | |
| CN211512290U (en) | Novel ophthalmic needle forceps | |
| CN210228468U (en) | Eyelash trimming device for ophthalmologic nursing | |
| CN208769757U (en) | An adjustable slit lamp for ophthalmology | |
| CN111544192A (en) | Eye-shade heating device for ophthalmology | |
| CN218529043U (en) | Ophthalmic eyelid distraction injection device | |
| CN213872340U (en) | Illumination device for ophthalmologic cataract operation | |
| CN218943307U (en) | Ophthalmic treatment inspection device convenient for inspection | |
| CN216653145U (en) | Extension lens cone of light feeding instrument | |
| CN213189471U (en) | Portable combination formula ophthalmology diagnostic device | |
| CN209933164U (en) | Ophthalmic surgery equipment support equipment | |
| CN205411560U (en) | Be fit for inspection chair that ophthalmology patient used | |
| CN215307905U (en) | Head auxiliary fixing device for ophthalmologic operation | |
| CN213630180U (en) | Lighting device for ophthalmic surgery | |
| CN222488085U (en) | Eye flusher | |
| CN220175486U (en) | Multifunctional ophthalmic surgical device | |
| CN211535399U (en) | Cataract surgery auxiliary assembly | |
| CN215020370U (en) | Ampelopsis grossedentata type external pushing device |
Legal Events
| Date | Code | Title | Description |
|---|---|---|---|
| GR01 | Patent grant | ||
| GR01 | Patent grant | ||
| CF01 | Termination of patent right due to non-payment of annual fee | ||
| CF01 | Termination of patent right due to non-payment of annual fee |
Granted publication date: 20211029 |