CN214484871U - A nursing mobile bed with integrated traditional Chinese and western medicine that is easy to transfer - Google Patents

A nursing mobile bed with integrated traditional Chinese and western medicine that is easy to transfer Download PDF

Info

Publication number
CN214484871U
CN214484871U CN202120022411.6U CN202120022411U CN214484871U CN 214484871 U CN214484871 U CN 214484871U CN 202120022411 U CN202120022411 U CN 202120022411U CN 214484871 U CN214484871 U CN 214484871U
Authority
CN
China
Prior art keywords
plate
fixed
western medicine
fixedly connected
hydraulic press
Prior art date
Legal status (The legal status is an assumption and is not a legal conclusion. Google has not performed a legal analysis and makes no representation as to the accuracy of the status listed.)
Expired - Fee Related
Application number
CN202120022411.6U
Other languages
Chinese (zh)
Inventor
冉珊
Current Assignee (The listed assignees may be inaccurate. Google has not performed a legal analysis and makes no representation or warranty as to the accuracy of the list.)
Union Hospital Tongji Medical College Huazhong University of Science and Technology
Original Assignee
Union Hospital Tongji Medical College Huazhong University of Science and Technology
Priority date (The priority date is an assumption and is not a legal conclusion. Google has not performed a legal analysis and makes no representation as to the accuracy of the date listed.)
Filing date
Publication date
Application filed by Union Hospital Tongji Medical College Huazhong University of Science and Technology filed Critical Union Hospital Tongji Medical College Huazhong University of Science and Technology
Priority to CN202120022411.6U priority Critical patent/CN214484871U/en
Application granted granted Critical
Publication of CN214484871U publication Critical patent/CN214484871U/en
Expired - Fee Related legal-status Critical Current
Anticipated expiration legal-status Critical

Links

Images

Landscapes

  • Invalid Beds And Related Equipment (AREA)

Abstract

本实用新型公开了一种便于转移的中西医结合护理移动床,包括活动板、固定柱,所述活动板的两端均固定连接有滑块,所述固定柱靠近活动板的一侧设置有滑轨,所述滑轨内壁滑动连接有滑块,所述活动板的顶部设置有液压器,所述液压器的顶部设置有固定板与折叠板,有益效果在于:通过设置的液压器、固定板、折叠板和弹簧,通过液压器,来分别控制固定板和折叠板,当需要将病人坐起时,启动折叠板下的液压器,来控制折叠板的升高下降,从而达到坐起的目的,完成护理,操作简单,也使护理过程中更加方便,通过设置的活动板、滑块和滑轨,移动活动板,活动板通过滑块可以左右移动,更方便转移病人,减少人直接接触病人的风险,避免发生二次伤害。

Figure 202120022411

The utility model discloses a nursing moving bed with integrated traditional Chinese and Western medicine which is convenient for transfer, which comprises a movable plate and a fixed column. Both ends of the movable plate are fixedly connected with sliding blocks, and a side of the fixed column close to the movable plate is provided with a sliding block. A slide rail, the inner wall of the slide rail is slidably connected with a slider, the top of the movable plate is provided with a hydraulic device, and the top of the hydraulic device is provided with a fixed plate and a folding plate, the beneficial effect is: The plate, the folding plate and the spring are controlled by the hydraulic device to control the fixed plate and the folding plate respectively. When the patient needs to sit up, the hydraulic device under the folding plate is activated to control the rise and fall of the folding plate, so as to achieve a sitting up position. The purpose is to complete the nursing, the operation is simple, and the nursing process is more convenient. The movable board can be moved through the set movable board, slider and slide rail. The movable board can be moved left and right through the slider, which is more convenient to transfer patients and reduce direct contact between people. risk to the patient and avoid secondary injury.

Figure 202120022411

Description

Traditional chinese and western medicine combines nursing moving bed convenient to shift
Technical Field
The utility model relates to a combine the nursing field, concretely relates to traditional chinese and western medicine combines nursing moving bed convenient to shift.
Background
As the aging rate increases and as the number of chronic diseases increases in the elderly, care beds are also required to change little by little in the face of these problems.
The existing nursing bed cannot achieve the purpose of conveniently transferring the patient, and may cause secondary danger when transferring the patient.
SUMMERY OF THE UTILITY MODEL
Technical problem to be solved
The utility model aims at solving the problem that the patient can not be conveniently transferred in the common use, which may lead to the secondary danger when transferring the patient, and providing a combined traditional Chinese and western medicine nursing moving bed convenient for transferring.
(II) technical scheme
The utility model discloses a following technical scheme realizes above-mentioned purpose: the utility model provides a traditional chinese and western medicine combines nursing moving bed convenient to shift, includes fly leaf, fixed column, the equal fixedly connected with slider in both ends of fly leaf, one side that the fixed column is close to the fly leaf is provided with the slide rail, slide rail inner wall sliding connection has the slider, the top of fly leaf is provided with the hydraulic press, the top of hydraulic press is provided with fixed plate and folded sheet, the bottom of fixed column is provided with the universal wheel.
Furthermore, the number of the fixed columns is two, and the two fixed columns are fixedly connected through the supporting plate.
Through adopting above-mentioned technical scheme, make the fixed of device more firm, blocked structure above and the connection of following structure, make above-mentioned not influence below when removing.
Furthermore, the number of the hydraulic press is two, and the top of the hydraulic press is fixedly connected with a fixing plate and a folding plate respectively.
By adopting the technical scheme, the device can move up and down and can be independently controlled to adjust the height of the folding plate, so that the patient can be more conveniently nursed.
Further, the bottom fixedly connected with spring of fixed plate and folded sheet, and fixed plate and folded sheet pass through spring and fly leaf fixed connection.
Through adopting above-mentioned technical scheme, improve patient's comfort on the nursing bed, also improved the security of device.
Furthermore, the bottom of the supporting plate is fixedly connected with four drawers, the front vertical face of each drawer is fixedly connected with a drawer handle, and the rear vertical face of the supporting plate is provided with a telescopic table.
Through adopting above-mentioned technical scheme, improved the practicality of this device, conveniently place various medical appliances and nursing apparatus in the nursing process, for the nursing staff provides convenient, also make patient more convenient when having a meal.
Furthermore, the rear vertical face of the fixed column is fixedly connected with a fixed tube, the inner wall of the fixed tube is connected with a movable rod in a sliding mode, the outer wall of the fixed tube is provided with a screw rod, the top of the movable rod is provided with a hook, and one side of the other fixed column is fixedly connected with a push-pull handle.
By adopting the technical scheme, the device can be directly hung in the liquid dropping process, the work of finishing the liquid dropping process by using the hanging rod is reduced, and the device is more convenient and safer.
Further, the folded sheet includes articulated slab, lagging, expansion plate and activity post, the one end and the fixed plate of articulated slab are articulated, and the other end and the lagging of articulated slab are articulated, the inner wall and the expansion plate sliding connection of lagging, the bottom and the activity post of expansion plate are articulated, the bottom and the top of hydraulic press of activity post are articulated.
Through adopting above-mentioned scheme, make the hydraulic press can improve the height of folded sheet alone, reach a suitable position and nurse patient, improved the practicality of device.
(II) advantageous effects
The utility model discloses to prior art, following beneficial effect has:
1. through the hydraulic press that sets up, the fixed plate, the folded sheet, a spring, the articulated slab, the lagging, expansion plate and activity post, through the hydraulic press, come control fixed plate and folded sheet respectively, when needs are sat patient, start the hydraulic press under the folded sheet, promote movable post 21 upward movement, pull out expansion plate 20 in the upward movement process, thereby reach the purpose of sitting up, when needing to put down, start 7 downstream of hydraulic press, pull movable post 21 downstream, push back in the lagging 19 with expansion plate 20 in the motion process, get back to initial position, when needing to lift the leg, start the hydraulic press under the fixed plate, come the rising of control fixed plate, improve the shank position, accomplish the nursing, and the operation is simple, it is more convenient also to make in the nursing process.
2. Through fly leaf, slider and the slide rail that sets up, remove the fly leaf, the fly leaf passes through the slider and can removes, more conveniently shifts patient, reduces the risk of people direct contact patient, avoids taking place secondary damage, can go to adjust from top to bottom after removing the completion simultaneously, makes bed and transfer bed reach a plane, makes the bed that shifts can not take place to incline because of the overweight of weight of one side.
Drawings
FIG. 1 is a front view of a combined traditional and western nursing moving bed for easy transfer according to the present invention;
FIG. 2 is a rear view of a combined traditional and western nursing moving bed for easy transfer according to the present invention;
FIG. 3 is a partial block diagram of a combined traditional Chinese and western nursing moving bed for easy transfer;
FIG. 4 is a side view of a combined traditional and western nursing moving bed for easy transfer according to the present invention;
fig. 5 is a structure view of a folding plate of a combined traditional Chinese and western medicine nursing moving bed convenient for transferring.
The reference numerals are explained below:
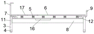
1. a movable rod; 2. a support plate; 3. fixing a column; 4. a universal wheel; 5. a spring; 6. a fixing plate; 7. a hydraulic press; 8. a drawer cabinet; 9. pushing and pulling the handle; 10. a screw; 11. a fixed tube; 12. a movable plate; 13. a drawer handle; 14. a slider; 15. a slide rail; 16. a telescopic table plate; 17. folding the board; 18. a hinge plate; 19. sheathing; 20. a retractable plate; 21. a movable column.
Detailed Description
In order to make the objects, technical solutions and advantages of the present invention more clearly understood, the present invention is further described in detail below with reference to the accompanying drawings and embodiments. It should be understood that the specific embodiments described herein are merely illustrative of the invention and are not intended to limit the invention.
As shown in fig. 1-5, in the present embodiment, a combined traditional Chinese and western medicine nursing moving bed convenient for transfer includes a movable plate 12 and a fixed column 3, both ends of the movable plate 12 are fixedly connected with sliders 14, one side of the fixed column 3, which is close to the movable plate 12, is provided with a slide rail 15, the inner wall of the slide rail 15 is slidably connected with the sliders 14, the movable plate can move left and right through the sliders, so as to more conveniently transfer patients, reduce the risk of direct contact of people with patients, avoid secondary injury, and simultaneously can be adjusted up and down after the movement is completed, so that the bed and the transfer bed reach a plane, so that the transfer bed does not incline due to the excessive weight of one side, the top of the movable plate 12 is provided with a hydraulic press 7, the top of the hydraulic press 7 is provided with a fixed plate 6 and a folding plate 17, the bottom of the fixed column 3 is provided with a universal wheel 4, and through the hydraulic press, the device is characterized in that the device is respectively controlled by a fixed plate and a folding plate, when a patient needs to be seated, a hydraulic press below the folding plate is started to control the lifting and descending of the folding plate, so that the sitting purpose is achieved, when the leg needs to be lifted, the hydraulic press below the fixed plate is started to control the lifting of the fixed plate, the position of the leg is improved, and the nursing is completed, the number of the fixed columns 3 is two, the two fixed columns 3 are fixedly connected through a supporting plate 2, so that the fixing of the device is firmer, the connection between an upper structure and a lower structure is blocked, the lower surface of the upper structure is not influenced when the upper structure moves, the number of the hydraulic presses 7 is two, the top of the hydraulic press 7 is respectively and fixedly connected with the fixed plate 6 and the folding plate 17, the device can complete the up-down movement, the height of the folding plate can be independently controlled to adjust the height of the folding plate, so that the nursing for the patient is more convenient, and the spring 5 is fixedly connected at the bottoms of the fixed plate 6 and the folding plate 17, and the fixed plate 6 and the folding plate 17 are fixedly connected with the movable plate 12 through the spring 5, so that the comfort of a patient on the nursing bed is improved, and the safety of the device is also improved, the bottom of the supporting plate 2 is fixedly connected with the drawer 8, the number of the drawers 8 is four, the front vertical surface of the drawer 8 is fixedly connected with the drawer handle 13, the rear vertical surface of the supporting plate 2 is provided with the telescopic table plate 16, so that the practicability of the device is improved, various medical appliances and nursing tools are conveniently placed in the nursing process, convenience is provided for nursing staff, and the patient can eat more conveniently, the rear vertical surface of the fixed column 3 is fixedly connected with the fixed tube 11, the inner wall of the fixed tube 11 is slidably connected with the movable rod 1, the outer wall of the fixed tube 11 is provided with the screw rod 10, the top of the movable rod 1 is provided with a hook, one side of the other fixed column 3 is fixedly connected with the push-pull handle 9, the device can be conveniently hung directly in the water hanging process, the work that a hanging rod needs to be used for completing the device is omitted, the device is more convenient and safer, the folding plate 17 comprises a hinged plate 18, a sleeve plate 19, a telescopic plate 20 and a movable column 21, one end of the hinged plate 18 is hinged to the fixed plate 6, the other end of the hinged plate 18 is hinged to the sleeve plate 19, the inner wall of the sleeve plate 19 is connected with the telescopic plate 20 in a sliding mode, the bottom of the telescopic plate 20 is hinged to the movable column 21, the bottom of the movable column 21 is hinged to the top of the hydraulic press 7, the hydraulic press can independently improve the height of the folding plate, a proper position is reached for nursing patients, and the practicability of the device is improved.
The specific implementation process of this embodiment is as follows: when a patient is transferred, the two hydraulic presses 7 are simultaneously started to enable the bed plate to be higher than the sickbed a little, the movable plate 12 is pushed to move towards the sickbed and is erected on the sickbed, when the patient is transferred to a nursing bed, the movable plate 12 is pulled to return to the original position, the hydraulic press 7 is started to enable the movable plate 12 to return to the original position, the transfer is completed, when nursing is carried out, the hydraulic press 7 at the bottom of the folding plate 17 is started to push the movable column 21 to move upwards, the telescopic plate 20 is pulled out in the upward movement process to complete the sitting of the patient, the telescopic table plate 16 is opened to enable the patient to have meals and entertainment, when the patient needs to put down, the hydraulic press 7 is started to move downwards to pull the movable column 21 to move downwards, the telescopic plate 20 is pushed back into the sleeve plate 19 in the movement process to return to the original position, when the nursing of the legs is needed, the hydraulic press 7 at the bottom of the fixed plate 6 is started to lift the legs to carry out nursing, when liquid dropping is carried out, pull out movable rod 1, rotate screw rod 10 again, make the outer wall of movable rod 1 draw close the extrusion to the inner wall of fixed pipe 11, accomplish fixedly, conveniently carry out the dropping liquid, promote during the removal and push away and draw handle 9, control universal wheel 4 removes.
The above-described embodiments are merely illustrative of the preferred embodiments of the present invention and are not intended to limit the spirit and scope of the present invention. Without departing from the design concept of the present invention, various modifications and improvements made by the technical solution of the present invention by those skilled in the art should fall into the protection scope of the present invention, and the technical contents claimed by the present invention have been fully recorded in the claims.

Claims (7)

1. The utility model provides a traditional chinese and western medicine combines nursing moving bed convenient to shift, includes fly leaf (12), fixed column (3), its characterized in that: the improved hydraulic press is characterized in that sliding blocks (14) are fixedly connected to two ends of the movable plate (12), a sliding rail (15) is arranged on one side, close to the movable plate (12), of the fixed column (3), the sliding blocks (14) are connected to the inner wall of the sliding rail (15) in a sliding mode, a hydraulic press (7) is arranged at the top of the movable plate (12), a fixed plate (6) and a folding plate (17) are arranged at the top of the hydraulic press (7), and universal wheels (4) are arranged at the bottom of the fixed column (3).
2. A combined traditional and western medicine nursing moving bed for facilitating transfer according to claim 1, wherein: the number of the fixing columns (3) is two, and the two fixing columns (3) are fixedly connected through the supporting plate (2).
3. A combined traditional and western medicine nursing moving bed for facilitating transfer according to claim 1, wherein: the number of the hydraulic press (7) is two, and the top of the hydraulic press (7) is respectively provided with a fixing plate (6) and a folding plate (17).
4. A combined traditional and western medicine nursing moving bed for facilitating transfer according to claim 1, wherein: the bottom fixedly connected with spring (5) of fixed plate (6) and folded sheet (17), and fixed plate (6) and folded sheet (17) pass through spring (5) and fly leaf (12) fixed connection.
5. A combined traditional and western medicine nursing moving bed for facilitating transfer according to claim 2, wherein: the bottom fixedly connected with drawer (8) of backup pad (2), the quantity of drawer (8) is four, and the preceding facade fixedly connected with drawer handle (13) of drawer (8), the back facade of backup pad (2) is provided with flexible table (16).
6. A combined traditional and western medicine nursing moving bed for facilitating transfer according to claim 2, wherein: the rear vertical face of the fixed column (3) is fixedly connected with a fixed tube (11), the inner wall of the fixed tube (11) is connected with a movable rod (1) in a sliding mode, a screw rod (10) is arranged on the outer wall of the fixed tube (11), a hook is arranged at the top of the movable rod (1), and a push-pull handle (9) is fixedly connected to one side of the other fixed column (3).
7. A combined traditional and western medicine nursing moving bed for facilitating transfer according to claim 1, wherein: folding plate (17) are including articulated plate (18), lagging (19), expansion plate (20) and activity post (21), the one end and the fixed plate (6) of articulated plate (18) are articulated, and the other end and the lagging (19) of articulated plate (18) are articulated, the inner wall and the expansion plate (20) sliding connection of lagging (19), the bottom and the activity post (21) of expansion plate (20) are articulated, the bottom and the top of hydraulic press (7) of activity post (21) are articulated.
CN202120022411.6U 2021-01-06 2021-01-06 A nursing mobile bed with integrated traditional Chinese and western medicine that is easy to transfer Expired - Fee Related CN214484871U (en)

Priority Applications (1)

Application Number Priority Date Filing Date Title
CN202120022411.6U CN214484871U (en) 2021-01-06 2021-01-06 A nursing mobile bed with integrated traditional Chinese and western medicine that is easy to transfer

Applications Claiming Priority (1)

Application Number Priority Date Filing Date Title
CN202120022411.6U CN214484871U (en) 2021-01-06 2021-01-06 A nursing mobile bed with integrated traditional Chinese and western medicine that is easy to transfer

Publications (1)

Publication Number Publication Date
CN214484871U true CN214484871U (en) 2021-10-26

Family

ID=78214484

Family Applications (1)

Application Number Title Priority Date Filing Date
CN202120022411.6U Expired - Fee Related CN214484871U (en) 2021-01-06 2021-01-06 A nursing mobile bed with integrated traditional Chinese and western medicine that is easy to transfer

Country Status (1)

Country Link
CN (1) CN214484871U (en)

Similar Documents

Publication Publication Date Title
CN208287175U (en) Multi-functional electric medical bed
CN108836674A (en) It is a kind of multifunctional electric care bed
CN203988763U (en) Nursing bed used for cardiology
CN107496105A (en) A kind of care bed for being easy to bunk bed
CN206792600U (en) A kind of multifunctional medical nursing bed
CN108721016A (en) The mutual variant care bed of a kind of chair
CN214484871U (en) A nursing mobile bed with integrated traditional Chinese and western medicine that is easy to transfer
CN209075234U (en) It is a kind of multifunctional electric care bed
CN210494431U (en) A multifunctional nursing bed based on pediatric nursing
CN218739396U (en) An adjustable flat bed
CN208573923U (en) A kind of nursing bed convenient for going to bed
CN213851586U (en) A kind of table board for lymphoma nursing
CN104783985A (en) Multi-functional nursing bed
CN211156797U (en) Novel wheelchair bed
CN113133882B (en) A patient position conversion device for nursing care of critically ill patients
WO2024192653A1 (en) Nursing bed main unit and nursing bed assembly therein
CN211675210U (en) Novel multi-functional activity assistor that leaves bed
CN204636787U (en) Multifunction nursing bed
CN203458558U (en) Domestic multifunctional care bed
CN209361145U (en) A bed and chair interchangeable nursing bed
CN110584906A (en) Novel wheelchair bed
CN215875291U (en) Postpartum care bed
CN221770629U (en) Internal medicine nursing sitting frame
CN206700336U (en) A kind of multifunctional medical nursing bed with pedal structure
CN206687852U (en) Multifunctional recovery sick bed

Legal Events

Date Code Title Description
GR01 Patent grant
GR01 Patent grant
CF01 Termination of patent right due to non-payment of annual fee

Granted publication date: 20211026

CF01 Termination of patent right due to non-payment of annual fee