CN214442788U - Linear rivet feeder - Google Patents
Linear rivet feeder Download PDFInfo
- Publication number
- CN214442788U CN214442788U CN202120288386.6U CN202120288386U CN214442788U CN 214442788 U CN214442788 U CN 214442788U CN 202120288386 U CN202120288386 U CN 202120288386U CN 214442788 U CN214442788 U CN 214442788U
- Authority
- CN
- China
- Prior art keywords
- fixedly connected
- rivet
- feeding mechanism
- chassis
- upper portion
- Prior art date
- Legal status (The legal status is an assumption and is not a legal conclusion. Google has not performed a legal analysis and makes no representation as to the accuracy of the status listed.)
- Expired - Fee Related
Links
- 238000004080 punching Methods 0.000 claims abstract description 14
- 238000012856 packing Methods 0.000 claims 7
- 244000309464 bull Species 0.000 claims 2
- 238000004519 manufacturing process Methods 0.000 abstract description 9
- 238000003825 pressing Methods 0.000 abstract description 5
- 238000000034 method Methods 0.000 description 8
- 238000007599 discharging Methods 0.000 description 3
- 230000009286 beneficial effect Effects 0.000 description 2
- 238000012986 modification Methods 0.000 description 2
- 230000004048 modification Effects 0.000 description 2
- 230000007812 deficiency Effects 0.000 description 1
- 230000005484 gravity Effects 0.000 description 1
Images
Landscapes
- Automatic Assembly (AREA)
Abstract
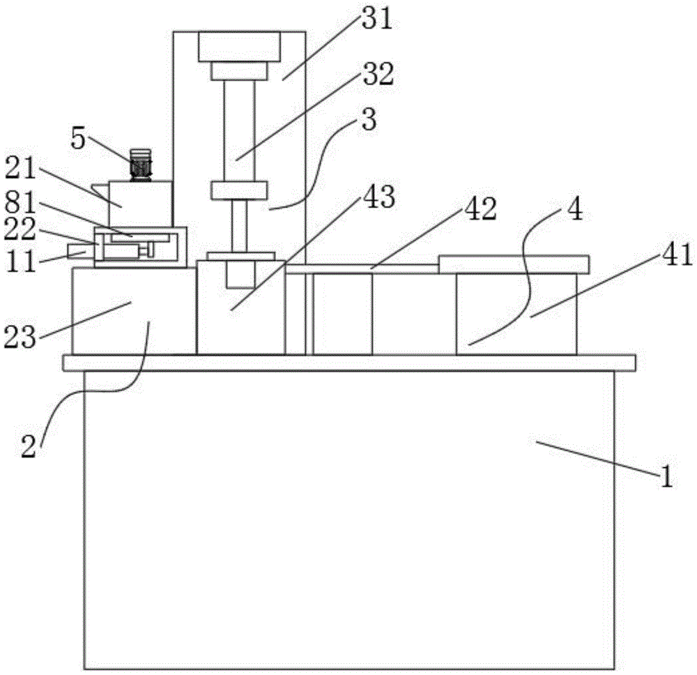
本实用新型公开了一种直线式铆钉供料器,包括操作台、垫圈送料机构、冲压机构和铆钉送料机构,所述垫圈送料机构的底部与操作台上部的左侧固定连接,所述冲压机构与操作台上部的后侧固定连接,所述铆钉送料机构与操作台上部的右侧固定连接,所述垫圈送料机构包括垫圈桶、底架和滑动座,所述垫圈桶与底架的上部固定连接,本实用新型涉及供料技术领域。该直线式铆钉供料器,利用螺旋振动盘将铆钉送至直式振动带上,第三电推杆推动送料接头将铆钉送至承接座,电机带动转刷转动,使垫圈使出料口落至U型槽口,然后液压缸推动压座对铆钉进行冲压,可以实现自动化生产,方便操作,减少了人工,产品质量好,生产效率高。
The utility model discloses a linear rivet feeder, comprising an operating table, a washer feeding mechanism, a punching mechanism and a rivet feeding mechanism. The bottom of the washer feeding mechanism is fixedly connected with the left side of the upper part of the operating table, and the punching mechanism It is fixedly connected to the rear side of the upper part of the operating table, and the rivet feeding mechanism is fixedly connected to the right side of the upper part of the operating table. The washer feeding mechanism includes a gasket barrel, a chassis and a sliding seat, and the gasket barrel is fixed to the upper part of the chassis The utility model relates to the technical field of feeding. The linear rivet feeder uses a spiral vibrating disc to send the rivets to the straight vibrating belt, the third electric push rod pushes the feeding joint to send the rivets to the receiving seat, and the motor drives the rotating brush to rotate, so that the washer makes the discharge port fall. To the U-shaped notch, and then the hydraulic cylinder pushes the pressing seat to punch the rivet, which can realize automatic production, convenient operation, reduce labor, good product quality and high production efficiency.
Description
技术领域technical field
本实用新型涉及供料技术领域,具体为一种直线式铆钉供料器。The utility model relates to the technical field of feeding, in particular to a linear rivet feeder.
背景技术Background technique
铆钉是一种在生产组装过程中常用的零件,在自动化生产中铆钉输送时需要按照设定的姿势送料,现有的铆钉自动送料机构一般借助铆钉的重心偏离于几何中心来进行自动排队,将姿势不正确的铆钉退回到料桶。Rivets are commonly used parts in the production and assembly process. In automated production, rivets need to be fed according to the set posture when conveying. The existing rivet automatic feeding mechanism generally uses the center of gravity of the rivet to deviate from the geometric center to automatically queue up. Rivets with incorrect posture are returned to the bucket.
铆钉供料器用于铆合铆钉和垫片,传统的铆钉机铆合时一般需要通过人工手动来放料,人工把垫片放到设备既定位置,在放料过程中容易造成很多失误,造成产品的良品率低,同时,由于人力操作过多,因此生产效率很低,人力成本很高,危险系数高。The rivet feeder is used for riveting rivets and gaskets. The traditional riveting machine generally needs to manually discharge the material when riveting. The gasket is manually placed in the predetermined position of the equipment, which is easy to cause many mistakes in the process of unloading, resulting in product At the same time, due to too many manual operations, the production efficiency is very low, the labor cost is high, and the risk factor is high.
实用新型内容Utility model content
针对现有技术的不足,本实用新型提供了一种直线式铆钉供料器,解决了传统的铆钉机铆合时一般需要通过人工手动来放料,人工把垫片放到设备既定位置,在放料过程中容易造成很多失误,造成产品的良品率低,人力操作过多,生产效率很低,人力成本很高,危险系数高的问题。In view of the deficiencies of the prior art, the utility model provides a linear rivet feeder, which solves the problem that the traditional riveting machine generally needs to manually discharge the material when riveting, and manually place the gasket in the predetermined position of the equipment. It is easy to cause many mistakes in the process of discharging, resulting in low product yield, excessive manual operation, low production efficiency, high labor cost and high risk factor.
为实现以上目的,本实用新型通过以下技术方案予以实现:一种直线式铆钉供料器,包括操作台、垫圈送料机构、冲压机构和铆钉送料机构,所述垫圈送料机构的底部与操作台上部的左侧固定连接,所述冲压机构与操作台上部的后侧固定连接,所述铆钉送料机构与操作台上部的右侧固定连接,所述垫圈送料机构包括垫圈桶、底架和滑动座,所述垫圈桶与底架的上部固定连接,所述垫圈桶的上部固定连接有电机,所述电机的输出端贯穿垫圈桶的上部,且电机的输出端固定连接有转杆,所述转杆的底部固定连接有转刷,所述底架的上部开设有出料口。In order to achieve the above purpose, the utility model is realized through the following technical solutions: a linear rivet feeder, including an operating table, a washer feeding mechanism, a punching mechanism and a rivet feeding mechanism, the bottom of the washer feeding mechanism and the upper part of the operating table. The left side of the machine is fixedly connected, the punching mechanism is fixedly connected to the rear side of the upper part of the operating table, the rivet feeding mechanism is fixedly connected to the right side of the upper part of the operating table, and the washer feeding mechanism includes a washer barrel, a chassis and a sliding seat, The washer barrel is fixedly connected with the upper part of the chassis, the upper part of the washer barrel is fixedly connected with a motor, the output end of the motor penetrates the upper part of the washer barrel, and the output end of the motor is fixedly connected with a rotating rod, the rotating rod The bottom of the bottom frame is fixedly connected with a rotating brush, and the upper part of the bottom frame is provided with a discharge port.
优选的,所述底架内侧的上部通过第一滑组滑动连接有出料板,所述底架内侧的中部固定连接有第一电推杆,所述出料板的底部通过连接板与第一电推杆固定连接。Preferably, a discharge plate is slidably connected to the upper part of the inner side of the chassis through a first sliding group, a first electric push rod is fixedly connected to the middle part of the inner side of the chassis, and the bottom of the discharge plate is connected to the first electric push rod through a connecting plate. An electric push rod is fixedly connected.
优选的,所述出料板位于出料口的底部,所述出料板的右端开设有U型槽口。Preferably, the discharge plate is located at the bottom of the discharge port, and the right end of the discharge plate is provided with a U-shaped notch.
优选的,所述底架的底部通过第二滑组与滑动座的前侧滑动连接,所述滑动座的底部固定连接有第二电推杆,所述第二电推杆的输出端与底架的底部固定连接。Preferably, the bottom of the chassis is slidably connected to the front side of the sliding seat through a second sliding group, the bottom of the sliding seat is fixedly connected with a second electric push rod, and the output end of the second electric push rod is connected to the bottom of the sliding seat. The bottom of the rack is fixedly connected.
优选的,所述冲压机构包括立架、液压缸和承接座,所述液压缸与立架的上部固定连接,所述承接座与立架的底部固定连接,所述液压缸的输出端固定连接有压座。Preferably, the punching mechanism includes a vertical frame, a hydraulic cylinder and a receiving seat, the hydraulic cylinder is fixedly connected to the upper part of the vertical frame, the receiving seat is fixedly connected to the bottom of the vertical frame, and the output end of the hydraulic cylinder is fixedly connected There is a pressure seat.
优选的,所述铆钉送料机构包括螺旋振动盘、直式振动带和出料台,所述螺旋振动盘的左端与直式振动带的右端固定连接,所述直式振动带的左端设于出料台的右侧。Preferably, the rivet feeding mechanism includes a spiral vibration plate, a straight vibration belt and a discharge table, the left end of the spiral vibration plate is fixedly connected with the right end of the straight vibration belt, and the left end of the straight vibration belt is set at the outlet. right side of the table.
优选的,所述出料台的上部固定连接有第三电推杆,所述第三电推杆的输出端固定连接有送料接头,所述送料接头与直式振动带的左侧位置对应。Preferably, a third electric push rod is fixedly connected to the upper part of the discharge table, and a feeding joint is fixedly connected to the output end of the third electric push rod, and the feeding joint corresponds to the left position of the straight vibrating belt.
有益效果beneficial effect
本实用新型提供了一种直线式铆钉供料器。与现有技术相比具备以下有益效果:The utility model provides a linear rivet feeder. Compared with the prior art, it has the following beneficial effects:
(1)、该直线式铆钉供料器,通过在垫圈送料机构的底部与操作台上部的左侧固定连接,冲压机构与操作台上部的后侧固定连接,铆钉送料机构与操作台上部的右侧固定连接,垫圈送料机构包括垫圈桶、底架和滑动座,垫圈桶与底架的上部固定连接,垫圈桶的上部固定连接有电机,电机的输出端贯穿垫圈桶的上部,且电机的输出端固定连接有转杆,转杆的底部固定连接有转刷,底架的上部开设有出料口,底架内侧的上部通过第一滑组滑动连接有出料板,底架内侧的中部固定连接有第一电推杆,出料板的底部通过连接板与第一电推杆固定连接,利用螺旋振动盘将铆钉送至直式振动带上,第三电推杆推动送料接头将铆钉送至承接座,电机带动转刷转动,使垫圈使出料口落至U型槽口,然后液压缸推动压座对铆钉进行冲压,可以实现自动化生产,方便操作,减少了人工,产品质量好,生产效率高。(1) The linear rivet feeder is fixedly connected with the left side of the upper part of the operating table at the bottom of the washer feeding mechanism; the punching mechanism is fixedly connected with the rear side of the upper part of the operating table; Side fixed connection, the gasket feeding mechanism includes a gasket barrel, a bottom frame and a sliding seat, the gasket barrel is fixedly connected with the upper part of the bottom frame, the upper part of the gasket barrel is fixedly connected with a motor, the output end of the motor runs through the upper part of the gasket barrel, and the output of the motor The end is fixedly connected with a rotating rod, the bottom of the rotating rod is fixedly connected with a rotating brush, the upper part of the base frame is provided with a discharge port, the upper part of the inner side of the base frame is slidably connected with a discharge plate through the first sliding group, and the middle part of the inner side of the base frame is fixed A first electric push rod is connected, and the bottom of the discharge plate is fixedly connected with the first electric push rod through a connecting plate, and the rivet is sent to the straight vibration belt by the spiral vibration plate, and the third electric push rod pushes the feeding joint to send the rivet. To the receiving seat, the motor drives the rotating brush to rotate, so that the washer makes the discharge port fall to the U-shaped notch, and then the hydraulic cylinder pushes the pressing seat to punch the rivet, which can realize automatic production, convenient operation, reduce labor, and good product quality. high productivity.
(2)、该直线式铆钉供料器,通过在出料板位于出料口的底部,出料板的右端开设有U型槽口,底架的底部通过第二滑组与滑动座的前侧滑动连接,滑动座的底部固定连接有第二电推杆,第二电推杆的输出端与底架的底部固定连接,利用第一电推杆推动出料板推至承接座处,第二电推杆带动底架下移,使U型槽口的垫圈套在铆钉上,通过机械设备输送,降低人力成本,保障设备操作的高安全性。(2), the linear rivet feeder, the discharge plate is located at the bottom of the discharge port, the right end of the discharge plate is provided with a U-shaped notch, and the bottom of the chassis passes through the second sliding group and the front of the sliding seat. Side sliding connection, the bottom of the sliding seat is fixedly connected with a second electric push rod, the output end of the second electric push rod is fixedly connected with the bottom of the chassis, the first electric push rod is used to push the discharge plate to the receiving seat, and the first electric push rod is used to push the discharge plate to the receiving seat. The second electric push rod drives the chassis to move down, so that the washer of the U-shaped notch is sleeved on the rivet, and conveyed by mechanical equipment, which reduces labor costs and ensures high safety of equipment operation.
附图说明Description of drawings
图1为本实用新型结构的主视图;Fig. 1 is the front view of the utility model structure;
图2为本实用新型结构的俯视图;Fig. 2 is the top view of the utility model structure;
图3为本实用新型垫圈送料机构结构的剖视图;3 is a cross-sectional view of the structure of the washer feeding mechanism of the present invention;
图4为本实用新型冲压机构结构的主视图。FIG. 4 is a front view of the structure of the punching mechanism of the present invention.
图中:1、操作台;2、垫圈送料机构;21、垫圈桶;22、底架;23、滑动座;3、冲压机构;31、立架;32、液压缸;33、承接座;34、压座;4、铆钉送料机构;41、螺旋振动盘;42、直式振动带;43、出料台;5、电机;61、转杆;62、转刷;7、出料口;81、第一滑组;82、第二滑组;9、出料板;91、U型槽口;10、连接板;11、第一电推杆;12、第二电推杆;13、第三电推杆;131、送料接头。In the figure: 1. console; 2. washer feeding mechanism; 21, washer barrel; 22, chassis; 23, sliding seat; 3, punching mechanism; 31, stand; 32, hydraulic cylinder; 33, receiving seat; 34 4, rivet feeding mechanism; 41, spiral vibration plate; 42, straight vibrating belt; 43, discharge table; 5, motor; 61, rotating rod; 62, rotating brush; 7, discharge port; 81 , the first sliding group; 82, the second sliding group; 9, the discharge plate; 91, the U-shaped notch; 10, the connecting plate; 11, the first electric push rod; 12, the second electric push rod; 13, the first Three electric push rods; 131, feeding connector.
具体实施方式Detailed ways
下面将结合本实用新型实施例中的附图,对本实用新型实施例中的技术方案进行清楚、完整地描述,显然,所描述的实施例仅仅是本实用新型一部分实施例,而不是全部的实施例。基于本实用新型中的实施例,本领域普通技术人员在没有做出创造性劳动前提下所获得的所有其他实施例,都属于本实用新型保护的范围。The technical solutions in the embodiments of the present utility model will be clearly and completely described below with reference to the accompanying drawings in the embodiments of the present utility model. Obviously, the described embodiments are only a part of the embodiments of the present utility model, rather than all the implementations. example. Based on the embodiments of the present invention, all other embodiments obtained by those of ordinary skill in the art without creative work fall within the protection scope of the present invention.
请参阅图1-4,本实用新型提供一种技术方案:一种直线式铆钉供料器,包括操作台1、垫圈送料机构2、冲压机构3和铆钉送料机构4,冲压机构3包括立架31、液压缸32和承接座33,液压缸32与立架31的上部固定连接,承接座33与立架31的底部固定连接,液压缸32的输出端固定连接有压座34,铆钉送料机构4包括螺旋振动盘41、直式振动带42和出料台43,螺旋振动盘41的左端与直式振动带42的右端固定连接,直式振动带42的左端设于出料台43的右侧,出料台43的上部固定连接有第三电推杆13,第三电推杆13的输出端固定连接有送料接头131,送料接头131与直式振动带42的左侧位置对应,垫圈送料机构2的底部与操作台1上部的左侧固定连接,冲压机构3与操作台1上部的后侧固定连接,铆钉送料机构4与操作台1上部的右侧固定连接,垫圈送料机构2包括垫圈桶21、底架22和滑动座23,底架22的底部通过第二滑组82与滑动座23的前侧滑动连接,滑动座23的底部固定连接有第二电推杆12,第二电推杆12的输出端与底架22的底部固定连接,利用第一电推杆11推动出料板9推至承接座33处,第二电推杆12带动底架22下移,使U型槽口91的垫圈套在铆钉上,通过机械设备输送,降低人力成本,保障设备操作的高安全性,垫圈桶21与底架22的上部固定连接,垫圈桶21的上部固定连接有电机5,电机5的输出端贯穿垫圈桶21的上部,且电机5的输出端固定连接有转杆61,转杆61的底部固定连接有转刷62,底架22的上部开设有出料口7,底架22内侧的上部通过第一滑组81滑动连接有出料板9,底架22内侧的中部固定连接有第一电推杆11,出料板9的底部通过连接板10与第一电推杆11固定连接,出料板9位于出料口7的底部,出料板9的右端开设有U型槽口91,利用螺旋振动盘41将铆钉送至直式振动带42上,第三电推杆13推动送料接头131将铆钉送至承接座33,电机5带动转刷62转动,使垫圈使出料口7落至U型槽口91,然后液压缸32推动压座34对铆钉进行冲压,可以实现自动化生产,方便操作,减少了人工,产品质量好,生产效率高。1-4, the present utility model provides a technical solution: a linear rivet feeder, comprising an operating table 1, a
同时本说明书中未作详细描述的内容均属于本领域技术人员公知的现有技术。Meanwhile, the contents not described in detail in this specification belong to the prior art known to those skilled in the art.
工作时,将铆钉放在螺旋振动盘41内,将垫圈放置在垫圈桶21,螺旋振动盘41将铆钉送至直式振动带42上,并送至出料台43,第三电推杆13推动送料接头131将铆钉送至承接座33,电机5带动转刷62转动,使垫圈使出料口7落至U型槽口91,然后第一电推杆11推动出料板9推至承接座33处,然后第二电推杆12带动底架22下移,从而使U型槽口91的垫圈套在铆钉上,然后液压缸32推动压座34对铆钉进行冲压。When working, put the rivet in the
需要说明的是,在本文中,诸如第一和第二等之类的关系术语仅仅用来将一个实体或者操作与另一个实体或操作区分开来,而不一定要求或者暗示这些实体或操作之间存在任何这种实际的关系或者顺序。而且,术语“包括”、“包含”或者其任何其他变体意在涵盖非排他性的包含,从而使得包括一系列要素的过程、方法、物品或者设备不仅包括那些要素,而且还包括没有明确列出的其他要素,或者是还包括为这种过程、方法、物品或者设备所固有的要素。It should be noted that, in this document, relational terms such as first and second are used only to distinguish one entity or operation from another entity or operation, and do not necessarily require or imply any relationship between these entities or operations. any such actual relationship or sequence exists. Moreover, the terms "comprising", "comprising" or any other variation thereof are intended to encompass non-exclusive inclusion such that a process, method, article or device comprising a list of elements includes not only those elements, but also includes not explicitly listed or other elements inherent to such a process, method, article or apparatus.
尽管已经示出和描述了本实用新型的实施例,对于本领域的普通技术人员而言,可以理解在不脱离本实用新型的原理和精神的情况下可以对这些实施例进行多种变化、修改、替换和变型,本实用新型的范围由所附权利要求及其等同物限定。Although the embodiments of the present invention have been shown and described, it will be understood by those skilled in the art that various changes and modifications can be made to these embodiments without departing from the principles and spirit of the present invention , alternatives and modifications, the scope of the present invention is defined by the appended claims and their equivalents.
Claims (7)
Priority Applications (1)
| Application Number | Priority Date | Filing Date | Title |
|---|---|---|---|
| CN202120288386.6U CN214442788U (en) | 2021-02-02 | 2021-02-02 | Linear rivet feeder |
Applications Claiming Priority (1)
| Application Number | Priority Date | Filing Date | Title |
|---|---|---|---|
| CN202120288386.6U CN214442788U (en) | 2021-02-02 | 2021-02-02 | Linear rivet feeder |
Publications (1)
| Publication Number | Publication Date |
|---|---|
| CN214442788U true CN214442788U (en) | 2021-10-22 |
Family
ID=78117341
Family Applications (1)
| Application Number | Title | Priority Date | Filing Date |
|---|---|---|---|
| CN202120288386.6U Expired - Fee Related CN214442788U (en) | 2021-02-02 | 2021-02-02 | Linear rivet feeder |
Country Status (1)
| Country | Link |
|---|---|
| CN (1) | CN214442788U (en) |
-
2021
- 2021-02-02 CN CN202120288386.6U patent/CN214442788U/en not_active Expired - Fee Related
Similar Documents
| Publication | Publication Date | Title |
|---|---|---|
| CN211727356U (en) | Automatic riveting machine | |
| CN111673525A (en) | Go up unloading section bar cutting device | |
| CN214442788U (en) | Linear rivet feeder | |
| CN219004350U (en) | Automatic go up punching machine of unloading | |
| CN108080468A (en) | A kind of cylindrical tubular member end processing device | |
| CN216138057U (en) | Connecting rod riveting machine | |
| CN212979294U (en) | Automatic hanging table round needle assembly machine | |
| CN211812104U (en) | Automatic material collecting device for V-shaped groove machine | |
| CN204700417U (en) | A kind of tripod automatic welding machine | |
| CN108672466B (en) | Washing machine recycling and disassembling assembly line | |
| CN220515251U (en) | Automatic feeding punch | |
| CN207823908U (en) | A kind of trimming mode structure adapting to full-automatic assembly line removal die casting auxiliary material | |
| CN210647928U (en) | A corrugated board production device | |
| CN211307508U (en) | Iron fillings briquetting device for machine production | |
| CN208290016U (en) | Automatic loading and unloading device based on plate cutting | |
| CN210358642U (en) | Automatic metal plate bending equipment | |
| CN109382636B (en) | Multifunctional automatic hook welding all-in-one machine | |
| CN223339596U (en) | Automatic receiving mechanism for die cutting machine | |
| CN218798440U (en) | Egg tart cup punching machine | |
| CN211251463U (en) | A new type of hot press | |
| CN214419048U (en) | Automatic punching and loading equipment for compound die | |
| CN219256607U (en) | Novel gift box preparation upper pressure former | |
| CN223589596U (en) | Automatic die cutting machine capable of automatically correcting | |
| CN209641640U (en) | A kind of LED chip assembly equipment | |
| CN222571756U (en) | Flattening device for corrugated paper production |
Legal Events
| Date | Code | Title | Description |
|---|---|---|---|
| GR01 | Patent grant | ||
| GR01 | Patent grant | ||
| CF01 | Termination of patent right due to non-payment of annual fee |
Granted publication date: 20211022 |
|
| CF01 | Termination of patent right due to non-payment of annual fee |
