CN214414489U - An easy-to-adjust big data host rack - Google Patents

An easy-to-adjust big data host rack Download PDF

Info

Publication number
CN214414489U
CN214414489U CN202023286997.1U CN202023286997U CN214414489U CN 214414489 U CN214414489 U CN 214414489U CN 202023286997 U CN202023286997 U CN 202023286997U CN 214414489 U CN214414489 U CN 214414489U
Authority
CN
China
Prior art keywords
rod
big data
data host
threaded rod
column
Prior art date
Legal status (The legal status is an assumption and is not a legal conclusion. Google has not performed a legal analysis and makes no representation as to the accuracy of the status listed.)
Expired - Fee Related
Application number
CN202023286997.1U
Other languages
Chinese (zh)
Inventor
席邦丽
崔伟敏
张凌风
Current Assignee (The listed assignees may be inaccurate. Google has not performed a legal analysis and makes no representation or warranty as to the accuracy of the list.)
Guizhou Jinzhiyi Big Data Technology Co ltd
Original Assignee
Guizhou Jinzhiyi Big Data Technology Co ltd
Priority date (The priority date is an assumption and is not a legal conclusion. Google has not performed a legal analysis and makes no representation as to the accuracy of the date listed.)
Filing date
Publication date
Application filed by Guizhou Jinzhiyi Big Data Technology Co ltd filed Critical Guizhou Jinzhiyi Big Data Technology Co ltd
Priority to CN202023286997.1U priority Critical patent/CN214414489U/en
Application granted granted Critical
Publication of CN214414489U publication Critical patent/CN214414489U/en
Expired - Fee Related legal-status Critical Current
Anticipated expiration legal-status Critical

Links

Images

Landscapes

  • Casings For Electric Apparatus (AREA)

Abstract

本实用新型公开了一种便于调节的大数据主机摆放架,涉及摆放装置技术领域。本实用新型包括摆放架,摆放架下表面安装若干支撑柱,支撑柱下表面安装伸缩柱,支撑柱内部上表面连接螺纹杆,螺纹杆下表面连接安装板,螺纹杆周侧面安装从动齿轮,从动齿轮周侧面连接转动齿轮,转动齿轮和从动齿轮位置相配合,支撑柱一侧面连接调节杆,调节杆一端连接转动齿轮,另一端焊接主把手。本实用新型通过设置转动齿轮、从动齿轮和螺纹杆,转动调节杆,调节杆带动转动齿轮转动,转动齿轮通过从动齿轮带动螺纹杆转动,从而带动伸缩柱上下移动,有利于调节摆放架的高度,通过设置固定板和转动杆,便于将大数据主机固定在摆放架上,防止掉落而损坏。

Figure 202023286997

The utility model discloses a large data host placing rack which is easy to adjust, and relates to the technical field of placing devices. The utility model comprises a placing frame, a plurality of supporting columns are installed on the lower surface of the placing frame, a telescopic column is installed on the lower surface of the supporting column, a threaded rod is connected on the inner upper surface of the supporting column, a mounting plate is connected on the lower surface of the threaded rod, and a driven rod is installed on the peripheral side of the threaded rod. The gear, the peripheral side of the driven gear is connected to the rotating gear, the rotating gear and the driven gear are matched in position, one side of the support column is connected to the adjusting rod, one end of the adjusting rod is connected to the rotating gear, and the other end is welded with the main handle. In the utility model, a rotating gear, a driven gear and a threaded rod are arranged, the adjusting rod is rotated, the adjusting rod drives the rotating gear to rotate, and the rotating gear drives the threaded rod to rotate through the driven gear, thereby driving the telescopic column to move up and down, which is beneficial for adjusting the placing frame By setting the fixing plate and the rotating rod, it is convenient to fix the big data host on the rack to prevent damage from falling.

Figure 202023286997

Description

Big data host computer puts frame convenient to adjust
Technical Field
The utility model belongs to the technical field of put the device, especially relate to a big data host computer puts frame convenient to adjust.
Background
Big data or huge data refers to the massive information which needs a new processing mode and can have stronger decision-making power, insight and flow optimization capacity, high growth rate and diversified information assets, the host refers to a main body part of a computer except input and output equipment and is also a control box body used for placing a mainboard and other main components, when the big data host needs to be used, the host needs to be placed on a placing frame for use, but the existing big data host placing frame cannot adjust the height according to actual conditions and can not fix the host, so that the dropping is prevented, and the big data host placing frame convenient to adjust is needed.
SUMMERY OF THE UTILITY MODEL
An object of the utility model is to provide a big data host computer puts frame convenient to adjust solves current big data host computer and puts the frame, can not height-adjusting, can not fix the problem of host computer yet.
In order to solve the technical problem, the utility model discloses a realize through following technical scheme:
the utility model relates to a big data host computer puts frame convenient to adjust, including putting the frame, put a plurality of support columns of surface mounting under the frame, the quantity of support column is four, and the position is relative, the flexible post of surface mounting under the support column, flexible post runs through the support column, flexible post and support column threaded connection, the inside surface connection threaded rod of support column, the threaded rod runs through flexible post, threaded rod and flexible post threaded connection, the mounting panel is connected to the threaded rod lower surface, the side-mounting driven gear all around of threaded rod, side-connecting rotating gear all around of driven gear, rotating gear and driven gear position cooperate, drive driven gear through rotating gear and rotate, and driven gear drives the threaded rod and rotates to drive flexible post reciprocates, be favorable to adjusting the height of putting the frame.
Further, an adjusting rod is connected to a side of the support column, the adjusting rod runs through the support column, the adjusting rod is in threaded connection with the support column, a rotating gear is connected to one end of the adjusting rod, a main handle is welded to the other end of the adjusting rod, the main handle drives the adjusting rod to rotate through rotating the main handle, the adjusting rod drives the rotating gear to rotate, the rotating gear drives the threaded rod to rotate through a driven gear, and therefore the telescopic column is driven to move up and down, and the height of the placing frame is adjusted.
Further, put the relative both surfaces of frame and all install the dwang, the dwang runs through and puts the frame, the fixed plate is connected to dwang side, the vice handle of another side-mounting, fixed plate side face mounting rubber pad all around drives the dwang inward movement through the vice handle of revolute, and the dwang drives the fixed plate inward movement, is favorable to fixing big data host computer on putting the frame, through setting up the rubber pad, is favorable to protecting big data host computer and does not receive the extrusion damage.
Furthermore, put a plurality of gag lever posts of frame relative two surface welding, the gag lever post suits with the dwang position, the fixed plate is connected to gag lever post one end, and the stopper is connected to the other end, is convenient for play the limited action to the fixed plate.
Furthermore, the two opposite surfaces of the placing frame are provided with handle grooves, the handle grooves are matched with the auxiliary handles in position, and the auxiliary handles are conveniently hidden.
Furthermore, put frame upper surface and set up a plurality of connecting rods, and the position is relative, connecting rod upper surface connects the dust cover, is favorable to preventing that the dust from falling on the big data host computer.
Furthermore, the support plate is arranged on the lower surface of the telescopic column, so that the stability of the placing frame is improved.
The utility model discloses following beneficial effect has:
the utility model discloses a set up driving gear, driven gear and threaded rod, the regulation pole rotates, it drives the driving gear rotation to adjust the pole, driving gear drives the threaded rod through the driven gear and rotates, thereby it reciprocates to drive flexible post, be favorable to adjusting the height of putting the frame, through setting up fixed plate and dwang, rotate the dwang, the dwang drives the inside removal of fixed plate, be convenient for fix big data host computer on putting the frame, prevent to drop and damage, through setting up the dust cover, be favorable to preventing that the dust from falling into on the big data host computer.
Of course, it is not necessary for any particular product to achieve all of the above-described advantages at the same time.
Drawings
In order to more clearly illustrate the technical solutions of the embodiments of the present invention, the drawings used in the description of the embodiments will be briefly introduced below, and it is obvious that the drawings in the following description are only some embodiments of the present invention, and it is obvious for those skilled in the art that other drawings can be obtained according to these drawings without creative efforts.
FIG. 1 is a right side schematic view of the present invention;
FIG. 2 is a schematic front side view of the present invention;
FIG. 3 is a front view of the present invention;
fig. 4 is a left side view of the present invention;
FIG. 5 is a schematic cross-sectional view taken along line A-A of FIG. 4 according to the present invention;
fig. 6 is an enlarged view of a structure B in fig. 5 according to the present invention.
In the drawings, the components represented by the respective reference numerals are listed below:
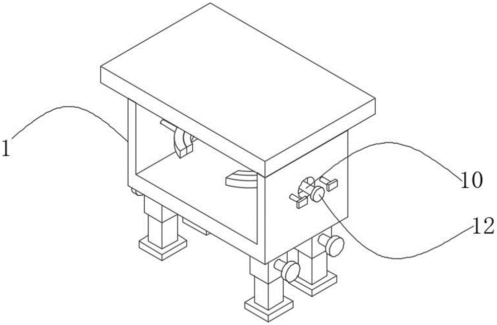
1. a placing frame; 2. a support pillar; 3. a telescopic column; 4. adjusting a rod; 5. a main handle; 6. a threaded rod; 7. a driven gear; 8. a rotating gear; 9. mounting a plate; 10. rotating the rod; 11. a fixing plate; 12. a secondary handle; 13. a rubber pad; 14. a limiting rod; 15. a limiting block; 16. a handle slot; 17. a connecting rod; 18. a dust cover; 19. and a support plate.
Detailed Description
The technical solutions in the embodiments of the present invention will be described clearly and completely with reference to the accompanying drawings in the embodiments of the present invention, and it is obvious that the described embodiments are only some embodiments of the present invention, not all embodiments. Based on the embodiments of the present invention, all other embodiments obtained by a person of ordinary skill in the art without creative efforts belong to the protection scope of the present invention.
In the description of the present invention, it is to be understood that the terms "upper", "middle", "outer", "inner", "lower", and the like, indicate positional or positional relationships, are merely for convenience in describing the present invention and simplifying the description, and do not indicate or imply that the referenced components or elements must have a particular orientation, be constructed and operated in a particular orientation, and therefore should not be construed as limiting the present invention.
Referring to fig. 1-6, the utility model relates to a big data host placing rack convenient to adjust, which comprises a placing rack 1, a plurality of support columns 2 are installed on the lower surface of the placing rack 1, the number of the support columns 2 is four, and the positions are opposite, a telescopic column 3 is installed on the lower surface of each support column 2, the telescopic column 3 penetrates through each support column 2, the telescopic column 3 is in threaded connection with the support columns 2, a threaded rod 6 is connected on the upper surface inside each support column 2, the threaded rod 6 penetrates through the telescopic column 3, the threaded rod 6 is in threaded connection with the telescopic column 3, a mounting plate 9 is connected on the lower surface of the threaded rod 6, a driven gear 7 is installed on the peripheral side surface of the threaded rod 6, a rotating gear 8 is connected on the peripheral side surface of the driven gear 7, the rotating gear 8 is matched with the driven gear 7, the driven gear 7 drives the threaded rod 6 to rotate, thereby driving the telescopic column 3 to move up and down, is favorable for adjusting the height of the placing frame 1.
Preferably, 2 side connection of support column are adjusted pole 4, adjust pole 4 and run through support column 2, adjust pole 4 and 2 threaded connection of support column, adjust 4 one ends of pole and connect rotating gear 8, other end welding main handle 5, through rotating main handle 5, main handle 5 drives and adjusts pole 4 and rotate, adjust pole 4 and drive rotating gear 8 and rotate, rotating gear 8 drives threaded rod 6 through driven gear 7 and rotates, thereby it reciprocates to drive flexible post 3, highly adjusting putting frame 1.
Preferably, put frame 1 relative both surfaces and all install dwang 10, dwang 10 runs through and puts frame 1, dwang 10 side connection fixed plate 11, the vice handle 12 of another side installation, fixed plate 11 side installation rubber pad 13 all around, through revolute pair handle 12, drive dwang 10 inward movement, dwang 10 drives fixed plate 11 inward movement, is favorable to fixing big data host computer on putting frame 1, through setting up rubber pad 13, is favorable to protecting big data host computer not damaged by the extrusion.
Preferably, a plurality of limiting rods 14 are welded on two opposite surfaces of the placing frame 1, the limiting rods 14 are matched with the rotating rod 10 in position, one end of each limiting rod 14 is connected with the fixing plate 11, and the other end of each limiting rod 14 is connected with the limiting block 15, so that the fixing plate 11 is limited conveniently.
Preferably, the opposite surfaces of the placing frame 1 are provided with handle grooves 16, and the positions of the handle grooves 16 are matched with those of the auxiliary handles 12, so that the auxiliary handles 12 can be conveniently hidden.
Preferably, put frame 1 upper surface and set up a plurality of connecting rods 17, and the position is relative, and connecting rod 17 upper surface connection dust cover 18 is favorable to preventing that the dust from falling on the big data host computer.
Preferably, the lower surface of the telescopic column 3 is provided with a supporting plate 19, which is beneficial to increasing the stability of the placing frame 1.
As shown in fig. 1 to 6, this embodiment is a method for using a large data host placement rack convenient for adjustment: put big data host computer earlier on putting frame 1, the vice handle 12 rotates again, vice handle 12 drives dwang 10 inward movement, dwang 10 drives fixed plate 11 inward movement, fix big data host computer on putting frame 1, rotate main handle 5 again, main handle 5 drives regulation pole 4 and rotates, it rotates to adjust pole 4, it rotates to drive transfer gear 8, transfer gear 8 drives driven gear 7 and rotates, driven gear 7 drives threaded rod 6 and rotates, thereby it reciprocates to drive flexible post 3, the in-process that flexible post 3 removed, keep threaded rod 6 motionless, carry out height control to putting frame 1 this moment.
In the description herein, references to the description of "one embodiment," "an example," "a specific example," etc., mean that a particular feature, structure, material, or characteristic described in connection with the embodiment or example is included in at least one embodiment or example of the invention. In this specification, the schematic representations of the terms used above do not necessarily refer to the same embodiment or example. Furthermore, the particular features, structures, materials, or characteristics described may be combined in any suitable manner in any one or more embodiments or examples.
The preferred embodiments of the present invention disclosed above are intended only to help illustrate the present invention. The preferred embodiments are not intended to be exhaustive or to limit the invention to the precise embodiments disclosed. Obviously, many modifications and variations are possible in light of the above teaching. The embodiments were chosen and described in order to best explain the principles of the invention and its practical applications, to thereby enable others skilled in the art to best understand the invention for and utilize the invention. The present invention is limited only by the claims and their full scope and equivalents.

Claims (7)

1. The utility model provides a big data host computer puts frame convenient to adjust, includes puts frame (1), its characterized in that: put a plurality of support columns of surface mounting (2) under frame (1), the quantity of support column (2) is four, and the position is relative, support column (2) surface mounting telescopic column (3), support column (3) run through support column (2), telescopic column (3) and support column (2) threaded connection, support column (2) inside upper surface connection threaded rod (6), threaded rod (6) run through telescopic column (3), threaded rod (6) and telescopic column (3) threaded connection, threaded rod (6) surface connection mounting panel (9) under, all side-mounting driven gear (7) in threaded rod (6), driven gear (7) all side-face connection running gear (8), running gear (8) and driven gear (7) position cooperate.
2. The big data host placing frame convenient to adjust according to claim 1, characterized in that an adjusting rod (4) is connected to one side of the supporting column (2), the adjusting rod (4) penetrates through the supporting column (2), the adjusting rod (4) is in threaded connection with the supporting column (2), one end of the adjusting rod (4) is connected with a rotating gear (8), and the other end of the adjusting rod is welded with a main handle (5).
3. The big data host computer shelf convenient to adjust of claim 1, characterized in that, put frame (1) relative both surfaces and all install dwang (10), dwang (10) run through and put frame (1), dwang (10) side connection fixed plate (11), another side installation vice handle (12), fixed plate (11) side installation rubber pad (13).
4. The big data host placing frame convenient to adjust according to claim 1, characterized in that a plurality of limiting rods (14) are welded on two opposite surfaces of the placing frame (1), the limiting rods (14) are matched with the rotating rod (10), one end of each limiting rod (14) is connected with the fixing plate (11), and the other end of each limiting rod (14) is connected with the limiting block (15).
5. The big data host placing frame convenient to adjust as claimed in claim 1, wherein the placing frame (1) is provided with handle grooves (16) on two opposite surfaces, and the handle grooves (16) are matched with the positions of the auxiliary handles (12).
6. The big data host placing frame convenient to adjust according to claim 1, wherein a plurality of connecting rods (17) are arranged on the upper surface of the placing frame (1) and are opposite to each other, and dust covers (18) are connected to the upper surfaces of the connecting rods (17).
7. The big data host computer shelf convenient to adjust of claim 1, characterized in that the lower surface of the telescopic column (3) is provided with a support plate (19).
CN202023286997.1U 2020-12-31 2020-12-31 An easy-to-adjust big data host rack Expired - Fee Related CN214414489U (en)

Priority Applications (1)

Application Number Priority Date Filing Date Title
CN202023286997.1U CN214414489U (en) 2020-12-31 2020-12-31 An easy-to-adjust big data host rack

Applications Claiming Priority (1)

Application Number Priority Date Filing Date Title
CN202023286997.1U CN214414489U (en) 2020-12-31 2020-12-31 An easy-to-adjust big data host rack

Publications (1)

Publication Number Publication Date
CN214414489U true CN214414489U (en) 2021-10-19

Family

ID=78054249

Family Applications (1)

Application Number Title Priority Date Filing Date
CN202023286997.1U Expired - Fee Related CN214414489U (en) 2020-12-31 2020-12-31 An easy-to-adjust big data host rack

Country Status (1)

Country Link
CN (1) CN214414489U (en)

Similar Documents

Publication Publication Date Title
CN214414489U (en) An easy-to-adjust big data host rack
CN207990113U (en) A kind of multi-angle suitable for the Web-based instruction is adjustable computer display frame
CN211048853U (en) Energy and power specialty teaching are with show board
CN215298570U (en) A training display device for enterprise management
CN212494052U (en) Medicine sorting device for pharmacy of hospital
CN207586828U (en) It is a kind of to facilitate the computer host box that teaching uses
CN212912546U (en) Staff salary comparison and analysis system
CN219959842U (en) A kind of distribution box support device
CN210493264U (en) Engineering cost apparatus frame
CN213339168U (en) Economic management is with teaching presentation device
CN220775996U (en) A multifunctional portable workstation for outdoor operations
CN216667046U (en) Intelligent information service device based on computer network
AU2021104081A4 (en) Outdoor Display Based on Overseas Investment Risk Assessment
CN215015713U (en) Enterprise economic management model support structure
CN210955529U (en) Computer-aided teaching stand
CN219828302U (en) BIM building model for building engineering design
CN216438785U (en) A financial accounting document fixing device
CN219432951U (en) Display with angle adjusting structure
CN112908061A (en) Teaching presentation device for business administration
CN215898209U (en) Multi-course online education device
CN208706073U (en) A kind of multimedia teaching facility that logistics management specialty teaching uses
CN222281419U (en) A new teaching device
CN219263708U (en) Digital rural cloud platform
CN217379993U (en) Ecological protection rail based on green construction
CN220474010U (en) Two-dimensional code scanning equipment for file management

Legal Events

Date Code Title Description
GR01 Patent grant
GR01 Patent grant
CF01 Termination of patent right due to non-payment of annual fee
CF01 Termination of patent right due to non-payment of annual fee

Granted publication date: 20211019