CN214391910U - Wire harness bracket multi-station continuous die - Google Patents

Wire harness bracket multi-station continuous die Download PDF

Info

Publication number
CN214391910U
CN214391910U CN202022031377.7U CN202022031377U CN214391910U CN 214391910 U CN214391910 U CN 214391910U CN 202022031377 U CN202022031377 U CN 202022031377U CN 214391910 U CN214391910 U CN 214391910U
Authority
CN
China
Prior art keywords
die
hole
punching
discharging
phi
Prior art date
Legal status (The legal status is an assumption and is not a legal conclusion. Google has not performed a legal analysis and makes no representation as to the accuracy of the status listed.)
Active
Application number
CN202022031377.7U
Other languages
Chinese (zh)
Inventor
蒙以嫦
Current Assignee (The listed assignees may be inaccurate. Google has not performed a legal analysis and makes no representation or warranty as to the accuracy of the list.)
Liuzhou Vocational And Technical University
Original Assignee
Liuzhou Vocational and Technical College
Priority date (The priority date is an assumption and is not a legal conclusion. Google has not performed a legal analysis and makes no representation as to the accuracy of the date listed.)
Filing date
Publication date
Application filed by Liuzhou Vocational and Technical College filed Critical Liuzhou Vocational and Technical College
Priority to CN202022031377.7U priority Critical patent/CN214391910U/en
Application granted granted Critical
Publication of CN214391910U publication Critical patent/CN214391910U/en
Active legal-status Critical Current
Anticipated expiration legal-status Critical

Links

Images

Landscapes

  • Press Drives And Press Lines (AREA)

Abstract

本实用新型涉及一种线束支架多工位连续模,包括上模组件、下模组件和卸料装置,下模组件沿进料方向依次设置有冲右φ6mm孔凹模镶套、冲左φ9mm孔凹模镶套、冲异形孔凹模镶套、冲中间φ9mm孔凹模镶套和落料凹模镶拼结构,冲右φ6mm孔凹模镶套与落料凹模镶拼结构右端之间设置有定位销Ⅰ,冲左φ9mm孔凹模镶套与落料凹模镶拼结构左端之间设置有定位销Ⅱ,上模组件两侧还分别设置有导料板和条料限宽销;上模组件设置有与下模组件配合的多个凸模。该模具是一副五工位的连续模,采用整体直通式的凸、凹模结构,简化了模具结构,降低了模具装配难度。实践证明,模具结构合理,零件质量稳定,操作简单,满足了零件精度和大批量生产的要求。

Figure 202022031377

The utility model relates to a multi-position continuous die for a wire harness bracket, which comprises an upper die assembly, a lower die assembly and a discharge device. Left φ9mm hole die insert, punch special-shaped hole die insert, punch middle φ9mm hole die insert and blanking die insert structure, punch right φ6mm hole die insert and blanking die insert structure right end There is a positioning pin I between the punched left φ9mm hole die insert and the left end of the blanking die insert structure, and a positioning pin II is arranged on both sides of the upper die assembly. Wide pins; the upper die assembly is provided with a plurality of punches matched with the lower die assembly. The mold is a five-station continuous mold, and adopts the overall straight-through convex and concave mold structure, which simplifies the mold structure and reduces the difficulty of mold assembly. Practice has proved that the mold structure is reasonable, the quality of parts is stable, and the operation is simple, which meets the requirements of parts precision and mass production.

Figure 202022031377

Description

Multi-station progressive die for wire harness support
Technical Field
The utility model relates to a mould, in particular to pencil support multistation modulus of continuity.
Background
Fig. 1 shows a wire harness support made of cold-rolled steel for BLC punching, having a material thickness of 2 mm and an annual output of 6 ten thousand pieces. The carbon content of the material is less than or equal to 10 percent, the tensile strength is greater than or equal to 270 MPa, the yield strength is 140-270 MPa, the elongation after fracture is greater than or equal to 36 percent, and the stamping forming performance is good. The part is L-shaped, the left side is provided with two phi 9 holes, the left side is provided with one irregular hole of 10 multiplied by 7, the right side is provided with one phi 6 hole, the size tolerance of the distance between the holes is IT7 grade, the rest are non-injected size tolerances, and the part is properly processed by stamping. If the part is produced by adopting a single process, at least two sets of dies are needed, the working efficiency is low, the occupancy rate of a machine tool is high, and the problems of inconvenient operation, unstable part quality and the like exist. Therefore, it is necessary to develop a mold capable of continuous production to solve the above problems.
Disclosure of Invention
The to-be-solved technical problem of the utility model is: the multi-station progressive die for the wire harness support is a five-station progressive die, is simple to operate, can improve the production efficiency and the part quality, reduces the production cost, and overcomes the defects in the prior art.
The technical scheme for solving the technical problems is as follows: a multi-station progressive die for a wire harness support comprises an upper die assembly, a lower die assembly and a discharging device, wherein the lower die assembly is sequentially provided with 1 die bushing for punching a right phi 6mm hole, a die bushing for punching a left phi 9mm hole, a die bushing for punching a special-shaped hole, a die bushing for punching a middle phi 9mm hole and a blanking die splicing structure along a feeding direction, a positioning pin I is further arranged between the die bushing for punching the right phi 6mm hole and the right end of the blanking die splicing structure, a positioning pin II is further arranged between the die bushing for punching the left phi 9mm hole and the left end of the blanking die splicing structure, and guide plates and strip width limiting pins are further respectively arranged on two sides of the die bushing of the upper die assembly;
the upper die assembly comprises an upper die base, an upper base plate arranged on the upper die base, and a male die fixing plate arranged on the upper base plate and a male die fixing plate are sequentially provided with 1 punch for punching a right phi 6mm hole, a punch for punching a left phi 9mm hole, a punch for punching a special-shaped hole, a punch for punching a middle phi 9mm hole and a blanking punch which are matched with the lower die assembly along the feeding direction.
The discharging device is mainly an elastic discharging device which consists of a discharging plate, four discharging bolts and a plurality of discharging springs, the stripper is connected with the upper die base through stripper bolts evenly distributed at four corners of the upper die base, the stripper is positioned below the male die fixing plate, the stripper springs are evenly distributed around each male die, the top ends of the stripper springs are connected with the upper die base, the bottom ends of the stripper springs are contacted with the stripper plates, the bottom end of the discharging bolt is connected with the discharging plate through threads, the upper die base is provided with a counter bore, the upper backing plate and the male die fixing plate are provided with through holes for the discharging bolts to slide up and down, the countersunk holes of the upper die base and the through holes of the upper backing plate form stepped holes with large top and small bottom, the discharging bolts penetrate through the upper backing plate and the male die fixing plate, the top ends of the discharging bolts are located in the countersunk holes of the upper die base, and annular flanges for preventing the discharging bolts from falling off the countersunk holes are arranged on the top ends of the discharging bolts.
The two sides of the upper die assembly are also provided with upper limiting columns, and the corresponding positions of the lower die assembly are provided with lower limiting columns matched with the upper limiting columns.
Guide sleeves are further arranged on two sides of the upper die assembly, and guide pillars matched with the guide sleeves are arranged on the corresponding positions of the lower die assembly.
The inner part of the upper die assembly is also provided with an inner guide pillar I and an inner guide pillar II, and inner guide pillar grooves matched with the inner guide pillar I and the inner guide pillar II are respectively arranged on corresponding positions of the lower die assembly.
The inner guide pillar I and the inner guide pillar II are installed in the Y-axis direction in a staggered distance mode.
The utility model also comprises a storage block which can be placed between the upper limit post and the lower limit post.
Due to the adoption of the technical scheme, the utility model discloses following beneficial effect has:
1. the die structure is simplified and the difficulty of die assembly is reduced by adopting the integral straight-through type male die and female die structures. Practice proves that the die is reasonable in structure, stable in part quality and simple to operate, and requirements of part precision and mass production are well met.
2. Adopt stock guide and strip material limit for width round pin to guarantee the direction of sending of strip material, by locating pin I and II control of locating pin advance the distance, locating pin I still plays the effect of first location simultaneously, reasonable in design, fixes a position accurately.
3. An inner guide pillar I and an inner guide pillar II of the die are of an MYP standard seat type guide pillar assembly guide structure which is convenient to mount, good in rigidity and high in guide precision, the guide pillars are arranged in the middle of the guide pillar process, in order to prevent the die from being reversely mounted in the front and back direction, the mounting distance of the two guide pillars in the Y direction is staggered by 10mm, and the guide pillars and the guide sleeves are matched with each other with the precision of H6/H5.
4. The elastic unloading device is composed of an unloading plate, an unloading bolt, an unloading spring and the like. The elastic discharging device plays a discharging role after the punching is finished, and also plays a pressing role before the punching is started, so that the material is effectively prevented from sliding or moving in the punching process. According to the magnitude of the discharging force, a total of 10 medium-sized rectangular springs SWM 35 multiplied by 75 mm are uniformly arranged on the discharging plate. Meanwhile, in order to ensure that the elastic stripper works stably and reliably without deviation and inclination and effectively protects the long and narrow special-shaped punching male die, 2 pairs of inner guide posts (an inner guide post I and an inner guide post II) are arranged among the male die fixing plate, the stripper and the female die. Forming a spring-loaded discharging device with perfect functions. The fit clearance between the inner guide pillar and the stripper plate is 0.02 mm.
5. In order to ensure that the stroke of the upper die is always kept unchanged when the die works, 2 pairs of upper limiting columns and lower limiting columns with the diameter of 38mm are adopted. The design can guarantee the depth of parallelism of stripper and upper and lower die holder like this, and protection mould and equipment are not damaged, deposits the piece when the mould is out of work for the oppression of last mould weight is avoided to the spring of unloading in the protection mould.
The technical features of the multi-station progressive die for a wire harness support according to the present invention will be further described with reference to the accompanying drawings and embodiments.
Drawings
FIG. 1: the utility model discloses a pencil support structure sketch map.
FIG. 2: the utility model discloses arrange the appearance picture.
FIG. 3: the utility model discloses lower mould subassembly schematic structure.
FIG. 4: the utility model discloses go up membrane module and discharge apparatus schematic structure.
FIG. 5: the utility model discloses a pencil support multistation modulus of continuity structure sketch map.
FIG. 6: fig. 5 is a sectional view taken along line a-a.
FIG. 7: fig. 5 is a sectional view taken along line B-B.
FIG. 8: fig. 5 is a cross-sectional view taken along line C-C.
FIG. 9: the utility model discloses a structural schematic diagram of blanking terrace die.
FIG. 10: the utility model discloses a towards the structure schematic diagram of left phi 9mm hole terrace die, towards middle phi 9mm hole terrace die.
FIG. 11: the utility model discloses a towards structural schematic diagram of dysmorphism hole terrace die.
FIG. 12: the utility model discloses a towards the structural schematic diagram of right phi 6mm hole terrace die.
FIG. 13: the utility model discloses a structural schematic diagram of blanking die inlaying structure.
FIG. 14: the utility model discloses a dash left phi 9mm hole die and inlay the cover, dash the structure sketch map of middle phi 9mm hole die bushing.
FIG. 15: the utility model discloses a dash structure schematic diagram of dysmorphism hole die bushing.
FIG. 16: the utility model discloses a dash the structural schematic diagram of right phi 6mm hole die bushing.
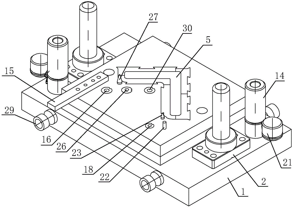
In the figure: 1-lower die holder, 2-guide column, 3-lower backing plate, 4-die body, 5-blanking die inlaying structure, 6-upper die holder, 61-counter bore, 7-stripper plate, 8-punch retainer plate, 9-upper backing plate, 10-die shank, 11-blanking punch, 12-inner guide column I, 13-upper limit column, 14-lower limit column, 15-guide plate, 16-punching left phi 9mm hole die inlaying sleeve, 17-punching left phi 9mm hole punch, 18-punching right phi 6mm hole die inlaying sleeve, 19-punching right phi 6mm hole punch, 20-unloading screw, 201-annular flange, 21-storage block, 22-strip width limiting pin, 23-positioning pin I, 24-unloading spring, 25-punching special hole punch, 26-punching a special-shaped hole female die insert sleeve, 27-positioning pins II, 28-inner guide columns II, 29-lifting lugs, 30-punching a middle phi 9mm hole female die insert sleeve, and 31-punching a middle phi 9mm hole male die.
The arrows in fig. 2 indicate the feed direction.
Detailed Description
The utility model discloses a stock layout design: as the part is typically L-shaped, in order to improve the material utilization rate, a single-row oblique-row stock layout mode is adopted. The following factors are also considered in stock layout: (1) in order to provide accurate and reliable positioning for subsequent procedures and reduce accumulated errors, two holes with the left side phi of 9mm and the right side phi of 6mm are preferably arranged to be punched to serve as process holes for positioning and guiding of subsequent procedures. (2) In order to ensure the safety and stability of the feeding of the working procedure piece in the die, the carrier has enough strength and rigidity, and the carrier is designed with double sides. (3) In order to reduce accumulated errors and improve the punching precision, all stations are compactly arranged under the condition of ensuring the strength of the female die, the number of stations is reduced as much as possible, and only 5 stations including 3 punching stations, 1 empty station and 1 blanking station are arranged.
The utility model discloses the stock layout is as shown in figure 2, and the strip width is 177 mm, and the side is taken 5 mm, takes 6mm between the work piece, and step pitch 34 mm. The working procedures are as follows: punching two holes with the left side phi of 9mm and the right side phi of 6 mm; punching a 10 × 7 special-shaped hole; punching a hole phi 9mm at the middle right angle, emptying a station, and blanking. The blanking size of the strip material is 1250 multiplied by 177 multiplied by 2.0 pieces, and the material utilization rate is 64.4 percent.
Example 1: a wire harness support multi-station progressive die, as shown in fig. 3-16, comprising an upper die assembly, a lower die assembly and a discharging device.
The lower die assembly comprises a lower die base 1, a lower base plate 3 arranged on the lower die base, 1 punch a right phi 6mm hole die bushing 18, a left phi 9mm hole die bushing 16, a special-shaped hole die bushing 26, a middle phi 9mm hole die bushing 30 and a blanking die splicing structure 5 are sequentially arranged on a die body 4 and the die body arranged on the lower base plate along the feeding direction, a locating pin I23 is further arranged between the right punch a right phi 6mm hole die bushing 18 and the blanking die splicing structure 5, a locating pin II 27 is further arranged between the left punch a left phi 9mm hole die bushing 16 and the blanking die splicing structure 5, and a guide plate 15 and a strip material width limiting pin 22 are further respectively arranged on the two sides of the die bushing of the upper die assembly.
The upper die assembly comprises an upper die base 6, an upper backing plate 9 mounted on the upper die base, a punch plate 8 mounted on the upper backing plate and a punch plate are sequentially provided with 1 punch 19 for punching a right phi 6mm hole, a punch 17 for punching a left phi 9mm hole, a punch 25 for punching a special-shaped hole, a punch 31 for punching a middle phi 9mm hole and a blanking punch 11 which are matched with the lower die assembly along the feeding direction.
In the embodiment, the discharging device is mainly an elastic discharging device consisting of a discharging plate 7, four discharging bolts 20 and a plurality of discharging springs 24, the stripper is connected with the upper die base through stripper bolts evenly distributed at four corners of the upper die base, the stripper is positioned below the male die fixing plate, the stripper springs are evenly distributed around each male die, the top ends of the stripper springs are connected with the upper die base, the bottom ends of the stripper springs are contacted with the stripper plates, the bottom end of the discharging bolt is connected with the discharging plate through threads, the upper die base 6 is provided with a counter bore 61, the upper backing plate and the male die fixing plate are provided with through holes for the discharging bolts to slide up and down, the countersunk holes of the upper die base and the through holes of the upper backing plate form stepped holes with large top and small bottom, the discharging bolts penetrate through the upper backing plate and the male die fixing plate, the top ends of the discharging bolts are located in the countersunk holes of the upper die base, and the top ends of the discharging bolts are provided with annular flanges 201 for preventing the discharging bolts from falling out of the countersunk holes. The main function of the discharging bolt is to hang the discharging plate and prevent the discharging plate from falling, the movement of the discharging bolt between the male die fixing plate, the upper padding plate and the upper die base is not hindered, and the discharging bolt can move up and down along with the discharging plate. The mould during operation is along with last mould assembly's downward movement, and the spring atress of unloading compresses, and stripper and the spring of unloading are compelled upward movement together, and after the mould blanking, when going up mould assembly upward movement, stripper and discharge bolt move down under the effect of spring force and lift the strip material off.
In this embodiment, guide sleeves are symmetrically arranged on the upper die bases on two sides of the upper backing plate of the upper die assembly, and guide posts 2 matched with the guide sleeves are arranged on the corresponding positions of the lower die base of the lower die assembly. The upper limiting column 13 is arranged on two sides of the upper die seat 6 of the upper die assembly, the upper limiting column on one side is located in front of the guide column 2, the upper limiting column on the other side is located behind the guide column 2, and the lower limiting column 14 matched with the upper limiting column is arranged on the corresponding position of the lower die seat 1 of the lower die assembly.
In this embodiment, the inside of going up the mould subassembly still is provided with inner guide pillar I12 and inner guide pillar II 28, be provided with respectively on the corresponding position of lower mould subassembly with inner guide pillar I, inner guide pillar II complex inner guide pillar groove. The inner guide post I12 and the inner guide post II 28 are installed in the Y-axis direction in a staggered mode at a distance of 10 mm.
The embodiment is also provided with a storage block 21 which can be placed between the upper limiting column and the lower limiting column. When the mould is out of work, the storage block is placed between the upper limiting column and the lower limiting column and used for protecting the discharging spring in the mould from being pressed by the weight of the upper mould. As an alternative, the storage block may not be provided.
In order to facilitate the processing and manufacturing, improve the processing precision of the mould, reduce the material cost of the mould, the blanking die adopts the straight-through structure of inlaying, the embedded fixation, in order to improve the reliability of fixed die, have concave and convex alternate shape structure inlaying between die insert and die body edge, the other punching dies adopt the standard die to inlay and cover, blanking terrace die, dysmorphism punch a hole the terrace die adopts the straight-through, adopt the interference fit (H7/r 6) with the fixed plate, blanking convex, die part material all choose Cr12MoV, the quenching hardness is 60-62HRC, the straight-through insert and straight-through terrace die adopt the line cutting to process, the bilateral interval between the convex, die is 0.246mm, the dimensional tolerance of the working part is made according to IT6 level.
The utility model discloses the working process: when the device works, a strip is sent to a positioning pin I23 along a guide plate 15 from the front to the back, the strip is initially positioned by the positioning pin I23, an upper die descends, first blanking is carried out, two holes with the left side phi 9mm and the right side phi 6mm are punched on the strip by punching male dies (a male die 17 for punching the left phi 9mm hole and a male die 19 for punching the right phi 6mm hole), the upper die returns, meanwhile, an elastic discharging plate 7 finishes discharging under the action of the resilience force of a discharging spring 24, then the strip is continuously sent forward by a step distance, the positioning pin I23 and the positioning pin II 27 are respectively inserted into the phi 9 holes and the phi 6 holes for positioning, 10 multiplied by 7 special-shaped holes are punched, the feeding distance is 34mm each time, blanking after a station 2 is accurately positioned by the positioning pin I23 and the positioning pin II 27, the strip is sent forward by the step, the third feeding is finished by punching the middle phi 9 hole, the fourth feeding is finished, the work of the first three work steps is repeatedly finished, and feeding for the fifth time, finishing the blanking work, and continuously circulating until the strip materials can not be punched out of the workpiece.

Claims (7)

1. The utility model provides a pencil support multistation modulus of continuity, includes upper die assembly, lower die assembly and discharge apparatus, its characterized in that:
the lower die assembly is sequentially provided with 1 die insert sleeve (18) for punching a right phi 6mm hole, a die insert sleeve (16) for punching a left phi 9mm hole, a die insert sleeve (26) for punching a special-shaped hole, a die insert sleeve (30) for punching a middle phi 9mm hole and a blanking die insert structure (5) along the feeding direction, a positioning pin I (23) is further arranged between the die insert sleeve (18) for punching the right phi 6mm hole and the right end of the blanking die insert structure (5), a positioning pin II (27) is further arranged between the die insert sleeve (16) for punching the left phi 9mm hole and the left end of the blanking die insert structure (5), and a guide plate (15) and a strip width limiting pin (22) are further arranged on two sides of the die insert sleeve of the upper die assembly respectively;
the upper die assembly comprises an upper die base, an upper base plate arranged on the upper die base, and a male die fixing plate arranged on the upper base plate and a male die fixing plate are sequentially provided with 1 punch (19) for punching a right phi 6mm hole, a punch (17) for punching a left phi 9mm hole, a punch (25) for punching a special-shaped hole, a punch (31) for punching a middle phi 9mm hole and a blanking punch (11) which are matched with the lower die assembly along the feeding direction.
2. The wire harness support multi-station progressive die according to claim 1, wherein: the discharging device is mainly an elastic discharging device which consists of a discharging plate (7), four discharging bolts (20) and a plurality of discharging springs (24), the stripper is connected with the upper die base through stripper bolts evenly distributed at four corners of the upper die base, the stripper is positioned below the male die fixing plate, the stripper springs are evenly distributed around each male die, the top ends of the stripper springs are connected with the upper die base, the bottom ends of the stripper springs are contacted with the stripper plates, the bottom end of the discharging bolt is connected with the discharging plate through threads, a counter bore (61) is formed in the upper die base (6), the upper backing plate and the male die fixing plate are provided with through holes for the discharging bolts to slide up and down, the countersunk holes of the upper die base and the through holes of the upper backing plate form stepped holes with large top and small bottom, the discharging bolts penetrate through the upper backing plate and the male die fixing plate, the top ends of the discharging bolts are located in the countersunk holes of the upper die base, and annular flanges (201) for preventing the discharging bolts from falling off the countersunk holes are arranged on the top ends of the discharging bolts.
3. The wire harness support multi-station progressive die according to claim 1 or 2, characterized in that: the mould comprises an upper mould component and a lower mould component, wherein the upper mould component is arranged on the upper mould component, the lower mould component is arranged on the lower mould component, the two sides of the upper mould component are also provided with upper limiting columns (13), and the corresponding positions of the lower mould component are provided with lower limiting columns (14) matched with the upper limiting columns.
4. The wire harness support multi-station progressive die according to claim 1 or 2, characterized in that: guide sleeves are further arranged on two sides of the upper die assembly, and guide columns (2) matched with the guide sleeves are arranged on the corresponding positions of the lower die assembly.
5. The wire harness support multi-station progressive die according to claim 1 or 2, characterized in that: an inner guide pillar I (12) and an inner guide pillar II (28) are further arranged inside the upper die assembly, and inner guide pillar grooves matched with the inner guide pillar I and the inner guide pillar II are respectively formed in corresponding positions of the lower die assembly.
6. The wire harness support multi-station progressive die according to claim 5, wherein: the inner guide post I (12) and the inner guide post II (28) are installed in the Y-axis direction in a staggered distance mode.
7. The wire harness support multi-station progressive die according to claim 3, wherein: also comprises a storage block (21) which can be placed between the upper limit column and the lower limit column.
CN202022031377.7U 2020-09-16 2020-09-16 Wire harness bracket multi-station continuous die Active CN214391910U (en)

Priority Applications (1)

Application Number Priority Date Filing Date Title
CN202022031377.7U CN214391910U (en) 2020-09-16 2020-09-16 Wire harness bracket multi-station continuous die

Applications Claiming Priority (1)

Application Number Priority Date Filing Date Title
CN202022031377.7U CN214391910U (en) 2020-09-16 2020-09-16 Wire harness bracket multi-station continuous die

Publications (1)

Publication Number Publication Date
CN214391910U true CN214391910U (en) 2021-10-15

Family

ID=78017688

Family Applications (1)

Application Number Title Priority Date Filing Date
CN202022031377.7U Active CN214391910U (en) 2020-09-16 2020-09-16 Wire harness bracket multi-station continuous die

Country Status (1)

Country Link
CN (1) CN214391910U (en)

Cited By (1)

* Cited by examiner, † Cited by third party
Publication number Priority date Publication date Assignee Title
CN112170628A (en) * 2020-09-16 2021-01-05 柳州职业技术学院 Wire harness bracket multi-station continuous mold

Cited By (1)

* Cited by examiner, † Cited by third party
Publication number Priority date Publication date Assignee Title
CN112170628A (en) * 2020-09-16 2021-01-05 柳州职业技术学院 Wire harness bracket multi-station continuous mold

Similar Documents

Publication Publication Date Title
EP0484588B1 (en) Die including slide cam
CN103962452B (en) Mount supports seat multi-station progressive die
EP3459651B1 (en) Forging method and forging apparatus
CN106670306B (en) A kind of progressive die integration automatic fixture of nutplate part
CN214391910U (en) Wire harness bracket multi-station continuous die
CN112170696A (en) Stamping forming die for automobile seat side plate waist support bracket
US20090235517A1 (en) Progressive and transfer die stamping
CN108393397B (en) Continuous stamping die for automobile corner plate pieces
CN219112664U (en) Continuous stamping die for thick aluminum alloy coiled material
US4839952A (en) Process for manufacturing toothed parts
CN216441509U (en) Wedge structure type mould
CN214488497U (en) Micromotor rotor piece upgrades mould stamping die
CN208960772U (en) A continuous stamping die for automobile body beam bracket
CN112170628A (en) Wire harness bracket multi-station continuous mold
JPH0375247B2 (en)
CN110538922A (en) progressive die for multiple thinning drawing and reverse drawing
US20220088665A1 (en) Forging method and forging apparatus
CN215749584U (en) Punching forming continuous die
CN214488496U (en) Progressive die stamping device for E-shaped silicon steel sheet
JP4239885B2 (en) Press mold and press processing equipment
CN105689533A (en) Fixed discharging type stamping die
CN211161322U (en) Front gasket stamping and fastening device
CN217617299U (en) Die capable of detecting position of stamping part
CN212598324U (en) Mould is used in production of communication base station base plate
CN212442779U (en) A negative gap blanking station in a progressive die

Legal Events

Date Code Title Description
GR01 Patent grant
GR01 Patent grant
CP03 Change of name, title or address
CP03 Change of name, title or address

Address after: 545006 No. 16, Guantang Avenue, Yufeng District, Liuzhou City, Guangxi Zhuang Autonomous Region

Patentee after: Liuzhou Vocational and Technical University

Country or region after: China

Address before: No. 16 Guantang Avenue, Liuzhou City, Guangxi Zhuang Autonomous Region

Patentee before: LIUZHOU VOCATIONAL & TECHNICAL College

Country or region before: China