CN214381876U - Improved generation new forms of energy wind-powered electricity generation converter cabinet - Google Patents

Improved generation new forms of energy wind-powered electricity generation converter cabinet Download PDF

Info

Publication number
CN214381876U
CN214381876U CN202120406165.4U CN202120406165U CN214381876U CN 214381876 U CN214381876 U CN 214381876U CN 202120406165 U CN202120406165 U CN 202120406165U CN 214381876 U CN214381876 U CN 214381876U
Authority
CN
China
Prior art keywords
fixedly connected
block
fixing
converter cabinet
rod
Prior art date
Legal status (The legal status is an assumption and is not a legal conclusion. Google has not performed a legal analysis and makes no representation as to the accuracy of the status listed.)
Expired - Fee Related
Application number
CN202120406165.4U
Other languages
Chinese (zh)
Inventor
李楠
柳红英
郑则直
Current Assignee (The listed assignees may be inaccurate. Google has not performed a legal analysis and makes no representation or warranty as to the accuracy of the list.)
Individual
Original Assignee
Individual
Priority date (The priority date is an assumption and is not a legal conclusion. Google has not performed a legal analysis and makes no representation as to the accuracy of the date listed.)
Filing date
Publication date
Application filed by Individual filed Critical Individual
Priority to CN202120406165.4U priority Critical patent/CN214381876U/en
Application granted granted Critical
Publication of CN214381876U publication Critical patent/CN214381876U/en
Expired - Fee Related legal-status Critical Current
Anticipated expiration legal-status Critical

Links

Images

Landscapes

  • Wind Motors (AREA)

Abstract

本实用新型公开了一种改进型新能源风电变流柜,包括变流柜本体,所述变流柜本体上固定连接有两个呈横向设置的固定板,每个所述固定板上均固定连接有多个固定块,每个所述固定块上均滑动连接有滑动杆,所述固定块上固定连接有卡接块,所述卡接块上卡接有插轴,所述插轴和滑动杆滑动连接,所述固定块上设有用于滑动杆前后滑动的安装腔,所述滑动杆上对称固定连接有两个移动杆。本实用新型支撑杆上的安装块向下移动,从而使得导线固定在第一弧形槽和第二弧形槽之间,从而防止导线缠绕在一起,不需要捋出一根根导线连接到何处元件上,再检查线路,操作更加简便,不需要消耗大量的时间,有利于操作员进行工作,提高了工作效率。

Figure 202120406165

The utility model discloses an improved new energy wind power converter cabinet, which comprises a converter cabinet body. Two horizontally arranged fixing plates are fixedly connected to the converter cabinet body, and each of the fixing plates is fixed on A plurality of fixing blocks are connected, each of the fixing blocks is slidably connected with a sliding rod, a clamping block is fixedly connected to the fixing block, and a plug-in shaft is clamped on the clamping block, and the plug-in shaft and The sliding rod is slidably connected, the fixing block is provided with an installation cavity for the sliding rod to slide back and forth, and two moving rods are symmetrically and fixedly connected on the sliding rod. The mounting block on the support rod of the utility model moves downward, so that the wires are fixed between the first arc-shaped groove and the second arc-shaped groove, so as to prevent the wires from being entangled together, and it is not necessary to stretch out the wires to connect to where. On the component, and then check the line, the operation is more convenient, does not need to consume a lot of time, is conducive to the operator's work, and improves the work efficiency.

Figure 202120406165

Description

Improved generation new forms of energy wind-powered electricity generation converter cabinet
Technical Field
The utility model relates to a wind-powered electricity generation converter cabinet technical field especially relates to an improved generation new forms of energy wind-powered electricity generation converter cabinet.
Background
The new energy refers to various energy forms other than the traditional energy. The new energy is discovered by human beings, various facilities are gradually built to fully utilize the energy, and converter cabinet facilities are widely used in the wind new energy, distribute the electric energy of a certain circuit of the upper-level distribution equipment to nearby loads, and provide protection, monitoring and control for the loads.
At present, due to the fact that more circuit elements and wires are stored in the wind power converter cabinet, the elements and the wires are arranged in a staggered mode, attractiveness is affected, when one element is damaged, an operator needs to smooth out one wire to be connected to the element and check the circuit again due to the fact that the wires are wound together when the device is overhauled by the operator, a large amount of time is consumed, the operation of the operator is not facilitated, and the working efficiency is reduced.
SUMMERY OF THE UTILITY MODEL
The utility model aims at solving following shortcoming among the prior art, when a certain component takes place to damage, when the operator overhauls the device, because the wire winding is in the same place, still need smooth out a wire and be connected to on where component, inspect the circuit again, the operation is very troublesome, consumes a large amount of time, is unfavorable for operator's work, has reduced work efficiency, and an improved generation new forms of energy wind-powered electricity generation converter cabinet that provides.
In order to achieve the above purpose, the utility model adopts the following technical scheme:
the utility model provides an improved generation new forms of energy wind-powered electricity generation converter cabinet, includes the converter cabinet body, two fixed plates that are horizontal setting of fixedly connected with on the converter cabinet body, every a plurality of fixed blocks of equal fixedly connected with on the fixed plate, every equal sliding connection has the slide bar on the fixed block, fixedly connected with joint piece on the fixed block, the joint has the inserted shaft on the joint piece, inserted shaft and slide bar sliding connection, be equipped with gliding installation cavity around being used for the slide bar on the fixed block, two carriage release levers of symmetry fixedly connected with on the slide bar, two mounting panels of symmetry fixedly connected with in the installation cavity, every all be equipped with the slide mechanism who uses with the carriage release lever cooperation on the mounting panel, be equipped with the elevating system who is used for fixed wire on the fixed block.
Preferably, slide mechanism includes the dead lever with mounting panel sliding connection, the first piston of dead lever one end fixedly connected with, it is equipped with straight spring to surround on the dead lever, straight spring both ends respectively with mounting panel and dead lever fixed connection.
Preferably, one end of the fixing rod, which is far away from the first piston, is fixedly connected with a connecting block, and the cross section of the connecting block is arranged to be a right triangle.
Preferably, the lifting mechanism comprises two second pistons symmetrically arranged in the mounting cavity, each second piston is fixedly connected with a supporting rod, the fixing block is provided with a mounting block, the supporting rods are fixedly connected with the mounting block, and the mounting block is provided with a first arc-shaped groove for fixing the lead.
Preferably, the fixed block is fixedly connected with a supporting block, the supporting block is provided with a second arc-shaped groove matched with the first arc-shaped groove, and the second arc-shaped groove is fixedly connected with a rubber pad.
Preferably, a plurality of through holes for heat dissipation are formed in the converter cabinet body, and a filter screen is fixedly connected to each through hole.
Compared with the prior art, the beneficial effects of the utility model are that:
1. the movable rod is in contact with the connecting block in the process of moving along with the sliding rod, so that a first piston arranged on the fixed rod slides in the mounting cavity, the mounting block arranged on the supporting rod moves upwards, the wire is placed in the second arc-shaped groove, then the sliding rod returns to the initial position, the first piston returns to the initial position under the action of the elastic force of the straight spring, and the mounting block on the supporting rod also moves downwards, so that the wire is fixed between the first arc-shaped groove and the second arc-shaped groove, the wire is prevented from being wound together, the wire does not need to be stripped out to be connected to a part, the circuit is inspected again, the operation is simpler and more convenient, a large amount of time is not consumed, the work of an operator is facilitated, and the work efficiency is improved;
2. because fixedly connected with joint piece on the fixed block, when need not remove the slide bar, pass the slide bar through inserting the axle to carry out the joint with the joint piece, thereby can prevent that the sliding block from taking place to slide at will, make fixed wire more stable.
Drawings
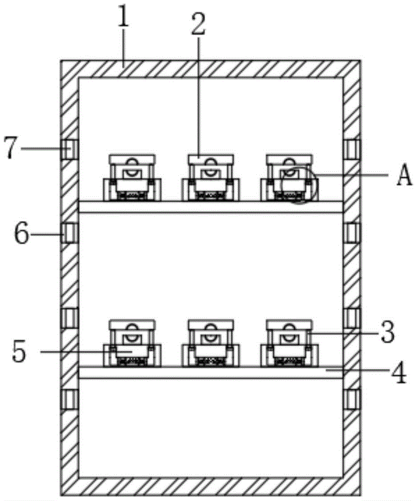
Fig. 1 is a schematic front structural view of an improved new energy wind power converter cabinet provided by the present invention;
fig. 2 is a schematic top view of an improved new energy wind power converter cabinet according to the present invention;
fig. 3 is a partially enlarged view of a in fig. 1.
In the figure: 1 converter cabinet body, 2 installation pieces, 3 bracing pieces, 4 fixed plates, 5 fixed blocks, 6 through holes, 7 filter screens, 8 clamping pieces, 9 insertion shafts, 10 sliding rods, 11 second arc-shaped grooves, 12 supporting blocks, 13 second pistons, 14 installation cavities, 15 first pistons, 16 fixed rods, 17 straight springs, 18 installation plates and 19 moving rods.
Detailed Description
The technical solutions in the embodiments of the present invention will be described clearly and completely with reference to the accompanying drawings in the embodiments of the present invention, and it is obvious that the described embodiments are only some embodiments of the present invention, not all embodiments.
In the present invention, the terms "upper", "lower", "left", "right", "middle" and "one" are used for clarity of description, but not for limiting the range of the present invention, and the relative relationship changes or adjustments without substantial technical changes should be regarded as the scope of the present invention.
Referring to fig. 1-3, an improved new energy wind power converter cabinet comprises a converter cabinet body 1, two fixing plates 4 transversely arranged are fixedly connected to the converter cabinet body 1, a plurality of fixing blocks 5 are fixedly connected to each fixing plate 4, a sliding rod 10 is slidably connected to each fixing block 5, a clamping block 8 is fixedly connected to each fixing block 5, an inserting shaft 9 is clamped to each clamping block 8, the inserting shaft 9 is slidably connected with the sliding rod 10, an installation cavity 14 used for the sliding rod 10 to slide back and forth is formed in each fixing block 5, two moving rods 19 are symmetrically and fixedly connected to each sliding rod 10, two installation plates 18 are symmetrically and fixedly connected to each installation cavity 14, a sliding mechanism used in cooperation with the moving rods 19 is arranged on each installation plate 18, and a lifting mechanism used for fixing a lead is arranged on each fixing block 5.
The sliding mechanism comprises a fixed rod 16 which is in sliding connection with a mounting plate 18, one end of the fixed rod 16 is fixedly connected with a first piston 15, a straight spring 17 is arranged on the fixed rod 16 in a surrounding mode, two ends of the straight spring 17 are respectively fixedly connected with the mounting plate 18 and the fixed rod 16, when the fixed rod 16 is subjected to external force, the fixed rod 16 slides in the mounting cavity 14 under the action of the external force, as the straight spring 17 is arranged on the fixed rod 16, the straight spring 17 deforms along with the movement of the fixed rod 16, the first piston 15 also slides in the mounting cavity 14, one end of the fixed rod 16, far away from the first piston 15, is fixedly connected with a connecting block, the cross section of the connecting block is arranged to be a right triangle, as the cross section of the connecting block is arranged to be the right triangle, and in the moving process of the moving rod 19, one side in contact with the connecting block is the hypotenuse of the right triangle, and in the moving process of the moving rod 19, a horizontal component of force is applied to the connecting block, so that the connecting block moves horizontally.
The lifting mechanism comprises two second pistons 13 which are symmetrically arranged in an installation cavity 14, each second piston 13 is fixedly connected with a supporting rod 3, an installation block 2 is arranged on a fixed block 5, the supporting rods 3 are fixedly connected with the installation block 2, a first arc-shaped groove for fixing a lead is arranged on the installation block 2, after a first piston 15 moves in the installation cavity 14, the supporting rods 3 arranged on the second pistons 13 can also slide in the installation cavity 14, because the installation block 2 and the supporting rods 3 are fixedly connected, the installation block 2 can also move together, so that the lead can be fixed by the first arc-shaped groove on the installation block 2, a supporting block 12 is fixedly connected on the fixed block 5, a second arc-shaped groove 11 matched with the first arc-shaped groove for use is arranged on the supporting block 12, a rubber pad is fixedly connected on the second arc-shaped groove 11, the lead is installed between the first arc-shaped groove and the second arc-shaped groove 11 on the supporting block 12, can fix the wire, prevent that the wire winding is in the same place, because be provided with the rubber pad on the second arc wall 11, the rubber pad can slow down the extrusion that the wire received, protective action has, and increased frictional force and prevented wire and second arc wall 11 and break away from, be equipped with a plurality of radiating through-holes 6 that are used for on the converter cabinet body 1, equal fixedly connected with filter screen 7 on every through-hole 6, through-hole 6 on the converter cabinet body 1, can make the hot-air in the converter cabinet body 1 flow through-hole 6, radiating effect has, the filter screen 7 that sets up in the through-hole 6, can prevent that great impurity from getting into converter cabinet body 1 through-hole 6.
In the utility model, by making the sliding rod 10 slide in the mounting cavity 14, the two moving rods 19 will contact with the connecting block in the moving process, the moving rod 19 has a horizontal component force to the connecting block, the fixed rod 16 connected on the connecting block will slide relatively to the mounting plate 18, the first piston 15 connected at one end of the fixed rod 16 will slide in the mounting cavity 14, since the space between the first piston 15 and the second piston 13 is sealed, the supporting rod 3 fixedly connected on the second piston 13 moves upwards, so that the mounting block 2 is separated from the fixed block 5, then the conducting wire is placed in the second arc-shaped groove 11 of the supporting block 12, the sliding rod 10 returns to the initial position, since the straight spring 17 is arranged on the fixed rod 16, under the elastic force of the straight spring 17, the first piston 15 will return to the initial position, and the mounting block 2 arranged on the supporting rod 3 will also move downwards at the same time, so that the wire can be fixed between the first and second arc-shaped grooves 11.
In the present application, the terms "mounted," "connected," and "secured" are to be construed broadly unless otherwise specifically indicated and limited.
The above, only be the concrete implementation of the preferred embodiment of the present invention, but the protection scope of the present invention is not limited thereto, and any person skilled in the art is in the technical scope of the present invention, according to the technical solution of the present invention and the utility model, the concept of which is equivalent to replace or change, should be covered within the protection scope of the present invention.

Claims (6)

1. An improved new energy wind power converter cabinet comprises a converter cabinet body (1) and is characterized in that two fixing plates (4) which are transversely arranged are fixedly connected to the converter cabinet body (1), each fixing plate (4) is fixedly connected with a plurality of fixing blocks (5), each fixing block (5) is connected with a sliding rod (10) in a sliding manner, each fixing block (5) is fixedly connected with a clamping block (8), each clamping block (8) is clamped with an inserting shaft (9), each inserting shaft (9) is connected with the sliding rod (10) in a sliding manner, an installation cavity (14) for the sliding rod (10) to slide back and forth is formed in each fixing block (5), two moving rods (19) are symmetrically and fixedly connected to the sliding rod (10), two installation plates (18) are symmetrically and fixedly connected to the inside of the installation cavity (14), and each installation plate (18) is provided with a sliding mechanism matched with the moving rods (19) for use, and the fixed block (5) is provided with a lifting mechanism for fixing the lead.
2. The improved new energy wind power converter cabinet according to claim 1, wherein the sliding mechanism comprises a fixing rod (16) slidably connected to the mounting plate (18), a first piston (15) is fixedly connected to one end of the fixing rod (16), a straight spring (17) is disposed around the fixing rod (16), and both ends of the straight spring (17) are fixedly connected to the mounting plate (18) and the fixing rod (16), respectively.
3. The improved new energy wind power converter cabinet according to claim 2, wherein a connecting block is fixedly connected to one end of the fixing rod (16) far away from the first piston (15), and the cross section of the connecting block is set to be a right triangle.
4. The improved new energy wind power converter cabinet according to claim 1, wherein the lifting mechanism comprises two second pistons (13) symmetrically arranged in an installation cavity (14), each second piston (13) is fixedly connected with a support rod (3), an installation block (2) is arranged on the fixed block (5), the support rods (3) are fixedly connected with the installation block (2), and a first arc-shaped groove for fixing a lead is arranged on the installation block (2).
5. The improved new energy wind power converter cabinet according to claim 4, wherein a supporting block (12) is fixedly connected to the fixed block (5), a second arc-shaped groove (11) matched with the first arc-shaped groove is formed in the supporting block (12), and a rubber pad is fixedly connected to the second arc-shaped groove (11).
6. The improved new energy wind power converter cabinet according to claim 1, wherein a plurality of through holes (6) for heat dissipation are formed in the converter cabinet body (1), and a filter screen (7) is fixedly connected to each through hole (6).
CN202120406165.4U 2021-02-24 2021-02-24 Improved generation new forms of energy wind-powered electricity generation converter cabinet Expired - Fee Related CN214381876U (en)

Priority Applications (1)

Application Number Priority Date Filing Date Title
CN202120406165.4U CN214381876U (en) 2021-02-24 2021-02-24 Improved generation new forms of energy wind-powered electricity generation converter cabinet

Applications Claiming Priority (1)

Application Number Priority Date Filing Date Title
CN202120406165.4U CN214381876U (en) 2021-02-24 2021-02-24 Improved generation new forms of energy wind-powered electricity generation converter cabinet

Publications (1)

Publication Number Publication Date
CN214381876U true CN214381876U (en) 2021-10-08

Family

ID=77967494

Family Applications (1)

Application Number Title Priority Date Filing Date
CN202120406165.4U Expired - Fee Related CN214381876U (en) 2021-02-24 2021-02-24 Improved generation new forms of energy wind-powered electricity generation converter cabinet

Country Status (1)

Country Link
CN (1) CN214381876U (en)

Similar Documents

Publication Publication Date Title
CN108470869B (en) A combined battery support structure
CN106271569B (en) Auxiliary device for assembly of steel strand leads and clips
CN215772395U (en) Wiring device for power distribution engineering
CN214381876U (en) Improved generation new forms of energy wind-powered electricity generation converter cabinet
CN209709974U (en) A kind of the support deformation structure and piezoelectric generating device of piezoelectric patches/foil gauge
CN108988153B (en) A regulated mobile power distribution cabinet with good heat dissipation performance
CN213660850U (en) Electric connector jack sheath press-fit device
CN109194265A (en) A kind of easy-to-mount combined type photovoltaic power generation apparatus
CN207968411U (en) A kind of installation equipment of solar cell module
CN215991623U (en) Indoor cabinet convenient to wire arrangement
CN211018078U (en) Power line connector
CN223066707U (en) High-voltage line overhauling operation platform
CN218958032U (en) Triangle-shaped earth connection
CN223639519U (en) Power line protection measurement and control device
CN116316115A (en) Special high-voltage power distribution cabinet for electric power
CN219040760U (en) Low-loss current-limiting device connector
CN215990136U (en) Right-angle hanging plate convenient to assemble
CN221686419U (en) Electric power meter convenient to installation
CN113904243B (en) Low-fault photovoltaic grid-connected device
CN222506475U (en) Grid adaptability test equipment
CN218032366U (en) Omnidirectional monitoring device based on distributed power generation
CN222281602U (en) A switch cabinet conductive bar structure
CN210629060U (en) Locomotive arrester adjustment structure
CN218848854U (en) Reservoir monitoring and warning device
CN222705732U (en) Portable energy storage battery pack rapid installation frame

Legal Events

Date Code Title Description
GR01 Patent grant
GR01 Patent grant
CF01 Termination of patent right due to non-payment of annual fee
CF01 Termination of patent right due to non-payment of annual fee

Granted publication date: 20211008