CN214344826U - Utilize extraction element of asparagus mycorrhiza preparation protein - Google Patents
Utilize extraction element of asparagus mycorrhiza preparation protein Download PDFInfo
- Publication number
- CN214344826U CN214344826U CN202120279150.6U CN202120279150U CN214344826U CN 214344826 U CN214344826 U CN 214344826U CN 202120279150 U CN202120279150 U CN 202120279150U CN 214344826 U CN214344826 U CN 214344826U
- Authority
- CN
- China
- Prior art keywords
- filter
- filter screen
- mycorrhiza
- protein
- cartridge
- Prior art date
- Legal status (The legal status is an assumption and is not a legal conclusion. Google has not performed a legal analysis and makes no representation as to the accuracy of the status listed.)
- Expired - Fee Related
Links
- 102000004169 proteins and genes Human genes 0.000 title claims abstract description 16
- 108090000623 proteins and genes Proteins 0.000 title claims abstract description 16
- 238000000605 extraction Methods 0.000 title claims abstract description 15
- 235000005340 Asparagus officinalis Nutrition 0.000 title claims abstract description 12
- 244000003416 Asparagus officinalis Species 0.000 title claims abstract 3
- 238000002360 preparation method Methods 0.000 title claims description 7
- 239000007788 liquid Substances 0.000 claims abstract description 44
- 240000006499 Flammulina velutipes Species 0.000 claims description 8
- 235000016640 Flammulina velutipes Nutrition 0.000 claims description 7
- 230000003014 reinforcing effect Effects 0.000 claims description 4
- 238000004140 cleaning Methods 0.000 claims description 2
- 230000037431 insertion Effects 0.000 claims 1
- 238000003780 insertion Methods 0.000 claims 1
- 235000001674 Agaricus brunnescens Nutrition 0.000 abstract description 4
- 230000009286 beneficial effect Effects 0.000 abstract 1
- 235000011389 fruit/vegetable juice Nutrition 0.000 description 12
- 241000234427 Asparagus Species 0.000 description 9
- 230000000903 blocking effect Effects 0.000 description 6
- 230000000694 effects Effects 0.000 description 4
- 238000009434 installation Methods 0.000 description 3
- 238000005728 strengthening Methods 0.000 description 3
- 241000233866 Fungi Species 0.000 description 1
- 238000001914 filtration Methods 0.000 description 1
- 238000000034 method Methods 0.000 description 1
- 238000000926 separation method Methods 0.000 description 1
Images
Landscapes
- Apparatus Associated With Microorganisms And Enzymes (AREA)
Abstract
The utility model provides an utilize asparagus mycorrhiza to prepare extraction element of protein, include the cartridge filter and install the filter screen in the filter cylinder bottom, the filter screen downside is equipped with the brush roller brush that is used for clearing up the filter screen, the brush roller brush rotates and installs in U type frame, the one side middle part position that U type frame deviates from the brush roller brush installs the electric putter that the level was arranged, electric putter cylinder body pot head cover be equipped with electric putter fixed connection's fender liquid board, fender liquid board upside be equipped with the level arrange and with cartridge filter fixed connection's extension board, the interlude hole has been seted up to the extension board upper surface, be equipped with vertical arrangement's screw thread post in the interlude hole, screw thread post lower extreme and fender liquid board fixed connection, interlude hole upside and downside all are equipped with stop nut, compare with prior art, the utility model discloses following beneficial effect has: the needle mushroom mycorrhiza in the meshes of the filter screen can be conveniently cleaned.
Description
Technical Field
The utility model relates to an utilize extraction element of asparagus mycorrhiza preparation protein belongs to asparagus fungus deep-processing technical field.
Background
The method comprises the steps of crushing the flammulina velutipes mycorrhiza, extracting juice from the crushed flammulina velutipes mycorrhiza, and accordingly extracting protein from the juice conveniently.
SUMMERY OF THE UTILITY MODEL
Not enough to prior art exists, the utility model aims at providing an utilize asparagus mycorrhiza preparation protein's extraction element to propose the filter screen in the use in solving above-mentioned background art, adhere to asparagus mycorrhiza easily in the mesh of filter screen, influence the separation of juice, and the more time-consuming problem of clearance, the utility model discloses realize the convenient asparagus mycorrhiza of clearance in the filter screen mesh.
In order to achieve the above purpose, the present invention is realized by the following technical solution: the utility model provides an utilize extraction element of asparagus mycorrhiza preparation protein, includes the cartridge filter and installs the filter screen in the filter cylinder bottom, the filter screen downside is equipped with the brush roller brush that is used for clearing up the filter screen, the brush roller brush rotates and installs in U type frame, the one side middle part position that U type frame deviates from the brush roller brush installs the electric putter that the level was arranged, electric putter cylinder body pot head cover be equipped with electric putter fixed connection's fender liquid board, fender liquid board upside be equipped with the level arrange and with cartridge filter fixed connection's extension board, the interlude hole has been seted up to the extension board upper surface, be equipped with vertical arrangement's screw thread post in the interlude hole, screw thread post lower extreme and fender liquid board fixed connection, interlude hole upside and downside all are equipped with stop nut, stop nut threaded connection is on the screw thread post.
Further, cartridge filter upper end surface mounting has the fender liquid circle, keep off liquid circle lower surface and be annular equidistance and install a plurality of return bend, the return bend is kept away from the one end that keeps off the liquid circle and is linked to each other with the cartridge filter and communicate with each other, the return bend upside is equipped with the screen panel, screen panel and fender liquid circle fixed connection.
Further, the upper side of the filter screen is provided with a support ring, the filter screen is fixedly connected with the support ring through screws, the support ring is fixedly connected with the filter cartridge, and the upper part of the inner surface of the support ring is provided with a tapered groove which is wide at the upper part and narrow at the lower part.
Furthermore, the lower surface of the liquid baffle plate is fixed with a drainage plate inclined towards the lower side of the filter screen, and the drainage plate and the liquid baffle plate are of an integrally formed structure.
Furthermore, a reinforcing rib is fixed on one side, close to the filter cartridge, of the upper surface of the support plate, and the reinforcing rib is fixedly connected with the filter cartridge.
Furthermore, the lower end of the threaded column is in threaded connection with an internal thread sleeve, and the internal thread sleeve is fixedly connected with the liquid baffle plate.
The utility model has the advantages that:
1. the position of the threaded column is adjusted along the through hole, the threaded column drives the electric push rod to move through the liquid baffle plate, and when the brush hair position on the brush is attached to the filter screen, the relative position of the threaded column and the support plate is fixed by two limit nuts, so that the purpose of conveniently adjusting the height of the brush roller is achieved.
2. The electric push rod is controlled to extend or contract, and then the electric push rod drives the brush roller brush to roll on the filter screen, so that the brush bristles on the brush roller brush can clean the filter screen, needle mushroom mycorrhiza in meshes of the filter screen can be cleaned, and the purpose of conveniently cleaning the filter screen can be achieved.
3. The liquid baffle plate is arranged at the end of the cylinder body of the electric push rod, so that juice dropping on the electric push rod can be prevented from dropping randomly along the surface of the electric push rod under the action of the liquid baffle plate, and the effect of limiting the dropping range of the juice is achieved.
Drawings
Other features, objects and advantages of the invention will become more apparent upon reading of the detailed description of non-limiting embodiments with reference to the following drawings:
FIG. 1 is a schematic structural view of an extraction apparatus for preparing protein from needle mushroom roots according to the present invention;
FIG. 2 is a perspective view of a support plate of the extraction apparatus for preparing protein from needle mushroom roots according to the present invention;
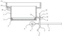
in the figure: 1-filter cartridge, 2-support ring, 3-filter screen, 4-brush roller, 5-U-shaped frame, 6-drainage plate, 7-liquid baffle, 8-electric push rod, 9-internal thread sleeve, 10-support plate, 11-limit nut, 12-threaded column, 13-reinforcing rib, 14-liquid baffle ring, 15-mesh cover, 16-bend pipe, 17-through hole.
Detailed Description
In order to make the technical means, creation features, achievement purposes and functions of the present invention easy to understand, the present invention is further described below with reference to the following embodiments.
Referring to fig. 1 and fig. 2, the present invention provides a technical solution: the utility model provides an utilize extraction element of asparagus mycorrhiza preparation protein, include cartridge filter 1 and install the filter screen 3 in cartridge filter 1 bottom, 3 downside of filter screen are equipped with the hair roller brush 4 that is used for clearing up filter screen 3, hair roller brush 4 rotates and installs in U type frame 5, U type frame 5 deviates from the one side middle part position of hair roller brush 4 and installs the electric putter 8 of horizontal arrangement, control electric putter 8 extension or shrink, and then electric putter 8 drives hair roller brush 4 and rolls on filter screen 3, thereby the clearance to filter screen 3 is realized to the brush hair on the hair roller brush 4, clear up the asparagus mycorrhiza in the 3 meshes of filter screen, realize the convenient mesh of clearing up filter screen 3.
8 cylinder body pot heads of electric putter are equipped with the fender liquid board 7 with 8 fixed connection of electric putter, hold installation fender liquid board 7 at 8 cylinder body of electric putter to under the effect of fender liquid board 7, the juice that the antidrip falls on electric putter 8 drips along electric putter 8 surfaces at will, plays the effect of restriction juice drip scope.
The liquid baffle 7 upside be equipped with the level arrange and with cartridge filter 1 fixed connection's extension board 10, the interlude hole 17 has been seted up to extension board 10 upper surface, be equipped with vertical arrangement's screw thread post 12 in the interlude hole 17, screw thread post 12 lower extreme and liquid baffle 7 fixed connection, interlude hole 17 upside and downside all are equipped with stop nut 11, stop nut 11 threaded connection is on screw thread post 12, along the position of interlude hole 17 adjustment screw thread post 12, and then screw thread post 12 drives electric putter 8 through liquid baffle 7 and removes, when the brush hair position on the brush hair 4 of hair roller is laminated with filter screen 3 mutually, utilize the relative position of two stop nut 11 fixed thread posts 12 and extension board 10, realize the purpose of convenient adjustment brush hair roller 4 height.
The outer surface of the upper end of the filter cylinder 1 is provided with a liquid blocking ring 14, the lower surface of the liquid blocking ring 14 is provided with a plurality of annular bent pipes 16 at equal intervals, one ends of the bent pipes 16 far away from the liquid blocking ring 14 are connected and communicated with the filter cylinder 1, the upper side of the bent pipes 16 is provided with a mesh enclosure 15, the mesh enclosure 15 is fixedly connected with the liquid blocking ring 14, the liquid blocking ring 14 plays a role in preventing the flammulina velutipes fungus juice from overflowing and dripping, and the juice flowing into the liquid blocking ring 14 flows into the filter cylinder 1 from the bent pipes 16 after being filtered by the mesh enclosure 15.
3 upsides of filter screen are equipped with support ring 2, and filter screen 3 passes through screw and support ring 2 fixed connection, support ring 2 and cartridge filter 1 fixed connection, and the wide bell jar of narrow down is seted up to 2 internal surface upper portion positions of support ring, and support ring 2 provides the installation carrier for filter screen 3, and the design of bell jar is convenient for the filtration of juice.
The fixed surface of the liquid baffle 7 has the drainage plate 6 inclined towards the lower side of the filter screen 3, the drainage plate 6 and the liquid baffle 7 are of an integrated structure, the design of the drainage plate 6 is convenient for draining the juice into the collection container on the lower side of the filter cartridge 1, and the effect of collecting the juice is improved.
The supporting plate 10 upper surface is fixed with strengthening rib 13 near one side of cartridge filter 1, and strengthening rib 13 and cartridge filter 1 fixed connection install strengthening rib 13 between supporting plate 10 and cartridge filter 1, improve the stability of supporting plate 10 installation.
The lower end of the threaded column 12 is in threaded connection with an internal thread sleeve 9, the internal thread sleeve 9 is fixedly connected with the liquid baffle plate 7, and the threaded column 12 and the liquid baffle plate 7 are convenient to disassemble and assemble due to the design of the internal thread sleeve 9.
The basic principles and the main features of the invention and the advantages of the invention have been shown and described above, it will be evident to those skilled in the art that the invention is not limited to the details of the foregoing illustrative embodiments, but that the invention may be embodied in other specific forms without departing from the spirit or essential characteristics of the invention. The present embodiments are therefore to be considered in all respects as illustrative and not restrictive, the scope of the invention being indicated by the appended claims rather than by the foregoing description, and all changes which come within the meaning and range of equivalency of the claims are therefore intended to be embraced therein. Any reference sign in a claim should not be construed as limiting the claim concerned.
Furthermore, it should be understood that although the present description refers to embodiments, not every embodiment may contain only a single embodiment, and such description is for clarity only, and those skilled in the art should integrate the description, and the embodiments may be combined as appropriate to form other embodiments understood by those skilled in the art.
Claims (6)
1. The utility model provides an utilize extraction element of asparagus mycorrhiza preparation protein, includes cartridge filter (1) and installs filter screen (3) in cartridge filter (1) bottom, its characterized in that: a hair roller brush (4) for cleaning the filter screen (3) is arranged at the lower side of the filter screen (3), the hair roller brush (4) is rotatably arranged in the U-shaped frame (5), the middle part of one surface of the U-shaped frame (5) departing from the hair roller brush (4) is provided with an electric push rod (8) which is horizontally arranged, the end of the cylinder body of the electric push rod (8) is sleeved with a liquid baffle plate (7) fixedly connected with the electric push rod (8), a support plate (10) which is horizontally arranged and is fixedly connected with the filter cartridge (1) is arranged on the upper side of the liquid baffle plate (7), the upper surface of the support plate (10) is provided with a through hole (17), a threaded column (12) which is vertically arranged is arranged in the through hole (17), the lower end of the threaded column (12) is fixedly connected with the liquid baffle plate (7), the upper side and the lower side of the insertion hole (17) are respectively provided with a limiting nut (11), and the limiting nut (11) is in threaded connection with the threaded column (12).
2. The extraction device for preparing the protein by utilizing the flammulina velutipes mycorrhiza as claimed in claim 1, wherein: cartridge filter (1) upper end surface mounting has fender liquid circle (14), keep off liquid circle (14) lower surface and be annular equidistance and install a plurality of return bend (16), return bend (16) keep away from the one end that keeps off liquid circle (14) and link to each other with cartridge filter (1) and communicate with each other, return bend (16) upside is equipped with screen panel (15), screen panel (15) and fender liquid circle (14) fixed connection.
3. The extraction device for preparing the protein by utilizing the flammulina velutipes mycorrhiza as claimed in claim 1, wherein: the filter screen (3) upside is equipped with support ring (2), filter screen (3) are through screw and support ring (2) fixed connection, support ring (2) and cartridge filter (1) fixed connection, narrow conical groove under wide has been seted up to support ring (2) internal surface upper portion position.
4. The extraction device for preparing the protein by utilizing the flammulina velutipes mycorrhiza as claimed in claim 1, wherein: the lower surface of the liquid baffle plate (7) is fixed with a drainage plate (6) which inclines to the lower side of the filter screen (3), and the drainage plate (6) and the liquid baffle plate (7) are of an integrally formed structure.
5. The extraction device for preparing the protein by utilizing the flammulina velutipes mycorrhiza as claimed in claim 1, wherein: and a reinforcing rib (13) is fixed on one side of the upper surface of the support plate (10) close to the filter cartridge (1), and the reinforcing rib (13) is fixedly connected with the filter cartridge (1).
6. The extraction device for preparing the protein by utilizing the flammulina velutipes mycorrhiza as claimed in claim 1, wherein: the lower end of the threaded column (12) is in threaded connection with an internal thread sleeve (9), and the internal thread sleeve (9) is fixedly connected with the liquid baffle plate (7).
Priority Applications (1)
| Application Number | Priority Date | Filing Date | Title |
|---|---|---|---|
| CN202120279150.6U CN214344826U (en) | 2021-02-01 | 2021-02-01 | Utilize extraction element of asparagus mycorrhiza preparation protein |
Applications Claiming Priority (1)
| Application Number | Priority Date | Filing Date | Title |
|---|---|---|---|
| CN202120279150.6U CN214344826U (en) | 2021-02-01 | 2021-02-01 | Utilize extraction element of asparagus mycorrhiza preparation protein |
Publications (1)
| Publication Number | Publication Date |
|---|---|
| CN214344826U true CN214344826U (en) | 2021-10-08 |
Family
ID=77962110
Family Applications (1)
| Application Number | Title | Priority Date | Filing Date |
|---|---|---|---|
| CN202120279150.6U Expired - Fee Related CN214344826U (en) | 2021-02-01 | 2021-02-01 | Utilize extraction element of asparagus mycorrhiza preparation protein |
Country Status (1)
| Country | Link |
|---|---|
| CN (1) | CN214344826U (en) |
-
2021
- 2021-02-01 CN CN202120279150.6U patent/CN214344826U/en not_active Expired - Fee Related
Similar Documents
| Publication | Publication Date | Title |
|---|---|---|
| CN209861745U (en) | Municipal afforestation equipment | |
| CN214344826U (en) | Utilize extraction element of asparagus mycorrhiza preparation protein | |
| CN207040844U (en) | A kind of halogen meat products halogen soup filter | |
| CN207099842U (en) | Vertical greening system | |
| CN206273933U (en) | Suitable for the rain water using device of roof greening | |
| EP2689660A1 (en) | Method for preventing filtering plug-in card from dripping liquid and plug-in-card type liquid purifying and filtering device | |
| CN218355534U (en) | Flower stand for gardening | |
| CN207700266U (en) | A kind of indoor secondary water system with water tank | |
| CN216125296U (en) | Three-stage chemical polishing solution filtering device for AG glass | |
| CN216874827U (en) | Tealeaves is produced and is turned over stir-fry device with tealeaves | |
| CN204250405U (en) | A kind of oil paint filling apparatus | |
| CN212468858U (en) | Raw materials screening cooling arrangement extracts oil | |
| CN212326078U (en) | Be applied to wet umbrella collecting device of office | |
| CN218655446U (en) | High convenient degree soybean edulcoration device | |
| CN209330691U (en) | A kind of drip irrigation plant walls | |
| CN215781926U (en) | Tea-seed oil fine grading filters edulcoration device | |
| CN208800377U (en) | A kind of tealeaves automatic rollover screening installation | |
| CN207714424U (en) | A kind of municipal administration gardens rainwater collection utilization unit | |
| CN206994089U (en) | A kind of vertical aquaculture device | |
| CN214766628U (en) | Supply support of rod | |
| CN205771244U (en) | Roadside dismountable dustbin is used in a kind of municipal administration | |
| CN206621852U (en) | The leachate collection groove that a kind of band structure is strengthened and filter plate support is fixed | |
| CN216906310U (en) | Three-dimensional greening landscape design device | |
| CN215259110U (en) | Internet information propaganda device | |
| CN221689420U (en) | Assembled fruit and vegetable planting rack |
Legal Events
| Date | Code | Title | Description |
|---|---|---|---|
| GR01 | Patent grant | ||
| GR01 | Patent grant | ||
| CF01 | Termination of patent right due to non-payment of annual fee | ||
| CF01 | Termination of patent right due to non-payment of annual fee |
Granted publication date: 20211008 |