CN214322751U - A kind of automobile seat pipe fitting forming equipment - Google Patents

A kind of automobile seat pipe fitting forming equipment Download PDF

Info

Publication number
CN214322751U
CN214322751U CN202023015017.4U CN202023015017U CN214322751U CN 214322751 U CN214322751 U CN 214322751U CN 202023015017 U CN202023015017 U CN 202023015017U CN 214322751 U CN214322751 U CN 214322751U
Authority
CN
China
Prior art keywords
clamping
fixedly connected
grinding
forming
pipe fitting
Prior art date
Legal status (The legal status is an assumption and is not a legal conclusion. Google has not performed a legal analysis and makes no representation as to the accuracy of the status listed.)
Expired - Fee Related
Application number
CN202023015017.4U
Other languages
Chinese (zh)
Inventor
王琪
Current Assignee (The listed assignees may be inaccurate. Google has not performed a legal analysis and makes no representation or warranty as to the accuracy of the list.)
Xinghongsheng Auto Parts Tianjin Co ltd
Original Assignee
Xinghongsheng Auto Parts Tianjin Co ltd
Priority date (The priority date is an assumption and is not a legal conclusion. Google has not performed a legal analysis and makes no representation as to the accuracy of the date listed.)
Filing date
Publication date
Application filed by Xinghongsheng Auto Parts Tianjin Co ltd filed Critical Xinghongsheng Auto Parts Tianjin Co ltd
Priority to CN202023015017.4U priority Critical patent/CN214322751U/en
Application granted granted Critical
Publication of CN214322751U publication Critical patent/CN214322751U/en
Expired - Fee Related legal-status Critical Current
Anticipated expiration legal-status Critical

Links

Images

Landscapes

  • Grinding And Polishing Of Tertiary Curved Surfaces And Surfaces With Complex Shapes (AREA)
  • Finish Polishing, Edge Sharpening, And Grinding By Specific Grinding Devices (AREA)

Abstract

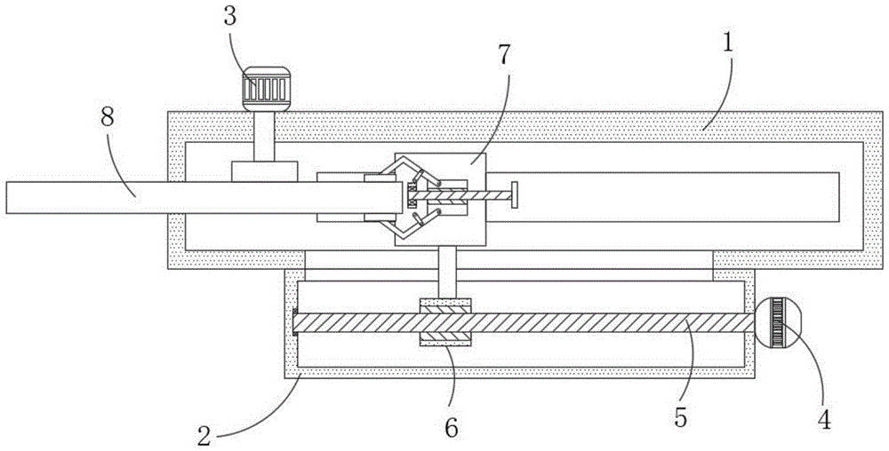
本实用新型公开了一种汽车座椅管件成型设备,包括成形打磨壳体,所述成形打磨壳体的底面固定连接有辅助壳体,所述成形打磨壳体的顶面固定安装有打磨电机,所述辅助壳体的右壁固定连接有正反转电机,所述正反转电机的输出端固定连接有转动贯穿辅助壳体右壁的螺纹杆,所述螺纹杆上螺纹连接有螺纹套,所述螺纹套的上端固定连接有连接杆,所述成形打磨壳体的内侧壁设有滑槽。本实用新型通过手动转动夹紧螺纹杆,带动夹紧螺纹套向右移动,夹紧螺纹套带动夹紧臂角度改变,从而带动两个夹紧端将管件夹,便对打磨的管件进行夹持,操作方便,对管件表面充分打磨,不需要操作人员手动拿取管件进行打磨,对工作人员的生命健康有所保障。

Figure 202023015017

The utility model discloses an automobile seat pipe fitting forming equipment, which comprises a forming and grinding casing, an auxiliary casing is fixedly connected to the bottom surface of the forming and grinding casing, and a grinding motor is fixedly installed on the top surface of the forming and grinding casing. The right wall of the auxiliary casing is fixedly connected with a forward and reverse rotation motor, the output end of the forward and reverse rotation motor is fixedly connected with a threaded rod that rotates through the right wall of the auxiliary casing, and a threaded sleeve is threadedly connected to the threaded rod. The upper end of the threaded sleeve is fixedly connected with a connecting rod, and the inner side wall of the shaping and grinding shell is provided with a chute. The utility model manually rotates the clamping threaded rod to drive the clamping threaded sleeve to move to the right, and the clamping threaded sleeve drives the angle of the clamping arm to change, thereby driving the two clamping ends to clamp the pipe fittings, thereby clamping the polished pipe fittings , The operation is convenient, the surface of the pipe fittings is fully polished, and the operator does not need to manually take the pipe fittings for grinding, which guarantees the life and health of the staff.

Figure 202023015017

Description

Car seat pipe fitting former
Technical Field
The utility model relates to a car seat field especially relates to a car seat pipe fitting former.
Background
The automobile seat can be divided into a split seat and a bench seat according to the shape; the functions can be divided into fixed type, detachable type and adjustable type; the number of people can be divided into single, double and multi-person chairs according to the number of the people sitting on the chair. From the earliest fixed seats, to multifunctional power-adjustable seats, there are air cushion seats, power seats, stereo seats, mental recovery seats, to electronic adjustable seats, depending on the performance of the seat. The chair is divided into a leather chair, a flannelette chair and the like according to the material. There are also seats for special objects of use, such as children's seats and racing seats.
In the manufacturing and production processes of the automobile seat, the round pipe is an essential important raw material for production, but the round pipe needs to be polished in the production process, but the automation degree of the existing polishing device is low, and the clamping effect is not good.
SUMMERY OF THE UTILITY MODEL
The utility model aims at solving the defects existing in the prior art and providing a forming device for automobile seat pipe fittings.
In order to achieve the above purpose, the utility model adopts the following technical scheme:
an automobile seat pipe fitting forming device comprises a forming polishing shell, wherein an auxiliary shell is fixedly connected to the bottom surface of the forming polishing shell, a polishing motor is fixedly mounted on the top surface of the forming polishing shell, a forward and reverse rotating motor is fixedly connected to the right wall of the auxiliary shell, a threaded rod which penetrates through the right wall of the auxiliary shell in a rotating mode is fixedly connected to the output end of the forward and reverse rotating motor, a threaded sleeve is connected to the threaded rod in a threaded mode, a connecting rod is fixedly connected to the upper end of the threaded sleeve, a sliding groove is formed in the inner side wall of the forming polishing shell, a sliding seat is slidably mounted in the sliding groove, a moving plate is fixedly connected to the sliding seat, a clamping threaded rod is rotatably connected to the moving plate, a clamping threaded sleeve is connected to the clamping threaded rod in a threaded mode, clamping arms are hinged to the upper side wall and the lower side wall of the clamping threaded sleeve, and clamping ends are fixedly connected to the other ends of the clamping arms, the middle section of the clamping arm is hinged with a hinged rod, the other end of the hinged rod is hinged with the movable plate, a pipe fitting is clamped between the clamping ends, and the output end of the polishing motor rotates to penetrate through the top wall fixedly connected with a polishing block of the formed polishing shell.
Preferably, the bottom wall of the forming and polishing shell and the top wall of the auxiliary shell are provided with sliding through holes, and the connecting rod penetrates through the sliding through holes in a sliding mode and is fixedly connected with the moving plate.
Preferably, the sliding groove and the sliding seat are matched in size.
Preferably, the outer diameter of the clamping threaded rod is adapted to the inner diameter of the clamping threaded sleeve.
Preferably, the outer diameter of the threaded rod is adapted to the inner diameter of the threaded sleeve.
Preferably, the left wall of the forming and polishing shell is provided with a placing through hole, and the pipe fitting penetrates through the placing through hole in a sliding mode.
The utility model has the advantages that:
1, the utility model discloses a manual rotation presss from both sides tight threaded rod, drives and presss from both sides tight thread bush and moves right, presss from both sides tight thread bush and drives and press from both sides tight arm angle and change to drive two clamp ends and press from both sides the pipe fitting, just carry out centre gripping, convenient operation to the pipe fitting of polishing.
2, the utility model discloses an output of positive reverse motor drives the threaded rod and rotates to drive the thread bush and remove right, open grinding motor, drive the sanding block and rotate and polish to the pipe fitting, the thread bush drives the pipe fitting that polishes and removes right, and positive reverse motor reverses, drives the pipe fitting and removes left, fully polishes to pipe fitting surface, and degree of automation is high, does not need the manual pipe fitting of taking of operating personnel to polish, has ensured to staff's health of life.
Drawings
Fig. 1 is the utility model discloses a structural schematic diagram of a car seat pipe fitting former who provides.
Fig. 2 is the utility model discloses a tight schematic diagram of structure of pipe fitting of car seat pipe fitting former that puts forward.
Reference numbers in the figures: the grinding machine comprises a forming grinding shell 1, an auxiliary shell 2, a grinding motor 3, a forward and reverse rotating motor 4, a threaded rod 5, a threaded sleeve 6, a moving plate 7, a pipe fitting 8, a clamping threaded rod 9, a clamping threaded sleeve 10, a clamping arm 11, a clamping end 12 and a hinged rod 13.
Detailed Description
The technical solutions in the embodiments of the present invention will be described clearly and completely with reference to the accompanying drawings in the embodiments of the present invention, and it is obvious that the described embodiments are only some embodiments of the present invention, not all embodiments.
Referring to fig. 1-2, an automobile seat pipe fitting forming device comprises a forming polishing shell 1, an auxiliary shell 2 is fixedly connected to the bottom surface of the forming polishing shell 1, a polishing motor 3 is fixedly installed on the top surface of the forming polishing shell 1, a forward and reverse rotating motor 4 is fixedly connected to the right wall of the auxiliary shell 2, a threaded rod 5 which penetrates through the right wall of the auxiliary shell 2 in a rotating mode is fixedly connected to the output end of the forward and reverse rotating motor 4, a threaded sleeve 6 is connected to the threaded rod 5 in a threaded mode, a connecting rod is fixedly connected to the upper end of the threaded sleeve 6, a sliding groove is formed in the inner side wall of the forming polishing shell 1, a sliding seat is slidably installed in the sliding groove, a moving plate 7 is fixedly connected to the sliding seat, a clamping threaded rod 9 is rotatably connected to the moving plate 7, a clamping threaded sleeve 10 is connected to the clamping threaded rod 9 in a threaded mode, clamping arms 11 are hinged to the upper side wall and the lower side wall of the clamping threaded sleeve 10, and a clamping end 12 is fixedly connected to the other end of the clamping arm 11, the middle section of pressing from both sides tight arm 11 articulates there is articulated rod 13, the other end and the movable plate 7 of articulated rod 13 are articulated, it has pipe fitting 8 to press from both sides tightly between two tight ends 12, grinding motor 3's output rotates the roof fixedly connected with piece of polishing that runs through the casing 1 that takes shape, the diapire of the casing 1 that takes shape and the roof of auxiliary housing 2 are equipped with the slip through-hole, the connecting rod slides and runs through the slip through-hole and with 7 fixed connection of movable plate, the big or small adaptation of spout and slide, press from both sides the external diameter of tight threaded rod 9 and press from both sides the internal diameter adaptation of tight thread bush 10, the external diameter of threaded rod 5 and the internal diameter adaptation of thread bush 6, the left wall of the casing 1 that takes shape is polished is equipped with places the through-hole, pipe fitting 8 slides and runs through and places in the through-hole.
The working principle is as follows: the utility model discloses, when using, first the pipe fitting 8 stretches into from the through-hole of placing of shaping polishing casing 1 left wall, then manual rotation presss from both sides tight threaded rod 9, drive and press from both sides tight thread bush 10 and move right, press from both sides tight thread bush 10 and drive and press from both sides tight arm 11 angle change, thereby drive two clamping ends 12 and press from both sides tight pipe fitting 8, then open positive and negative motor 4, the output of positive and negative motor 4 drives threaded rod 5 and rotates, thereby drive thread bush 6 and move right, open polishing motor 3, drive the sanding block and rotate and polish pipe fitting 8, thread bush 6 drives the pipe fitting 8 that polishes and moves right, positive and negative motor 4 reverses, drive pipe fitting 8 and move left, fully polish pipe fitting 8 surface, conveniently carry out the centre gripping to pipe fitting 8 that polishes, and convenient for operation, and degree of automation is high, do not need the operating personnel to manually take pipe fitting 8 and polish, the life health of workers is guaranteed.
In the description of the present invention, it is to be understood that the terms "center", "longitudinal", "lateral", "length", "width", "thickness", "upper", "lower", "front", "rear", "left", "right", "vertical", "horizontal", "top", "bottom", "inner", "outer", "clockwise", "counterclockwise", and the like indicate orientations or positional relationships based on the orientations or positional relationships shown in the drawings, and are only for convenience of description and to simplify the description, but do not indicate or imply that the device or element referred to must have a particular orientation, be constructed and operated in a particular orientation, and therefore should not be construed as limiting the present invention.
Furthermore, the terms "first", "second" and "first" are used for descriptive purposes only and are not to be construed as indicating or implying relative importance or implicitly indicating the number of technical features indicated. Thus, a feature defined as "first" or "second" may explicitly or implicitly include one or more of that feature. In the description of the present invention, "a plurality" means two or more unless specifically limited otherwise.
The above, only be the concrete implementation of the preferred embodiment of the present invention, but the protection scope of the present invention is not limited thereto, and any person skilled in the art is in the technical scope of the present invention, according to the technical solution of the present invention and the utility model, the concept of which is equivalent to replace or change, should be covered within the protection scope of the present invention.

Claims (6)

1.一种汽车座椅管件成型设备,包括成形打磨壳体(1),其特征在于,所述成形打磨壳体(1)的底面固定连接有辅助壳体(2),所述成形打磨壳体(1)的顶面固定安装有打磨电机(3),所述辅助壳体(2)的右壁固定连接有正反转电机(4),所述正反转电机(4)的输出端固定连接有转动贯穿辅助壳体(2)右壁的螺纹杆(5),所述螺纹杆(5)上螺纹连接有螺纹套(6),所述螺纹套(6)的上端固定连接有连接杆,所述成形打磨壳体(1)的内侧壁设有滑槽,所述滑槽内滑动安装有滑座,所述滑座上固定连接有移动板(7),所述移动板(7)上转动连接有夹紧螺纹杆(9),所述夹紧螺纹杆(9)上螺纹连接有夹紧螺纹套(10),所述夹紧螺纹套(10)的上、下侧壁均铰接有夹紧臂(11),所述夹紧臂(11)的另一端固定连接有夹紧端(12),所述夹紧臂(11)的中段铰接有铰接杆(13),所述铰接杆(13)的另一端和移动板(7)铰接,两个所述夹紧端(12)之间夹紧有管件(8),所述打磨电机(3)的输出端转动贯穿成形打磨壳体(1)的顶壁固定连接有打磨块。1. An automobile seat pipe fitting forming equipment, comprising a forming and grinding casing (1), characterized in that an auxiliary casing (2) is fixedly connected to the bottom surface of the forming and grinding casing (1), and an auxiliary casing (2) is fixedly connected to the bottom surface of the forming and grinding casing (1). A grinding motor (3) is fixedly installed on the top surface of the body (1), a forward and reverse rotation motor (4) is fixedly connected to the right wall of the auxiliary housing (2), and the output end of the forward and reverse rotation motor (4) is fixedly connected. A threaded rod (5) that rotates through the right wall of the auxiliary housing (2) is fixedly connected, a threaded sleeve (6) is threadedly connected to the threaded rod (5), and the upper end of the threaded sleeve (6) is fixedly connected with a connection A rod, the inner side wall of the forming and grinding shell (1) is provided with a chute, a sliding seat is slidably installed in the chute, and a moving plate (7) is fixedly connected to the sliding seat, and the moving plate (7) ) is rotatably connected with a clamping threaded rod (9), the clamping threaded rod (9) is threadedly connected with a clamping threaded sleeve (10), and the upper and lower side walls of the clamping threaded sleeve (10) are both A clamping arm (11) is hingedly connected, the other end of the clamping arm (11) is fixedly connected with a clamping end (12), and a hinge rod (13) is hinged at the middle section of the clamping arm (11). The other end of the hinge rod (13) is hinged with the moving plate (7), a pipe (8) is clamped between the two clamping ends (12), and the output end of the grinding motor (3) rotates through the shaping and grinding A grinding block is fixedly connected to the top wall of the housing (1). 2.根据权利要求1所述的一种汽车座椅管件成型设备,其特征在于,所述成形打磨壳体(1)的底壁和辅助壳体(2)的顶壁设有滑动通孔,所述连接杆滑动贯穿滑动通孔并与移动板(7)固定连接。2. An automobile seat pipe fitting forming equipment according to claim 1, characterized in that the bottom wall of the forming and grinding casing (1) and the top wall of the auxiliary casing (2) are provided with sliding through holes, The connecting rod slides through the sliding through hole and is fixedly connected with the moving plate (7). 3.根据权利要求1所述的一种汽车座椅管件成型设备,其特征在于,所述滑槽和滑座的大小适配。3 . The apparatus for forming an automobile seat pipe according to claim 1 , wherein the size of the sliding groove and the sliding seat are adapted. 4 . 4.根据权利要求1所述的一种汽车座椅管件成型设备,其特征在于,所述夹紧螺纹杆(9)的外径和夹紧螺纹套(10)的内径适配。4. An automobile seat pipe fitting forming equipment according to claim 1, wherein the outer diameter of the clamping threaded rod (9) is adapted to the inner diameter of the clamping threaded sleeve (10). 5.根据权利要求1所述的一种汽车座椅管件成型设备,其特征在于,所述螺纹杆(5)的外径和螺纹套(6)的内径适配。5. An automobile seat pipe fitting forming equipment according to claim 1, wherein the outer diameter of the threaded rod (5) is adapted to the inner diameter of the threaded sleeve (6). 6.根据权利要求1所述的一种汽车座椅管件成型设备,其特征在于,所述成形打磨壳体(1)的左壁设有放置通孔,所述管件(8)滑动贯穿放置通孔内。6 . The device for forming a pipe fitting for an automobile seat according to claim 1 , wherein the left wall of the forming and grinding shell ( 1 ) is provided with a placement through hole, and the pipe fitting (8 ) slides through the placement through hole. 7 . inside the hole.
CN202023015017.4U 2020-12-15 2020-12-15 A kind of automobile seat pipe fitting forming equipment Expired - Fee Related CN214322751U (en)

Priority Applications (1)

Application Number Priority Date Filing Date Title
CN202023015017.4U CN214322751U (en) 2020-12-15 2020-12-15 A kind of automobile seat pipe fitting forming equipment

Applications Claiming Priority (1)

Application Number Priority Date Filing Date Title
CN202023015017.4U CN214322751U (en) 2020-12-15 2020-12-15 A kind of automobile seat pipe fitting forming equipment

Publications (1)

Publication Number Publication Date
CN214322751U true CN214322751U (en) 2021-10-01

Family

ID=77899915

Family Applications (1)

Application Number Title Priority Date Filing Date
CN202023015017.4U Expired - Fee Related CN214322751U (en) 2020-12-15 2020-12-15 A kind of automobile seat pipe fitting forming equipment

Country Status (1)

Country Link
CN (1) CN214322751U (en)

Similar Documents

Publication Publication Date Title
CN215881164U (en) Grinding machine for machining end cover accessories of hydraulic cylinder
CN211332518U (en) Grinding device is used in auto-parts processing
CN214322751U (en) A kind of automobile seat pipe fitting forming equipment
CN212859062U (en) Stable motor base anchor clamps of polishing of centre gripping
CN210704074U (en) Business car accessory frock of polishing
CN218697090U (en) Couple processing grinding device
CN210281741U (en) Spare part is polished and is used dust collector
CN220718827U (en) Alloy die design coping platform
CN213319222U (en) Pipeline opening polishing equipment
CN214080196U (en) Computer panel processing equipment
CN215279842U (en) Static pressure line mold quick change device
CN209811925U (en) Moulding device of pneumatic valve rod iron
CN113134762A (en) Numerical control machine part processing is with bender that has clean structure
CN221849683U (en) A grinding mechanism for producing diamond wire drawing dies
CN219485173U (en) Intercooler pipe surface equipment of polishing
CN217317420U (en) High-precision grinding machine for automobile inspection tool
CN218364055U (en) A tooling fixture for grinding metal pins
CN207873303U (en) A kind of hand-hold shearing unit device of small portable Electronic control
CN221716427U (en) Clamp for deburring worm gear
CN222345227U (en) A clamping mechanism for hardware processing and grinding
CN217728299U (en) Automobile fastener burnishing device
CN213917532U (en) A grinding device for aluminum frame of panel light
CN222643993U (en) Inner wall polishing device for sleeve hardware machining
CN213196928U (en) Grinding device for wood working with centre gripping fixed knot constructs
CN215317496U (en) Cylindrical grinding device for automobile parts

Legal Events

Date Code Title Description
GR01 Patent grant
GR01 Patent grant
CF01 Termination of patent right due to non-payment of annual fee

Granted publication date: 20211001

CF01 Termination of patent right due to non-payment of annual fee