CN214319017U - A straight leg lifter assisting quadriceps exercise device - Google Patents

A straight leg lifter assisting quadriceps exercise device Download PDF

Info

Publication number
CN214319017U
CN214319017U CN202120421318.2U CN202120421318U CN214319017U CN 214319017 U CN214319017 U CN 214319017U CN 202120421318 U CN202120421318 U CN 202120421318U CN 214319017 U CN214319017 U CN 214319017U
Authority
CN
China
Prior art keywords
wall
leg
fixedly connected
sliding frame
extension plate
Prior art date
Legal status (The legal status is an assumption and is not a legal conclusion. Google has not performed a legal analysis and makes no representation as to the accuracy of the status listed.)
Expired - Fee Related
Application number
CN202120421318.2U
Other languages
Chinese (zh)
Inventor
秦蕾
王静
张丽丽
王其
Current Assignee (The listed assignees may be inaccurate. Google has not performed a legal analysis and makes no representation or warranty as to the accuracy of the list.)
First Affiliated Hospital of Shandong First Medical University
Original Assignee
First Affiliated Hospital of Shandong First Medical University
Priority date (The priority date is an assumption and is not a legal conclusion. Google has not performed a legal analysis and makes no representation as to the accuracy of the date listed.)
Filing date
Publication date
Application filed by First Affiliated Hospital of Shandong First Medical University filed Critical First Affiliated Hospital of Shandong First Medical University
Priority to CN202120421318.2U priority Critical patent/CN214319017U/en
Application granted granted Critical
Publication of CN214319017U publication Critical patent/CN214319017U/en
Expired - Fee Related legal-status Critical Current
Anticipated expiration legal-status Critical

Links

Images

Landscapes

  • Finger-Pressure Massage (AREA)

Abstract

本实用新型涉及一种直腿抬高器辅助股四头肌锻炼装置,包括床体,所述床体外壁一侧安装有第一腿部延伸板,且第一腿部延伸板外壁通过转动轴转动连接有滑动架,所述滑动架外壁两侧活动连接有活动杆,且活动杆外壁套接有弹簧,所述活动杆另一端固定连接有插销,且插销另一端活动连接有连接块,所述连接块另一端固定连接有延伸轨。本实用新型通过设置了第一腿部延伸板和延伸轨,第一腿部延伸板和延伸轨主要用于放置患者的腿部,并通过弹性绑带正确的引导患者做正确的运动,同时提供了插销和连接块对延伸轨进行限位,防止腿部弯曲,这样就不需要人工进行指导运动,患者自然被固定住,进行自主运动,不需要其他人进行指导。

Figure 202120421318

The utility model relates to an auxiliary quadriceps exercise device for a straight leg lifter, comprising a bed body, a first leg extension plate is installed on one side of the outer wall of the bed, and the outer wall of the first leg extension plate passes through a rotating shaft A sliding frame is rotatably connected, a movable rod is movably connected on both sides of the outer wall of the sliding frame, and a spring is sleeved on the outer wall of the movable rod, the other end of the movable rod is fixedly connected with a plug, and the other end of the plug is movably connected with a connecting block, so An extension rail is fixedly connected to the other end of the connecting block. The utility model is provided with a first leg extension board and an extension rail, the first leg extension board and the extension rail are mainly used for placing the patient's legs, and the elastic bandages are used to correctly guide the patient to do correct movement, and at the same time provide A latch and a connecting block are used to limit the extension rail and prevent the legs from bending, so that there is no need to manually guide the movement, and the patient is naturally fixed and moves autonomously without the need for other people to guide.

Figure 202120421318

Description

Device is tempered to supplementary quadriceps femoris of ware is raised to straight leg
Technical Field
The utility model relates to a supplementary quadriceps femoris of ware is raised to straight leg tempers device belongs to straight leg and raises technical field.
Background
The straight leg raising test is a commonly used examination method, the positive rate of patients with sciatica and lumbar intervertebral disc protrusion can reach more than 90 percent, and the disease condition and the nerve root compression degree of sciatica and lumbar intervertebral disc protrusion can be reflected to a certain extent.
The straight leg lifting movement in the prior art needs manual guiding movement, and the device can effectively limit the position of a patient, so that a correct movement mode is carried out, a manual auxiliary mode is completely replaced, and the labor intensity of medical staff is reduced.
SUMMERY OF THE UTILITY MODEL
The utility model discloses the technical problem who solves overcomes current defect, provides a supplementary thigh quadriceps of straight leg raising ware and tempers device, the utility model discloses simple structure, convenient to use restricts patient's shank through mechanical spacing method to alleviate medical personnel's working strength, can effectively solve the problem in the background art.
In order to solve the technical problem, the utility model provides a following technical scheme:
a quadriceps femoris exercising device assisted by a straight leg lifting device comprises a bed body, wherein a first leg extension plate is arranged on one side of the outer wall of the bed body, the outer wall of the first leg extension plate is rotationally connected with a sliding frame through a rotating shaft, two sides of the outer wall of the sliding frame are movably connected with movable rods, and the outer wall of the movable rod is sleeved with a spring, the other end of the movable rod is fixedly connected with a bolt, the other end of the bolt is movably connected with a connecting block, the other end of the connecting block is fixedly connected with an extension rail, the lower end of the outer wall of the bolt is fixedly connected with a rack through a connecting rod, and one side of the outer wall of the rack is engaged and connected with a gear, one side of the outer wall of the first leg extension plate is fixedly connected with a fixed plate, and one end of the fixed plate is provided with a massage head, one end of the extension rail is fixedly connected with a sole placing area, and sole places district one end veneer and is connected with elastic bandage, it has shank magic subsides to extend rail outer wall mid-mounting.
Furthermore, the bolt is in a trapezoidal structure when viewed from top, and the bolt and the sliding frame form an elastic structure through a spring.
Further, the racks are distributed along the center of the circle of the gear symmetrically.
Further, the elastic bandage is pasted with the extension rail through a magic tape.
Further, the massage head is positioned right above the sliding frame.
Furthermore, a second leg extension plate is installed on the other side of the outer wall of the bed body, and the surface of the second leg extension plate is connected with a sole fixing block through a slot in a sliding manner.
The utility model discloses a technological effect and advantage:
1. the utility model discloses a set up first shank and extended the board and extend the rail, first shank extends the board and extends the rail mainly used and place patient's shank to do exact motion through the exact guide patient of elastic bandage, it is spacing to extend the rail to provide bolt and connecting block simultaneously, prevents that the shank is crooked, just so does not need the manual work to guide the motion, and the patient is fixed naturally, carries out autonomous movement, does not need other people to guide.
Drawings
The accompanying drawings are included to provide a further understanding of the invention, and are incorporated in and constitute a part of this specification, illustrate embodiments of the invention, and together with the description serve to explain the invention and not to limit the invention.
Fig. 1 is a schematic front view of the present invention;
fig. 2 is a schematic top view of the present invention;
FIG. 3 is a schematic view of the side view of the present invention;
fig. 4 is a schematic view of a part a of the enlarged structure of fig. 2 according to the present invention;
fig. 5 is a schematic view of the structure of the rack and the gear of the present invention.
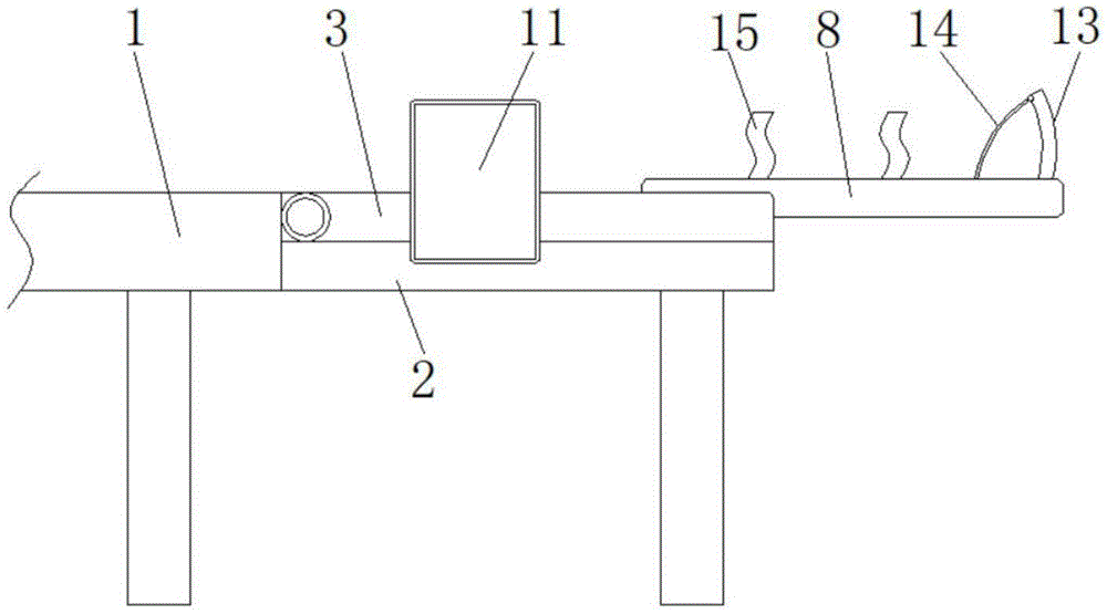
Reference numbers in the figures: 1. a bed body; 2. a first leg extension plate; 3. a carriage; 4. a movable rod; 5. a spring; 6. a bolt; 7. connecting blocks; 8. an extension rail; 9. a rack; 10. a gear; 11. a fixing plate; 12. a massage head; 13. a sole placement area; 14. an elastic band; 15. leg magic tapes; 16. a second leg extension plate; 17. the sole fixed block.
Detailed Description
The preferred embodiments of the present invention will be described in conjunction with the accompanying drawings, and it will be understood that they are presented herein only to illustrate and explain the present invention, and not to limit the present invention.
As shown in figures 1-5, a straight leg lifting device auxiliary quadriceps femoris muscle exercising device comprises a bed body 1, a first leg extension plate 2 is installed on one side of the outer wall of the bed body 1, the outer wall of the first leg extension plate 2 is rotatably connected with a sliding frame 3 through a rotating shaft, movable rods 4 are movably connected on two sides of the outer wall of the sliding frame 3, springs 5 are sleeved on the outer walls of the movable rods 4, bolts 6 are fixedly connected on the other ends of the movable rods 4, a connecting block 7 is movably connected on the other end of each bolt 6, an extension rail 8 is fixedly connected on the other end of each connecting block 7, a rack 9 is fixedly connected on the lower end of the outer wall of each bolt 6 through a connecting rod, a gear 10 is meshed and connected on one side of the outer wall of the rack 9, a fixed plate 11 is fixedly connected on one side of the outer wall of the first leg extension plate 2, a massage head 12 is installed on one end of the fixed plate 11, a sole placing area 13 is fixedly connected on one end of the extension rail 8, and an elastic bandage 14 is glued on one end of the sole placing area, the middle part of the outer wall of the extension rail 8 is provided with a leg magic tape 15.
As shown in fig. 2 and 4, the latch 6 of this embodiment is a trapezoid structure when looking down, the latch 6 forms an elastic structure with the sliding frame 3 through the spring 5, at first, the latch 6 can be mutually matched with the connecting block 7, extend the main human leg of rail 8 and sliding frame 3, the user needs to bind the leg to the extension rail 8, when the leg is longer, the adjustment can be performed by pushing the extension rail 8, the latch 6 is set to be a trapezoid structure to prevent the extension rail 8 from sliding backwards, so that the leg of the user cannot be bent after being fixed, and only can be kept extending forwards, which is beneficial to helping the user to perform correct actions.
As shown in fig. 3 and 5, the rack 9 of this embodiment is distributed along the center of the circle of the gear 10 symmetrically, the movable rod 4, the spring 5, the bolt 6 and the connecting block 7 are disposed on two sides of the extension rail 8, when the extension rail 8 needs to be retracted into the sliding rack 3 reversely, the movable rod 4 needs to be pulled outwards, the bolt 6 is separated from the inside of the connecting block 7, when the movable rod 4 is pulled outwards, the gear 10 is driven to rotate by the connecting rod rack 9, so that the gear 10 can drive the rack 9 on the other side to move reversely when rotating, and the bolt 6 on the other side is driven to move outwards and is separated from the inside of the connecting block 7.
As shown in fig. 1 and 2, the elastic band 14 of the present embodiment is adhered to the extension rail 8 by a hook and loop fastener, the sole placing area 13 is mainly used for placing the sole, the lateral surface of the sole placing area 13 is in an arc-shaped structure, which is more beneficial for the user to bend the foot, and the elastic band 14 is made of a conventional rubber material, which is mainly used for bending the toe portion of the user backward so as to keep the user in the most correct exercise posture.
As shown in fig. 3, the massage head 12 of the present embodiment is located right above the sliding frame 3, the massage head 12 is mainly used for massaging the legs of the user, when the user lifts the legs, the knee joint part of the user contacts the massage head 12, so as to massage the knee joint part, thereby achieving better use experience.
As shown in fig. 1, a second leg extension plate 16 is installed on the other side of the outer wall of the bed body 1 in this embodiment, a sole fixing block 17 is connected to the surface of the second leg extension plate 16 through a slot in a sliding manner, the second leg extension plate 16 is mainly used for placing another leg, and the sole fixing block 17 is mainly used for limiting the step of the other leg, so that the other leg is kept in a bending state, and a user can determine the degree of bending of the leg by adjusting the position of the sole fixing block 17.
For the convenience of understanding the technical solution of the present invention, the following detailed description is made on the working principle or the operation mode of the present invention in the practical process.
The utility model discloses the theory of operation: when the bed is used, firstly, a user needs to lie the person on the bed body 1, then the sole is placed on the sole placing area 13, one end of the elastic bandage 14 is adhered to the extension rail 8, so that the fingers of the foot are pulled backwards, the user can lead the extension rail 8 to be derived from the inside of the sliding frame 3 according to the length of the leg of the user, when the extension rail 8 extends outwards, the side surface of the bolt 6 is extruded by the connecting block 7 and shrinks towards two sides, if the user wants to bend the leg, the extension rail 8 shrinks reversely, but the trapezoidal structure of the bolt 6 can not lead the connecting block 7 to move reversely, thus the extension rail 8 can only extend forwards, the leg of the user can not bend, the leg is further fixed by the leg magic tape 15, the other leg is placed on the second leg extension plate 16, then the sole is placed on the sole fixing block 17, thereby ensuring the bending state of the other leg, the user lifts the leg on the extension rail 8 upwards and lifts the leg upwards straightly under the limitation of the device, so that the knee joint can naturally contact with the massage head 12, thus completing the one-time exercise mode.
The above is the preferred embodiment of the present invention, and the technical personnel in the field of the present invention can also change and modify the above embodiment, therefore, the present invention is not limited to the above specific embodiment, and any obvious improvement, replacement or modification made by the technical personnel in the field on the basis of the present invention all belong to the protection scope of the present invention.

Claims (6)

1. The utility model provides a device is tempered to supplementary quadriceps muscle of thigh is raised to straight leg, includes bed body (1), its characterized in that: the bed body is characterized in that a first leg extension plate (2) is installed on one side of the outer wall of the bed body (1), the outer wall of the first leg extension plate (2) is rotatably connected with a sliding frame (3) through a rotating shaft, two sides of the outer wall of the sliding frame (3) are movably connected with movable rods (4), springs (5) are sleeved on the outer wall of the movable rods (4), bolts (6) are fixedly connected with the other ends of the movable rods (4), connecting blocks (7) are movably connected with the other ends of the bolts (6), extension rails (8) are fixedly connected with the other ends of the connecting blocks (7), racks (9) are fixedly connected with the lower ends of the outer wall of the bolts (6) through connecting rods, gears (10) are meshed with one side of the outer wall of the rack (9), a fixing plate (11) is fixedly connected with one side of the outer wall of the first leg extension plate (2), and one end of the fixing plate (11) is provided with a massage head (12), extend rail (8) one end fixedly connected with sole and place district (13), and sole places district (13) one end veneer and is connected with elastic bandage (14), it has shank magic subsides (15) to extend rail (8) outer wall mid-mounting.
2. The quadruped muscle exerciser of straight leg raiser as claimed in claim 1, wherein: the plug pin (6) is in a trapezoidal structure when being overlooked, and the plug pin (6) and the sliding frame (3) form an elastic structure through the spring (5).
3. The quadruped muscle exerciser of straight leg raiser as claimed in claim 2, wherein: the racks (9) are distributed along the center of the circle of the gear (10) in a central symmetry manner.
4. The quadruped muscle exerciser of straight leg raiser as claimed in claim 3, wherein: elastic bandage (14) paste each other with extension rail (8) through magic subsides.
5. The quadruped muscle exerciser of straight leg raiser as claimed in claim 1, wherein: the massage head (12) is positioned right above the sliding frame (3).
6. The quadruped muscle exerciser of straight leg raiser as claimed in claim 1, wherein: a second leg extension plate (16) is installed on the other side of the outer wall of the bed body (1), and a sole fixing block (17) is connected to the surface of the second leg extension plate (16) in a sliding mode through a groove.
CN202120421318.2U 2021-02-25 2021-02-25 A straight leg lifter assisting quadriceps exercise device Expired - Fee Related CN214319017U (en)

Priority Applications (1)

Application Number Priority Date Filing Date Title
CN202120421318.2U CN214319017U (en) 2021-02-25 2021-02-25 A straight leg lifter assisting quadriceps exercise device

Applications Claiming Priority (1)

Application Number Priority Date Filing Date Title
CN202120421318.2U CN214319017U (en) 2021-02-25 2021-02-25 A straight leg lifter assisting quadriceps exercise device

Publications (1)

Publication Number Publication Date
CN214319017U true CN214319017U (en) 2021-10-01

Family

ID=77885601

Family Applications (1)

Application Number Title Priority Date Filing Date
CN202120421318.2U Expired - Fee Related CN214319017U (en) 2021-02-25 2021-02-25 A straight leg lifter assisting quadriceps exercise device

Country Status (1)

Country Link
CN (1) CN214319017U (en)

Similar Documents

Publication Publication Date Title
CN206995718U (en) A kind of main passive exercise device of ankle-joint
CN115300266B (en) Leg rehabilitation sickbed
CN203564484U (en) Lower limb recovery bed
CN211095749U (en) A passive motion rehabilitation instrument for lower limbs of bedridden patients
CN214319017U (en) A straight leg lifter assisting quadriceps exercise device
CN216366517U (en) Intelligent auxiliary exerciser for ankle pump movement
CN217366443U (en) Motion device for preventing deep venous thrombosis of lower limbs
CN221556619U (en) Leg training device
CN114904217A (en) A sports rehabilitation device for exercising upper and lower limbs
CN211512549U (en) Postoperative rehabilitation physiotherapy bed
CN117838456A (en) Massage relief device for preventing pressure ulcers on patients' backs
CN206391156U (en) A kind of medical orthopedic nursing supporting frame
CN215504115U (en) Internal medicine rehabilitation nursing equipment
CN213190941U (en) Department of neurology low limbs rehabilitation training device
CN113509354B (en) A rehabilitation exercise device for interventional nursing
CN214968134U (en) L-shaped lower limb lifting pad
CN211485534U (en) Ankle pump athletic training recorder
CN211835134U (en) Heart surgery postoperative recovery device
CN204446511U (en) One is used for the treatment of lumbar vertebra, cervical vertebra medical apparatus and instruments
CN212282095U (en) Clinical rehabilitation device that uses of traditional chinese medical science orthopedics
CN114948589A (en) Lower limb recovery exercise device for orthopedics clinic
CN117257610B (en) Nursing frame
CN221712708U (en) Device for rehabilitation of paralyzed lower limbs
CN113017759A (en) Hemostasis compression device
CN217162401U (en) Hip-knee joint drafting bed

Legal Events

Date Code Title Description
GR01 Patent grant
GR01 Patent grant
CF01 Termination of patent right due to non-payment of annual fee
CF01 Termination of patent right due to non-payment of annual fee

Granted publication date: 20211001