CN214264539U - 一种焊接用定位工装 - Google Patents

一种焊接用定位工装 Download PDF

Info

Publication number
CN214264539U
CN214264539U CN202120099030.8U CN202120099030U CN214264539U CN 214264539 U CN214264539 U CN 214264539U CN 202120099030 U CN202120099030 U CN 202120099030U CN 214264539 U CN214264539 U CN 214264539U
Authority
CN
China
Prior art keywords
block
base
screw rod
connecting block
penetrates
Prior art date
Legal status (The legal status is an assumption and is not a legal conclusion. Google has not performed a legal analysis and makes no representation as to the accuracy of the status listed.)
Expired - Fee Related
Application number
CN202120099030.8U
Other languages
English (en)
Inventor
陈梓琳
朱艳
Current Assignee (The listed assignees may be inaccurate. Google has not performed a legal analysis and makes no representation or warranty as to the accuracy of the list.)
Individual
Original Assignee
Individual
Priority date (The priority date is an assumption and is not a legal conclusion. Google has not performed a legal analysis and makes no representation as to the accuracy of the date listed.)
Filing date
Publication date
Application filed by Individual filed Critical Individual
Priority to CN202120099030.8U priority Critical patent/CN214264539U/zh
Application granted granted Critical
Publication of CN214264539U publication Critical patent/CN214264539U/zh
Expired - Fee Related legal-status Critical Current
Anticipated expiration legal-status Critical

Links

Images

Landscapes

  • Gripping Jigs, Holding Jigs, And Positioning Jigs (AREA)

Abstract

本实用新型公开了一种焊接用定位工装,包含底座,所述底座上设置有2个安装槽,且第一螺杆的下端通过其中一个安装槽贯穿伸入至另一个安装槽的内部,所述第一螺杆的上端通过底座的外表面贯穿伸出至第二调节块上,且2个底座通过第一螺杆相连接,所述底座的内表面设置有第一夹紧块的一面,且连接块的一端贯穿第一夹紧块的一侧设置,所述连接块的一面设置于底座的内表面,且圆筒槽通过连接块的另一面贯穿底座设置,所述连接块的另一面设置有夹紧机构的一端。该定位工装便于适用不同形状的材料定位,便于调节工装的整体高度,便于适用不同尺寸的材料,保证了定位工装的多样性,且有利于定位工装在实际应用过程中操作的便捷。

Description

一种焊接用定位工装
技术领域
本实用新型涉及定位工装相关技术领域,具体为一种焊接用定位工装。
背景技术
定位工装是一种能在制造过程中进行固定的工具,其通过快速固定材料,使材料能够稳定保持在正确的工艺位置,避免了人们在焊接过程中存在的焊接不牢靠,不美观的问题;
但是现有的定位工装不便于适用不同形状的材料定位,不便于调节工装的整体高度,不便于适用不同尺寸的材料,使得焊接作业太过简单,不能提高其稳定性,最终导致定位工装不能满足实际焊接作业的需求。
发明内容
本实用新型的目的在于提供一种焊接用定位工装,以解决上述背景技术中提出现有的定位工装不能适用不同形状的材料定位和调节工装整体高度的问题。
为实现上述目的,本实用新型提供如下技术方案:一种焊接用定位工装,包含底座,所述底座上设置有2个安装槽,且第一螺杆的下端通过其中一个安装槽贯穿伸入至另一个安装槽的内部,所述第一螺杆的上端通过底座的外表面贯穿伸出至第二调节块上,且2个底座通过第一螺杆相连接,所述底座的内表面设置有第一夹紧块的一面,且连接块的一端贯穿第一夹紧块的一侧设置,所述连接块的一面设置于底座的内表面,且圆筒槽通过连接块的另一面贯穿底座设置,所述连接块的另一面设置有夹紧机构的一端,且夹紧机构的表面设置有限位机构,所述圆筒槽一端设置于夹紧机构的内部,所述连接块的另一端设置有第二螺杆的一端,且第二螺杆的另一端通过固定块的一端设置有第一调节块,所述固定块的另一端设置于底座的内表面,且圆筒槽设置于固定块和第一夹紧块。
优选的,所述底座的一角贯穿设置有弧槽,且第一夹紧块的一角贯穿弧槽设置。
优选的,所述第一螺杆的表面螺纹连接其中一个安装槽,且第一螺杆的底端轴承连接于另一个安装槽。
优选的,所述第一螺杆与第二螺杆的轴线相互交叉,且第二螺杆设置于2对第一螺杆之间。
优选的,所述限位机构包含套环、滑板和棘爪,且套环通过棘爪与夹紧机构相连接,所述滑板的一面设置于套环的内表面,且滑板的另一面滑动连接有滑块。
优选的,所述夹紧机构包含棘轮、套杆、滑块、第二夹紧块、通孔和弹簧,且夹紧机构通过棘轮与限位机构相连接,所述套杆的表面贯穿棘轮设置,且套杆的一端设置于连接块上,所述套杆的另一端贯穿设置有通孔,且通孔的内表面通过弹簧与滑块的表面相连接,所述滑块的一端设置有第二夹紧块,且滑块的另一端滑动连接于滑板上。
与现有技术相比,本实用新型的有益效果是:该定位工装便于适用不同形状的材料定位,便于调节工装的整体高度,便于适用不同尺寸的材料,保证了定位工装的多样性,且有利于定位工装在实际应用过程中操作的便捷:
1、通过将工装整体的高度固定好后,使得第一调节块旋转带动第二螺杆旋转,通过第二螺杆对连接块上施加推力,使得第一夹紧块移动至形成直角的板块再进行焊接,也可将圆管的材料通过圆筒槽贯穿伸入至夹紧机构的内部,通过将限位机构套在夹紧机构的表面,使得滑块在滑板上移动,通过套环上的棘爪和套杆上的棘轮,使得圆管材料固定在底座上进行焊接,完成适用不同形状的材料定位。
2、通过将设置有另一个安装槽的底座设置于桌面,使得设置有其中一个安装槽所谓底座设置于第一螺杆的表面,通过旋转第二调节块,使得第二调节块表面的底座上下移动,使得2个底座之间的距离改变,完成调节工装整体的高度。
附图说明
图1为本实用新型主视结构示意图;
图2为本实用新型剖视结构示意图;
图3为本实用新型俯视结构示意图;
图4为本实用新型限位机构结构示意图;
图5为本实用新型夹紧机构结构示意图。
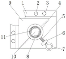
图中:1、底座;2、第一螺杆;3、安装槽;4、连接块;5、第二螺杆;6、固定块;7、第一调节块;8、限位机构;801、套环;802、滑板;803、棘爪;9、第一夹紧块;10、圆筒槽;11、夹紧机构;1101、棘轮;1102、套杆;1103、滑块;1104、第二夹紧块;1105、通孔;1106、弹簧;12、第二调节块。
具体实施方式
下面将结合本实用新型实施例中的附图,对本实用新型实施例中的技术方案进行清楚、完整地描述,显然,所描述的实施例仅仅是本实用新型一部分实施例,而不是全部的实施例。基于本实用新型中的实施例,本领域普通技术人员在没有做出创造性劳动前提下所获得的所有其他实施例,都属于本实用新型保护的范围。
请参阅图1-5,实用新型提供一种技术方案:一种焊接用定位工装,包含底座1、第一螺杆2、安装槽3、连接块4、第二螺杆5、固定块6、第一调节块7、限位机构8、套环801、滑板802、棘爪803、第一夹紧块9、圆筒槽10、夹紧机构11、棘轮1101、套杆1102、滑块1103、第二夹紧块1104、通孔1105、弹簧1106和第二调节块12,底座1上设置有2个安装槽3,且第一螺杆2的下端通过其中一个安装槽3贯穿伸入至另一个安装槽3的内部,第一螺杆2的上端通过底座1的外表面贯穿伸出至第二调节块12上,且2个底座1通过第一螺杆2相连接,底座1的内表面设置有第一夹紧块9的一面,且连接块4的一端贯穿第一夹紧块9的一侧设置,连接块4的一面设置于底座1的内表面,且圆筒槽10通过连接块4的另一面贯穿底座1设置,连接块4的另一面设置有夹紧机构11的一端,且夹紧机构11的表面设置有限位机构8,圆筒槽10一端设置于夹紧机构11的内部,连接块4的另一端设置有第二螺杆5的一端,且第二螺杆5的另一端通过固定块6的一端设置有第一调节块7,固定块6的另一端设置于底座1的内表面,且圆筒槽10设置于固定块6和第一夹紧块9。
底座1的一角贯穿设置有弧槽,且第一夹紧块9的一角贯穿弧槽设置,能便于通过弧槽进行直角板块之间的焊接。
第一螺杆2的表面螺纹连接其中一个安装槽3,且第一螺杆2的底端轴承连接于另一个安装槽3,能便于通过第一螺杆2调节工装的整体高度,使得夹紧效果更好。
第一螺杆2与第二螺杆5的轴线相互交叉,且第二螺杆5设置于2对第一螺杆2之间,能便于第一螺杆2与第二螺杆5之间对不同部件进行调节。
限位机构8包含套环801、滑板802和棘爪803,且套环801通过棘爪803与夹紧机构11相连接,滑板802的一面设置于套环801的内表面,且滑板802的另一面滑动连接有滑块1103,能便于通过限位机构8对夹紧机构11内部的材料固定。
夹紧机构11包含棘轮1101、套杆1102、滑块1103、第二夹紧块1104、通孔1105和弹簧1106,且夹紧机构11通过棘轮1101与限位机构8相连接,套杆1102的表面贯穿棘轮1101设置,且套杆1102的一端设置于连接块4上,套杆1102的另一端贯穿设置有通孔1105,且通孔1105的内表面通过弹簧1106与滑块1103的表面相连接,滑块1103的一端设置有第二夹紧块1104,且滑块1103的另一端滑动连接于滑板802上,能便于通过夹紧机构11上的滑块1103在滑板802上移动,使得适用于多种尺寸的材料焊接。
工作原理:通过将工装整体的高度固定好后,使得第一调节块7旋转带动第二螺杆5旋转,通过第二螺杆5对连接块4上施加推力,使得第一夹紧块9移动至形成直角的板块再进行焊接,也可将圆管的材料通过圆筒槽10贯穿伸入至夹紧机构11的内部,通过将限位机构8套在夹紧机构11的表面,使得滑块1103在滑板802上移动,通过套环801上的棘爪803和套杆1102上的棘轮1101,使得圆管材料固定在底座1上进行焊接,完成适用不同形状的材料定位,在适用不同形状的材料定位时,可通过如下操作实现:
根据图2和图4,通过将工装整体的高度固定好后,使得第一调节块7旋转带动第二螺杆5旋转,使得第二螺杆5对连接块4上施加推力;
将第一夹紧块9移动至形成直角的板块再进行焊接,也可将圆管的材料通过圆筒槽10贯穿伸入至夹紧机构11的内部,通过将限位机构8套在夹紧机构11的表面,使得滑块1103在滑板802上移动;
最后再通过套环801上的棘爪803和套杆1102上的棘轮1101,使得圆管材料固定在底座1上进行焊接,完成适用不同形状的材料定位;
通过如下操作,可实现调节工装整体高度:
根据图2和图3,通过将设置有另一个安装槽3的底座1设置于桌面,使得设置有其中一个安装槽3所谓底座1设置于第一螺杆2的表面,通过旋转第二调节块12,使得第二调节块12表面的底座1上下移动,使得2个底座1之间的距离改变,完成调节工装整体的高度。
尽管已经示出和描述了本实用新型的实施例,对于本领域的普通技术人员而言,可以理解在不脱离本实用新型的原理和精神的情况下可以对这些实施例进行多种变化、修改、替换和变型,本实用新型的范围由所附权利要求及其等同物限定。

Claims (6)

1.一种焊接用定位工装,包含底座(1),其特征在于:所述底座(1)上设置有2个安装槽(3),且第一螺杆(2)的下端通过其中一个安装槽(3)贯穿伸入至另一个安装槽(3)的内部,所述第一螺杆(2)的上端通过底座(1)的外表面贯穿伸出至第二调节块(12)上,且2个底座(1)通过第一螺杆(2)相连接,所述底座(1)的内表面设置有第一夹紧块(9)的一面,且连接块(4)的一端贯穿第一夹紧块(9)的一侧设置,所述连接块(4)的一面设置于底座(1)的内表面,且圆筒槽(10)通过连接块(4)的另一面贯穿底座(1)设置,所述连接块(4)的另一面设置有夹紧机构(11)的一端,且夹紧机构(11)的表面设置有限位机构(8),所述圆筒槽(10)一端设置于夹紧机构(11)的内部,所述连接块(4)的另一端设置有第二螺杆(5)的一端,且第二螺杆(5)的另一端通过固定块(6)的一端设置有第一调节块(7),所述固定块(6)的另一端设置于底座(1)的内表面,且圆筒槽(10)设置于固定块(6)和第一夹紧块(9)。
2.根据权利要求1所述的一种焊接用定位工装,其特征在于:所述底座(1)的一角贯穿设置有弧槽,且第一夹紧块(9)的一角贯穿弧槽设置。
3.根据权利要求1所述的一种焊接用定位工装,其特征在于:所述第一螺杆(2)的表面螺纹连接其中一个安装槽(3),且第一螺杆(2)的底端轴承连接于另一个安装槽(3)。
4.根据权利要求1所述的一种焊接用定位工装,其特征在于:所述第一螺杆(2)与第二螺杆(5)的轴线相互交叉,且第二螺杆(5)设置于2对第一螺杆(2)之间。
5.根据权利要求1所述的一种焊接用定位工装,其特征在于:所述限位机构(8)包含套环(801)、滑板(802)和棘爪(803),且套环(801)通过棘爪(803)与夹紧机构(11)相连接,所述滑板(802)的一面设置于套环(801)的内表面,且滑板(802)的另一面滑动连接有滑块(1103)。
6.根据权利要求1所述的一种焊接用定位工装,其特征在于:所述夹紧机构(11)包含棘轮(1101)、套杆(1102)、滑块(1103)、第二夹紧块(1104)、通孔(1105)和弹簧(1106),且夹紧机构(11)通过棘轮(1101)与限位机构(8)相连接,所述套杆(1102)的表面贯穿棘轮(1101)设置,且套杆(1102)的一端设置于连接块(4)上,所述套杆(1102)的另一端贯穿设置有通孔(1105),且通孔(1105)的内表面通过弹簧(1106)与滑块(1103)的表面相连接,所述滑块(1103)的一端设置有第二夹紧块(1104),且滑块(1103)的另一端滑动连接于滑板(802)上。
CN202120099030.8U 2021-01-14 2021-01-14 一种焊接用定位工装 Expired - Fee Related CN214264539U (zh)

Priority Applications (1)

Application Number Priority Date Filing Date Title
CN202120099030.8U CN214264539U (zh) 2021-01-14 2021-01-14 一种焊接用定位工装

Applications Claiming Priority (1)

Application Number Priority Date Filing Date Title
CN202120099030.8U CN214264539U (zh) 2021-01-14 2021-01-14 一种焊接用定位工装

Publications (1)

Publication Number Publication Date
CN214264539U true CN214264539U (zh) 2021-09-24

Family

ID=77792212

Family Applications (1)

Application Number Title Priority Date Filing Date
CN202120099030.8U Expired - Fee Related CN214264539U (zh) 2021-01-14 2021-01-14 一种焊接用定位工装

Country Status (1)

Country Link
CN (1) CN214264539U (zh)

Similar Documents

Publication Publication Date Title
CN210388156U (zh) 一种可调节的管件自动焊接设备
CN105880741A (zh) 一种阀门加工用刻痕机
CN111571539B (zh) 一种铁制工艺品加工用可调节夹具及其使用方法
CN205733278U (zh) 一种阀门加工用刻痕机
CN213271769U (zh) 一种网页设计布局手绘板支撑架
CN214264539U (zh) 一种焊接用定位工装
CN218254737U (zh) 一种金属工件加工用定位装置
CN216227139U (zh) 一种针对非行进方向的可调节的开槽机构
CN206899073U (zh) 一种机械加工领域的可伸缩治具
CN213079744U (zh) 一种可调压弯角度的金属折弯机
CN210060238U (zh) 一种电气工程自动化焊接机
CN208051271U (zh) 焊接夹具的定位夹紧单元及焊接夹具
CN219649437U (zh) 一种圆形砧板修边装置
CN207756755U (zh) 一种铝基覆铜板压合机
CN214236740U (zh) 一种复合材料用切割组件
CN216614006U (zh) 一种灌装用固定结构
CN214518426U (zh) 一种oled输送平台自动旋转焊接装置
CN109605489A (zh) 一种数控木门四方锯床
CN209774034U (zh) 一种夹头可拆换式万向平口钳
CN222223809U (zh) 一种雕刻机用雕刻机头移动调节装置
CN217433485U (zh) 一种螺帽加工用缝隙焊接设备
CN219465436U (zh) 一种雕刻机装夹机构
CN221792650U (zh) 一种高度可调节的工作台
CN215701008U (zh) 一种压力容器配件加工用定位夹持装置
CN220612536U (zh) 一种方便调节的齿轮生产工装夹具

Legal Events

Date Code Title Description
GR01 Patent grant
GR01 Patent grant
CF01 Termination of patent right due to non-payment of annual fee

Granted publication date: 20210924

CF01 Termination of patent right due to non-payment of annual fee