CN214264015U - 一种工程管道现场打孔防偏移结构 - Google Patents
一种工程管道现场打孔防偏移结构 Download PDFInfo
- Publication number
- CN214264015U CN214264015U CN202023241375.7U CN202023241375U CN214264015U CN 214264015 U CN214264015 U CN 214264015U CN 202023241375 U CN202023241375 U CN 202023241375U CN 214264015 U CN214264015 U CN 214264015U
- Authority
- CN
- China
- Prior art keywords
- block
- pipeline
- engineering pipeline
- workbench
- fixedly connected
- Prior art date
- Legal status (The legal status is an assumption and is not a legal conclusion. Google has not performed a legal analysis and makes no representation as to the accuracy of the status listed.)
- Active
Links
- 238000004080 punching Methods 0.000 claims abstract description 22
- 230000006835 compression Effects 0.000 claims abstract description 20
- 238000007906 compression Methods 0.000 claims abstract description 20
- 230000000149 penetrating effect Effects 0.000 claims description 3
- 230000003993 interaction Effects 0.000 abstract 1
- 230000008878 coupling Effects 0.000 description 4
- 238000010168 coupling process Methods 0.000 description 4
- 238000005859 coupling reaction Methods 0.000 description 4
- 238000009434 installation Methods 0.000 description 3
- 239000007787 solid Substances 0.000 description 3
- 239000000463 material Substances 0.000 description 2
- 238000000034 method Methods 0.000 description 2
- 230000008569 process Effects 0.000 description 2
- 230000004075 alteration Effects 0.000 description 1
- 230000009286 beneficial effect Effects 0.000 description 1
- 238000010276 construction Methods 0.000 description 1
- 230000006872 improvement Effects 0.000 description 1
- 238000010030 laminating Methods 0.000 description 1
- 238000003754 machining Methods 0.000 description 1
- 238000004519 manufacturing process Methods 0.000 description 1
- 238000012986 modification Methods 0.000 description 1
- 230000004048 modification Effects 0.000 description 1
- 230000002265 prevention Effects 0.000 description 1
- 238000006467 substitution reaction Methods 0.000 description 1
Images
Landscapes
- Drilling And Boring (AREA)
Abstract
本实用新型公开了一种工程管道现场打孔防偏移结构,包括打孔机、放置板和工作台,工作台呈中空,其内部设有正反向螺杆,连通块上固定有伸缩杆,连通块底端固定安装有气缸,伸缩杆上端固定设有固定块,固定块两侧固定贴合有固定环,放置板上卡接有移动块,移动块上端固接有限位板,将工程管道放置在放置板上,通过弧形夹块对管道进行夹取,通过拉簧、压缩弹簧和限位杆的相互作用,可以使管道更加稳定的被弧形夹块夹取,通过伺服电机带动正反向螺杆转动,使得固定块在滑槽内反向或同向运动,进而根据不同管材的长度调节固定块的位置,通过气缸使伸缩杆伸缩,固定环向下滑动,实现对管道的固定,再用打孔机对管道进行打孔。
Description
技术领域
本实用新型涉及工程管道打孔技术领域,具体为一种工程管道现场打孔防偏移结构。
背景技术
随着材料生产工艺的完善,日常生活中越来越多的应用到管材工件,在工件加工的过程中,需要用到打孔机对工件进行打孔,但是现有的打孔机在使用的过程中,无法对工件的位置进行固定,导致打孔机在打孔时,工件容易出现偏移,降低了打孔机的实用性,现在的打孔都是在工厂加工完成以后输送到工地上进行安装,但是如果遇到安装孔偏位或是需要增加安装孔时,在输送到工厂打孔就会浪费时间和增加费用,就需要现场进行打孔,现场打孔的过程中需要人为的固定打孔机的位置,操作繁琐,操作难度就会很高,为此我们提出一种工程管道现场打孔防偏移结构用于解决上述问题。
实用新型内容
本实用新型的目的在于提供一种工程管道现场打孔防偏移结构,以解决上述背景技术中提出的问题。
为实现上述目的,本实用新型提供如下技术方案:一种工程管道现场打孔防偏移结构,包括打孔机、放置板和工作台,所述放置板顶部两侧固定安装有两个支撑杆,两个所述支撑杆顶部固定安装有中杆,所述中杆底端中部设有打孔机,所述工作台呈中空,其内部设有正反向螺杆,所述正反向螺杆两端设有限位块,且其中一端向所述工作台外部延伸贯穿连接在伺服电机的输出端,所述正反向螺杆上通过螺纹结构活动连接有连通块,所述连通块上固定有伸缩杆,所述连通块底端固定安装有气缸,所述伸缩杆上端固定设有固定块,所述固定块两侧固定贴合有固定环;
所述放置板上卡接有移动块,所述移动块上端固接有限位板,所述限位板侧面固接在拉簧的一端,所述拉簧的另一端固接有弧形夹块,且所述限位板上端固接有压缩弹簧,所述压缩弹簧上端通过弹簧板固定连接有压缩板。
优选的,所述工作台上端面开设有滑槽,所述固定环贯穿所述滑槽。
优选的,所述固定环上端呈弧形结构,且所述固定环内侧壁上固定贴合有橡胶垫。
优选的,所述限位板上开设有开口,所述放置板贯穿所述开口,且所述开口内壁两侧距离与所述放置板外壁两侧距离相同。
优选的,所述压缩板侧面固定连接有限位杆,所述限位杆另一端滑动连接于限位槽,所述限位槽开设于弧形夹块内。
优选的,所述拉簧和所述压缩弹簧均设置有两个,所述工作台底端四角处设有底座。
与现有技术相比,本实用新型的有益效果是:本实用新型在使用时将工程管道放置在放置板上,通过弧形夹块对管道进行夹取,通过拉簧、压缩弹簧和限位杆的相互作用,可以使管道更加稳定的被弧形夹块夹取,而且适用于不同大小的管道,提高了适用性,通过伺服电机带动正反向螺杆转动,使得固定块在滑槽内反向或同向运动,进而根据不同管材的长度调节固定块的位置,通过气缸使伸缩杆伸缩,固定环向下滑动,适用于不同高度的管道,实现对管道的固定,再用打孔机对管道进行打孔。
附图说明
图1为本实用新型结构示意图;
图2为本实用新型固定装置结构示意图;
图3为本实用新型固定装置局部结构示意图;
图4为本实用新型移动块安装结构示意图;
图5为本实用新型侧面局部结构示意图。
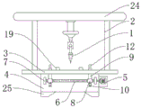
图中:1打孔机、2支撑杆、3放置板、4工作台、5伺服电机、6正反向螺杆、7限位块、8连通块、9伸缩杆、10气缸、11固定块、12固定环、13橡胶垫、14滑槽、15移动块、16开口、17限位板、18拉簧、19弧形夹块、20限位槽、21限位杆、22压缩弹簧、23压缩板、24中杆、25底座。
具体实施方式
下面将结合本实用新型实施例中的附图,对本实用新型实施例中的技术方案进行清楚、完整地描述,显然,所描述的实施例仅仅是本实用新型一部分实施例,而不是全部的实施例。基于本实用新型中的实施例,本领域普通技术人员在没有做出创造性劳动前提下所获得的所有其他实施例,都属于本实用新型保护的范围。
在本实用新型的描述中,需要理解的是,术语“上”、“下”、“顶”、“底”、“内”、“外”、“前”、“后”、“左”、“右”等指示的方位或位置关系为基于附图1所示的方位或位置关系,仅是为了便于描述本实用新型和简化描述,而不是指示或暗示所指的装置或结构必须具有的特定方位、以特定的方位构造和操作,因此不能理解为对本实用新型的限制。
请参阅图1-5,本实用新型提供一种技术方案:一种工程管道现场打孔防偏移结构,包括打孔机1、放置板3和工作台4,放置板3顶部两侧固定安装有两个支撑杆2,两个支撑杆2顶部固定安装有中杆24,中杆24底端中部设有打孔机1,工作台4呈中空,其内部设有正反向螺杆6,正反向螺杆6两端设有限位块7,且其中一端向工作台4外部延伸贯穿连接在伺服电机5的输出端,正反向螺杆6上通过螺纹结构活动连接有连通块8,连通块8上固定有伸缩杆9,连通块8底端固定安装有气缸10,伸缩杆9上端固定设有固定块11,固定块11两侧固定贴合有固定环12;
放置板3上卡接有移动块15,移动块15上端固接有限位板17,限位板17侧面固接在拉簧18的一端,拉簧18的另一端固接有弧形夹块19,且限位板17上端固接有压缩弹簧22,压缩弹簧22上端通过弹簧板固定连接有压缩板23。
工作台4上端面开设有滑槽14,固定环12贯穿滑槽14。
固定环12上端呈弧形结构,且固定环12内侧壁上固定贴合有橡胶垫13。
限位板17上开设有开口16,放置板3贯穿开口16,且开口16内壁两侧距离与放置板3外壁两侧距离相同。
压缩板23侧面固定连接有限位杆21,限位杆21另一端滑动连接于限位槽20,限位槽20开设于弧形夹块19内。
拉簧18和压缩弹簧22均设置有两个,工作台4底端四角处设有底座25。
工作原理:本实用新型在使用时将工程管道放置在放置板3上,通过弧形夹块19对管道进行夹取,通过拉簧18、压缩弹簧22和限位杆21的相互作用,可以使管道更加稳定的被弧形夹块19夹取,而且适用于不同大小的管道,提高了适用性,通过伺服电机5带动正反向螺杆6转动,使得固定块11在滑槽14内反向或同向运动,进而根据不同管材的长度调节固定块的位置,通过气缸10使伸缩杆9伸缩,固定环12向下滑动,适用于不同高度的管道,实现对管道的固定,再用打孔机1对管道进行打孔。
尽管已经示出和描述了本实用新型的实施例,对于本领域的普通技术人员而言,可以理解在不脱离本实用新型的原理和精神的情况下可以对这些实施例进行多种变化、修改、替换和变型,本实用新型的范围由所附权利要求及其等同物限定。
Claims (6)
1.一种工程管道现场打孔防偏移结构,包括打孔机(1)、放置板(3)和工作台(4),其特征在于:所述放置板(3)顶部两侧固定安装有两个支撑杆(2),两个所述支撑杆(2)顶部固定安装有中杆(24),所述中杆(24)底端中部设有打孔机(1),所述工作台(4)呈中空,其内部设有正反向螺杆(6),所述正反向螺杆(6)两端设有限位块(7),且其中一端向所述工作台(4)外部延伸贯穿连接在伺服电机(5)的输出端,所述正反向螺杆(6)上通过螺纹结构活动连接有连通块(8),所述连通块(8)上固定有伸缩杆(9),所述连通块(8)底端固定安装有气缸(10),所述伸缩杆(9)上端固定设有固定块(11),所述固定块(11)两侧固定贴合有固定环(12);
所述放置板(3)上卡接有移动块(15),所述移动块(15)上端固接有限位板(17),所述限位板(17)侧面固接在拉簧(18)的一端,所述拉簧(18)的另一端固接有弧形夹块(19),且所述限位板(17)上端固接有压缩弹簧(22),所述压缩弹簧(22)上端通过弹簧板固定连接有压缩板(23)。
2.根据权利要求1所述的一种工程管道现场打孔防偏移结构,其特征在于:所述工作台(4)上端面开设有滑槽(14),所述固定环(12)贯穿所述滑槽(14)。
3.根据权利要求1所述的一种工程管道现场打孔防偏移结构,其特征在于:所述固定环(12)上端呈弧形结构,且所述固定环(12)内侧壁上固定贴合有橡胶垫(13)。
4.根据权利要求1所述的一种工程管道现场打孔防偏移结构,其特征在于:所述限位板(17)上开设有开口(16),所述放置板(3)贯穿所述开口(16),且所述开口(16)内壁两侧距离与所述放置板(3)外壁两侧距离相同。
5.根据权利要求1所述的一种工程管道现场打孔防偏移结构,其特征在于:所述压缩板(23)侧面固定连接有限位杆(21),所述限位杆(21)另一端滑动连接于限位槽(20),所述限位槽(20)开设于弧形夹块(19)内。
6.根据权利要求1所述的一种工程管道现场打孔防偏移结构,其特征在于:所述拉簧(18)和所述压缩弹簧(22)均设置有两个,所述工作台(4)底端四角处设有底座(25)。
Priority Applications (1)
| Application Number | Priority Date | Filing Date | Title |
|---|---|---|---|
| CN202023241375.7U CN214264015U (zh) | 2020-12-29 | 2020-12-29 | 一种工程管道现场打孔防偏移结构 |
Applications Claiming Priority (1)
| Application Number | Priority Date | Filing Date | Title |
|---|---|---|---|
| CN202023241375.7U CN214264015U (zh) | 2020-12-29 | 2020-12-29 | 一种工程管道现场打孔防偏移结构 |
Publications (1)
| Publication Number | Publication Date |
|---|---|
| CN214264015U true CN214264015U (zh) | 2021-09-24 |
Family
ID=77784130
Family Applications (1)
| Application Number | Title | Priority Date | Filing Date |
|---|---|---|---|
| CN202023241375.7U Active CN214264015U (zh) | 2020-12-29 | 2020-12-29 | 一种工程管道现场打孔防偏移结构 |
Country Status (1)
| Country | Link |
|---|---|
| CN (1) | CN214264015U (zh) |
-
2020
- 2020-12-29 CN CN202023241375.7U patent/CN214264015U/zh active Active
Similar Documents
| Publication | Publication Date | Title |
|---|---|---|
| CN211639138U (zh) | 一种用于方形工件钻中心孔的夹具 | |
| CN210452770U (zh) | 一种自动夹持装置 | |
| CN115138889A (zh) | 一种适用于圆筒型材360°周向加工的钻床 | |
| CN214264015U (zh) | 一种工程管道现场打孔防偏移结构 | |
| CN211465420U (zh) | 一种多功能自动锁紧螺丝机 | |
| CN214518862U (zh) | 一种基于五轴加工中心的发电机端盖加工工装 | |
| CN218136024U (zh) | 一种便于钢构件定位焊接的焊接机 | |
| CN108817457B (zh) | 一种大直径法兰钻孔装置 | |
| CN219254595U (zh) | 一种门框焊接定位工装 | |
| CN216138534U (zh) | 一种机械加工定位夹具 | |
| CN218340753U (zh) | 一种管材加工用专用冲床装置 | |
| CN207593125U (zh) | 一种枪柜框体焊接机器人夹具 | |
| CN213731311U (zh) | 一种用于夹持的工装 | |
| CN215092110U (zh) | 一种通用夹具 | |
| CN210099821U (zh) | 一种多轴传动夹具装置 | |
| CN219665266U (zh) | 一种机械剪板机板料固定装置 | |
| CN213356152U (zh) | 一种型材加工物料翻转输送装置 | |
| CN219336786U (zh) | 一种攻丝机用双轴式移动平台 | |
| CN208437465U (zh) | 一种农机用钣金件冲压、焊接一体式装置 | |
| CN220480313U (zh) | 一种高精密机械零部件打孔装置 | |
| CN213591830U (zh) | 一种加工铁皮用固定夹具 | |
| CN222817756U (zh) | 一种打孔冲压机 | |
| CN221048581U (zh) | 一种带有定位功能的冲孔装置 | |
| CN220050949U (zh) | 用于圆柱零件加工的夹持工装 | |
| CN221363787U (zh) | 一种加工中心快换工装 |
Legal Events
| Date | Code | Title | Description |
|---|---|---|---|
| GR01 | Patent grant | ||
| GR01 | Patent grant |