CN214260235U - Portable mobile infusion stand for medical nursing - Google Patents

Portable mobile infusion stand for medical nursing Download PDF

Info

Publication number
CN214260235U
CN214260235U CN202022795456.5U CN202022795456U CN214260235U CN 214260235 U CN214260235 U CN 214260235U CN 202022795456 U CN202022795456 U CN 202022795456U CN 214260235 U CN214260235 U CN 214260235U
Authority
CN
China
Prior art keywords
clamping
fixing plate
infusion
infusion support
ring
Prior art date
Legal status (The legal status is an assumption and is not a legal conclusion. Google has not performed a legal analysis and makes no representation as to the accuracy of the status listed.)
Expired - Fee Related
Application number
CN202022795456.5U
Other languages
Chinese (zh)
Inventor
钟玲
Current Assignee (The listed assignees may be inaccurate. Google has not performed a legal analysis and makes no representation or warranty as to the accuracy of the list.)
Individual
Original Assignee
Individual
Priority date (The priority date is an assumption and is not a legal conclusion. Google has not performed a legal analysis and makes no representation as to the accuracy of the date listed.)
Filing date
Publication date
Application filed by Individual filed Critical Individual
Priority to CN202022795456.5U priority Critical patent/CN214260235U/en
Application granted granted Critical
Publication of CN214260235U publication Critical patent/CN214260235U/en
Expired - Fee Related legal-status Critical Current
Anticipated expiration legal-status Critical

Links

Images

Landscapes

  • Infusion, Injection, And Reservoir Apparatuses (AREA)
  • Medical Preparation Storing Or Oral Administration Devices (AREA)

Abstract

本实用新型属于输液架技术领域,尤其为一种内科护理用可携带移动输液架,包括支撑柱和夹紧装置,所述支撑柱的中部设置有拉手,所述支撑柱的顶端螺纹连接有输液杆,所述输液杆的表面的四周分别设置有挂柱,四个所述挂柱等间距镜像设置,所述输液杆的中部设置有第一固定板,所述第一固定板的一侧开设有滑槽,所述第一固定板的边侧设置有固定柱,本实用新型通过设置夹紧装置,拉动拉杆,则夹紧环分离,同时带动压缩弹簧运动,将输液瓶放入到第二固定板中,松下拉杆,同时第二夹紧柱对输液瓶进行进一步的夹紧限定,解决了病人在移动输液杆的过程中,输液瓶乱晃动,输液效果不佳的问题。

Figure 202022795456

The utility model belongs to the technical field of infusion stands, in particular to a portable mobile infusion stand for medical nursing, which comprises a support column and a clamping device. There are hanging posts around the surface of the infusion rod, four of the hanging posts are arranged in mirror images at equal intervals, the middle of the infusion rod is provided with a first fixing plate, and one side of the first fixing plate is provided with There is a chute, and the side of the first fixing plate is provided with a fixing column. In the utility model, a clamping device is provided, and the pull rod is pulled, the clamping ring is separated, and at the same time, the compression spring is driven to move, and the infusion bottle is put into the second. In the fixed plate, the lower rod is released, and the second clamping column further clamps and limits the infusion bottle, which solves the problem that the infusion bottle is swaying randomly and the infusion effect is not good when the patient moves the infusion rod.

Figure 202022795456

Description

Portable movable infusion support for medical nursing
Technical Field
The utility model relates to an infusion support technical field specifically is a portability mobile infusion support is used in internal medicine nursing.
Background
The infusion stand is one of indispensable medical facilities in medical units, and is often used in various infusion occasions. At present, a medical infusion support for clinical use is generally composed of an infusion rod and a hook, the infusion rod is supported by a base, a nursing bed or a seat, and other objects, but at present, a patient generally moves through the movable infusion support when moving, so that the problem that an infusion bottle shakes randomly is exposed, and the infusion effect of the patient is influenced.
SUMMERY OF THE UTILITY MODEL
Technical problem to be solved
Not enough to prior art, the utility model provides a portability mobile infusion support for internal medicine nursing has solved the infusion bottle and has rocked in disorder, influences the problem of patient's infusion effect.
The second technical proposal.
In order to achieve the above object, the utility model provides a following technical scheme: a portable movable infusion support for medical nursing comprises a support column and a clamping device, wherein a handle is arranged in the middle of the support column, an infusion rod is in threaded connection with the top end of the support column, hanging columns are respectively arranged on the periphery of the surface of the infusion rod, the four hanging columns are arranged in an equidistant mirror mode, a first fixing plate is arranged in the middle of the infusion rod, a sliding groove is formed in one side of the first fixing plate, a fixing column is arranged on the side of the first fixing plate, the clamping device comprises a first clamping column, a second fixing plate, a supporting block, a second clamping column, a clamping ring, a compression spring, a rubber ring and a pull rod, one end of the first clamping column penetrates through the sliding groove of the first fixing plate, the second fixing plate is arranged at one end, far away from the sliding groove of the first fixing plate, the supporting block is arranged on the upper surface of the second fixing plate, the side of the supporting block is provided with the second clamping column, the middle of the second fixing plate is provided with a circular groove, the number of the clamping rings, the number of the compression springs and the number of the rubber rings are all two, one side of the circular groove in the middle of the second fixing plate is fixedly provided with the clamping rings, and the other side of the circular groove in the middle of the second fixing plate is provided with the clamping rings.
As an optimal technical scheme of the utility model, the clamp ring is the semicircle cyclic annular, two the clamp ring is the mirror image and distributes, the both ends of clamp ring all are provided with compression spring, all be provided with in the clamp ring the rubber ring.
As an optimized technical scheme of the utility model, the one end fixed connection of pull rod is in clamp ring is last, and the other end runs through in the second fixed plate.
As an optimized technical scheme of the utility model, the rubber ring is the semicircle ring-type, and the material is the rubber material.
As a preferred technical scheme of the utility model, the degree of depth of pressing ring is greater than the degree of depth of second fixed plate middle part circular slot, just the degree of depth of pressing ring does the twice of the degree of depth of second fixed plate middle part circular slot.
As an optimal technical scheme of the utility model, the bottom of support column is provided with the base, the bottom of base is provided with the wheel.
(III) advantageous effects
Compared with the prior art, the utility model provides a portability mobile infusion support is used in internal medicine nursing possesses following beneficial effect:
1. this internal medicine is portability for nursing and is removed infusion support, through setting up clamping device, the pulling pull rod then presss from both sides the ring separation, drives compression spring motion simultaneously, puts into the second fixed plate with the infusion bottle, loosens the pull rod, and the second presss from both sides tight post simultaneously and goes on further clamp to the infusion bottle and prescribe a limit to, has solved patient at the in-process that removes infusion pole, and the infusion bottle rocks in disorder, the not good problem of infusion effect.
2. This internal medicine is portability for nursing and is removed infusion support through setting up the rubber ring, the further in-process infusion bottle that has solved clamping device is pressing from both sides tightly skids, unstable problem.
Drawings
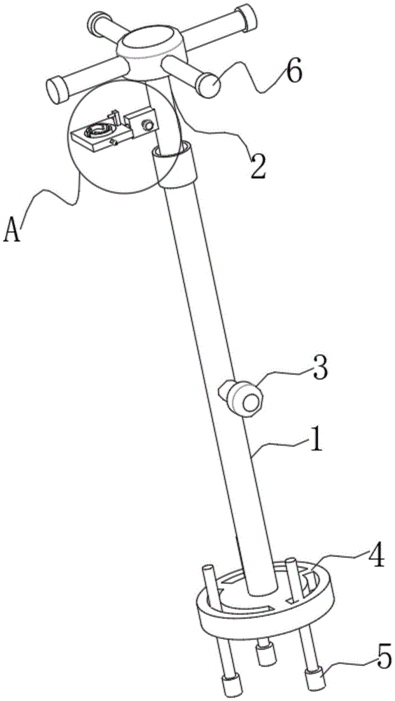
FIG. 1 is a schematic structural view of the present invention;
fig. 2 is a top view of the present invention in fig. 1;
FIG. 3 is an enlarged view of the point A of FIG. 1 according to the present invention;
fig. 4 is a schematic structural view of the structural clamping device of the present invention.
In the figure: 1. a support pillar; 2. a transfusion rod; 3. a handle; 4. a base; 5. a wheel; 6. hanging a column; 7. a first fixing plate; 8. fixing a column; 9. a clamping device; 91. a first clamping post; 92. a second fixing plate; 93. a support block; 94. a second clamping post; 95. a clamping ring; 96. a compression spring; 97. a rubber ring; 98. a pull rod.
Detailed Description
The technical solutions in the embodiments of the present invention will be described clearly and completely with reference to the accompanying drawings in the embodiments of the present invention, and it is obvious that the described embodiments are only some embodiments of the present invention, not all embodiments. Based on the embodiments in the present invention, all other embodiments obtained by a person skilled in the art without creative work belong to the protection scope of the present invention.
Examples
Referring to fig. 1-4, the present invention provides the following technical solutions: a portable movable infusion support for medical nursing comprises a support column 1 and a clamping device 9, wherein a handle 3 is arranged in the middle of the support column 1, an infusion rod 2 is connected to the top end of the support column 1 through threads, hanging columns 6 are respectively arranged on the periphery of the surface of the infusion rod 2, four hanging columns 6 are arranged at equal intervals in a mirror image mode, a first fixing plate 7 is arranged in the middle of the infusion rod 2, a sliding groove is formed in one side of the first fixing plate 7, a fixing column 8 is arranged on the side of the first fixing plate 7, the clamping device 9 comprises a first clamping column 91, a second fixing plate 92, a supporting block 93, a second clamping column 94, a clamping ring 95, a compression spring 96, a rubber ring 97 and a pull rod 98, one end of the first clamping column 91 is arranged in the sliding groove of the first fixing plate 7 in a penetrating mode, a second fixing plate 92 is arranged at one end, far away from the sliding groove of the first fixing plate 7, and a supporting block 93 is arranged on the upper surface of the second fixing plate 92, the avris of supporting shoe 93 is provided with the second and presss from both sides tight post 94, and the circular slot has been seted up in the middle part of second fixed plate 92, and clamp ring 95, compression spring 96, rubber ring 97 all are provided with two, and the fixed clamp ring 95 that is provided with in one side of the circular slot in the middle part of second fixed plate 92, and the opposite side of the circular slot in the middle part of second fixed plate 92 is provided with clamp ring 95.
Specifically, the clamping ring 95 is semicircular, the two clamping rings 95 are distributed in a mirror image manner, the compression springs 96 are arranged at the two ends of the clamping ring 95, and the rubber rings 97 are arranged in the clamping rings 95.
In this embodiment, the rubber ring 97 is provided, so that the clamping device 9 can clamp the infusion bottle more stably.
Specifically, one end of the pull rod 98 is fixedly connected to the clamping ring 95, and the other end thereof penetrates the second fixing plate 92.
In this embodiment, the tension rod 98 is provided to conveniently pull the clamp ring 95.
Specifically, the rubber ring 97 is a semicircular ring and is made of rubber.
In this embodiment, the rubber ring 97 made of rubber material increases the friction force between the infusion bottle and the infusion bottle, and further increases the stability of clamping.
Specifically, the depth of the clamping ring 95 is greater than the depth of the circular groove in the middle of the second fixing plate 92, and the depth of the clamping ring 95 is twice the depth of the circular groove in the middle of the second fixing plate 92.
In this embodiment, the depth of the clamping ring 95 is twice the depth of the circular groove in the middle of the second fixing plate 92, so that the clamping device 9 can clamp infusion bottles of different specifications.
Specifically, the bottom of support column 1 is provided with base 4, and the bottom of base 4 is provided with wheel 5.
In the embodiment, the base 4 and the wheels 5 are arranged, so that the mobility of the infusion support is improved.
The utility model discloses a theory of operation and use flow: when a user fixes an infusion bottle, the fixing column 8 on the first fixing plate 7 is firstly screwed, the clamping device 9 is taken out, the pull rod 98 is pulled to enable the distance between the two clamping rings 95 to be larger than the width of the infusion bottle, the infusion bottle is placed in the middle of the distance, the compression spring 96 generates a recovery elastic force due to being stretched, the pull rod 98 pulled is loosened, the two clamping rings 95 firmly clamp the infusion bottle, the second clamping column 94 on the supporting block 93 plays a further limiting role on the infusion bottle, after clamping is completed, the first clamping column 91 is inserted into the chute of the first fixing plate 7, the fixing column 8 is screwed to fix the clamping device 9 on the infusion rod 2, a coil on the infusion bottle is hung on the hanging column 6, and the processes of clamping the infusion bottle and hanging the infusion bottle are completed.
Finally, it should be noted that: although the present invention has been described in detail with reference to the foregoing embodiments, it will be apparent to those skilled in the art that modifications may be made to the embodiments described in the foregoing embodiments, or equivalents may be substituted for elements thereof. Any modification, equivalent replacement, or improvement made within the spirit and principle of the present invention should be included in the protection scope of the present invention.

Claims (6)

1. The utility model provides a portable movable infusion support is used in internal medicine nursing, includes support column (1) and clamping device (9), its characterized in that: the middle part of support column (1) is provided with handle (3), the top end threaded connection of support column (1) has transfusion rod (2), transfusion rod's (2) surface is provided with around respectively and hangs post (6), four hang post (6) equidistant mirror image setting, the middle part of transfusion rod (2) is provided with first fixed plate (7), the spout has been seted up to one side of first fixed plate (7), the avris of first fixed plate (7) is provided with fixed column (8), clamping device (9) include first press from both sides tight post (91), second fixed plate (92), supporting shoe (93), second press from both sides tight post (94), clamp ring (95), compression spring (96), rubber ring (97), pull rod (98), the one end of first clamp post (91) runs through the setting in the spout of first fixed plate (7), the one end of first clamp post (91) that keeps away from the spout of first fixed plate (7) is provided with the one end of first clamp post (91) is provided with the first clamp post (7) spout The upper surface of the second fixing plate (92) is provided with the supporting block (93), the side of the supporting block (93) is provided with the second clamping column (94), the middle of the second fixing plate (92) is provided with a circular groove, the number of the clamping rings (95), the number of the compression springs (96) and the number of the rubber rings (97) are two, one side of the circular groove in the middle of the second fixing plate (92) is fixedly provided with the clamping rings (95), and the other side of the circular groove in the middle of the second fixing plate (92) is provided with the clamping rings (95).
2. The portable mobile infusion support for medical nursing according to claim 1, wherein the infusion support comprises: the clamping ring (95) is semicircular, the two clamping rings (95) are distributed in a mirror image mode, the compression springs (96) are arranged at the two ends of each clamping ring (95), and the rubber rings (97) are arranged in the clamping rings (95).
3. The portable mobile infusion support for medical nursing according to claim 1, wherein the infusion support comprises: one end of the pull rod (98) is fixedly connected to the clamping ring (95), and the other end of the pull rod penetrates through the second fixing plate (92).
4. The portable mobile infusion support for medical nursing according to claim 1, wherein the infusion support comprises: the rubber ring (97) is semicircular and annular, and is made of rubber.
5. The portable mobile infusion support for medical nursing according to claim 1, wherein the infusion support comprises: the depth of the clamping ring (95) is greater than the depth of the circular groove in the middle of the second fixing plate (92), and the depth of the clamping ring (95) is twice the depth of the circular groove in the middle of the second fixing plate (92).
6. The portable mobile infusion support for medical nursing according to claim 1, wherein the infusion support comprises: the bottom of support column (1) is provided with base (4), the bottom of base (4) is provided with wheel (5).
CN202022795456.5U 2020-11-27 2020-11-27 Portable mobile infusion stand for medical nursing Expired - Fee Related CN214260235U (en)

Priority Applications (1)

Application Number Priority Date Filing Date Title
CN202022795456.5U CN214260235U (en) 2020-11-27 2020-11-27 Portable mobile infusion stand for medical nursing

Applications Claiming Priority (1)

Application Number Priority Date Filing Date Title
CN202022795456.5U CN214260235U (en) 2020-11-27 2020-11-27 Portable mobile infusion stand for medical nursing

Publications (1)

Publication Number Publication Date
CN214260235U true CN214260235U (en) 2021-09-24

Family

ID=77778045

Family Applications (1)

Application Number Title Priority Date Filing Date
CN202022795456.5U Expired - Fee Related CN214260235U (en) 2020-11-27 2020-11-27 Portable mobile infusion stand for medical nursing

Country Status (1)

Country Link
CN (1) CN214260235U (en)

Cited By (1)

* Cited by examiner, † Cited by third party
Publication number Priority date Publication date Assignee Title
CN115779182A (en) * 2022-12-16 2023-03-14 湖州学院 Venous transfusion nursing management device

Cited By (1)

* Cited by examiner, † Cited by third party
Publication number Priority date Publication date Assignee Title
CN115779182A (en) * 2022-12-16 2023-03-14 湖州学院 Venous transfusion nursing management device

Similar Documents

Publication Publication Date Title
CN214260235U (en) Portable mobile infusion stand for medical nursing
CN204521787U (en) A kind of pediatric transfusion rocking chair
CN201030106Y (en) Infusion bottle hanger
CN204147342U (en) A kind of suspension type lifting drip stand
CN214911686U (en) Infusion bag mounted frame convenient to use
CN204864311U (en) Follow -on combination formula removes infusion support
CN212395518U (en) Painful branch of academic or vocational study nursing is with medical infusion support
CN108837222A (en) A kind of infusion crutch device for Portable belt in hospital
CN108042876A (en) A kind of wearable multifunctional transfusion frame body
CN209475279U (en) Infusion bag hook convenient for safely hanging infusion bag
CN219743532U (en) Infusion support convenient to adjust and use
CN107982597B (en) Multifunctional medical infusion support
CN210056968U (en) Anti-shaking overhead infusion support
CN106139297A (en) Multifunctional convenient drip stand
CN220714510U (en) Improved infusion support
CN215385329U (en) A new type of medical nursing bed with adjustable direction infusion stand
CN216365806U (en) Portable easy-to-fix anesthesia nursing frame
CN211705464U (en) Internal medicine infusion support
CN2834575Y (en) Headgear type infusion stand
CN214911654U (en) Multifunctional infusion support
CN210992207U (en) A nursing infusion stand
CN106386996A (en) Fixing device for deeply processing pig trotter meat products
CN222738312U (en) A drip nursing stand
CN206453919U (en) A kind of medical bed for nursing care
CN202724354U (en) Movable infusion support in ward

Legal Events

Date Code Title Description
GR01 Patent grant
GR01 Patent grant
CF01 Termination of patent right due to non-payment of annual fee

Granted publication date: 20210924

CF01 Termination of patent right due to non-payment of annual fee