CN214247944U - High stability fixed knot of diesel oil hydrogenation ware constructs - Google Patents

High stability fixed knot of diesel oil hydrogenation ware constructs Download PDF

Info

Publication number
CN214247944U
CN214247944U CN202023260885.9U CN202023260885U CN214247944U CN 214247944 U CN214247944 U CN 214247944U CN 202023260885 U CN202023260885 U CN 202023260885U CN 214247944 U CN214247944 U CN 214247944U
Authority
CN
China
Prior art keywords
sleeve
bolt
main bolt
fixing
circular
Prior art date
Legal status (The legal status is an assumption and is not a legal conclusion. Google has not performed a legal analysis and makes no representation as to the accuracy of the status listed.)
Expired - Fee Related
Application number
CN202023260885.9U
Other languages
Chinese (zh)
Inventor
陆晓峰
余伟
王晓艳
Current Assignee (The listed assignees may be inaccurate. Google has not performed a legal analysis and makes no representation or warranty as to the accuracy of the list.)
Jiangsu Genate Connection System Co ltd
Original Assignee
Jiangsu Genate Connection System Co ltd
Priority date (The priority date is an assumption and is not a legal conclusion. Google has not performed a legal analysis and makes no representation as to the accuracy of the date listed.)
Filing date
Publication date
Application filed by Jiangsu Genate Connection System Co ltd filed Critical Jiangsu Genate Connection System Co ltd
Priority to CN202023260885.9U priority Critical patent/CN214247944U/en
Application granted granted Critical
Publication of CN214247944U publication Critical patent/CN214247944U/en
Expired - Fee Related legal-status Critical Current
Anticipated expiration legal-status Critical

Links

Images

Landscapes

  • Production Of Liquid Hydrocarbon Mixture For Refining Petroleum (AREA)

Abstract

本实用新型属于柴油加氢反应器配件应用技术领域,具体公开了一种柴油加氢反应器的高稳定性固定结构,包括主螺栓、固定锁紧调节螺母、内螺纹凹槽、辅助螺栓、中空保护套、圆形定位固定套、第二主螺栓连接螺纹孔、若干个半圆形螺纹凹槽、定位杆、限位防脱圈和圆形外螺纹套等。本实用新型的有益效果在于:一方面其设计结构合理,组装时主螺、内螺纹凹槽、辅助螺栓结构,能进行适应性的伸缩调整,可适应多种厚度尺寸的加氢反应器主体法兰与管道法兰的固定连接,解决现有柴油加氢反应器主体法兰与管道法兰之间组装所存在的问题,另一方面固定操作便捷、精准和高效,同时组装后紧固状态稳定,使用寿命长、降低生产成本投入,实用性强。

Figure 202023260885

The utility model belongs to the technical field of diesel hydrogenation reactor accessories application, and specifically discloses a high-stability fixing structure of a diesel hydrogenation reactor, which comprises a main bolt, a fixing locking adjusting nut, an inner thread groove, an auxiliary bolt, a hollow Protective sleeve, circular positioning and fixing sleeve, second main bolt connection threaded hole, several semi-circular threaded grooves, positioning rod, limit anti-drop ring and circular external thread sleeve, etc. The beneficial effects of the utility model are as follows: on the one hand, the design structure is reasonable, the main screw, the internal thread groove and the auxiliary bolt structure can be adjusted in an adaptable expansion and contraction during assembly, and can be adapted to the main body method of the hydrogenation reactor with various thicknesses and sizes. The fixed connection between the flange and the pipeline flange solves the problems existing in the assembly between the main flange of the diesel hydrogenation reactor and the pipeline flange. On the other hand, the fixing operation is convenient, accurate and efficient, and the fastening state after assembly is stable. , Long service life, lower production cost input, and strong practicability.

Figure 202023260885

Description

High stability fixed knot of diesel oil hydrogenation ware constructs
Technical Field
The utility model belongs to the technical field of diesel oil hydrogenation ware accessory is used, concretely relates to diesel oil hydrogenation ware's high stability fixed knot constructs.
Background
During the assembly of diesel hydrogenation ware, in order to realize safe, stable and efficient production and processing operation, need guarantee to be connected reliably between the diesel hydrogenation ware main part after the assembly and the pipeline, do not have the problem that drops, warp promptly, also need be convenient for dismantle simultaneously and accomplish maintenance, and then realize safe production and convenient operation requirement.
Therefore, based on the above problem, the utility model provides a high stability fixed knot of diesel oil hydrogenation ware constructs.
SUMMERY OF THE UTILITY MODEL
Utility model purpose: the utility model aims at providing a high stability fixed knot of diesel oil hydrogenation ware constructs, its project organization is reasonable, solves the problem that the equipment exists between current diesel oil hydrogenation ware main part flange and the pipe flange, realizes accurate and efficient equipment operation after the equipment, and the equipment back fastening state is stable, long service life, guarantees that diesel oil hydrogenation ware main part and pipeline realize safe production operation, and the practicality is strong.
The technical scheme is as follows: the utility model provides a high-stability fixing structure of a diesel hydrogenation reactor, which comprises a main bolt, a fixed locking adjusting nut arranged at one end of the main bolt, an internal thread groove arranged in the end face of one end of the main bolt, an auxiliary bolt connected with the internal thread groove, a hollow protective sleeve arranged at one end of the auxiliary bolt, the internal thread groove and the main bolt connecting face, a polygonal adjusting nut arranged at one end of the hollow protective sleeve, a fixed ring plate arranged on the auxiliary bolt, a first main bolt connecting threaded hole arranged in the fixed ring plate, a circular positioning fixed sleeve arranged on the auxiliary bolt and positioned at the upper part of the fixed ring plate, a second main bolt connecting threaded hole arranged in the circular positioning fixed sleeve, a plurality of semicircular thread grooves arranged on the inner wall of the circular positioning fixed sleeve, and a positioning rod respectively penetrating through the plurality of semicircular thread grooves and connected with one side of the fixed ring plate, the positioning rod is provided with a limiting anti-drop ring at one end and a circular external thread sleeve which is arranged on the outer wall of the positioning rod and is matched with the semicircular thread groove for use, wherein the diameter sizes of the main bolt, the internal thread groove and the auxiliary bolt are sequentially decreased; the diameter size of the fixed ring plate is larger than that of the circular positioning fixed sleeve.
According to the technical scheme, the diameter size of the polygonal adjusting nut is smaller than that of the hollow protective sleeve.
According to the technical scheme, the main bolt and the internal thread groove are of an integrally formed alloy stainless steel structure; the polygonal adjusting nut and the hollow protective sleeve are of an integrally formed alloy stainless steel structure; the fixed ring plate, the first main bolt connecting threaded hole, the positioning rod, the limiting anti-falling ring and the circular external thread sleeve are of an integrally formed alloy stainless steel structure.
Compared with the prior art, the utility model discloses a high stability fixed knot of diesel oil hydrogenation ware constructs lies in: its project organization is reasonable, solves the problem that the equipment exists between current diesel hydrogenation ware main part flange and the pipeline flange, realizes accurate and efficient equipment operation after the equipment, and the equipment back fastening state is stable, long service life, guarantees that diesel hydrogenation ware main part and pipeline realize safe production operation, and the practicality is strong.
Drawings
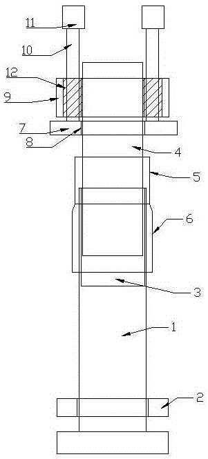
Fig. 1 is a schematic structural view of a cut-away part of a high-stability fixing structure of a diesel hydrogenation reactor of the present invention;
fig. 2 is a schematic view of a top view structure of the circular positioning fixing sleeve, the second main bolt connecting threaded hole and the plurality of semicircular threaded grooves of the high-stability fixing structure of the diesel hydrogenation reactor of the present invention;
fig. 3 is the structure schematic diagram of the positioning rod, the spacing anti-drop ring and the circular external thread sleeve of the high-stability fixing structure of the diesel hydrogenation reactor of the utility model.
Detailed Description
The invention will be further elucidated with reference to the drawings and the specific embodiments.
Examples
As shown in fig. 1, fig. 2 and fig. 3, a high stability fixing structure of a diesel hydrogenation reactor comprises a main bolt 1, a fixing locking adjusting nut 2 arranged at one end of the main bolt 1, an internal thread groove 3 arranged in the end face of one end of the main bolt 1, an auxiliary bolt 4 connected with the internal thread groove 3, a hollow protecting sleeve 6 arranged at the connecting face of the auxiliary bolt 4, the internal thread groove 3 and the main bolt 1, a polygonal adjusting nut 5 arranged at one end of the hollow protecting sleeve 6, a fixing ring plate 7 arranged on the auxiliary bolt 4, a first main bolt connecting threaded hole 8 arranged in the fixing ring plate 7, a circular positioning fixing sleeve 9 arranged on the auxiliary bolt 4 and positioned at the upper part of the fixing ring plate 7, a second main bolt connecting threaded hole 13 arranged in the circular positioning fixing sleeve 9, and a plurality of semicircular threaded grooves 14 arranged on the inner wall of the circular positioning fixing sleeve 9, the positioning rod 10 penetrates through the semicircular thread grooves 14 respectively and is connected with one surface of the fixed ring plate 7, the limiting anti-falling ring 11 is arranged at one end of the positioning rod 10, and the circular external thread sleeve 12 is arranged on the outer wall of the positioning rod 10 and is matched with the semicircular thread grooves 14 for use, wherein the diameter sizes of the main bolt 1, the internal thread grooves 3 and the auxiliary bolts 4 are gradually reduced; the diameter size of the fixed ring plate 7 is larger than that of the circular positioning fixed sleeve 9.
Further preferably, the diameter size of the polygonal adjusting nut 5 is smaller than that of the hollow protecting sleeve 6; the main bolt 1 and the internal thread groove 3 are of an integrally formed alloy stainless steel structure; the polygonal adjusting nut 5 and the hollow protective sleeve 6 are of an integrally formed alloy stainless steel structure; the fixing ring plate 7, the first main bolt connecting threaded hole 8, the positioning rod 10, the limiting anti-dropping ring 11 and the circular external thread sleeve 12 are of an integrally formed alloy stainless steel structure.
The high stability fixed knot of diesel hydrogenation ware of this structure constructs, its project organization is reasonable, solves the problem that the equipment exists between current diesel hydrogenation ware main part flange and the pipeline flange, realizes accurate and efficient equipment operation after the equipment, and the equipment back fastening state is stable, long service life, guarantees that diesel hydrogenation ware main part and pipeline realize safe production operation, and the practicality is strong.
The foregoing is only a preferred embodiment of the present invention, and it should be noted that, for those skilled in the art, a plurality of modifications can be made without departing from the principle of the present invention, and these modifications should also be regarded as the protection scope of the present invention.

Claims (3)

1. The utility model provides a high stability fixed knot of diesel oil hydrogenation ware constructs which characterized in that: comprises a main bolt (1), a fixed locking adjusting nut (2) arranged at one end of the main bolt (1), an internal thread groove (3) arranged in the end face of one end of the main bolt (1), an auxiliary bolt (4) connected with the internal thread groove (3), a hollow protective sleeve (6) arranged on the auxiliary bolt (4), the internal thread groove (3) and the connecting face of the main bolt (1), a polygonal adjusting nut (5) arranged at one end of the hollow protective sleeve (6), a fixed ring plate (7) arranged on the auxiliary bolt (4), a first main bolt connecting threaded hole (8) arranged in the fixed ring plate (7), a circular positioning fixed sleeve (9) arranged on the auxiliary bolt (4) and positioned at the upper part of the fixed ring plate (7), and a second main bolt connecting threaded hole (13) arranged in the circular positioning fixed sleeve (9), the positioning device comprises a circular positioning fixing sleeve (9), a plurality of semicircular thread grooves (14) arranged on the inner wall of the circular positioning fixing sleeve (9), positioning rods (10) which respectively penetrate through the semicircular thread grooves (14) and are connected with one surface of a fixing ring plate (7), a limiting anti-falling ring (11) arranged at one end of each positioning rod (10), and a circular external thread sleeve (12) arranged on the outer wall of each positioning rod (10) and matched with the semicircular thread grooves (14) for use, wherein the diameter sizes of a main bolt (1), an internal thread groove (3) and an auxiliary bolt (4) are sequentially decreased; the diameter of the fixed ring plate (7) is larger than that of the circular positioning fixed sleeve (9).
2. The high-stability fixing structure of the diesel hydrogenation reactor according to claim 1, characterized in that: the diameter size of the polygonal adjusting nut (5) is smaller than that of the hollow protective sleeve (6).
3. The high-stability fixing structure of the diesel hydrogenation reactor according to claim 1, characterized in that: the main bolt (1) and the internal thread groove (3) are of an integrally formed alloy stainless steel structure; the polygonal adjusting nut (5) and the hollow protective sleeve (6) are of an integrally formed alloy stainless steel structure; the fixing ring plate (7), the first main bolt connecting threaded hole (8), the positioning rod (10), the limiting anti-falling ring (11) and the circular external thread sleeve (12) are of an integrally formed alloy stainless steel structure.
CN202023260885.9U 2020-12-30 2020-12-30 High stability fixed knot of diesel oil hydrogenation ware constructs Expired - Fee Related CN214247944U (en)

Priority Applications (1)

Application Number Priority Date Filing Date Title
CN202023260885.9U CN214247944U (en) 2020-12-30 2020-12-30 High stability fixed knot of diesel oil hydrogenation ware constructs

Applications Claiming Priority (1)

Application Number Priority Date Filing Date Title
CN202023260885.9U CN214247944U (en) 2020-12-30 2020-12-30 High stability fixed knot of diesel oil hydrogenation ware constructs

Publications (1)

Publication Number Publication Date
CN214247944U true CN214247944U (en) 2021-09-21

Family

ID=77744368

Family Applications (1)

Application Number Title Priority Date Filing Date
CN202023260885.9U Expired - Fee Related CN214247944U (en) 2020-12-30 2020-12-30 High stability fixed knot of diesel oil hydrogenation ware constructs

Country Status (1)

Country Link
CN (1) CN214247944U (en)

Similar Documents

Publication Publication Date Title
CN204300067U (en) The strong inflation expansion bolt of self-locking superelevation
CN110775434A (en) Anti-deformation device for pipe orifice
CN214247944U (en) High stability fixed knot of diesel oil hydrogenation ware constructs
CN110802364A (en) A device for generating residual compressive stress of welded joints of intersecting pipes
CN209195907U (en) Unilateral bolt
CN111531504A (en) A high-precision gear disassembly device and its use method
CN221761348U (en) Adjustable column formwork fixer
CN205171373U (en) It paces up and down to bury deeply contracts stretch -draw of ground tackle secondary and revolve to twist device subassembly and secondary tensioning equipment thereof
CN117020944A (en) Internal support type clamp for cylindrical grinding of slender thin-wall hard and brittle material pipe fitting
CN214331140U (en) A New Type of Fixture for Aromatic Hydrofining Reactors
CN214199808U (en) Mixed hydrogen oil heat exchanger jacking system
CN216830645U (en) Auxiliary tool for preventing rotation during mounting of screws at top ends of cores
CN214368402U (en) Pushing nut component for boiler feed pump
CN215862363U (en) Thermal insulation anticorrosive layer structure of plastic-sheathed steel heat-preservation pipe
CN112692561B (en) High stability thrustor
CN211103769U (en) Bearing extractor
CN212202779U (en) A New Self-tapping Drilling Combination Bolt
CN211343615U (en) A double-headed expansion screw
CN210587620U (en) Fixing device for vacuum electron beam welding of high-strength steel and aluminum alloy
CN216766539U (en) A fixed threaded steel connection structure
CN220463716U (en) Quick fastening tool for cylinder cover bolt of diesel engine
CN109372862B (en) Expansion bolt suitable for large aperture
CN209398693U (en) An Expansion Bolt Applicable to Large Hole Diameter
CN214368390U (en) Compact multi-pushing pre-tightening device
CN217680207U (en) Ultrahigh aluminum square tube mounting connecting piece

Legal Events

Date Code Title Description
GR01 Patent grant
GR01 Patent grant
CF01 Termination of patent right due to non-payment of annual fee

Granted publication date: 20210921