CN214215797U - Three-axle bogie for track engineering tractor - Google Patents

Three-axle bogie for track engineering tractor Download PDF

Info

Publication number
CN214215797U
CN214215797U CN202120052857.3U CN202120052857U CN214215797U CN 214215797 U CN214215797 U CN 214215797U CN 202120052857 U CN202120052857 U CN 202120052857U CN 214215797 U CN214215797 U CN 214215797U
Authority
CN
China
Prior art keywords
axle
spring
tractor according
bogie
axle bogie
Prior art date
Legal status (The legal status is an assumption and is not a legal conclusion. Google has not performed a legal analysis and makes no representation as to the accuracy of the status listed.)
Withdrawn - After Issue
Application number
CN202120052857.3U
Other languages
Chinese (zh)
Inventor
杨中正
李瑞霞
赵玉明
Current Assignee (The listed assignees may be inaccurate. Google has not performed a legal analysis and makes no representation or warranty as to the accuracy of the list.)
Baoji China Railway Zhonglian Technology Development Co ltd
Original Assignee
Baoji China Railway Zhonglian Technology Development Co ltd
Priority date (The priority date is an assumption and is not a legal conclusion. Google has not performed a legal analysis and makes no representation as to the accuracy of the date listed.)
Filing date
Publication date
Application filed by Baoji China Railway Zhonglian Technology Development Co ltd filed Critical Baoji China Railway Zhonglian Technology Development Co ltd
Priority to CN202120052857.3U priority Critical patent/CN214215797U/en
Application granted granted Critical
Publication of CN214215797U publication Critical patent/CN214215797U/en
Withdrawn - After Issue legal-status Critical Current
Anticipated expiration legal-status Critical

Links

Images

Landscapes

  • Vehicle Body Suspensions (AREA)

Abstract

提供一种轨道工程牵引车用三轴转向架,框架由两根侧梁、两根中梁和端梁组成,两根侧梁上均对称布置有多组用于支撑车体的弹簧滑块式支撑装置,弹簧滑块式支撑装置与设于侧梁底部的侧挡和牵引杆装置形成了对车体的悬挂弹性支撑结构;相邻两组轮对组件中车轴上的车轴齿轮箱通过传动轴连接,实现动力驱动系统驱动下三个车轴齿轮箱的同步转动。本实用新型通过对支撑车体的支撑结构进行改进,在确保工程牵引车低成本和安全性能的前提下,具功率大、粘着重量大,牵引能力大等特点,简单、有效的将弹簧滑块式支撑装置与侧挡和牵引杆装置的组合,使得牵引车具有良好的运行平稳性,制造容易,可用于液传轨道车牵引车或牵引电动机体悬式电传轨道车。

Figure 202120052857

Provides a three-axle bogie for a track engineering tractor, the frame is composed of two side beams, two middle beams and an end beam, and two side beams are symmetrically arranged with a plurality of sets of spring-slider type supporting devices for supporting the car body, springs The slider-type support device forms a suspension elastic support structure for the car body with the side block and the drawbar device located at the bottom of the side beam; the axle gearboxes on the axles in the adjacent two groups of wheelset assemblies are connected by the transmission shaft to realize the power The drive system drives the synchronous rotation of the lower three axle gearboxes. The utility model improves the support structure for supporting the vehicle body, and under the premise of ensuring the low cost and safety performance of the engineering tractor, the utility model has the characteristics of high power, large adhesion weight, large traction capacity, etc. The combination of the type support device, the side block and the drawbar device makes the tractor have good running stability and is easy to manufacture, and can be used for the tractor of the liquid transmission rail car or the traction motor body suspension type electric rail car.

Figure 202120052857

Description

Three-axle bogie for track engineering tractor
Technical Field
The utility model belongs to the technical field of the bogie, concretely relates to track engineering is triaxial bogie for tractor.
Background
At present, in the shunting and small-running transportation of domestic industrial and mining enterprises, ports and marshalling stations, most of used track tractors are two-axle bogies and are limited by the bearing of track lines and the strength of vehicle wheels, axles and bearings, so that the problems of low adhesion weight and low loading power of track engineering tractors exist. At present, the domestic small-running six-shaft shunting locomotive is generally an electric transmission bogie, and each wheel pair shaft is provided with a group of traction motor and an axle gear box, so that the problem of high manufacturing cost exists; meanwhile, the engineering tractor bogie used for towing various passenger cars, trucks and metallurgical vehicles on a standard gauge line, ports, wharfs, marshalling stations and the like has the defects of unreasonable body supporting structure, small turning resistance and incapability of adapting to transverse movement of wheel sets generated by wheel rim guiding action when the vehicles pass through curves, and has potential safety hazards, so that improvement is needed for solving the problems.
SUMMERY OF THE UTILITY MODEL
The utility model provides a technical problem: the utility model provides a track engineering is triaxial bogie for hauler, through improving the bearing structure who is used for supporting the automobile body, adopt symmetrical arrangement to have multiunit spring slider formula strutting arrangement on the framework that is equipped with three sets of wheel pair subassemblies, have characteristics such as power is big, adhesion weight is big, tractive capacity is big, the gyroscopic moment is suitable, the security performance is high, simple, effectual spring slider formula strutting arrangement and the combination of side fender and traction lever device for the tractor has good operating stability, and has characteristics such as with low costs, it is easy to make.
The utility model adopts the technical proposal that: the three-axle bogie for the rail engineering tractor comprises a framework, three sets of wheel pair assemblies and an axle box suspension device, wherein the three sets of wheel pair assemblies and the axle box suspension device are connected to the framework in an adaptive mode; and the axle gear boxes on the axles in the two adjacent sets of wheel pair assemblies are connected through a transmission shaft, so that the power driving system drives the three lower axle gear boxes to synchronously rotate.
The spring block type supporting device comprises springs, rubber pads and an upper spring cover, wherein a plurality of mounting grooves are formed in the upper end faces of the side beams, spring seats are arranged in the mounting grooves, the lower ends of the springs are located on the side beams through the rubber pads arranged in the spring seats, the upper ends of the springs are adapted with the upper spring cover, friction blocks on the top faces of the upper spring cover are in contact with lower seat plates arranged at the bottom of the frame, and the moving range of the friction blocks is limited through side blocking and the combination of draw bar devices hinged with the side blocking.
Furthermore, the spring seat is a waist-shaped ring structure with an opening at the upper end and a bottom sealed at the lower end, a rubber pad is arranged on the inner bottom surface of the spring seat, a spring seat plate is arranged on the upper end surface of the rubber pad, a positioning sleeve on the upper end surface of the spring seat plate is in adaptive connection with the lower end of the spring, and a positioning column in the middle of the lower end surface of the spring seat plate penetrates through the rubber pad and is positioned on the bottom surface of the spring seat.
Furthermore, the friction block is adapted to a positioning groove on the top surface of the upper cover of the spring, and the upper end surface of the friction block protrudes out of the positioning groove and is in contact with the bottom surface of the lower base plate.
Further, the bearings adopted in the bearing boxes at the two ends of the axle in the three sets of wheel pair assemblies are the same, and the transverse clearance I a of the bearings in the bearing boxes at the two ends of the axle in the middle is larger than the transverse clearance II b of the bearings in the bearing boxes at the two ends of the axle.
Further, the first transverse gap a is a distance between the outer end faces of the bearings in the bearing boxes at the two ends of the middle axle and the inner end face of the shaft end retainer ring, and the second transverse gap b is a distance between the outer end faces of the bearings in the bearing boxes at the two ends of the axle and the inner end face of the shaft end retainer ring.
Further, the first transverse gap a is 5-7 mm larger than the second transverse gap b
Further, the power driving system adopts a hydraulic driving system or an electric driving system.
Furthermore, each wheel pair in the three wheel pair assemblies is provided with two unit brakes, and the unit brakes adopt tread braking.
Further, two unit brakes on each set of wheel pairs in the wheel pair assembly at two ends are provided with parking brakes.
The utility model has the advantages compared with the prior art:
1. according to the technical scheme, the supporting structure for supporting the vehicle body is improved, and the spring slider type supporting devices are symmetrically arranged on the two side beams, so that the vehicle has the characteristics of proper turning moment and high safety performance;
2. the technical scheme is simple and effective in combining the spring slider type supporting device with the side block and the traction rod device, so that the tractor has good running stability;
3. the spring block type supporting device adopts a structure that the lower end of a spring is located on a side beam through a rubber pad arranged in a spring seat, and the upper end of the spring is in contact with a lower seat plate arranged at the bottom of a vehicle frame through a friction block on the top surfaces of an upper spring cover and an upper spring cover, so that the vehicle generates a turning moment through the relative movement of the friction block and the lower seat plate through a curve, and the safety and reliability of the vehicle operation are improved;
4. in the technical scheme, a transverse clearance a of the bearings in the bearing boxes at the two ends of the axle in the middle is larger than a transverse clearance b of the bearings in the bearing boxes at the two ends of the axle so as to adapt to the transverse movement of a wheel pair generated by the guiding action of a wheel rim on a curve;
5. the technical scheme adopts the power wheel pair consisting of the three wheel pair assemblies, increases the vertical bearing capacity of the bogie, synchronously operates the three axle gear boxes, increases the loading power of the track engineering tractor, has the characteristics of high power, heavy adhesive weight, high traction capacity and the like, adopts a hydraulic driving system or an electric driving system as a power driving system for driving the three wheel pair assemblies to synchronously rotate, and is low in cost and convenient to popularize and apply.
Drawings
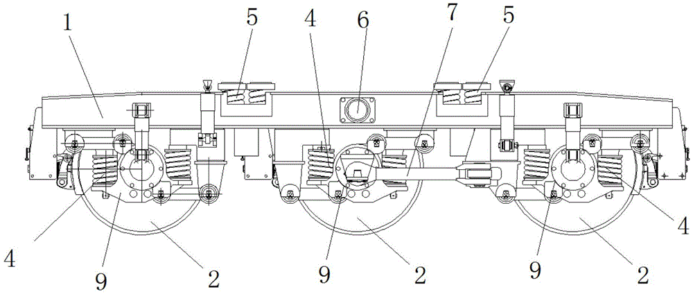
FIG. 1 is a front view of the structure of the present invention;
FIG. 2 is a top view of the present invention;
FIG. 3 is a schematic structural view of the spring slider type supporting device of the present invention;
FIG. 4 is a cross-sectional view of the bearing boxes at the two ends of the axle in the middle of the present invention;
fig. 5 is a cross-sectional view of the axle both-end bearing housing of the present invention.
Detailed Description
An embodiment of the present invention will be described in conjunction with fig. 1-5 to clearly and completely describe the technical solution, and it is obvious that the described embodiment is only a part of the embodiment of the present invention, not the whole embodiment.
In the description of the present invention, it is to be understood that the terms "upper", "lower", "front", "rear", "left", "right", "top", "bottom", "inner", "outer", and the like indicate orientations or positional relationships based on the orientations or positional relationships shown in the drawings, and are only for convenience of description and simplicity of description, but do not indicate or imply that the device or element being referred to must have a particular orientation, be constructed and operated in a particular orientation, and therefore, should not be construed as limiting the present invention.
The three-axle bogie for the rail engineering tractor comprises a framework 1, three sets of wheel pair assemblies 2 and an axle box suspension device 4, wherein the three sets of wheel pair assemblies 2 are adaptively connected to the framework 1, the framework 1 consists of two side beams 1-1, two middle beams 1-2 arranged between the two side beams 1-1 and end beams 1-3 arranged at two end parts of the two side beams 1-1, a plurality of sets of spring slider type supporting devices 5 for supporting a tractor body are symmetrically arranged on the two side beams 1-1, and the spring slider type supporting devices 5, side stops 6 arranged at the bottoms of the side beams 1-1 and a traction rod device 7 form a suspension elastic supporting structure for the tractor body; the axle gear boxes 8 on the axles in the two adjacent sets of wheel pair assemblies 2 are connected through the transmission shaft 3, so that the power driving system drives the three lower axle gear boxes 8 to synchronously rotate; in the structure, the support structure for supporting the vehicle body is improved, a plurality of groups of spring slider type support devices 5 are symmetrically arranged on the two side beams 1-1, the slewing moment is appropriate, and the safety performance is high;
as shown in fig. 3, the specific structure of the spring-slider type supporting device 5 is as follows: the spring block type supporting device 5 comprises a spring 5-1, rubber pads 5-2 and an upper spring cover 5-3, a plurality of mounting grooves 1-4 are formed in the upper end face of each of the two side beams 1-1, spring seats 5-4 are arranged in the mounting grooves 1-4, the lower ends of the springs 5-1 are located on the side beams 1-1 through the rubber pads 5-2 arranged in the spring seats 5-4, the upper end of the spring 5-1 is provided with the upper spring cover 5-3 in a matching manner, friction blocks 5-9 on the top face of the upper spring cover 5-3 are in contact with a lower seat plate 5-5 arranged at the bottom of the frame, and the moving range of the friction blocks 5-9 is limited through a side block 6 and a traction rod device 7 hinged with the side block 6; specifically, the spring seat 5-4 is a waist-shaped ring structure with an opening at the upper end and a bottom sealed at the lower end, a rubber pad 5-2 is arranged on the bottom surface of the spring seat 5-4, a spring seat plate 5-6 is arranged on the upper end surface of the rubber pad 5-2, a positioning sleeve 5-7 on the upper end surface of the spring seat plate 5-6 is in adaptive connection with the lower end of the spring 5-1, and a positioning column 5-8 in the middle of the lower end surface of the spring seat plate 5-6 penetrates through the rubber pad 5-2 to be positioned on the bottom surface of the spring seat 5-4; specifically, the friction blocks 5-9 are adapted to the positioning grooves 5-10 on the top surface of the upper spring cover 5-3, and the upper end surfaces of the friction blocks 5-9 are arranged to protrude out of the positioning grooves 5-10 and are in contact with the bottom surface of the lower seat plate 5-5; in the structure, the spring slide block type supporting device 5 adopts a structure that the lower end of a spring 5-1 is located on a side beam 1-1 through a rubber pad 5-2 arranged in a spring seat 5-4, and the upper end of the spring 5-1 is contacted with a lower seat plate 5-5 arranged at the bottom of a vehicle frame through an upper spring cover 5-3 and a friction block 5-9 on the top surface of the upper spring cover 5-3, so that the vehicle generates a rotary moment through the relative movement of the friction block and the lower seat plate through a curve, and the safety and the reliability of the vehicle operation are improved;
in order to accommodate the lateral movement of the vehicle through the wheel set caused by the rim guiding action on the curve, as shown in fig. 4-5, the following structure is adopted: the bearings 10 adopted in the bearing boxes 9 at the two ends of the axle in the three sets of wheel pair assemblies 2 are the same, and the transverse clearance A of the bearings 10 in the bearing boxes 9 at the two ends of the axle in the middle is larger than the transverse clearance B of the bearings 10 in the bearing boxes 9 at the two ends of the axle; specifically, the first transverse gap a is the distance between the outer end faces of the bearings 10 in the bearing boxes 9 at the two ends of the middle axle and the inner end face of the shaft end retainer ring 11, and the second transverse gap b is the distance between the outer end faces of the bearings 10 in the bearing boxes 9 at the two ends of the axle and the inner end face of the shaft end retainer ring 11; specifically, the first transverse gap a is 5-7 mm larger than the second transverse gap b
The power driving system adopts a hydraulic driving system or an electric driving system, adopts a power wheel pair consisting of three wheel pair assemblies 2, increases the vertical bearing capacity of the bogie, and increases the loading power of the track engineering tractor by synchronously operating three axle gear boxes 8; the power driving system for driving the three sets of wheel pair assemblies 2 to synchronously rotate adopts a hydraulic driving system or an electric driving system, so that the cost is low and the popularization and the application are convenient; specifically, each wheel pair in the three sets of wheel pair assemblies 2 is provided with two unit brakes 12, and the unit brakes 12 are braked by treads; specifically, two unit brakes 12 on each wheel set in the wheel set assembly 2 at two ends are provided with parking brakes.
The above-mentioned embodiments are merely preferred embodiments of the present invention, and not intended to limit the scope of the present invention, so that all equivalent changes made by the contents of the claims of the present invention should be included in the scope of the claims of the present invention.

Claims (10)

1. Three-axle bogie for rail engineering tractor comprises a framework (1), three sets of wheel sets (2) and axle box suspension devices (4) which are connected to the framework (1) in an adaptive manner, and is characterized in that: the frame (1) consists of two side beams (1-1), two middle beams (1-2) arranged between the two side beams (1-1) and end beams (1-3) arranged at two ends of the two side beams (1-1), a plurality of groups of spring slider type supporting devices (5) for supporting a vehicle body are symmetrically arranged on the two side beams (1-1), and the spring slider type supporting devices (5), side baffles (6) arranged at the bottoms of the side beams (1-1) and a draw bar device (7) form a suspension elastic supporting structure for the vehicle body; and the axle gear boxes (8) on the axles in the two adjacent sets of wheel pair assemblies (2) are connected through the transmission shaft (3), so that the power driving system drives the three lower axle gear boxes (8) to synchronously rotate.
2. The three-axle bogie for a railway engineering tractor according to claim 1, characterized in that: the spring slide block type supporting device (5) comprises springs (5-1), rubber pads (5-2) and spring upper covers (5-3), a plurality of mounting grooves (1-4) are formed in the upper end faces of the two side beams (1-1), a spring seat (5-4) is arranged in the mounting groove (1-4), the lower ends of the plurality of springs (5-1) are located on the side beam (1-1) through a rubber pad (5-2) arranged in the spring seat (5-4), the upper end of the spring (5-1) is adapted with an upper spring cover (5-3), a friction block (5-9) on the top surface of the upper spring cover (5-3) is contacted with a lower seat plate (5-5) arranged at the bottom of the frame, and the moving range of the friction blocks (5-9) is limited by the combination of the side stop (6) and the draw bar device (7) hinged with the side stop (6).
3. The three-axle bogie for a railway engineering tractor according to claim 2, characterized in that: the spring seat (5-4) is of a waist-shaped ring structure with an opening at the upper end and a sealed bottom at the lower end, a rubber pad (5-2) is arranged on the bottom surface of the spring seat (5-4), a spring seat plate (5-6) is arranged on the upper end surface of the rubber pad (5-2), a positioning sleeve (5-7) on the upper end surface of the spring seat plate (5-6) is in adaptive connection with the lower end of the spring (5-1), and a positioning column (5-8) in the middle of the lower end surface of the spring seat plate (5-6) penetrates through the rubber pad (5-2) and is positioned on the bottom surface of the spring seat (5-4).
4. The three-axle bogie for a railway engineering tractor according to claim 2, characterized in that: the friction blocks (5-9) are matched in the positioning grooves (5-10) on the top surface of the upper spring cover (5-3), and the upper end surfaces of the friction blocks (5-9) are arranged to protrude out of the positioning grooves (5-10) and are in contact with the bottom surface of the lower seat plate (5-5).
5. The three-axle bogie for a railway engineering tractor according to claim 1, characterized in that: the three sets of wheel pair assemblies (2) are characterized in that bearings (10) adopted in bearing boxes (9) at two ends of an axle are identical, and a first transverse gap (a) of the bearings (10) in the bearing boxes (9) at two ends of the axle is larger than a second transverse gap (b) of the bearings (10) in the bearing boxes (9) at two ends of the axle.
6. The three-axle bogie for a railway engineering tractor according to claim 5, wherein: the transverse gap I (a) is the distance between the outer end faces of the inner bearings (10) of the bearing boxes (9) at the two ends of the middle axle and the inner end face of the shaft end retainer ring (11), and the transverse gap II (b) is the distance between the outer end faces of the inner bearings (10) of the bearing boxes (9) at the two ends of the axle and the inner end face of the shaft end retainer ring (11).
7. Three-axle bogie for a rail-bound tractor according to claim 5 or 6, characterized in that: the first transverse gap (a) is 5-7 mm larger than the second transverse gap (b).
8. The three-axle bogie for a rail-bound work tractor according to any of claims 1-6, wherein: the power driving system adopts a hydraulic driving system or an electric driving system.
9. The three-axle bogie for a railway engineering tractor according to claim 8, wherein: each wheel pair in the three wheel pair assemblies (2) is provided with two unit brakes (12), and the unit brakes (12) adopt tread braking.
10. The three-axle bogie for a railway engineering tractor according to claim 9, wherein: two unit brakes (12) on each wheel set in the wheel set assembly (2) at two ends are provided with parking brakes.
CN202120052857.3U 2021-01-11 2021-01-11 Three-axle bogie for track engineering tractor Withdrawn - After Issue CN214215797U (en)

Priority Applications (1)

Application Number Priority Date Filing Date Title
CN202120052857.3U CN214215797U (en) 2021-01-11 2021-01-11 Three-axle bogie for track engineering tractor

Applications Claiming Priority (1)

Application Number Priority Date Filing Date Title
CN202120052857.3U CN214215797U (en) 2021-01-11 2021-01-11 Three-axle bogie for track engineering tractor

Publications (1)

Publication Number Publication Date
CN214215797U true CN214215797U (en) 2021-09-17

Family

ID=77709348

Family Applications (1)

Application Number Title Priority Date Filing Date
CN202120052857.3U Withdrawn - After Issue CN214215797U (en) 2021-01-11 2021-01-11 Three-axle bogie for track engineering tractor

Country Status (1)

Country Link
CN (1) CN214215797U (en)

Cited By (1)

* Cited by examiner, † Cited by third party
Publication number Priority date Publication date Assignee Title
CN112622967A (en) * 2021-01-11 2021-04-09 宝鸡中铁中联科技发展有限公司 Three-axle bogie for track engineering tractor

Cited By (2)

* Cited by examiner, † Cited by third party
Publication number Priority date Publication date Assignee Title
CN112622967A (en) * 2021-01-11 2021-04-09 宝鸡中铁中联科技发展有限公司 Three-axle bogie for track engineering tractor
CN112622967B (en) * 2021-01-11 2025-02-21 宝鸡中铁中联科技发展有限公司 Three-axle bogie for railway engineering tractor

Similar Documents

Publication Publication Date Title
CN204978684U (en) Single track train power truck of a formula is striden to diaxon
CN201249778Y (en) Double-shaft power truck for a partial low-floor light rail trolleybus
CN1317152C (en) Magnetic suspension track inspection railcar chassis with floated steering system
CN101857033B (en) 80km/h speed class B-type subway vehicle bogie
CN1309608C (en) Magnetic suspension rail inspection vehicle chassis with guide wheel system
CN107187460A (en) A kind of single-axle bogie of the Straddle type monorail vehicle of use pivoted arm axle box
CN102530005A (en) Four-shaft locomotive steering frame arranged under shaft box
CN106274956A (en) A kind of rail vehicle bogie of centrepin transmission
CN201144373Y (en) Special five-axle side bearing loading bogie for railroad bridge girder erection and track-laying machine
CN214215797U (en) Three-axle bogie for track engineering tractor
CN206012603U (en) A kind of rail vehicle bogie of centrepin transmission
CN107139958B (en) Bogie of flaw detection vehicle for freight heavy haul railway
CN210707410U (en) Bogie and rail vehicle
CN202320310U (en) Motor car of narrow-rail electric locomotive
CN111546883A (en) Dual-purpose eight-drive traction locomotive for rail and road and traction method
CN201092324Y (en) Non-bolster air spring narrow gage passenger car steering rack
CN214874072U (en) Guiding device for driving class II chassis on track
CN213109319U (en) Electric transmission bogie for track engineering vehicle and track engineering vehicle
CN109941299B (en) A mobile grounding device for railway trucks
CN210310364U (en) Single axle bogie
CN112622967A (en) Three-axle bogie for track engineering tractor
CN209833270U (en) Three-drive-mode road-rail dual-purpose vehicle
CN201670246U (en) 80 km/h speed class B-type subway vehicle bogie
CN217598572U (en) Double-shaft single-rail bogie
CN2375534Y (en) Integral structural welded bogie for railway wagon

Legal Events

Date Code Title Description
GR01 Patent grant
GR01 Patent grant
AV01 Patent right actively abandoned
AV01 Patent right actively abandoned
AV01 Patent right actively abandoned

Granted publication date: 20210917

Effective date of abandoning: 20250221

AV01 Patent right actively abandoned

Granted publication date: 20210917

Effective date of abandoning: 20250221