CN214204301U - A switch cabinet with better dust-proof and heat-dissipating performance - Google Patents

A switch cabinet with better dust-proof and heat-dissipating performance Download PDF

Info

Publication number
CN214204301U
CN214204301U CN202023073236.8U CN202023073236U CN214204301U CN 214204301 U CN214204301 U CN 214204301U CN 202023073236 U CN202023073236 U CN 202023073236U CN 214204301 U CN214204301 U CN 214204301U
Authority
CN
China
Prior art keywords
fixedly connected
cabinet body
cabinet
air inlet
filter plate
Prior art date
Legal status (The legal status is an assumption and is not a legal conclusion. Google has not performed a legal analysis and makes no representation as to the accuracy of the status listed.)
Expired - Fee Related
Application number
CN202023073236.8U
Other languages
Chinese (zh)
Inventor
俞文明
俞达飞
Current Assignee (The listed assignees may be inaccurate. Google has not performed a legal analysis and makes no representation or warranty as to the accuracy of the list.)
CHANGSHU CHANGYUAN TRANSFORMER CO LTD
Original Assignee
CHANGSHU CHANGYUAN TRANSFORMER CO LTD
Priority date (The priority date is an assumption and is not a legal conclusion. Google has not performed a legal analysis and makes no representation as to the accuracy of the date listed.)
Filing date
Publication date
Application filed by CHANGSHU CHANGYUAN TRANSFORMER CO LTD filed Critical CHANGSHU CHANGYUAN TRANSFORMER CO LTD
Priority to CN202023073236.8U priority Critical patent/CN214204301U/en
Application granted granted Critical
Publication of CN214204301U publication Critical patent/CN214204301U/en
Expired - Fee Related legal-status Critical Current
Anticipated expiration legal-status Critical

Links

Images

Landscapes

  • Cooling Or The Like Of Electrical Apparatus (AREA)

Abstract

本实用新型公开了一种防尘散热性能较好的开关柜,包括柜体,所述柜体的上表面中间位置固定连接有进风口,所述进风口的内部活动连接有过滤板,所述过滤板的内部中间位置固定连接有亚克力层,所述过滤板的内部靠近亚克力层的上表面位置固定连接有芳纶层,所述过滤板的内部靠近亚克力层的下表面表面位置固定连接有涤纶层,所述柜体的内部靠近进风口的下端位置固定连接有进风管,本实用新型的防尘散热性能较好的开关柜通过两组风机可以使风流可穿过各个内部电子元件,能对电子元件运行中产生的热量进行及时的吹散,提高了开关柜的散热性能,通过设置除尘机构和过滤板可以避免灰尘进入到柜体内而影响电器元件的工作。

Figure 202023073236

The utility model discloses a switch cabinet with good dust-proof and heat-dissipating performance, which comprises a cabinet body, an air inlet is fixedly connected in the middle position of the upper surface of the cabinet body, a filter plate is movably connected inside the air inlet, and the An acrylic layer is fixedly connected to the inner middle position of the filter plate, an aramid layer is fixedly connected to the inside of the filter plate close to the upper surface of the acrylic layer, and a polyester fiber is fixedly connected to the inner surface of the filter plate close to the lower surface of the acrylic layer. The inside of the cabinet is fixedly connected with an air inlet pipe at the lower end of the cabinet close to the air inlet. The switch cabinet with better dust-proof and heat dissipation performance of the present invention can make the air flow pass through each internal electronic component through two sets of fans. The heat generated during the operation of the electronic components is blown away in time, which improves the heat dissipation performance of the switch cabinet. By setting the dust removal mechanism and the filter plate, dust can be prevented from entering the cabinet and affecting the work of the electrical components.

Figure 202023073236

Description

Dustproof switch cabinet with good heat dissipation performance
Technical Field
The utility model relates to a cubical switchboard technical field especially relates to a cubical switchboard that dustproof heat dispersion is better.
Background
The switch cabinet is a power device with a large volume, and a plurality of controllers and control circuits are usually arranged in the switch cabinet, and can generate a large amount of heat in the actual working process, and the temperature in the switch cabinet can be increased due to the large accumulation of heat, so that the normal work of the switch cabinet is influenced. In order to give off the heat in time, the cabinet body of the switch cabinet is generally provided with heat dissipation holes, and in the actual use process, external dust and flies easily enter the switch through the heat dissipation holes, so that the internal cleanness of the switch cabinet can be influenced, and the normal operation of the switch cabinet can be influenced sometimes.
At present, the current most ventilation cooling effect of cubical switchboard of selling is poor in the market, leads to the inside electrical elements of cubical switchboard to be in under the environment of high fever for a long time, thereby damages easily and makes the life of cubical switchboard shorten, has the potential safety hazard, all does not have better clearance measure to accumulation rather than inside dust, and the shock attenuation effect is also not good.
SUMMERY OF THE UTILITY MODEL
Not enough to prior art, the utility model provides a better cubical switchboard of dustproof heat dispersion has solved the problem that appears in the above-mentioned background.
In order to achieve the above purpose, the utility model adopts the following technical scheme:
a switch cabinet with better dustproof and heat dissipation performance comprises a cabinet body, wherein an air inlet is fixedly connected to the middle position of the upper surface of the cabinet body, a filter plate is movably connected to the inner part of the air inlet, an acrylic layer is fixedly connected to the middle position of the inner part of the filter plate, an aramid layer is fixedly connected to the position, close to the upper surface of the acrylic layer, of the inner part of the filter plate, a polyester layer is fixedly connected to the position, close to the lower surface of the acrylic layer, of the inner part of the cabinet body, an air inlet pipe is fixedly connected to the position, close to the lower end of the air inlet, of the inner part of the cabinet body, fans are fixedly connected to the positions, close to the two sides of the lower surface of the air inlet pipe, air outlet pipes are fixedly connected to the inner surfaces of the bottom and the two sides of the cabinet body, a damping spring is fixedly connected to the lower end of the cabinet body, supporting plates are fixedly installed at the positions of the two ends of the damping spring, and an exhaust fan is fixedly connected to the position of one side of the cabinet body, the cabinet body is kept away from to the air exhauster one side position fixedly connected with dust removal mechanism, one side position fixedly connected with fixed plate that the lower surface of dust removal mechanism is close to the cabinet body, the external fixed surface of tuber pipe has seted up the exhaust vent.
Preferably, the number of fans is two sets of, two sets of the fans are evenly distributed at two ends of the lower surface of the air inlet pipe, and the number of the air outlet holes is a plurality of sets.
Preferably, the number of the damping springs and the number of the supporting plates are a plurality of groups, and the damping springs and the supporting plates are uniformly distributed on the lower surface of the cabinet body.
Preferably, the aramid fiber layer is the aramid fiber material, the acryl layer is the acryl material, the dacron layer is the dacron material.
Preferably, one side of the cabinet body is movably connected with a cabinet door, one side of the cabinet door is fixedly connected with a hinge, and the periphery of the outer surface of the cabinet door is fixedly connected with sealing gaskets.
Preferably, the clamping plates are fixedly connected to two sides of the inner surface of the air inlet, the limiting plate is fixedly connected to one end, close to the cabinet body, of each clamping plate, clamping grooves are fixedly connected to two sides of the filter plate, and the clamping grooves are in sliding connection with the clamping plates.
Compared with the prior art, the beneficial effects of the utility model are that:
1. according to the switch cabinet with the good dustproof heat dissipation performance, the two groups of fans are arranged to be matched with each other, so that air flow can pass through each internal electronic element, heat generated in the operation of the electronic elements can be blown away in time, the normal operation of the switch cabinet is guaranteed, and the heat dissipation performance of the switch cabinet is improved;
2. this better cubical switchboard of dustproof heat dispersion can avoid the dust to enter into the cabinet internal and influence electrical components's work through setting up dust removal mechanism and filter to electrical components's life has been improved, and the time of installation and dismantlement can be shortened greatly through the convenient to detach's that draw-in groove, cardboard and limiting plate constitute jointly installation mechanism.
To sum up, the utility model discloses a better cubical switchboard of dustproof heat dispersion can improve the heat dispersion of cubical switchboard, can avoid the dust to enter into the cabinet internal and influence electrical components's work to electrical components's life has been improved.
Drawings
FIG. 1 is a front view of the structure of the present invention;
FIG. 2 is a schematic view of the surface structure of the air outlet pipe of the present invention;
FIG. 3 is a schematic view of the cabinet door structure of the present invention;
FIG. 4 is a schematic diagram of the structure of the filter plate of the present invention;
fig. 5 is a schematic view of the structure of the mounting mechanism of the present invention.
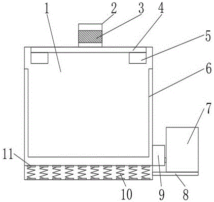
In the figure: the cabinet body 1, 2 air intakes, 3 filter, 4 air-supply lines, 5 fans, 6 play tuber pipes, 7 dust removal mechanisms, 8 fixed plates, 9 air blowers, 10 damping springs, 11 supporting plates, 12 exhaust vents, 13 cabinet doors, 14 hinges, 15 sealing gaskets, 16 aramid fiber layers, 17 acrylic layers, 18 polyester layers, 19 clamping grooves, 20 clamping plates and 21 limiting plates.
Detailed Description
The technical solutions in the embodiments of the present invention will be described clearly and completely with reference to the accompanying drawings in the embodiments of the present invention, and it is obvious that the described embodiments are only some embodiments of the present invention, not all embodiments. Based on the embodiments in the present invention, all other embodiments obtained by a person skilled in the art without creative work belong to the protection scope of the present invention.
The first embodiment is as follows:
referring to fig. 1-4, a switch cabinet with better dust-proof and heat-dissipating performance comprises a cabinet body 1, an air inlet 2 is fixedly connected to the middle position of the upper surface of the cabinet body 1, a filter plate 3 is movably connected to the inside of the air inlet 2, the filter plate 3 can play a good filtering effect, an acrylic layer 17 is fixedly connected to the middle position of the inside of the filter plate 3, an aramid layer 16 is fixedly connected to the position of the inside of the filter plate 3 close to the upper surface of the acrylic layer 17, a polyester layer 18 is fixedly connected to the position of the inside of the filter plate 3 close to the lower surface of the acrylic layer 17, an air inlet pipe 4 is fixedly connected to the position of the inside of the cabinet body 1 close to the lower end of the air inlet 2, fans 5 are fixedly connected to the positions of the two sides of the inside of the cabinet body 1 close to the lower surface of the air inlet pipe, the lower extreme fixedly connected with damping spring 10 of the cabinet body 1, damping spring 10 can play good shock attenuation effect, the equal fixed mounting in both ends position of damping spring 10 has backup pad 11, one side position fixedly connected with air exhauster 9 of the cabinet body 1, one side position fixedly connected with dust removal mechanism 7 of the cabinet body 1 is kept away from to air exhauster 9, one side position fixedly connected with fixed plate 8 of the cabinet body 1 is close to the lower surface of dust removal mechanism 7, exhaust vent 12 has been seted up to the external fixed surface of tuber pipe 6.
Wherein, the quantity of fan 5 is two sets ofly, and two sets of fan 5 evenly distributed are in the lower surface both ends position of air-supply line 4, and the quantity of exhaust vent 12 is a plurality of groups.
Wherein, the quantity of damping spring 10 and backup pad 11 is a plurality of groups, and a plurality of groups of damping spring 10 and backup pad 11 evenly distributed are in the lower surface position of cabinet body 1.
Wherein, aramid fiber layer 16 is the aramid fiber material, and ya keli layer 17 is ya keli material, and dacron layer 18 is the dacron material.
Wherein, one side of the cabinet body 1 is movably connected with a cabinet door 13, one side of the cabinet door 13 is fixedly connected with a hinge 14, and the periphery of the outer surface of the cabinet door 13 is fixedly connected with a sealing gasket 15.
Example two:
referring to fig. 1-5, a switch cabinet with better dust-proof and heat-dissipating performance comprises a cabinet body 1, an air inlet 2 is fixedly connected to the middle position of the upper surface of the cabinet body 1, a filter plate 3 is movably connected to the inside of the air inlet 2, the filter plate 3 can play a good filtering effect, an acrylic layer 17 is fixedly connected to the middle position of the inside of the filter plate 3, an aramid layer 16 is fixedly connected to the position of the inside of the filter plate 3 close to the upper surface of the acrylic layer 17, a polyester layer 18 is fixedly connected to the position of the inside of the filter plate 3 close to the lower surface of the acrylic layer 17, an air inlet pipe 4 is fixedly connected to the inside of the cabinet body 1 close to the lower end of the air inlet 2, fans 5 are fixedly connected to the positions of the two sides of the inside of the cabinet body 1 close to the lower surface of the air inlet pipe 4, the fans 5 can continuously cool the elements in the cabinet body 1, and air outlet pipes 6 are fixedly connected to the inner surfaces of the bottom and the two sides of the cabinet body 1, the lower extreme fixedly connected with damping spring 10 of the cabinet body 1, damping spring 10 can play good shock attenuation effect, the equal fixed mounting in both ends position of damping spring 10 has backup pad 11, one side position fixedly connected with air exhauster 9 of the cabinet body 1, one side position fixedly connected with dust removal mechanism 7 of the cabinet body 1 is kept away from to air exhauster 9, one side position fixedly connected with fixed plate 8 of the cabinet body 1 is close to the lower surface of dust removal mechanism 7, exhaust vent 12 has been seted up to the external fixed surface of tuber pipe 6.
Wherein, the quantity of fan 5 is two sets ofly, and two sets of fan 5 evenly distributed are in the lower surface both ends position of air-supply line 4, and the quantity of exhaust vent 12 is a plurality of groups.
Wherein, the quantity of damping spring 10 and backup pad 11 is a plurality of groups, and a plurality of groups of damping spring 10 and backup pad 11 evenly distributed are in the lower surface position of cabinet body 1.
Wherein, aramid fiber layer 16 is the aramid fiber material, and ya keli layer 17 is ya keli material, and dacron layer 18 is the dacron material.
Wherein, one side of the cabinet body 1 is movably connected with a cabinet door 13, one side of the cabinet door 13 is fixedly connected with a hinge 14, and the periphery of the outer surface of the cabinet door 13 is fixedly connected with a sealing gasket 15.
Wherein, the equal fixedly connected with cardboard 20 in internal surface both sides of air intake 2, the one end position fixedly connected with limiting plate 21 of the cabinet body 1 that is close to of cardboard 20, the equal fixedly connected with draw-in groove 19 in both sides position of filter 3, draw-in groove 19 and cardboard 20 sliding connection.
The working principle is as follows: when in use, the fans 5 arranged at the two sides of the air inlet pipe 4 are started, the fans 5 can blow heat generated in the operation of the electronic elements in time, the normal operation of the switch cabinet is ensured, the heat dissipation performance of the switch cabinet is improved, when air is sucked through the air inlet 2 by the fan 5, most of dust and impurities can be filtered by the filter plate 3 arranged in the air inlet 2, the exhaust fan 9 and the dust removing mechanism 7 are started, the exhaust fan 9 performs dust removing work by sucking the dust in the cabinet body 1 into the dust removing mechanism 7 through the air outlet pipe 6, when shaking, the damping spring 10 arranged at the bottom of the cabinet body 1 can play a good damping effect, when the filter plate 3 is installed, the clamping grooves 19 arranged at the two sides of the filter plate 3 are aligned with the clamping plates 20 arranged at the two sides inside the air inlet 2, after the alignment, the filter plate 3 is pushed slightly to slide downwards, and when the lower surface of the filter plate 3 touches the limiting plate 21, the filter plate can slide downwards.
It is noted that, herein, relational terms such as first and second, and the like may be used solely to distinguish one entity or action from another entity or action without necessarily requiring or implying any actual such relationship or order between such entities or actions. Also, the terms "comprises," "comprising," or any other variation thereof, are intended to cover a non-exclusive inclusion, such that a process, method, article, or apparatus that comprises a list of elements does not include only those elements but may include other elements not expressly listed or inherent to such process, method, article, or apparatus.
Although embodiments of the present invention have been shown and described, it will be appreciated by those skilled in the art that changes, modifications, substitutions and alterations can be made in these embodiments without departing from the principles and spirit of the invention, the scope of which is defined in the appended claims and their equivalents.

Claims (6)

1. The switch cabinet with the good dustproof heat dissipation performance comprises a cabinet body (1) and is characterized in that an air inlet (2) is fixedly connected to the middle position of the upper surface of the cabinet body (1), a filter plate (3) is movably connected to the inside of the air inlet (2), a gram force layer (17) is fixedly connected to the middle position of the inside of the filter plate (3), an aramid fiber layer (16) is fixedly connected to the position, close to the upper surface of the gram force layer (17), of the inside of the filter plate (3), a polyester fiber layer (18) is fixedly connected to the position, close to the lower surface of the gram force layer (17), of the inside of the cabinet body (1), an air inlet pipe (4) is fixedly connected to the position, close to the two sides of the lower surface of the air inlet pipe (4), of the inside of the cabinet body (1), and fans (5) are fixedly connected to the positions on the two sides of the lower surface of the air inlet pipe (4), the utility model discloses a cabinet, including the cabinet body, the bottom of the cabinet body (1) and the equal fixedly connected with air-out pipe (6) of both sides internal surface, the lower extreme fixedly connected with damping spring (10) of the cabinet body (1), the equal fixed mounting in both ends position of damping spring (10) has backup pad (11), one side position fixedly connected with air exhauster (9) of the cabinet body (1), one side position fixedly connected with dust removal mechanism (7) of the cabinet body (1) are kept away from in air exhauster (9), one side position fixedly connected with fixed plate (8) that the lower surface of dust removal mechanism (7) is close to the cabinet body (1), air outlet (12) have been seted up to the external fixed surface of air-out pipe (6).
2. The switch cabinet with the dust prevention and the heat dissipation performance better according to claim 1, characterized in that the number of the fans (5) is two, the two groups of the fans (5) are uniformly distributed at two ends of the lower surface of the air inlet pipe (4), and the number of the air outlet holes (12) is several groups.
3. The switch cabinet with the better dustproof heat dissipation performance according to claim 1, wherein the number of the damping springs (10) and the number of the supporting plates (11) are a plurality of groups, and the plurality of groups of the damping springs (10) and the supporting plates (11) are uniformly distributed on the lower surface of the cabinet body (1).
4. The switch cabinet with the dust prevention and the heat dissipation performance being good according to claim 1, characterized in that the aramid layer (16) is made of aramid, the acrylic layer (17) is made of acrylic, and the polyester layer (18) is made of polyester.
5. The switch cabinet with the better dustproof heat dissipation performance according to claim 1, characterized in that one side of the cabinet body (1) is movably connected with a cabinet door (13), one side of the cabinet door (13) is fixedly connected with a hinge (14), and the periphery of the outer surface of the cabinet door (13) is fixedly connected with sealing gaskets (15).
6. The switch cabinet with good dust-proof heat dissipation performance according to claim 1, wherein clamping plates (20) are fixedly connected to both sides of the inner surface of the air inlet (2), a limiting plate (21) is fixedly connected to one end of each clamping plate (20) close to the cabinet body (1), clamping grooves (19) are fixedly connected to both sides of the filter plate (3), and the clamping grooves (19) are slidably connected with the clamping plates (20).
CN202023073236.8U 2020-12-18 2020-12-18 A switch cabinet with better dust-proof and heat-dissipating performance Expired - Fee Related CN214204301U (en)

Priority Applications (1)

Application Number Priority Date Filing Date Title
CN202023073236.8U CN214204301U (en) 2020-12-18 2020-12-18 A switch cabinet with better dust-proof and heat-dissipating performance

Applications Claiming Priority (1)

Application Number Priority Date Filing Date Title
CN202023073236.8U CN214204301U (en) 2020-12-18 2020-12-18 A switch cabinet with better dust-proof and heat-dissipating performance

Publications (1)

Publication Number Publication Date
CN214204301U true CN214204301U (en) 2021-09-14

Family

ID=77654083

Family Applications (1)

Application Number Title Priority Date Filing Date
CN202023073236.8U Expired - Fee Related CN214204301U (en) 2020-12-18 2020-12-18 A switch cabinet with better dust-proof and heat-dissipating performance

Country Status (1)

Country Link
CN (1) CN214204301U (en)

Similar Documents

Publication Publication Date Title
CN209625121U (en) Automatic heat dissipation and dust removal device for computer case
CN112058798A (en) A device for automatically cleaning dust installed in a computer host
CN209356994U (en) A kind of computer cabinet improving heat dissipation effect
CN206039393U (en) Dustproof dampproofing computer machine case
CN112286318B (en) Dust removal device for automatically removing dust in computer case
CN214204301U (en) A switch cabinet with better dust-proof and heat-dissipating performance
CN106533134A (en) Self-sealing heat radiation frequency converter cabinet
CN206147481U (en) A dust-proof and heat-dissipating computer
CN211428619U (en) Dustproof power distribution cabinet
CN209803711U (en) A dust-proof chassis with good cooling effect
CN206039392U (en) Computer intelligence dust removal damp -proof installation
CN208175159U (en) A kind of equipment installs case of the electronic communication with damping effect
CN203552164U (en) Notebook computer heat radiation system with dust removing function
CN207752421U (en) A kind of pullable computer hardware interface with dustproof cover
CN208752529U (en) A kind of dust-proof radiating computer host box
CN218096266U (en) Air purification equipment for air conditioner
CN210776445U (en) A dust-proof computer case
CN204440287U (en) Dustproof heat dissipation cabinet
CN208112026U (en) A distribution box for a construction site
CN223362591U (en) Computer power supply with dust-proof structure
CN217213635U (en) A computer-aided heat dissipation and dustproof integrated device
CN221748813U (en) A server cabinet drawer base
CN209120559U (en) A kind of radiating dustproof mechanism for electronic component
CN112020256A (en) Integrated control box for electronic product
CN107132887A (en) A kind of Computer Case Dust Keeper

Legal Events

Date Code Title Description
GR01 Patent grant
GR01 Patent grant
CF01 Termination of patent right due to non-payment of annual fee

Granted publication date: 20210914

CF01 Termination of patent right due to non-payment of annual fee