CN214204116U - Connect stable switch connection terminal - Google Patents

Connect stable switch connection terminal Download PDF

Info

Publication number
CN214204116U
CN214204116U CN202120037614.2U CN202120037614U CN214204116U CN 214204116 U CN214204116 U CN 214204116U CN 202120037614 U CN202120037614 U CN 202120037614U CN 214204116 U CN214204116 U CN 214204116U
Authority
CN
China
Prior art keywords
switch
wire
connecting screw
wiring hole
inner chamber
Prior art date
Legal status (The legal status is an assumption and is not a legal conclusion. Google has not performed a legal analysis and makes no representation as to the accuracy of the status listed.)
Expired - Fee Related
Application number
CN202120037614.2U
Other languages
Chinese (zh)
Inventor
王旭旵
Current Assignee (The listed assignees may be inaccurate. Google has not performed a legal analysis and makes no representation or warranty as to the accuracy of the list.)
Suzhou Songle Electronic Technology Co ltd
Original Assignee
Suzhou Songle Electronic Technology Co ltd
Priority date (The priority date is an assumption and is not a legal conclusion. Google has not performed a legal analysis and makes no representation as to the accuracy of the date listed.)
Filing date
Publication date
Application filed by Suzhou Songle Electronic Technology Co ltd filed Critical Suzhou Songle Electronic Technology Co ltd
Priority to CN202120037614.2U priority Critical patent/CN214204116U/en
Application granted granted Critical
Publication of CN214204116U publication Critical patent/CN214204116U/en
Expired - Fee Related legal-status Critical Current
Anticipated expiration legal-status Critical

Links

Images

Landscapes

  • Switch Cases, Indication, And Locking (AREA)

Abstract

本实用新型公开了一种连接稳定的开关接线座,包括外壳和导线,所述外壳内腔的背表面固定连接有开关主板,所述开关主板顶部的两侧均开设有接线孔,所述接线孔内腔后侧的底部开设有凹槽,所述凹槽内腔的背表面固定连接有导电片,所述开关主板正表面顶部的两侧且位于接线孔的正前方贯穿设置有第一连接螺丝。本实用新型通过外壳、开关主板、导电片、接线孔、凹槽、引线孔、第一连接螺丝、螺纹孔、挤压块、第二连接螺丝、导线和内螺纹的配合使用,解决了现有的开关接线座对导线连接时稳定性较差,当导线受到外力作用的情况下很可能发生脱落,进而会导致电路发生短路,影响用电设备的正常运行,且重新接入又费时费力的问题。

Figure 202120037614

The utility model discloses a switch wiring seat with stable connection, which comprises a casing and a wire. A switch mainboard is fixedly connected to the back surface of the inner cavity of the casing. Wiring holes are provided on both sides of the top of the switch mainboard. A groove is formed at the bottom of the rear side of the cavity of the hole, the back surface of the cavity of the groove is fixedly connected with a conductive sheet, and the two sides of the top of the front surface of the switch mainboard and located in front of the wiring hole are provided with a first connection. screw. The utility model solves the problem of the existing The switch socket has poor stability when it is connected to the wire. When the wire is subjected to external force, it is likely to fall off, which will lead to a short circuit in the circuit, affecting the normal operation of the electrical equipment, and the problem of time-consuming and laborious reconnection. .

Figure 202120037614

Description

Connect stable switch connection terminal
Technical Field
The utility model relates to a switch connection terminal technical field specifically is a connect stable switch connection terminal.
Background
The socket is also called a power socket or a switch socket, and the socket is a socket into which one or more circuit wiring can be inserted, various wiring can be inserted through the socket, so that the socket is convenient to be connected with other circuits, and the connection and disconnection between a circuit and a copper piece are realized to finally achieve the connection and disconnection of the partial circuit.
The stability is relatively poor when current switch wire holder is connected the wire, receives to take place to drop very likely under the condition of exogenic action when the wire, and then can lead to the circuit to take place the short circuit, influences the normal operating of consumer, and inserts again and waste time and energy.
SUMMERY OF THE UTILITY MODEL
An object of the utility model is to provide a connect stable switch connection terminal possesses and connects stable advantage, and it is relatively poor to have solved current switch connection terminal and connect the time stability to the wire, receives likely to take place to drop under the condition of exogenic action when the wire, and then can lead to the circuit to take place the short circuit, influences the normal operating of consumer, and inserts again and waste time and energy's problem again.
In order to achieve the above object, the utility model provides a following technical scheme: the utility model provides a connect stable switch connection terminal, includes shell and wire, shell cavity's back of the body fixedly connected with switch mainboard, the wiring hole has all been seted up to the both sides at switch mainboard top, the bottom of wiring hole inner chamber rear side is seted up flutedly, the back of the body fixedly connected with conducting strip of recess inner chamber, the both sides at switch mainboard positive surface top just are located the dead ahead in wiring hole and run through and are provided with first connecting screw, the rear side of first connecting screw runs through to the inner chamber and the fixedly connected with extrusion piece in wiring hole, the top of wiring hole inner chamber is run through and is provided with the second connecting screw, the inner chamber in wiring hole is provided with the wire.
Preferably, through holes are formed in four corners of the front surface of the switch main board, fastening screws penetrate through the inner cavities of the through holes, and the rear sides of the fastening screws penetrate through the switch main board and are in threaded connection with the back surface of the inner cavity of the shell.
Preferably, the four corners of the back surface of the inner cavity of the shell are provided with mounting holes, and the two sides of the top of the shell and the positions right above the wiring holes are provided with lead holes.
Preferably, threaded holes matched with first connecting screws are formed in the two sides of the top of the front surface of the switch main board and in front of the wiring holes, and the surface of each first connecting screw is in threaded connection with an inner cavity of each threaded hole.
Preferably, the top of the inner cavity of the wiring hole is provided with an internal thread matched with a second connecting screw in a surrounding manner, and the surface of the second connecting screw is in threaded connection with the internal thread.
Compared with the prior art, the beneficial effects of the utility model are as follows:
1. the utility model discloses a shell, the switch mainboard, the conducting strip, the wiring hole, a groove, the pin hole, first connecting screw, the screw hole, the extrusion piece, the second connecting screw, wire and internal screw-thread cooperation are used, possess and connect stable advantage, it is relatively poor to have solved current switch connection terminal when connecting the wire, it drops probably to take place under the condition that the wire received exogenic action, and then can lead to the circuit to take place the short circuit, influence the normal operating of consumer, and insert again and waste time and energy the problem.
2. The utility model discloses a use of mounting hole can install the shell, through the use of fastening screw and through-hole, can install the switch mainboard in the shell, through the use of extrusion piece, can go into the recess with the wire card in, realize spacing to one time of wire, through the use of second connecting screw, can with the wire card at the top of first connecting screw, realize spacing to the secondary of wire, through the use of pin hole, can draw the wire to the shell outside.
Drawings
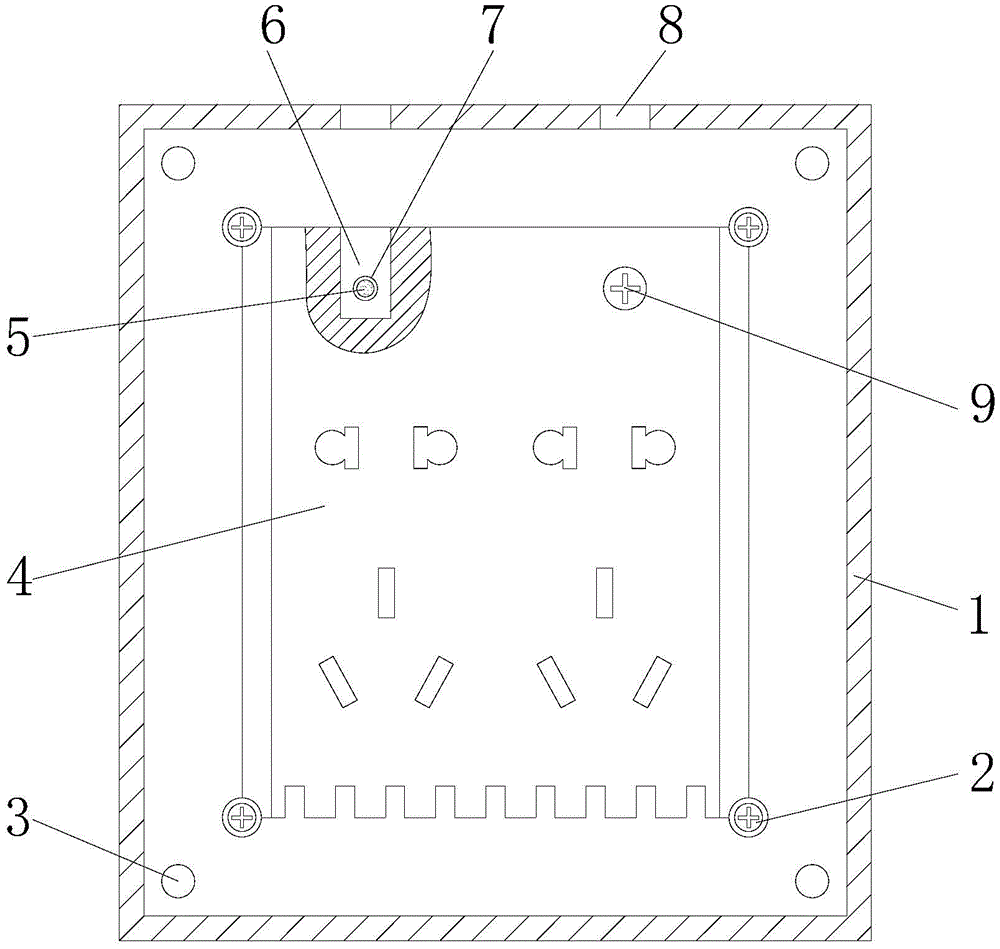
FIG. 1 is a schematic structural view of the present invention;
FIG. 2 is a top cross-sectional view of the left wiring hole of the present invention;
fig. 3 is the utility model discloses left side wiring hole left side cut-away view block diagram.
In the figure: the circuit board comprises a shell 1, fastening screws 2, mounting holes 3, a switch main board 4, a conducting plate 5, wiring holes 6, a groove 7, a lead hole 8, a first connecting screw 9, a threaded hole 10, an extrusion block 11, a second connecting screw 12, a lead 13 and internal threads 14.
Detailed Description
The technical solutions in the embodiments of the present invention will be described clearly and completely with reference to the accompanying drawings in the embodiments of the present invention, and it is obvious that the described embodiments are only some embodiments of the present invention, not all embodiments. Based on the embodiments in the present invention, all other embodiments obtained by a person skilled in the art without creative work belong to the protection scope of the present invention.
In the description of the present invention, it should be noted that the terms "upper", "lower", "inner", "outer", "front end", "rear end", "both ends", "one end", "the other end", and the like indicate orientations or positional relationships based on the orientations or positional relationships shown in the drawings, and are only for convenience of description and simplification of description, but do not indicate or imply that the device or element to be referred must have a specific orientation, be constructed in a specific orientation, and be operated, and thus, should not be construed as limiting the present invention. Furthermore, the terms "first" and "second" are used for descriptive purposes only and are not to be construed as indicating or implying relative importance.
In the description of the present invention, it is to be noted that, unless otherwise explicitly specified or limited, the terms "mounted", "provided", "connected", and the like are to be construed broadly, such as "connected", which may be fixedly connected, detachably connected, or integrally connected; can be mechanically or electrically connected; they may be connected directly or indirectly through intervening media, or they may be interconnected between two elements. The specific meaning of the above terms in the present invention can be understood in specific cases to those skilled in the art.
Referring to fig. 1-3, a switch wire holder with stable connection comprises a housing 1 and wires 13, wherein a switch main board 4 is fixedly connected to the back surface of the inner cavity of the housing 1, wire connection holes 6 are formed in both sides of the top of the switch main board 4, a groove 7 is formed in the bottom of the rear side of the inner cavity of each wire connection hole 6, a conductive sheet 5 is fixedly connected to the back surface of the inner cavity of the groove 7, first connection screws 9 are arranged on both sides of the top of the front surface of the switch main board 4 and in front of the wire connection holes 6 in a penetrating manner, the rear sides of the first connection screws 9 penetrate into the inner cavity of the wire connection holes 6 and are fixedly connected with extrusion blocks 11, the wires 13 can be clamped into the grooves 7 through the use of the extrusion blocks 11 to realize one-time limit of the wires 13, second connection screws 12 are arranged on the top of the inner cavity of the wire connection holes 6 in a penetrating manner, the use of the second connection screws 12 to clamp the wires 13 on the top of the first connection screws 9, the secondary limiting of the lead 13 is realized, and the lead 13 is arranged in the inner cavity of the wiring hole 6;
through holes are formed in four corners of the front surface of the switch main board 4, fastening screws 2 penetrate through the inner cavities of the through holes, the rear sides of the fastening screws 2 penetrate through the switch main board 4 and are in threaded connection with the back surface of the inner cavity of the shell 1, and the switch main board 4 can be installed in the shell 1 through the fastening screws 2 and the through holes;
mounting holes 3 are formed in four corners of the back surface of an inner cavity of the shell 1, the shell 1 can be mounted through the mounting holes 3, lead holes 8 are formed in two sides of the top of the shell 1 and located right above the wiring holes 6, and the wires 13 can be led out of the shell 1 through the use of the lead holes 8;
threaded holes 10 matched with first connecting screws 9 are formed in the two sides of the top of the front surface of the switch main board 4 and in front of the wiring holes 6, and the surface of each first connecting screw 9 is in threaded connection with an inner cavity of each threaded hole 10;
the top of the inner cavity of the wiring hole 6 is provided with an internal thread 14 matched with the second connecting screw 12 in use in a surrounding way, and the surface of the second connecting screw 12 is in threaded connection with the internal thread 14;
through shell 1, switch mainboard 4, conducting strip 5, wiring hole 6, recess 7, pin hole 8, first connecting screw 9, screw hole 10, extrusion piece 11, second connecting screw 12, wire 13 and internal thread 14's cooperation is used, possess and connect stable advantage, it is relatively poor to have solved current switch connection terminal when connecting wire 13, it drops probably to take place under the condition that wire 13 receives exogenic action, and then can lead to the circuit to take place the short circuit, influence consumer's normal operating, and the problem that again inserts and waste time and energy.
During the use, penetrate shell 1 with wire 13 in through pin hole 8, and stretch into the bottom of wiring hole 6 inner chamber, then rotate first connecting screw 9, make it drive extrusion piece 11 rearward movement, and then extrude wire 13 backward to contact with conducting strip 5 in the recess 7, the realization is spacing for the first time to wire 13, then pass second connecting screw 12 in wiring hole 6, make wire 13 be located the bottom of second connecting screw 12, and rotate second connecting screw 12, make it drive wire 13 downstream under the effect of internal thread 14, until wire 13 and the top contact of first connecting screw 9, the realization is spacing for the second time to wire 13.
In summary, the following steps: this connect stable switch connection terminal, through shell 1, switch mainboard 4, conducting strip 5, wiring hole 6, recess 7, pin hole 8, first connecting screw 9, screw hole 10, extrusion piece 11, second connecting screw 12, wire 13 and internal thread 14's cooperation is used, it is relatively poor to have solved current switch connection terminal when connecting wire 13, it drops probably to take place under the condition that wire 13 receives exogenic action, and then can lead to the circuit to take place the short circuit, influence consumer's normal operating, and the problem that again inserts and waste time and energy.
Although embodiments of the present invention have been shown and described, it will be appreciated by those skilled in the art that changes, modifications, substitutions and alterations can be made in these embodiments without departing from the principles and spirit of the invention, the scope of which is defined in the appended claims and their equivalents.

Claims (5)

1. A connect stable switch connection terminal, includes shell (1) and wire (13), its characterized in that: the back of body fixedly connected with switch mainboard (4) of shell (1) inner chamber, wiring hole (6) have all been seted up to the both sides at switch mainboard (4) top, the bottom of wiring hole (6) inner chamber rear side is seted up fluted (7), the back of body fixedly connected with conducting strip (5) of recess (7) inner chamber, the both sides at switch mainboard (4) positive surface top just are located the dead ahead of wiring hole (6) and run through and are provided with first connecting screw (9), the rear side of first connecting screw (9) runs through to the inner chamber and the fixedly connected with extrusion piece (11) of wiring hole (6), the top of wiring hole (6) inner chamber is run through and is provided with second connecting screw (12), the inner chamber of wiring hole (6) is provided with wire (13).
2. A connection-stabilized switch wire holder according to claim 1, characterized in that: the four corners on the front surface of the switch main board (4) are provided with through holes, the inner cavities of the through holes are provided with fastening screws (2) in a penetrating mode, and the rear sides of the fastening screws (2) penetrate through the switch main board (4) and are in threaded connection with the back surface of the inner cavity of the shell (1).
3. A connection-stabilized switch wire holder according to claim 1, characterized in that: mounting holes (3) have all been seted up in the four corners on the back surface of shell (1) inner chamber, lead wire hole (8) have all been seted up to the both sides at shell (1) top and be located wiring hole (6) directly over.
4. A connection-stabilized switch wire holder according to claim 1, characterized in that: the switch mainboard (4) is just located the dead ahead in wiring hole (6) and is seted up screw hole (10) that use with first connecting screw (9) cooperation in the both sides at positive surface top, the surface of first connecting screw (9) and the inner chamber threaded connection of screw hole (10).
5. A connection-stabilized switch wire holder according to claim 1, characterized in that: the top of the inner cavity of the wiring hole (6) is surrounded by an internal thread (14) matched with a second connecting screw (12) for use, and the surface of the second connecting screw (12) is in threaded connection with the internal thread (14).
CN202120037614.2U 2021-01-07 2021-01-07 Connect stable switch connection terminal Expired - Fee Related CN214204116U (en)

Priority Applications (1)

Application Number Priority Date Filing Date Title
CN202120037614.2U CN214204116U (en) 2021-01-07 2021-01-07 Connect stable switch connection terminal

Applications Claiming Priority (1)

Application Number Priority Date Filing Date Title
CN202120037614.2U CN214204116U (en) 2021-01-07 2021-01-07 Connect stable switch connection terminal

Publications (1)

Publication Number Publication Date
CN214204116U true CN214204116U (en) 2021-09-14

Family

ID=77634211

Family Applications (1)

Application Number Title Priority Date Filing Date
CN202120037614.2U Expired - Fee Related CN214204116U (en) 2021-01-07 2021-01-07 Connect stable switch connection terminal

Country Status (1)

Country Link
CN (1) CN214204116U (en)

Similar Documents

Publication Publication Date Title
CN204597047U (en) A kind of pin connector based on TYPE-C
CN218586485U (en) Screw socket connector
CN214204116U (en) Connect stable switch connection terminal
CN209592529U (en) A quick change connector
CN217509337U (en) Electric vehicle controller with active heat dissipation structure and high efficiency
CN213071582U (en) Plug-in type bridging piece with guiding function
CN210379650U (en) Guide rail duplex socket
CN222146630U (en) Large current conducting mechanism and AC motor controller
CN223079415U (en) Crimping type high-current connector
CN201130729Y (en) Electric connector assembly
CN222839047U (en) Two-in one-out wiring terminal
CN218771743U (en) Power adapter for direct current electric tool
CN222261413U (en) Compact multichannel connector
CN214797970U (en) Novel female needle structure of heavy current plug
CN220253422U (en) battery pack
CN222261433U (en) Terminal structure
CN113517588B (en) Automatic on-off wiring terminal
CN222355543U (en) Double-terminal splicing connector
CN221928633U (en) Elastic contact connector and control module
CN215451305U (en) Plug-in circuit breaker
CN222581685U (en) A female socket of inter-board power connector
CN217983900U (en) A quick-change connector
CN212908155U (en) Push-in type spring wiring terminal
CN223513249U (en) Intelligent display state battery test fixture
CN220358350U (en) Independent terminal with anti-falling metal chip plastic shell

Legal Events

Date Code Title Description
GR01 Patent grant
GR01 Patent grant
CF01 Termination of patent right due to non-payment of annual fee
CF01 Termination of patent right due to non-payment of annual fee

Granted publication date: 20210914