CN214197750U - Screw fastener of anti-seismic support and hanger - Google Patents

Screw fastener of anti-seismic support and hanger Download PDF

Info

Publication number
CN214197750U
CN214197750U CN202023257841.0U CN202023257841U CN214197750U CN 214197750 U CN214197750 U CN 214197750U CN 202023257841 U CN202023257841 U CN 202023257841U CN 214197750 U CN214197750 U CN 214197750U
Authority
CN
China
Prior art keywords
screw rod
block
hanger
bottom end
fixed block
Prior art date
Legal status (The legal status is an assumption and is not a legal conclusion. Google has not performed a legal analysis and makes no representation as to the accuracy of the status listed.)
Expired - Fee Related
Application number
CN202023257841.0U
Other languages
Chinese (zh)
Inventor
康红兵
Current Assignee (The listed assignees may be inaccurate. Google has not performed a legal analysis and makes no representation or warranty as to the accuracy of the list.)
Chengdu Yiren Technology Co ltd
Original Assignee
Chengdu Yiren Technology Co ltd
Priority date (The priority date is an assumption and is not a legal conclusion. Google has not performed a legal analysis and makes no representation as to the accuracy of the date listed.)
Filing date
Publication date
Application filed by Chengdu Yiren Technology Co ltd filed Critical Chengdu Yiren Technology Co ltd
Priority to CN202023257841.0U priority Critical patent/CN214197750U/en
Application granted granted Critical
Publication of CN214197750U publication Critical patent/CN214197750U/en
Expired - Fee Related legal-status Critical Current
Anticipated expiration legal-status Critical

Links

Images

Landscapes

  • Road Paving Structures (AREA)

Abstract

本实用新型公开了一种抗震支吊架的螺杆紧固件,包括横杆,横杆的上端连接有侧板,侧板的上端连接有侧杆,侧杆的底端设置有凹槽,侧杆的上端连接有安装片,安装片的表面设置有安装孔,横杆的内部设置有空腔块,横杆的内部连接有固定块,固定块的底端连接有支撑柱,固定块的底端连接有大弹簧,固定块的底端连接有连接块;本实用新型中,通过侧板与凹槽的转动连接,增强了侧杆的收拉能力,同时起到轻微的抗震效果,在大弹簧与小弹簧动用下,使其固定块在空腔块的内部轻微移动,达到对横杆的抗震效果,其次是在螺杆的连接处,设置有螺母与垫片,起到了对螺杆的紧固效果,使其支吊架的性能更加稳定。

Figure 202023257841

The utility model discloses a screw fastener for an anti-seismic support and hanger, which comprises a cross bar, the upper end of the cross bar is connected with a side plate, the upper end of the side plate is connected with a side bar, the bottom end of the side bar is provided with a groove, The upper end of the rod is connected with a mounting piece, the surface of the mounting piece is provided with mounting holes, the interior of the crossbar is provided with a cavity block, the interior of the crossbar is connected with a fixed block, the bottom end of the fixed block is connected with a support column, and the bottom of the fixed block is connected with a support column. The end is connected with a large spring, and the bottom end of the fixed block is connected with a connecting block; in the utility model, the side plate and the groove are rotated and connected to enhance the retracting and pulling ability of the side rod, and at the same time, it has a slight anti-vibration effect. When the spring and the small spring are used, the fixed block moves slightly inside the cavity block to achieve the anti-vibration effect on the cross bar. Secondly, at the connection of the screw rod, a nut and a washer are arranged to fasten the screw rod. effect, so that the performance of its support and hanger is more stable.

Figure 202023257841

Description

Screw fastener of anti-seismic support and hanger
Technical Field
The utility model relates to a gallows field especially relates to a screw rod fastener of a gallows combats earthquake.
Background
The supporting and hanging bracket is mainly used for steam-water pipelines or boiler equipment of a power plant, and thermal displacement and equipment devices thereof generated in the running process; calculating the working and thermal displacement requirements of the determined spring support and hanger according to the stress condition of the pipeline; setting the spring support and hanger according to the design load: namely, the spring is pre-pressed and is positioned at a cold load position; the theoretical working position in cold state on the same time scale; the supporting and hanging frame can be mainly divided into four categories; a spring support hanger, a pipe support hanger, a root support hanger and an accessory support hanger.
There are the following problems:
to current gallows, receive under the condition of great effort externally, the shock attenuation effect of a gallows is relatively poor, probably causes the wearing and tearing to the pipe fitting, secondly is that the screw rod is not hard up easily under the long-term effect condition of external force at the junction, leads to the linkage effect relatively poor.
SUMMERY OF THE UTILITY MODEL
The utility model aims at solving the defects existing in the prior art and providing a screw fastener of an anti-seismic support hanger.
In order to achieve the above purpose, the utility model adopts the following technical scheme: the utility model provides a screw rod fastener of antidetonation gallows, includes the horizontal pole, the upper end of horizontal pole is connected with the curb plate, the upper end of curb plate is connected with the side lever, the bottom of side lever is provided with the recess, the upper end of side lever is connected with the installation piece, the surface of installation piece is provided with the mounting hole, the inside of horizontal pole is provided with the cavity piece, the internal connection of horizontal pole has the fixed block, the bottom of fixed block is connected with the support column, the bottom of fixed block is connected with big spring, the bottom of fixed block is connected with the connecting block, the upper end of connecting block is connected with little spring, the internal connection of fixed block has the screw rod, the bottom of screw rod is connected with the gasket, the bottom of screw rod is connected with the nut, the upper end fixed connection of screw rod is in the bottom of jib.
As a further description of the above technical solution:
the upper end fixed connection of horizontal pole is in the bottom of curb plate, the inside of horizontal pole is provided with the cavity piece, the shape of cavity piece is the rectangle.
As a further description of the above technical solution:
the upper end of the side plate is rotatably connected to the bottom end of the side rod, and a groove is formed in the bottom end of the side rod.
As a further description of the above technical solution:
the upper end of side lever is rotated and is connected the one end at the installation piece, the surface of installation piece is provided with the mounting hole, the quantity of mounting hole has two sets ofly, and is two sets of the mounting hole is the symmetric distribution about the center of installation piece.
As a further description of the above technical solution:
the inside of cavity piece cup joints the outer wall at the fixed block, the bottom fixed connection of fixed block is in the inboard of connecting block, the quantity of connecting block has four groups.
As a further description of the above technical solution:
the upper end fixed connection of cavity piece is in the bottom of support column, the upper end fixed connection of cavity piece is in the bottom of big spring, the upper end fixed connection of connecting block is in the bottom of little spring, the quantity of little spring has four groups.
As a further description of the above technical solution:
the upper end threaded connection of fixed block is in the bottom of screw rod, the upper end fixed connection of screw rod is in the bottom of jib.
As a further description of the above technical solution:
the bottom end of the screw rod is sleeved on the inner side of the gasket, and the bottom end of the screw rod is in threaded connection with the inner side of the nut.
Compared with the prior art, the beneficial effects of the utility model are that:
on original gallows basis, be connected through the rotation of curb plate with the recess, strengthened the pull-up ability of side lever, played slight antidetonation effect simultaneously, used down at big spring and little spring, made its fixed block slightly remove in the inside of cavity piece, reached the antidetonation effect to the horizontal pole, secondly at the junction of screw rod, be provided with nut and gasket, played the fastening effect to the screw rod, made the performance of its gallows more stable.
Drawings
Fig. 1 is an overall effect diagram of a screw fastener of an anti-seismic support hanger provided by the utility model;
fig. 2 is the utility model provides a horizontal pole section effect picture of a screw rod fastener of a antidetonation gallows.
Illustration of the drawings:
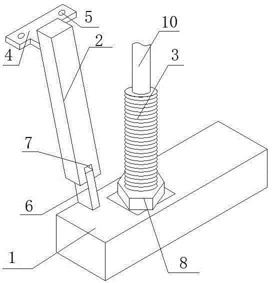
1. a cross bar; 2. a side lever; 3. a screw; 4. mounting a sheet; 5. mounting holes; 6. a side plate; 7. a groove; 8. a nut; 9. a gasket; 10. a boom; 11. a fixed block; 12. a cavity; 13. a support pillar; 14. a large spring; 15. connecting blocks; 16. a small spring.
Detailed Description
The technical solutions in the embodiments of the present invention will be described clearly and completely with reference to the accompanying drawings in the embodiments of the present invention, and it is obvious that the described embodiments are only some embodiments of the present invention, not all embodiments. Based on the embodiments in the present invention, all other embodiments obtained by a person skilled in the art without creative work belong to the protection scope of the present invention.
In the description of the present invention, it should be noted that the terms "center", "upper", "lower", "left", "right", "vertical", "horizontal", "inner", "outer", and the like indicate orientations or positional relationships based on the orientations or positional relationships shown in the drawings, and are only for convenience of description and simplification of description, but do not indicate or imply that the device or element referred to must have a specific orientation, be constructed and operated in a specific orientation, and thus, should not be construed as limiting the present invention; the terms "first," "second," and "third" are used for descriptive purposes only and are not to be construed as indicating or implying relative importance, and furthermore, unless otherwise explicitly stated or limited, the terms "mounted," "connected," and "connected" are to be construed broadly and may be, for example, fixedly connected, detachably connected, or integrally connected; can be mechanically or electrically connected; they may be connected directly or indirectly through intervening media, or they may be interconnected between two elements. The specific meaning of the above terms in the present invention can be understood in specific cases to those skilled in the art.
Referring to fig. 1-2, the present invention provides an embodiment: the utility model provides a screw rod fastener of antidetonation gallows, including horizontal pole 1, the upper end of horizontal pole 1 is connected with curb plate 6, the upper end of curb plate 6 is connected with side lever 2, the bottom of side lever 2 is provided with recess 7, the upper end of side lever 2 is connected with installation piece 4, the surface of installation piece 4 is provided with mounting hole 5, the inside of horizontal pole 1 is provided with cavity block 12, the internal connection of horizontal pole 1 has fixed block 11, the bottom of fixed block 11 is connected with support column 13, the bottom of fixed block 11 is connected with big spring 14, the bottom of fixed block 11 is connected with connecting block 15, the upper end of connecting block 15 is connected with little spring 16, the internal connection of fixed block 11 has screw rod 3, the bottom of screw rod 3 is connected with gasket 9, the bottom of screw rod 3 is connected with nut 8, the upper end fixed connection of screw rod 3 is in the bottom of jib 10.
The upper end of the cross rod 1 is fixedly connected to the bottom end of the side plate 6, a cavity block 12 is arranged inside the cross rod 1, and the cavity block 12 is rectangular; the cross rod 1 has the effect of bearing the pipe fittings, the side plates 6 have the effect of supporting the cross rod 1, and the cavity block 12 has the effect of loading the fixed block 11; the upper end of the side plate 6 is rotatably connected to the bottom end of the side lever 2, and the bottom end of the side lever 2 is provided with a groove 7; the side bars 2 have the effect of supporting the cross bar 1, and the side plates 6 are connected with the grooves 7, so that the tension capacity of the side bars 2 is improved, and the slight shock resistance effect on the cross bar 1 is achieved; the upper ends of the side rods 2 are rotatably connected to one end of the mounting piece 4, mounting holes 5 are formed in the surface of the mounting piece 4, the number of the mounting holes 5 is two, and the two groups of mounting holes 5 are symmetrically distributed about the center of the mounting piece 4; the fixing effect of the support and hanger on supports such as external walls is achieved through the mounting pieces 4 and the mounting holes 5; the inner part of the cavity block 12 is sleeved on the outer wall of the fixed block 11, the bottom end of the fixed block 11 is fixedly connected to the inner side of the connecting block 15, and the number of the connecting blocks 15 is four; the fixing block 11 can move slightly in the cavity block 12 and has a limiting effect through the connecting block 15; the upper end of the cavity block 12 is fixedly connected to the bottom end of the supporting column 13, the upper end of the cavity block 12 is fixedly connected to the bottom end of the large spring 14, the upper end of the connecting block 15 is fixedly connected to the bottom end of the small spring 16, and the number of the small springs 16 is four; the effect of bearing and protecting the large spring 14 is achieved through the supporting column 13, and the anti-seismic effect on the cross rod 1 is achieved through the large spring 14 and the small spring 16; the upper end of the fixed block 11 is in threaded connection with the bottom end of the screw rod 3, and the upper end of the screw rod 3 is fixedly connected with the bottom end of the suspender 10; the screw rod 3 has the effect of connecting the cross rod 1, and the suspender 10 has the effect of supporting the screw rod 3; the bottom end of the screw rod 3 is sleeved on the inner side of the gasket 9, and the bottom end of the screw rod 3 is in threaded connection with the inner side of the nut 8; the gasket 9 and the nut 8 play a role in placing the screw 3 so that the screw 3 can be fastened in the fixing block 11.
And (3) description of a work flow: fix screw rod 3 in the inside of fixed block 11, sheathe in gasket 9, and make it reach the effect of fastening to screw rod 3 through nut 8, prevent that screw rod 3 is not hard up, place mounting plate 4 on wall or other supports, it is fixed to mounting plate 4 to make it through mounting hole 5, accomplish the fixed of a plurality of groups mounting plate 4 in proper order, reach the fixed to whole gallows, later alright fix the pipe fitting at horizontal pole 1 upper end, wherein under the linkage effect of curb plate 6 and recess 7, reduce the tensile strength of side lever 2, when the outside produces great effort, under big spring 14 and little spring 16 use, make its fixed block 11 slightly remove in the inside of cavity piece 12, reach the antidetonation effect to horizontal pole 1.
Finally, it should be noted that: although the present invention has been described in detail with reference to the foregoing embodiments, it will be apparent to those skilled in the art that modifications and variations can be made in the embodiments or in part of the technical features of the embodiments without departing from the spirit and the principles of the present invention.

Claims (8)

1. The utility model provides a screw rod fastener of antidetonation gallows, includes horizontal pole (1), its characterized in that: the upper end of the transverse rod (1) is connected with a side plate (6), the upper end of the side plate (6) is connected with a side lever (2), the bottom of the side lever (2) is provided with a groove (7), the upper end of the side lever (2) is connected with an installation sheet (4), the surface of the installation sheet (4) is provided with an installation hole (5), a cavity block (12) is arranged inside the transverse rod (1), the inside of the transverse rod (1) is connected with a fixed block (11), the bottom end of the fixed block (11) is connected with a support column (13), the bottom end of the fixed block (11) is connected with a large spring (14), the bottom end of the fixed block (11) is connected with a connecting block (15), the upper end of the connecting block (15) is connected with a small spring (16), the inside of the fixed block (11) is connected with a screw rod (3), and the bottom end of the screw rod (3) is connected with a gasket (9), the bottom of screw rod (3) is connected with nut (8), the upper end fixed connection of screw rod (3) is in the bottom of jib (10).
2. A threaded rod fastener for an earthquake-resistant support and hanger as claimed in claim 1, wherein: the upper end of the cross rod (1) is fixedly connected to the bottom end of the side plate (6), and the cavity block (12) is rectangular.
3. A threaded rod fastener for an earthquake-resistant support and hanger as claimed in claim 1, wherein: the upper end of the side plate (6) is rotatably connected to the bottom end of the side rod (2).
4. A threaded rod fastener for an earthquake-resistant support and hanger as claimed in claim 1, wherein: the upper end of side lever (2) is rotated and is connected the one end in installation piece (4), the quantity of mounting hole (5) has two sets ofly, two sets of mounting hole (5) are the symmetric distribution about the center of installation piece (4).
5. A threaded rod fastener for an earthquake-resistant support and hanger as claimed in claim 1, wherein: the inner part of the cavity block (12) is sleeved on the outer wall of the fixing block (11), the bottom end of the fixing block (11) is fixedly connected to the inner side of the connecting block (15), and four groups of the connecting blocks (15) are arranged.
6. A threaded rod fastener for an earthquake-resistant support and hanger as claimed in claim 1, wherein: the upper end fixed connection of cavity piece (12) is in the bottom of support column (13), the upper end fixed connection of cavity piece (12) is in the bottom of big spring (14), the upper end fixed connection of connecting block (15) is in the bottom of little spring (16), the quantity of little spring (16) has four groups.
7. A threaded rod fastener for an earthquake-resistant support and hanger as claimed in claim 1, wherein: the upper end of the fixing block (11) is in threaded connection with the bottom end of the screw rod (3).
8. A threaded rod fastener for an earthquake-resistant support and hanger as claimed in claim 1, wherein: the bottom end of the screw rod (3) is sleeved on the inner side of the gasket (9), and the bottom end of the screw rod (3) is in threaded connection with the inner side of the nut (8).
CN202023257841.0U 2020-12-30 2020-12-30 Screw fastener of anti-seismic support and hanger Expired - Fee Related CN214197750U (en)

Priority Applications (1)

Application Number Priority Date Filing Date Title
CN202023257841.0U CN214197750U (en) 2020-12-30 2020-12-30 Screw fastener of anti-seismic support and hanger

Applications Claiming Priority (1)

Application Number Priority Date Filing Date Title
CN202023257841.0U CN214197750U (en) 2020-12-30 2020-12-30 Screw fastener of anti-seismic support and hanger

Publications (1)

Publication Number Publication Date
CN214197750U true CN214197750U (en) 2021-09-14

Family

ID=77631055

Family Applications (1)

Application Number Title Priority Date Filing Date
CN202023257841.0U Expired - Fee Related CN214197750U (en) 2020-12-30 2020-12-30 Screw fastener of anti-seismic support and hanger

Country Status (1)

Country Link
CN (1) CN214197750U (en)

Similar Documents

Publication Publication Date Title
CN211083103U (en) Anti-seismic fixed support hanger
CN214197750U (en) Screw fastener of anti-seismic support and hanger
CN210153399U (en) Assembled antidetonation support
CN219530044U (en) Pipeline anti-seismic support and hanger
CN211010154U (en) Water pipeline supporting and hanging frame
CN215981218U (en) Pipeline installation gallows under L shaped steel roof beam
CN216430738U (en) High antidetonation gallows of stability
CN219530054U (en) Multi-pipeline anti-seismic bracket
CN217208800U (en) Equipment pipeline antidetonation gallows
CN220059024U (en) A kind of construction engineering bracket
CN216158488U (en) Pipeline installation gallows under I-steel roof beam
CN212775988U (en) Pipeline gallows installation device
CN210860097U (en) Anti-seismic support and hanger
CN213479384U (en) Novel intelligence building antidetonation gallows
CN214093348U (en) An anti-seismic support hanger
CN210920543U (en) Anti-seismic support hanger
CN212251678U (en) But height-adjusting's antidetonation gallows
CN215721243U (en) Synthesize pipeline antidetonation gallows
CN217440954U (en) Shockproof support for pipeline
CN211344420U (en) Anti-seismic support hanger
CN210430791U (en) A gallows combats earthquake convenient to improve space utilization
CN223825862U (en) Pipeline supporting device for hydraulic engineering
CN219221490U (en) Pipeline antidetonation gallows structure
CN215110934U (en) Corrosion-resistant bidirectional pipeline electromechanical anti-seismic support
CN211693809U (en) A triangular seismic support hanger connector

Legal Events

Date Code Title Description
GR01 Patent grant
GR01 Patent grant
CF01 Termination of patent right due to non-payment of annual fee

Granted publication date: 20210914

CF01 Termination of patent right due to non-payment of annual fee