CN214184523U - Shaving board processing is with inhaling bits edulcoration device - Google Patents
Shaving board processing is with inhaling bits edulcoration device Download PDFInfo
- Publication number
- CN214184523U CN214184523U CN202023194630.7U CN202023194630U CN214184523U CN 214184523 U CN214184523 U CN 214184523U CN 202023194630 U CN202023194630 U CN 202023194630U CN 214184523 U CN214184523 U CN 214184523U
- Authority
- CN
- China
- Prior art keywords
- bits
- fixedly connected
- dust cover
- shaving board
- passageway
- Prior art date
- Legal status (The legal status is an assumption and is not a legal conclusion. Google has not performed a legal analysis and makes no representation as to the accuracy of the status listed.)
- Active
Links
- 239000000428 dust Substances 0.000 claims abstract description 33
- 230000007246 mechanism Effects 0.000 claims abstract description 24
- 230000006835 compression Effects 0.000 claims abstract description 23
- 238000007906 compression Methods 0.000 claims abstract description 23
- 230000009471 action Effects 0.000 claims abstract description 3
- 238000003825 pressing Methods 0.000 claims description 10
- 239000012535 impurity Substances 0.000 claims description 7
- 238000007599 discharging Methods 0.000 claims description 5
- 210000000056 organ Anatomy 0.000 claims description 4
- 239000002245 particle Substances 0.000 description 8
- 238000000034 method Methods 0.000 description 3
- 230000005484 gravity Effects 0.000 description 2
- 230000000149 penetrating effect Effects 0.000 description 2
- 230000008569 process Effects 0.000 description 2
- 239000002023 wood Substances 0.000 description 2
- 230000008901 benefit Effects 0.000 description 1
- 230000008859 change Effects 0.000 description 1
- 230000007547 defect Effects 0.000 description 1
- 230000000694 effects Effects 0.000 description 1
- 238000005516 engineering process Methods 0.000 description 1
- 239000003292 glue Substances 0.000 description 1
- 230000006872 improvement Effects 0.000 description 1
- 239000000463 material Substances 0.000 description 1
- 230000004048 modification Effects 0.000 description 1
- 238000012986 modification Methods 0.000 description 1
- 230000000704 physical effect Effects 0.000 description 1
- 238000004080 punching Methods 0.000 description 1
- 238000011084 recovery Methods 0.000 description 1
Images
Landscapes
- Sawing (AREA)
- Auxiliary Devices For Machine Tools (AREA)
Abstract
The utility model relates to a shaving board processing is with inhaling bits edulcoration device, include the workstation, inhale bits mechanism and collection mechanism, workstation upper end both sides fixed mounting has No. two electric push rods, and No. two equal fixedly connected with supports in electric push rod top, inhale bits mechanism and include the dust cover of fixed mounting at the support lower surface, and the inside level of dust cover is provided with the cutting knife, fixed surface installs driving motor on the support, and driving motor output fixed mounting has action wheel and fan, support upper end fixed mounting has negative pressure tank. The utility model discloses an inhale bits mechanism, dust cover, driving motor, fan and the cooperation of inhaling the bits passageway promptly can make the dust cover hug closely the shaving board always, prevents that the piece from flying out the dust cover, accomplishes in time to inhale the bits edulcoration, has the open-close plate through the inside bottom of compression case, and a fixedly connected with spring between open-close plate bottom and collecting box one side, can accomplish clastic automatic collection, recycle after convenient or handle.
Description
Technical Field
The utility model relates to a shaving board processing is with inhaling bits edulcoration device belongs to shaving board processing technology field.
Background
The particle board is made by processing and crushing wood into particles, and performing procedures such as glue mixing, high-temperature punching by a grinding tool and the like, the particle board is low in cost, the material is wood sawdust, the particle board is not easy to deform and has stable physical properties, so that the particle board can be widely applied to the furniture industry, and a large amount of sawdust can be generated in the processing process of the particle board.
The saw-dust that current shaving board processingequipment during operation produced splashes everywhere easily, and the harm staff is healthy, and the recovery and the utilization in the inconvenient later stage of saw-dust simultaneously we provide a shaving board processing with inhaling bits edulcoration device for this reason.
SUMMERY OF THE UTILITY MODEL
The utility model discloses the technical problem who solves overcomes current defect, provides a shaving board processing is with inhaling bits edulcoration device, the utility model discloses can block splashing of shaving board processing man-hour saw-dust, make things convenient for these pieces of recycle simultaneously, can effectively solve the problem in the background art.
In order to solve the technical problem, the utility model provides a following technical scheme:
a scrap sucking and impurity removing device for shaving board processing comprises a workbench, a scrap sucking mechanism and a collecting mechanism, wherein two sides of the upper end of the workbench are fixedly provided with a second electric push rod, the top ends of the second electric push rods are fixedly connected with a bracket, the scrap suction mechanism comprises a dust cover fixedly arranged on the lower surface of the bracket, and the interior of the dust cover is horizontally provided with a cutting knife, the upper surface of the bracket is fixedly provided with a driving motor, and the output end of the driving motor is fixedly provided with a driving wheel and a fan, the upper end of the bracket is fixedly provided with a negative pressure box, and both sides of the negative pressure box are provided with chip suction channels in a run-through way, the upper end of the workbench is movably connected with a shaving board body, and the middle part of the workbench is provided with a chip removal port in a run-through way, the lower end of the chip removal port is fixedly connected with a chip removal channel, and the chip removal passageway constitutes fixed connection with inhaling the bits passageway, the collection mechanism includes fixed connection at the compression case of chip removal passageway lower extreme.
Further, inhale bits mechanism includes dust cover, driving motor, fan and inhales the bits passageway, and inhales the bits passageway one end and extend to inside the dust cover to the fan extends to inside the negative pressure tank.
Further, inhale bits passageway one end fixedly connected with and inhale the bits head, and inhale bits passageway middle part and be provided with the organ pipe, cutting knife one end fixedly connected with is from the driving wheel, and from swing joint with the belt between driving wheel outer wall and the action wheel outer wall, it is the slope structure with chip removal channel junction to inhale bits passageway.
Further, the bottom end of the dust cover is provided with a groove, one side of the inner wall of the groove is fixedly connected with a second spring, the other end of the second spring is fixedly connected with a pressing rod, the two sides of the groove are both provided with sliding grooves, the two sides of the pressing rod are both fixedly connected with sliding blocks, and the sliding grooves and the sliding blocks form sliding connection.
Furthermore, the two sides inside the compression box are fixedly provided with a first electric push rod, and the bottom end of the compression box is connected with a collection box in a through mode.
Furthermore, the opening at the bottom end inside the compression box is rotatably connected with an opening plate through a bearing, and a spring is fixedly connected between the bottom end of the opening plate and one side of the collection box.
The utility model discloses a technological effect and advantage:
1. the utility model discloses a inhale bits mechanism, the cooperation of dust cover, driving motor, fan and inhale bits passageway, inhale bits passageway one end and extend to the dust cover inside, and the fan extends to the negative-pressure tank inside, the spout has all been seted up to the recess both sides, the equal fixedly connected with slider in depression bar both sides, and spout and slider constitute sliding connection, the chip removal mouth has been link up and seted up in the middle part of the workstation, the chip removal passageway is connected with to the chip removal mouth lower extreme fixedly, can make the dust cover hug closely the shaving board always, prevent that the piece from flying out the dust cover, remaining few part of piece from chip removal mouth entering collection mechanism, comprehensively prevent the piece spill in processing, accomplish and inhale the;
2. the utility model discloses an equal fixed mounting in inside both sides of compression case has an electric push rod, and the compression bottom of the case end through connection has the collecting box, and the inside bottom opening part of compression case rotates through the bearing and is connected with the open-close plate, and a fixedly connected with spring between open-close plate bottom and the collecting box one side, can accomplish clastic automatic collection, recycle after convenient or handle.
Drawings
The accompanying drawings are included to provide a further understanding of the invention, and are incorporated in and constitute a part of this specification, illustrate embodiments of the invention, and together with the description serve to explain the invention and not to limit the invention.
Fig. 1 is a front view of the present invention;
FIG. 2 is an enlarged view of the present invention at A in FIG. 1;
fig. 3 is an enlarged view of the present invention at B in fig. 1.
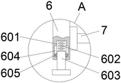
Reference numbers in the figures: 1. a work table; 101. a particle board body; 102. a chip removal port; 103. a chip removal channel; 2. a scrap suction mechanism; 3. a collection mechanism; 301. a compression box; 302. a first electric push rod; 303. opening and closing the board; 304. a collection box; 305. a first spring; 4. a second electric push rod; 5. a support; 6. a dust cover; 601. a groove; 602. a second spring; 603. a pressure lever; 604. a chute; 605. a slider; 7. a cutting knife; 8. a drive motor; 9. a driving wheel; 901. a belt; 902. a driven wheel; 10. a fan; 11. a negative pressure tank; 12. a chip suction passage; 1201. a scrap sucking head; 1202. an organ tube.
Detailed Description
The preferred embodiments of the present invention will be described in conjunction with the accompanying drawings, and it will be understood that they are presented herein only to illustrate and explain the present invention, and not to limit the present invention.
As shown in figures 1-3, a chip suction and impurity removal device for shaving board processing comprises a workbench 1, a chip suction mechanism 2 and a collection mechanism 3, wherein two sides of the upper end of the workbench 1 are fixedly provided with a second electric push rod 4, the top end of the second electric push rod 4 is fixedly connected with a bracket 5, the chip suction mechanism 2 comprises a dust cover 6 fixedly arranged on the lower surface of the bracket 5, a cutting knife 7 is horizontally arranged in the dust cover 6, the upper surface of the bracket 5 is fixedly provided with a driving motor 8, the output end of the driving motor 8 is fixedly provided with a driving wheel 9 and a fan 10, the upper end of the bracket 5 is fixedly provided with a negative pressure box 11, two sides of the negative pressure box 11 are respectively provided with a chip suction channel 12 in a penetrating way, the upper end of the workbench 1 is movably connected with a shaving board body 101, the middle part of the workbench 1 is provided with a chip discharge port 102 in a penetrating way, the lower end of the chip discharge port 102 is fixedly connected with a chip discharge channel 103, and the chip discharge channel 103 and the chip suction channel 12 are fixedly connected, the collecting mechanism 3 comprises a compression box 301 fixedly connected to the lower end of the debris removal channel 103.
As shown in fig. 1, the chip suction mechanism 2 of this embodiment includes a dust cover 6, a driving motor 8, a fan 10 and a chip suction channel 12, and one end of the chip suction channel 12 extends into the dust cover 6, and the fan 10 extends into the negative pressure tank 11, when in use, the second electric push rod 4 descends to drive the dust cover 6 and the cutting knife 7 to descend, most of chips generated when the cutting knife 7 cuts the particle board body 101 are blocked by the dust cover 6, and are transported to the compression tank 301 by the chip suction channel 12 for processing, and a small part of chips enter the compression tank 301 along with the chip discharge port 102 and the chip discharge channel 103.
As shown in fig. 1, one end of the chip suction channel 12 of this embodiment is fixedly connected with a chip suction head 1201, and the middle of the chip suction channel 12 is provided with an organ pipe 1202, one end of the cutting knife 7 is fixedly connected with a driven wheel 902, and a belt 901 is movably connected between the outer wall of the driven wheel 902 and the outer wall of the driving wheel 9, the joint of the chip suction channel 12 and the chip discharge channel 103 is an inclined structure, when the shaving board body 101 is cut and processed, the driving motor 8 operates, the shaving board body passes through the driving wheel 9, the belt 901 and the driven wheel 902, and simultaneously drives the fan 10 and the cutting knife 7 to rotate, and chips are sucked while cutting, the fan 10 rotates, negative pressure is generated inside the negative pressure tank 11, and chips enter the chip suction channel 12 from the chip suction head 1201, and fall into the compression tank 301 under the influence of gravity after passing through.
As shown in fig. 2, the bottom end of the dust cover 6 of the present embodiment is provided with a groove 601, one side of the inner wall of the groove 601 is fixedly connected with a second spring 602, the other end of the second spring 602 is fixedly connected with a pressing rod 603, two sides of the groove 601 are both provided with sliding grooves 604, two sides of the pressing rod 603 are both fixedly connected with sliding blocks 605, the sliding grooves 604 and the sliding blocks 605 form a sliding connection, when the dust cover 6 and the cutting knife 7 descend, the pressing rod 603 contacts the shaving board body 101 first, the pressing rod 603 compresses the second spring 602 to slide in the groove 601 until the cutting knife 7 descends to a proper height, the dust cover 6 is tightly attached to the shaving board body 101, and the chips are prevented from flying out of the dust cover 6.
As shown in fig. 1, the inside both sides of compression case 301 of this embodiment all fixed mounting have an electric push rod 302, and compression case 301 bottom through connection has a collecting box 304, and inside the piece got into compression case 301 back and got into collecting box 304 after being extruded by an electric push rod 302, reduced piece occupation space, made collecting box 304 hold more pieces.
As shown in fig. 3, the opening at the bottom end inside the compression box 301 of this embodiment is rotatably connected with the opening plate 303 through a bearing, and a spring 305 is fixedly connected between the bottom end of the opening plate 303 and one side of the collection box 304, when a sufficient amount of chips are extruded by the electric push rod 302, the chips exceeding a certain mass press the opening plate 303 to extrude the spring 305, the opening plate 303 rotates, the chips fall into the collection box 304, and the opening plate 303 resets to complete automatic collection of the chips.
For the convenience of understanding the technical solution of the present invention, the following detailed description is made on the working principle or the operation mode of the present invention in the practical process.
The utility model discloses the theory of operation: when the dust-proof and dust-removing device is used, the second electric push rod 4 descends to drive the dust-proof cover 6 and the cutting knife 7 to descend, the driving motor 8 operates to drive the fan 10 and the cutting knife 7 to rotate simultaneously through the driving wheel 9, the belt 901 and the driven wheel 902, the pressing rod 603 contacts with the shaving board body 101 firstly, the pressing rod 603 compresses the second spring 602 to slide in the groove 601 until the cutting knife 7 descends to a proper height, the dust-proof cover 6 is tightly attached to the shaving board body 101 all the time, most of chips generated when the cutting knife 7 cuts the shaving board body 101 are blocked by the dust-proof cover 6, the fan 10 rotates to generate negative pressure in the negative pressure box 11, the chips enter the chip-absorbing channel 12 from the chip-absorbing head 1201, fall into the compression box 301 after passing through the negative pressure box 11 and being influenced by gravity, a small part of the chips enter the compression box 301 along with the chip-discharging port 102 and the chip-discharging channel 103, the chips are extruded by the first electric push rod 302 and then enter the collection box 304, reduce piece occupation space, when electric push rod 302 extrudees abundant piece, exceed the piece of certain mass and push down open close plate 303, extrude spring 305, open close plate 303 rotates, and the piece falls into collecting box 304, and open close plate 303 resets, accomplishes clastic automatic collection, the utility model discloses can block splashing of shaving board man-hour saw-dust, make things convenient for these pieces of recycle simultaneously.
The above is the preferred embodiment of the present invention, and the technical personnel in the field of the present invention can also change and modify the above embodiment, therefore, the present invention is not limited to the above specific embodiment, and any obvious improvement, replacement or modification made by the technical personnel in the field on the basis of the present invention all belong to the protection scope of the present invention.
Claims (6)
1. The utility model provides a shaving board processing is with inhaling bits edulcoration device, includes workstation (1), inhales bits mechanism (2) and collects mechanism (3), its characterized in that: the scrap sucking mechanism is characterized in that two sides of the upper end of the workbench (1) are fixedly provided with two electric push rods (4), the top end of each electric push rod (4) is fixedly connected with a support (5), each scrap sucking mechanism (2) comprises a dust cover (6) fixedly arranged on the lower surface of the support (5), a cutting knife (7) is horizontally arranged inside each dust cover (6), a driving motor (8) is fixedly arranged on the upper surface of the support (5), an output end of the driving motor (8) is fixedly provided with a driving wheel (9) and a fan (10), the upper end of the support (5) is fixedly provided with a negative pressure box (11), both sides of the negative pressure box (11) are communicated with scrap sucking channels (12), the upper end of the workbench (1) is movably connected with a shaving board body (101), the middle of the workbench (1) is communicated with a scrap discharging port (102), and the lower end of the scrap discharging port (102) is fixedly connected with a scrap discharging channel (103), and chip removal passageway (103) constitute fixed connection with inhaling bits passageway (12), collection mechanism (3) are including fixed connection compression case (301) at chip removal passageway (103) lower extreme.
2. The chip suction and impurity removal device for shaving board processing according to claim 1, wherein: inhale bits mechanism (2) and include dust cover (6), driving motor (8), fan (10) and inhale bits passageway (12), and inhale inside bits passageway (12) one end extends to dust cover (6) to fan (10) extend to negative pressure tank (11).
3. The chip suction and impurity removal device for shaving board processing according to claim 1, wherein: inhale bits passageway (12) one end fixedly connected with and inhale bits head (1201), and inhale bits passageway (12) middle part and be provided with organ pipe (1202), cutting knife (7) one end fixedly connected with follows driving wheel (902), and from swing joint belt (901) between driving wheel (902) outer wall and action wheel (9) outer wall, inhale bits passageway (12) and chip removal passageway (103) junction and be the slope structure.
4. The chip suction and impurity removal device for shaving board processing according to claim 1, wherein: the dustproof cover is characterized in that a groove (601) is formed in the bottom end of the dustproof cover (6), a second spring (602) is fixedly connected to one side of the inner wall of the groove (601), a pressing rod (603) is fixedly connected to the other end of the second spring (602), sliding grooves (604) are formed in two sides of the groove (601), sliding blocks (605) are fixedly connected to two sides of the pressing rod (603), and the sliding grooves (604) and the sliding blocks (605) form sliding connection.
5. The chip suction and impurity removal device for shaving board processing according to claim 1, wherein: the compression box (301) is internally and fixedly provided with a first electric push rod (302) on two sides, and the bottom end of the compression box (301) is connected with a collection box (304) in a through mode.
6. The chip suction and impurity removal device for shaving board processing according to claim 5, wherein: the opening at the bottom end inside the compression box (301) is rotatably connected with a split plate (303) through a bearing, and a spring (305) is fixedly connected between the bottom end of the split plate (303) and one side of the collection box (304).
Priority Applications (1)
| Application Number | Priority Date | Filing Date | Title |
|---|---|---|---|
| CN202023194630.7U CN214184523U (en) | 2020-12-28 | 2020-12-28 | Shaving board processing is with inhaling bits edulcoration device |
Applications Claiming Priority (1)
| Application Number | Priority Date | Filing Date | Title |
|---|---|---|---|
| CN202023194630.7U CN214184523U (en) | 2020-12-28 | 2020-12-28 | Shaving board processing is with inhaling bits edulcoration device |
Publications (1)
| Publication Number | Publication Date |
|---|---|
| CN214184523U true CN214184523U (en) | 2021-09-14 |
Family
ID=77657120
Family Applications (1)
| Application Number | Title | Priority Date | Filing Date |
|---|---|---|---|
| CN202023194630.7U Active CN214184523U (en) | 2020-12-28 | 2020-12-28 | Shaving board processing is with inhaling bits edulcoration device |
Country Status (1)
| Country | Link |
|---|---|
| CN (1) | CN214184523U (en) |
Cited By (5)
| Publication number | Priority date | Publication date | Assignee | Title |
|---|---|---|---|---|
| CN113370314A (en) * | 2021-06-16 | 2021-09-10 | 和能人居科技(天津)集团股份有限公司 | Cutting saw, cutting production line and cutting method |
| CN115008567A (en) * | 2022-05-05 | 2022-09-06 | 东莞戎马家具有限公司 | A furniture wood composite processing center |
| CN116786869A (en) * | 2023-06-20 | 2023-09-22 | 华能定边新能源发电有限公司 | Drilling machine for machining wind turbine parts |
| CN116968134A (en) * | 2023-08-30 | 2023-10-31 | 上海巨原新材料科技有限公司 | A device for recycling floor processing debris |
| CN118493527A (en) * | 2024-06-21 | 2024-08-16 | 南兴装备股份有限公司 | Dust collection device for woodworking sliding table saw |
-
2020
- 2020-12-28 CN CN202023194630.7U patent/CN214184523U/en active Active
Cited By (5)
| Publication number | Priority date | Publication date | Assignee | Title |
|---|---|---|---|---|
| CN113370314A (en) * | 2021-06-16 | 2021-09-10 | 和能人居科技(天津)集团股份有限公司 | Cutting saw, cutting production line and cutting method |
| CN115008567A (en) * | 2022-05-05 | 2022-09-06 | 东莞戎马家具有限公司 | A furniture wood composite processing center |
| CN116786869A (en) * | 2023-06-20 | 2023-09-22 | 华能定边新能源发电有限公司 | Drilling machine for machining wind turbine parts |
| CN116968134A (en) * | 2023-08-30 | 2023-10-31 | 上海巨原新材料科技有限公司 | A device for recycling floor processing debris |
| CN118493527A (en) * | 2024-06-21 | 2024-08-16 | 南兴装备股份有限公司 | Dust collection device for woodworking sliding table saw |
Similar Documents
| Publication | Publication Date | Title |
|---|---|---|
| CN214184523U (en) | Shaving board processing is with inhaling bits edulcoration device | |
| CN208993171U (en) | A kind of pressure aperture apparatus of plastics package Bag Making Machine | |
| CN113799227A (en) | Excess material processing device for machining | |
| CN219188699U (en) | Automatic waste material cleaning and recycling device for valve body machining | |
| CN215943243U (en) | Cleaning device of timber cutting machine | |
| CN216065798U (en) | Scrap iron retrieves and uses cutting device | |
| CN201454967U (en) | Chip Collection System for Table Top Automatic Feed Cutting Machine | |
| CN212599378U (en) | Slicing device for magnetic material | |
| CN211762206U (en) | Environmentally clean dust-free desktop cutting machine | |
| CN214136443U (en) | Wood chip collecting device of wood carving machine | |
| CN218453044U (en) | Saw-dust collection device is used in furniture cutting | |
| CN219402572U (en) | Automatic chip-removing plate cutting device | |
| CN219666740U (en) | A cutting mechanism for paper product production | |
| CN209050841U (en) | Trimmer Waste Paper Handling device | |
| CN217571142U (en) | High-efficient section device of magnetic material | |
| CN207973920U (en) | A kind of cloth cutter with particle collection device | |
| CN222038894U (en) | Environment-friendly chipboard cutting processing is with inhaling bits dust collector | |
| CN215092342U (en) | Planer-type milling machine with waste recycling function | |
| CN221697204U (en) | Horizontal band sawing machine with garbage collection function | |
| CN213226651U (en) | Keyway planer is used in pencil production | |
| CN222571065U (en) | Wood chip collection device for wood cutting | |
| CN218660592U (en) | Door and window side cut garbage collection device | |
| CN213247444U (en) | Tail hair processing apparatus of cosmetic brush | |
| CN218428883U (en) | Material machine swager constructs is driven to wood | |
| CN110919779A (en) | A high accuracy raw materials cutting device for chopsticks production |
Legal Events
| Date | Code | Title | Description |
|---|---|---|---|
| GR01 | Patent grant | ||
| GR01 | Patent grant |