CN214174020U - Loading stroke improving and carrying device for large-deformation horizontal load test - Google Patents

Loading stroke improving and carrying device for large-deformation horizontal load test Download PDF

Info

Publication number
CN214174020U
CN214174020U CN202021958024.5U CN202021958024U CN214174020U CN 214174020 U CN214174020 U CN 214174020U CN 202021958024 U CN202021958024 U CN 202021958024U CN 214174020 U CN214174020 U CN 214174020U
Authority
CN
China
Prior art keywords
loading
jack
load
stroke
test
Prior art date
Legal status (The legal status is an assumption and is not a legal conclusion. Google has not performed a legal analysis and makes no representation as to the accuracy of the status listed.)
Active
Application number
CN202021958024.5U
Other languages
Chinese (zh)
Inventor
苏晓栋
陈灿明
孟星宇
何建新
张贤
李致
郭壮
Current Assignee (The listed assignees may be inaccurate. Google has not performed a legal analysis and makes no representation or warranty as to the accuracy of the list.)
Nanjing Institute Of Water Conservancy Sciences State Energy Bureau Ministry Of Transportation Ministry Of Water Conservancy
Original Assignee
Nanjing Institute Of Water Conservancy Sciences State Energy Bureau Ministry Of Transportation Ministry Of Water Conservancy
Priority date (The priority date is an assumption and is not a legal conclusion. Google has not performed a legal analysis and makes no representation as to the accuracy of the date listed.)
Filing date
Publication date
Application filed by Nanjing Institute Of Water Conservancy Sciences State Energy Bureau Ministry Of Transportation Ministry Of Water Conservancy filed Critical Nanjing Institute Of Water Conservancy Sciences State Energy Bureau Ministry Of Transportation Ministry Of Water Conservancy
Priority to CN202021958024.5U priority Critical patent/CN214174020U/en
Application granted granted Critical
Publication of CN214174020U publication Critical patent/CN214174020U/en
Active legal-status Critical Current
Anticipated expiration legal-status Critical

Links

Images

Landscapes

  • Investigating Strength Of Materials By Application Of Mechanical Stress (AREA)
  • Investigation Of Foundation Soil And Reinforcement Of Foundation Soil By Compacting Or Drainage (AREA)

Abstract

用于大变形的水平荷载试验的加载行程提高与持载装置,加载采用千斤顶,反力支撑系统包括锚锭反力架、反力梁以及加载试验台,特征是持载行程提高装置与加载装置同轴安装在反力支撑系统上,在持载行程提高装置与加载装置中的中孔中设有长螺纹拉杆,长螺纹拉杆通过测力计与牵引钢索连接在待测的试验桩或试验结构上。本实用新型解决了大变形桩基和高耸结构水平荷载试验中加载行程远大于单个千斤顶活塞最大行程,而无法达到最大试验荷载的问题;消除了因千斤顶加载、卸载转换引起的试验误差;也消除了用多个千斤顶串联加载带来的安全隐患,同时节省了设备购置经费。本实用新型可以适用于各种变形的桩基和高耸结构的荷载试验,加载行程大幅度加大。

Figure 202021958024

Loading stroke increase and load holding device used for horizontal load test with large deformation. Jack is used for loading. The reaction force support system includes anchor reaction frame, reaction beam and loading test bench. It is coaxially installed on the reaction force support system, and a long threaded tie rod is arranged in the middle hole of the load-carrying stroke raising device and the loading device. structurally. The utility model solves the problem that the loading stroke is far greater than the maximum stroke of a single jack piston in the horizontal load test of the large deformation pile foundation and the towering structure, and the maximum test load cannot be reached; the test error caused by the jack loading and unloading conversion is eliminated; It avoids the potential safety hazard caused by loading multiple jacks in series, and saves equipment purchase costs. The utility model can be applied to the load test of various deformed pile foundations and towering structures, and the loading stroke is greatly increased.

Figure 202021958024

Description

Loading stroke improving and carrying device for large-deformation horizontal load test
Technical Field
The utility model relates to a pile foundation that is applicable to big shifting keeps the unchangeable device of load when guaranteeing jack stroke conversion with the experimental loading in-process of the horizontal load of structure that stands tall and erects, specific saying so relates to a device that can keep the unchangeable increase stroke of load when being applicable to the pile foundation that shifts greatly and the horizontal static load test of structure that stands and erects.
Background
The static load test and the towering structure test of the pile foundation are common methods for determining the bearing capacity of the pile foundation and the safety of a towering structure in engineering, are important means for obtaining key parameter indexes required by the design of a foundation and the towering structure, and are accepted by the current industry standards. In horizontal static load tests, jacks and reaction devices are commonly used to provide horizontal loads.
Whether the design of a loading device and a counterforce device reasonably and directly influences the accuracy of a horizontal load test result and the safety of the process is judged, a jack (or a penetrating jack) is usually adopted as loading equipment, and the counterforce device is generally an anchor pile plus a counterforce beam or an anchorage combined counterforce beam. Horizontal pushing force is applied to a designed loading point of the pile foundation or the high-rise structure through a reaction frame and a hydraulic jack, or horizontal pulling force is applied through a steel wire rope, a weight and the like, so that horizontal load required by the test is provided. For large-diameter offshore wind power steel pipe piles and high-rise structures, due to the fact that the horizontal force action point position of the large-diameter offshore wind power steel pipe pile and the high-rise structures is high, the displacement of a loaded pile body is large, the maximum load requirement of a test can be met by a conventional jack, but the maximum stroke of a piston of the jack is far smaller than the horizontal displacement of the pile top, and the overall loading requirement cannot be met.
The utility model discloses based on the research achievement of Nanjing water conservancy science institute central level public welfare scientific research institute basic scientific research service expense special capital subsidy project (Y418001) "pile foundation parameter and load parameter influence research" to the horizontal bearing performance of winged pile, the project uses marine wind power 3~9m stake footpath major diameter steel-pipe pile as the object, has adopted internal biggest pile foundation test scale (1: 25), and the stake footpath of test stake reaches 273mm, and the test load is close to 80 kN.
According to the prior art, the requirement of the test loading stroke can be met only by using 5-6 jacks in series, but because the jacks are of a long and thin structure, the length-diameter ratio of the jacks is smaller when the 5-6 jacks are used in series, instability is very likely to occur when the loading capacity is larger, huge safety risks exist, on the other hand, the number of devices required to be purchased in the test is larger, and the cost is obviously increased.
In order to meet the requirements of horizontal static load tests of large-deformation pile foundations and high-rise structures, a device for improving the loading stroke under the condition of keeping the existing load unchanged during the horizontal load tests of the large-deformation pile foundations and the high-rise structures needs to be developed urgently.
Disclosure of Invention
The utility model aims at providing a can conveniently carry out horizontal loading uninstallation conversion and keep current load unchangeable when carrying out the large deformation static load test, and the loading stroke device that increases substantially, the device can solve the pile foundation and the pile top displacement is far greater than the biggest stroke of jack piston when towering the horizontal load test of structure, and can't reach the problem of maximum test load, can not cause the test error that the load changes substantially and arouses because of the jack loading among the experimental loading process, the uninstallation conversion, more can eliminate the potential safety hazard that a plurality of jacks series connection loading brought among the prior art, and saved the equipment acquisition cost. After the device is adopted, the device can be suitable for horizontal load tests of various large-deformation pile foundations and high-rise structures, the loading stroke of the test is greatly increased compared with the prior art, the existing load can be kept unchanged and fluctuation is avoided when the jack is subjected to loading and unloading conversion to improve the stroke, and the test precision is ensured.
In order to achieve the above object, the utility model discloses a following technical scheme realizes:
the utility model relates to a can maintain under the unchangeable prerequisite of current load, add the uninstallation conversion through the jack and realize pile foundation and the required big stroke loading device when high-rise structure level static load is experimental. The utility model provides a loading stroke improves and holds and carry device for horizontal load test of big deformation, the loading adopts jack (or punch the jack), and counter-force braced system (also called counter-force device) includes anchor ingot reaction frame, counter-force roof beam and loading test platform, its characterized in that holds and carries stroke improving device and loading device coaxial arrangement in counter-force braced system on, be equipped with long thread pull rod in should holding the mesopore that carries stroke improving device and loading device, long thread pull rod passes through the dynamometer and connects on the experimental stake or the experimental structure that awaits measuring with the pull cable.
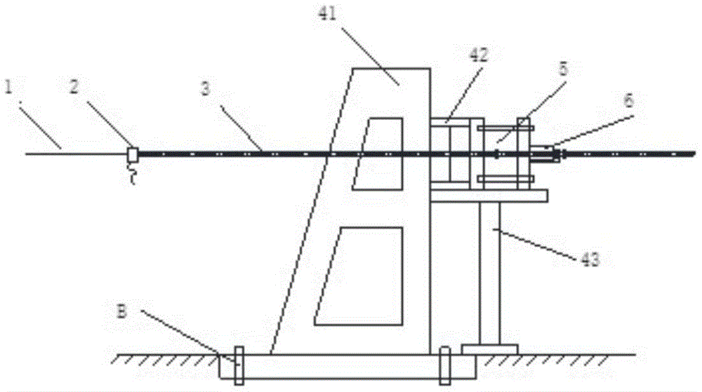
Referring to the attached drawings, the utility model discloses mainly by pull cable 1, dynamometer 2, long thread pull rod 3, counter-force braced system 4, hold lotus stroke improving device 5, loading device 6 and constitute. The traction steel cable 1 is used for connecting a test pile and the dynamometer 2, a connection mode suitable for the test pile or a structure can be selected according to test conditions, and the length of the steel cable is determined according to the distance between the position of the test pile and a loading point. The threaded pull rod 3 is a long screw rod with full threads, the length of the threaded pull rod is 1.5 m-2 m, so that the loading stroke can reach more than 1.0m, the diameter of the long threaded pull rod meets the safety strength requirement when the maximum loading capacity is achieved, the diameter of the long threaded pull rod is smaller than that of the hole in the hydraulic jack 61, the long threaded pull rod penetrates through the hole in the whole device, and the screw rod is provided with a front locking nut 31 and a rear loading nut 32. The reaction force support system 4 includes an anchor ingot reaction frame 41, a reaction force beam 42, and a loading test bed 43: the anchor ingot reaction frame is an A-shaped high-strength steel frame, is fixed on the anchor ingot structure by using an anchor bolt and is used for providing loading counter force, and the anchor ingot reaction frame needs higher strength and rigidity so as to ensure safety and no deformation and displacement under the action of maximum test load; the counterforce beam 42 is generally made of steel beams, counterforce is provided through an anchorage counterforce frame, a hole is formed in the middle of the counterforce beam, and the hole diameter enables the protruding end of an end plate 51 of the counterforce beam side load-bearing stroke improving device to be inserted and fixed properly; the loading test bed 43 has an i-shaped section, is used for supporting the reaction beam 42 and the load-holding stroke improving device 5, and can be provided with a proper number of brackets below the dynamometer and the steel cable in order to ensure that the initial stress of the test is 0 and the loading direction is always horizontal. The load-bearing stroke improving device 5 mainly comprises a reaction beam side loading plate 51, loading plate connecting rods 52 (4 in total), a jack side loading plate 53 and a rubber retaining wall 54, and can be assembled through a plurality of components, wherein the reaction beam side loading plate 51 is provided with two groups of symmetrical holes (4 in total), is internally threaded, and can be connected with the loading plate connecting rods 52 through threads; the other end of the loading plate connecting rod 52 penetrates through the two end side holes of the jack side loading plate 53 and is fixed through the external nut 521 so as to ensure that the applied load does not generate eccentric displacement; the rubber retaining wall 54 is disposed on the hole walls of the middle holes of the reaction beam side loading plate 51 and the jack side loading plate 53 to ensure that the threaded pull rod 3 does not rub against the loading plates to wear threads. The loading device 6 comprises a hydraulic jack 61 and a jack tray 62: the hydraulic jack 61 is a penetrating jack, the jack specification is selected according to the maximum loading value which can meet the test requirement, and the penetrating jack 61 reversely penetrates through the long thread pull rod 3 and then is placed on the jack tray 26 to provide loading counter force; the jack tray 62 is fixed to the jack-side loading plate 53 through a screw hole to support the hydraulic jack 61.
Compared with the prior art, the beneficial effects of the utility model are that:
1. the novel technology adopts the technology of configuring the nut by the ultra-long screw, solves the problem that the horizontal displacement of the pile foundation is far larger than the maximum stroke of the piston of the jack and the maximum test load can not be reached, can not generate the test error caused by the large fluctuation of the existing load due to the loading and unloading conversion of the jack in the test loading process, eliminates the potential safety hazard caused by the serial loading of a plurality of jacks, and saves the equipment purchasing cost. The new technology can be suitable for load tests of various large-deformation pile foundations and high-rise structures, the loading stroke is greatly increased (more than 5 times larger than that of a single jack) compared with the prior art, the load can be kept stable in the loading process, the load does not fluctuate, and the test precision is ensured;
2. the novel technology adopts a combined loading plate combined with an adjustable tray structure, ensures that the direction of the force applied by the jack is always in a horizontal position in the loading process, prevents the experimental device from being damaged due to the deviation of the direction of the force in the loading process, and simultaneously can ensure that the device is suitable for hydraulic jacks with any specification;
3. the novel technology is an assembled structure, is convenient to disassemble and assemble and is convenient to use;
4. the corners of the middle hole of the loading plate through which the threaded pull rod of the novel device passes are provided with chamfers, and the inner wall is provided with a rubber retaining wall, so that the friction between the pull rod and the wall of a steel plate hole in the test process can be reduced, and the thread abrasion is reduced.
Drawings
FIGS. 1-1 and 1-2 are overall layout diagrams of the pile foundation and the high-rise structure test according to the invention;
fig. 2 is a top view of the load-holding stroke increasing device 5 of the present invention;
FIGS. 3-1, 3-2, and 3-3 are detailed views of reaction beam side load plate 51;
FIG. 4 is a detailed view of load plate attachment rod 52;
FIGS. 5-1, 5-2, 5-3 are detailed views of the jack side load plate 53;
in the figure, A is a test pile, and B is an anchor structure.
Detailed Description
The following detailed description of embodiments of the present invention is provided in conjunction with the accompanying drawings: the utility model relates to a horizontal loading when being used for pile foundation and high-rise structure to carry out big deformation level static load test with hold and carry stroke improvement device mainly by pull cable 1, dynamometer 2, long thread pull rod 3, counter-force braced system 4, hold and carry stroke improvement device 5, loading device 6 and constitute. The long thread pull rod 3 is provided with a front locking nut 31 and a rear loading nut 32, the counter force support system 4 comprises an anchor ingot counter force frame 41, a counter force beam 42 and a loading test bed 43, the load-holding stroke improving device 5 mainly comprises a counter force beam side loading plate 51, a loading plate connecting rod 52, a jack side loading plate 53 and a rubber retaining wall 54, and the loading device 6 comprises a hydraulic jack 61 and a jack tray 62. The counter-force braced system is firstly hoisted and installed before the test is started, and the load-carrying stroke improving device 5 is assembled after the installation is finished: an appropriate distance is selected according to piston stroke parameters of the hydraulic jack 61, the counter-force beam side loading plate 51 and the jack side loading plate 53 are connected through two groups of 4 loading plate connecting rods 52 and are screwed and fixed through the external nut 521 to form a relatively independent integral load-bearing stroke improving device, and the protruding part of the counter-force beam side loading plate 53 penetrates into a reserved hole in the counter-force beam 42. Fixing a jack tray 62 on a jack side loading plate, then enabling an overlong threaded pull rod 3 to penetrate through a middle hole of the whole device, sleeving a front locking nut 31 in the middle section of the two loading plates, penetrating a hydraulic jack 61 fixed on the jack tray 62 from the tail end, screwing a rear loading nut 32 to a jack piston from the tail end of the overlong threaded pull rod 3, and finally connecting a traction steel cable 1, a dynamometer 2, the dynamometer 2 and the head end of the long threaded pull rod 3 to finish the assembly of a loading system of a horizontal load test of a pile foundation and a high-rise structure with a whole large loading stroke. In the using process, the front locking nut 31 is firstly screwed to the side of the reaction beam loading plate 51, then the rear loading nut 32 is screwed to the position of the hydraulic jack 61, the hydraulic jack 61 is pressurized, the threaded pull rod is stressed to start the pile foundation to apply load and gradually generate displacement, and the loading amount is determined according to the monitoring value of the dynamometer. When the piston stroke of the hydraulic jack 61 reaches the maximum and still does not reach the loading value required by the design, the front locking nut 31 is screwed to the counter-force beam side loading plate 51 and locked to maintain the current load, then the hydraulic jack releases the pressure and unloads, and the rear loading nut 32 is screwed to the hydraulic jack 61 again after the jack piston contracts. And repeating the steps until the loading is completed.
The load plate at the side of the counter-force beam is provided with a protruding section, and the load plate at the side of the jack is externally fixed with a jack tray, so that the stability of a loading facility is ensured, and the direction of a loading force is kept unchanged. The corners of the steel plate where the threaded pull rod passes through are provided with chamfers, and the inner wall of the hole is provided with a rubber retaining wall so as to reduce the abrasion of the threaded pull rod. The whole device is an assembled structure and can be suitable for hydraulic piercing jacks with various loading forces.

Claims (8)

1. The utility model provides a loading stroke improves and holds and carry device for horizontal load test of big deformation, the loading adopts the jack, and counter-force braced system includes anchor spindle reaction frame, counter-force roof beam and loading test bench, its characterized in that holds and carries stroke improvement device and loading device coaxial arrangement the counter-force braced system on, be equipped with long thread pull rod in this mesopore that holds in carrying stroke improvement device and the loading device, long thread pull rod passes through the dynamometer and is connected on the experimental stake that awaits measuring with the haulage cable wire.
2. The load stroke increasing and holding device for the horizontal load test of large deformation according to claim 1, characterized in that: the threaded pull rod is a long screw rod with full threads, the diameter of the threaded pull rod is smaller than that of the middle hole of the jack so as to penetrate through the middle hole of the whole device, and the screw rod is provided with a front locking nut and a rear loading nut.
3. The load stroke increasing and holding device for the horizontal load test of large deformation according to claim 1, characterized in that: the load plate at the side of the counter-force beam is provided with a protruding section, and the load plate at the side of the jack is externally fixed with a jack tray, so that the stability of a loading facility is ensured, and the direction of a loading force is kept unchanged.
4. The load stroke increasing and holding device for the horizontal load test of large deformation according to claim 1, characterized in that: the corners of the steel plate where the threaded pull rod passes through are provided with chamfers, and the inner wall of the hole is provided with a rubber protection wall so as to reduce the abrasion of the threaded pull rod.
5. The load stroke increasing and holding device for the horizontal load test of large deformation according to claim 1, characterized in that: the reaction beam side loading plate is provided with two groups of symmetrical holes, is internally provided with threads and is connected with the loading plate connecting rod through threads; the other end of the loading plate connecting rod penetrates through the side holes at the two ends of the loading plate at the jack side and is fixed through the external nut, so that the eccentric displacement of the applied load is avoided.
6. The load stroke increasing and holding device for the horizontal load test of large deformation according to claim 1, characterized in that: the rubber retaining wall is arranged on the wall of the middle hole of the counter-force beam side loading plate and the jack side loading plate and is used for ensuring that the thread pull rod does not rub the loading plate to wear threads.
7. The load stroke increasing and holding device for the horizontal load test of large deformation according to claim 1, characterized in that: the loading device comprises a hydraulic jack and a jack tray: the hydraulic jack is a through jack; the jack tray is fixed on the jack side loading plate through a screw hole and used for supporting the hydraulic jack.
8. The load stroke elevating and holding device for a horizontal load test of large deformation according to any one of claims 1 to 7, wherein: the whole device is an assembled structure and is suitable for a hydraulic piercing jack with loading force.
CN202021958024.5U 2020-09-09 2020-09-09 Loading stroke improving and carrying device for large-deformation horizontal load test Active CN214174020U (en)

Priority Applications (1)

Application Number Priority Date Filing Date Title
CN202021958024.5U CN214174020U (en) 2020-09-09 2020-09-09 Loading stroke improving and carrying device for large-deformation horizontal load test

Applications Claiming Priority (1)

Application Number Priority Date Filing Date Title
CN202021958024.5U CN214174020U (en) 2020-09-09 2020-09-09 Loading stroke improving and carrying device for large-deformation horizontal load test

Publications (1)

Publication Number Publication Date
CN214174020U true CN214174020U (en) 2021-09-10

Family

ID=77590267

Family Applications (1)

Application Number Title Priority Date Filing Date
CN202021958024.5U Active CN214174020U (en) 2020-09-09 2020-09-09 Loading stroke improving and carrying device for large-deformation horizontal load test

Country Status (1)

Country Link
CN (1) CN214174020U (en)

Cited By (1)

* Cited by examiner, † Cited by third party
Publication number Priority date Publication date Assignee Title
CN119321956A (en) * 2024-10-25 2025-01-17 山东大学 Device and method for testing stress relaxation of winding-formed fiber reinforced composite material

Cited By (1)

* Cited by examiner, † Cited by third party
Publication number Priority date Publication date Assignee Title
CN119321956A (en) * 2024-10-25 2025-01-17 山东大学 Device and method for testing stress relaxation of winding-formed fiber reinforced composite material

Similar Documents

Publication Publication Date Title
CN201031400Y (en) Combined anchored internally supporting static loading tester
US8402837B1 (en) System for field testing helical piles
CN104963368A (en) Large-diameter multiple steel bar anti-floating anchor bearing capacity detecting system and installation method thereof
CN214174020U (en) Loading stroke improving and carrying device for large-deformation horizontal load test
CN207296572U (en) A kind of built-in steel tube tower thread drawing mechanism
CN205483822U (en) Glass fiber reinforced anti -floating anchor rod resistance to plucking test device
CN204875875U (en) Anti sea anchor pole bearing capacity detecting system of many reinforcing bars of major diameter
CN106049291B (en) Hollow force snesor bite type tensioning system and method built in bridge
CN220847733U (en) Single pile static load testing device
CN114197544B (en) Counterforce device and counterforce applying method for single-pile vertical static load test
CN103674390A (en) Winch braking force testing device and method
CN201269792Y (en) Pulling force and static settlement hydraulic test device for raiser of tractor
CN201464200U (en) Adjustable load test device for large-scale structural anchor of ship
CN220602913U (en) A reaction frame device for tree space node testing
CN208167836U (en) One kind being suitable for indoor small pullout tests assembled simple loading unit
CN206873515U (en) A kind of device for realizing the loading of screw pile foundation fast load-keeping method and dynamometry
RU182071U1 (en) MOBILE DRILLING MACHINE TEST STAND
CN215338945U (en) Quick detection device of horizontal hank mill
CN212866016U (en) Leveling structure suitable for offshore wind power pile foundation construction platform
CN218970091U (en) Pile foundation anti-pulling static load test device
CN217733755U (en) Fork ear type adjustable anchor with tensioning supporting structure for inhaul cable
CN114577592B (en) Mechanical properties test device and method for steel tube concrete truss hybrid structure
CN216132825U (en) Continuous loading device for researching creep characteristic under long-term load action
CN210946510U (en) Continuous rigid frame 0# block bracket pre-pressing device
CN206267022U (en) The built-in hollow force snesor bite type tensioning system of bridge and oil cylinder

Legal Events

Date Code Title Description
GR01 Patent grant
GR01 Patent grant