CN214162486U - A wall grinding device for building decoration - Google Patents

A wall grinding device for building decoration Download PDF

Info

Publication number
CN214162486U
CN214162486U CN202022799003.XU CN202022799003U CN214162486U CN 214162486 U CN214162486 U CN 214162486U CN 202022799003 U CN202022799003 U CN 202022799003U CN 214162486 U CN214162486 U CN 214162486U
Authority
CN
China
Prior art keywords
wall
sleeve
casing
dust
building decoration
Prior art date
Legal status (The legal status is an assumption and is not a legal conclusion. Google has not performed a legal analysis and makes no representation as to the accuracy of the status listed.)
Active
Application number
CN202022799003.XU
Other languages
Chinese (zh)
Inventor
刘伟
Current Assignee (The listed assignees may be inaccurate. Google has not performed a legal analysis and makes no representation or warranty as to the accuracy of the list.)
Zhongling Construction (Jiangsu) Co.,Ltd.
Original Assignee
Tianjin Jingcheng Architectural Decoration Engineering Co ltd
Priority date (The priority date is an assumption and is not a legal conclusion. Google has not performed a legal analysis and makes no representation as to the accuracy of the date listed.)
Filing date
Publication date
Application filed by Tianjin Jingcheng Architectural Decoration Engineering Co ltd filed Critical Tianjin Jingcheng Architectural Decoration Engineering Co ltd
Priority to CN202022799003.XU priority Critical patent/CN214162486U/en
Application granted granted Critical
Publication of CN214162486U publication Critical patent/CN214162486U/en
Active legal-status Critical Current
Anticipated expiration legal-status Critical

Links

Images

Landscapes

  • Finish Polishing, Edge Sharpening, And Grinding By Specific Grinding Devices (AREA)
  • Grinding-Machine Dressing And Accessory Apparatuses (AREA)

Abstract

本实用新型公开了一种建筑装潢用墙面打磨装置,包括壳体,所述壳体的内壁固定连接有电机,所述电机的轴伸端贯穿壳体的内壁后固定连接有打磨盘,所述壳体的外壁固定连接有第一限位环与第二限位环,所述壳体的外壁活动套接有套筒,所述打磨盘、第一限位环位于套筒的内侧,所述壳体的外壁贯穿设置有吸尘管,所述吸尘管的进气端位于套筒的内侧;本实用新型中,通过启动电机可带动打磨盘转动,从而对墙面进行打磨,打磨效率高,同时通过套筒的设置,可对打磨过程中,产生的灰尘进行阻隔,避免灰尘四处飞溅,吸尘管可通过连接的吸尘器对这些灰尘进行收集,从而减少扬尘的产生,保证了工人的身体健康,同时避免对室内环境造成污染。

Figure 202022799003

The utility model discloses a wall grinding device for building decoration, which comprises a casing, an inner wall of the casing is fixedly connected with a motor, and a shaft extension end of the motor penetrates through the inner wall of the casing and is fixedly connected with a grinding disc. The outer wall of the housing is fixedly connected with a first limit ring and a second limit ring, the outer wall of the housing is movably sleeved with a sleeve, and the grinding disc and the first limit ring are located inside the sleeve, so The outer wall of the housing is provided with a dust suction pipe, and the air intake end of the dust suction pipe is located on the inner side of the sleeve; in the utility model, the grinding disc can be driven to rotate by starting the motor, thereby grinding the wall surface, and the grinding efficiency is improved. At the same time, through the setting of the sleeve, the dust generated during the grinding process can be blocked to avoid the dust from splashing around. The vacuum pipe can collect the dust through the connected vacuum cleaner, thereby reducing the generation of dust and ensuring the safety of workers. good health while avoiding pollution to the indoor environment.

Figure 202022799003

Description

Wall grinding device is used in building decoration
Technical Field
The utility model relates to a building decoration technical field especially relates to a wall grinding device is used in building decoration.
Background
In the building interior decoration process, the putty coated on the surface of the inner wall needs to be polished to level the wall surface, so that the subsequent construction is facilitated.
Among the prior art, the putty is polished to the handheld abrasive paper of workman and is carried out the operation usually, and is inefficient, and the in-process of polishing simultaneously can produce a large amount of raise dusts, not only is not convenient for clean, still can cause harm to workman's health.
SUMMERY OF THE UTILITY MODEL
The utility model aims at providing a wall grinding device is used in building decoration to solve the problem that proposes among the above-mentioned background art.
The utility model discloses a can realize through following technical scheme:
the utility model provides a wall grinding device for building decoration, includes the casing, the inner wall fixedly connected with motor of casing, fixedly connected with beats the mill behind the inner wall that the end runs through the casing is stretched to the axle of motor, the first spacing ring of outer wall fixedly connected with and the second spacing ring of casing, the sleeve has been cup jointed in the outer wall activity of casing, it is located telescopic inboard to beat mill, first spacing ring, the outer wall of casing runs through and is provided with the dust absorption pipe, the inlet end of dust absorption pipe is located telescopic inboard, there is the dust catcher dust absorption pipe give vent to anger the end through hose connection, be provided with a plurality of stop gear between first spacing ring and the second spacing ring.
Through adopting above-mentioned technical scheme, can drive the dish rotation of polishing through starter motor to polish to the wall, it is efficient to polish, simultaneously through telescopic setting, can carry out the separation to the dust of polishing in-process, production, avoids the dust to splash everywhere, and the dust catcher that the dust absorption pipe accessible is connected is collected these dusts, thereby reduces the production of raise dust, has guaranteed that workman's is healthy, avoids causing the pollution to indoor environment simultaneously.
Further setting the following steps: the limiting mechanism comprises a screw rod, the screw rod penetrates through the side wall of the sleeve, two ends of the screw rod are fixedly connected with the outer walls of the first limiting ring and the second limiting ring respectively, a nut is sleeved on the outer wall of the screw rod in a threaded fit mode, and the nut is located between the second limiting ring and the sleeve.
Through adopting above-mentioned technical scheme, utilize the cooperation of screw rod and nut, at screw rod surface rotation nut, the spacing distance between adjustable nut and the sleeve to adjusting sleeve's home range, stretching out telescopic size with the control dish of polishing, realize the control to the degree of depth of polishing.
Further setting the following steps: the outer wall of the screw rod is movably sleeved with a spring, one end of the spring is abutted to the outer wall of the nut, and the other end of the spring is abutted to the side wall of the sleeve.
Through adopting above-mentioned technical scheme, utilize the elasticity of spring, can make sleeve automatic re-setting when not using to shelter from the mill, avoid the mill to cause the injury to the workman.
Further setting the following steps: a plurality of balls are arranged on the inner wall of the opening of the sleeve, and part of the outer wall of each ball is located on the outer side of the sleeve.
Through adopting above-mentioned technical scheme, the ball can effectively reduce the frictional force of sleeve and wall, avoids telescopic edge to cause the mar in the wall department of polishing simultaneously.
Further setting the following steps: the outer wall of the sleeve is fixedly sleeved with a rubber sleeve, the ball is located on the inner side of the rubber sleeve, and the top of the rubber sleeve is provided with an air inlet.
Through adopting above-mentioned technical scheme, the wall can be hugged closely at the in-process of polishing to the outer fringe of rubber sleeve to further reduce the excessive of dust, improve dustproof effect, the air inlet can guarantee the entering of outside air simultaneously, in order to guarantee the normal operating of dust catcher and dust absorption pipe.
Further setting the following steps: a plurality of ventilation holes are evenly formed in the outer wall of the shell, and scale strips are arranged at the positions, corresponding to the screw rods, of the outer wall of the shell.
Through adopting above-mentioned technical scheme, the heat dissipation of motor can be ensured in the ventilation hole, and the scale bar carries out accurate control to the nut when adjusting nut.
Further setting the following steps: the outer wall fixedly connected with handle of casing, the outer wall of handle is provided with the switch, motor and switch electric connection.
Through adopting above-mentioned technical scheme, the handle is convenient for grip and remove the casing, sets up the switch at the outer wall of handle simultaneously, is more convenient for control the motor.
To sum up, the utility model discloses a beneficial technological effect does:
1. the utility model discloses in, can drive the dish of polishing through starter motor and rotate to polish to the wall, it is efficient to polish, simultaneously through telescopic setting, can carry out the separation to the dust of production in the process of polishing, avoids the dust to splash everywhere, and the dust catcher that the dust absorption pipe accessible is connected is collected these dusts, thereby reduces the production of raise dust, has guaranteed that workman's is healthy, avoids causing the pollution to indoor environment simultaneously.
2. The utility model discloses in, the ball can effectively reduce the frictional force of sleeve and wall, avoids telescopic edge to cause the mar in the wall department of polishing simultaneously, and the wall can be hugged closely at the in-process of polishing in the outer fringe of rubber sleeve to further reduce the excessive of dust, improve dustproof effect, the air inlet can guarantee the entering of outside air simultaneously, in order to guarantee the normal operating of dust catcher and dust absorption pipe.
3. The utility model discloses in, utilize the cooperation of screw rod and nut, at screw rod surface rotation nut, but spacing distance between adjustable nut and the sleeve to adjusting sleeve's home range to control the dish of polishing and stretch out telescopic size, realize the control to the degree of depth of polishing, utilize the elasticity of spring, can make sleeve automatic re-setting when not using, shelter from to the dish of polishing, avoid the dish of polishing to cause the injury to the workman.
Drawings
Fig. 1 is a schematic structural diagram of the present invention;
FIG. 2 is a schematic structural view of a polishing disc of the present invention;
fig. 3 is an enlarged view at a in fig. 1.
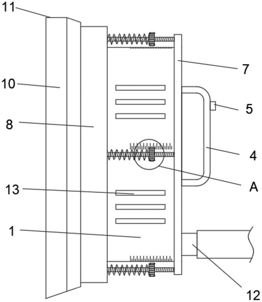
Reference numerals: 1. a housing; 2. a motor; 3. grinding disc; 4. a handle; 5. a switch; 6. a first limit ring; 7. a second stop collar; 8. a sleeve; 9. a ball bearing; 10. a rubber sleeve; 11. an air inlet; 12. a dust collection pipe; 13. a vent hole; 14. a screw; 15. a spring; 16. a nut; 17. a scale bar.
Detailed Description
The technical solution in the embodiments of the present invention will be clearly and completely described below with reference to the accompanying drawings in the embodiments of the present invention.
Referring to fig. 1-3, for the utility model discloses a wall grinding device is used in building decoration, including casing 1, casing 1's inner wall fixedly connected with motor 2, fixedly connected with beats mill 3 behind the inner wall that casing 1 was run through to motor 2's axle extension end, casing 1's the first spacing ring of outer wall fixedly connected with 6 and second spacing ring 7, sleeve 8 has been cup jointed in casing 1's outer wall activity, beat mill 3, first spacing ring 6 are located sleeve 8's inboard, casing 1's outer wall runs through and is provided with dust absorption pipe 12, the inlet end of dust absorption pipe 12 is located sleeve 8's inboard, dust absorption pipe 12's the end of giving vent to anger has the dust catcher through hose connection, be provided with a plurality of stop gears between first spacing ring 6 and the second spacing ring 7.
Can drive through starter motor 2 and polish 3 rotations to polish the wall, it is efficient to polish, simultaneously through the setting of sleeve 8, can carry out the separation to the dust of polishing in-process, production, avoids the dust to splash everywhere, and the dust catcher that the 12 accessible of dust absorption pipe is connected is collected these dusts, thereby reduces the production of raise dust, has guaranteed that workman's is healthy, avoids simultaneously causing the pollution to the indoor environment.
The limiting mechanism comprises a screw 14, the screw 14 penetrates through the side wall of the sleeve 8, two ends of the screw 14 are fixedly connected with the outer walls of the first limiting ring 6 and the second limiting ring 7 respectively, a nut 16 is sleeved on the outer wall of the screw 14 in a threaded fit mode, and the nut 16 is located between the second limiting ring 7 and the sleeve 8.
By utilizing the matching of the screw 14 and the nut 16, the nut 16 is rotated on the surface of the screw 14, the spacing distance between the nut 16 and the sleeve 8 can be adjusted, and thus the moving range of the sleeve 8 is adjusted, so that the size of the polishing disc 3 extending out of the sleeve 8 is controlled, and the polishing depth is controlled.
A spring 15 is movably sleeved on the outer wall of the screw 14, one end of the spring 15 abuts against the outer wall of the nut 16, and the other end of the spring 15 abuts against the side wall of the sleeve 8.
By utilizing the elasticity of the spring 15, the sleeve 8 can automatically reset when not in use so as to shield the polishing disc 3 and avoid the polishing disc 3 from hurting workers.
A plurality of balls 9 are arranged on the inner wall of the opening of the sleeve 8, and part of the outer wall of each ball 9 is positioned on the outer side of the sleeve 8.
Ball 9 can effectively reduce the frictional force of sleeve 8 and wall, avoids sleeve 8's edge to cause the mar in the wall department of polishing simultaneously.
The outer wall of the sleeve 8 is fixedly sleeved with a rubber sleeve 10, the ball 9 is located on the inner side of the rubber sleeve 10, and the top of the rubber sleeve 10 is provided with an air inlet 11.
The outer edge of the rubber sleeve 10 can be tightly attached to the wall surface in the polishing process, so that the overflow of dust is further reduced, the dustproof effect is improved, and meanwhile, the air inlet 11 can ensure the entrance of outside air so as to ensure the normal operation of the dust collector and the dust collection pipe 12.
A plurality of ventilation holes 13 are uniformly formed in the outer wall of the shell 1, and a scale bar 17 is arranged at the position, corresponding to the screw 14, of the outer wall of the shell 1.
The ventilation holes 13 can ensure the heat dissipation of the motor 2, and the scale bars 17 can accurately control the nuts 16 when the nuts 16 are adjusted.
The outer wall fixedly connected with handle 4 of casing 1, the outer wall of handle 4 is provided with switch 5, motor 2 and switch 5 electric connection.
The handle 4 is convenient for to hold and remove the casing 1, sets up switch 5 at the outer wall of handle 4 simultaneously, is more convenient for control motor 2.
The utility model discloses a theory of operation and beneficial effect do:
can drive through starter motor 2 and polish 3 rotations to polish the wall, it is efficient to polish, simultaneously through the setting of sleeve 8, can carry out the separation to the dust of polishing in-process, production, avoids the dust to splash everywhere, and the dust catcher that the 12 accessible of dust absorption pipe is connected is collected these dusts, thereby reduces the production of raise dust, has guaranteed that workman's is healthy, avoids simultaneously causing the pollution to the indoor environment.
Ball 9 can effectively reduce the frictional force of sleeve 8 and wall, avoids sleeve 8's edge to cause the mar in the wall department of polishing simultaneously, and the wall can be hugged closely at the in-process of polishing to the outer fringe of rubber sleeve 10 to further reduce the excessive of dust, improve dustproof effect, the entering of outside air can be guaranteed to air inlet 11 simultaneously, with the normal operating of guaranteeing dust catcher and dust absorption pipe 12.
Utilize screw rod 14 and nut 16's cooperation, at screw rod 14 surface rotation nut 16, the spacing distance between adjustable nut 16 and the sleeve 8 to the home range of adjusting sleeve 8 to the size that control polishing dish 3 stretches out sleeve 8 realizes the control to the degree of depth of polishing, utilizes the elasticity of spring 15, can make sleeve 8 automatic re-setting when not using, shelters from with polishing dish 3, avoids polishing dish 3 to cause the injury to the workman.
The above, only do the preferred embodiment of the present invention, not limit the protection scope of the present invention according to this, so: all equivalent changes made according to the structure, shape and principle of the utility model are covered within the protection scope of the utility model.

Claims (7)

1. The utility model provides a wall grinding device for building decoration which characterized in that: including casing (1), the inner wall fixedly connected with motor (2) of casing (1), the axle extension end of motor (2) runs through fixedly connected with makes grinding disc (3) behind the inner wall of casing (1), the first spacing ring (6) of outer wall fixedly connected with and second spacing ring (7) of casing (1), sleeve (8) have been cup jointed in the outer wall activity of casing (1), make grinding disc (3), first spacing ring (6) be located the inboard of sleeve (8), the outer wall of casing (1) runs through and is provided with dust absorption pipe (12), the inlet end of dust absorption pipe (12) is located the inboard of sleeve (8), the end of giving vent to anger of dust absorption pipe (12) has the dust catcher through hose connection, be provided with a plurality of stop gears between first spacing ring (6) and second spacing ring (7).
2. A wall grinding device for building decoration according to claim 1, characterized in that: the limiting mechanism comprises a screw rod (14), the screw rod (14) penetrates through the side wall of the sleeve (8), two ends of the screw rod (14) are fixedly connected with the outer walls of the first limiting ring (6) and the second limiting ring (7) respectively, the outer wall of the screw rod (14) is sleeved with a nut (16) in a threaded fit mode, and the nut (16) is located between the second limiting ring (7) and the sleeve (8).
3. A wall grinding device for building decoration according to claim 2, characterized in that: the outer wall of the screw rod (14) is movably sleeved with a spring (15), one end of the spring (15) abuts against the outer wall of the nut (16), and the other end of the spring (15) abuts against the side wall of the sleeve (8).
4. A wall grinding device for building decoration according to claim 1, characterized in that: a plurality of balls (9) are arranged on the inner wall of the opening of the sleeve (8), and part of the outer wall of each ball (9) is located on the outer side of the sleeve (8).
5. A wall grinding device for building decoration according to claim 4, characterized in that: the outer wall of the sleeve (8) is fixedly sleeved with a rubber sleeve (10), the balls (9) are located on the inner side of the rubber sleeve (10), and an air inlet (11) is formed in the top of the rubber sleeve (10).
6. A wall grinding device for building decoration according to claim 2, characterized in that: a plurality of ventilation holes (13) are uniformly formed in the outer wall of the shell (1), and scale strips (17) are arranged at the positions, corresponding to the screw rods (14), of the outer wall of the shell (1).
7. A wall grinding device for building decoration according to claim 1, characterized in that: the outer wall fixedly connected with handle (4) of casing (1), the outer wall of handle (4) is provided with switch (5), motor (2) and switch (5) electric connection.
CN202022799003.XU 2020-11-27 2020-11-27 A wall grinding device for building decoration Active CN214162486U (en)

Priority Applications (1)

Application Number Priority Date Filing Date Title
CN202022799003.XU CN214162486U (en) 2020-11-27 2020-11-27 A wall grinding device for building decoration

Applications Claiming Priority (1)

Application Number Priority Date Filing Date Title
CN202022799003.XU CN214162486U (en) 2020-11-27 2020-11-27 A wall grinding device for building decoration

Publications (1)

Publication Number Publication Date
CN214162486U true CN214162486U (en) 2021-09-10

Family

ID=77602742

Family Applications (1)

Application Number Title Priority Date Filing Date
CN202022799003.XU Active CN214162486U (en) 2020-11-27 2020-11-27 A wall grinding device for building decoration

Country Status (1)

Country Link
CN (1) CN214162486U (en)

Cited By (1)

* Cited by examiner, † Cited by third party
Publication number Priority date Publication date Assignee Title
CN114932471A (en) * 2022-01-26 2022-08-23 黄河水利职业技术学院 Wall polishing equipment for decoration and finishing engineering

Cited By (1)

* Cited by examiner, † Cited by third party
Publication number Priority date Publication date Assignee Title
CN114932471A (en) * 2022-01-26 2022-08-23 黄河水利职业技术学院 Wall polishing equipment for decoration and finishing engineering

Similar Documents

Publication Publication Date Title
CN109077680B (en) A device for cleaning the bottom of a dry ash-proof ceiling for household use
CN209717220U (en) A kind of roof grinding device of the construction with dust-absorbing function
CN109732477B (en) A door panel dust-free grinding device for paint-free doors
CN209579200U (en) Dust absorption grinding bench is used in plank processing
CN111015398A (en) A safety wall grinding machine without dead angle
CN214162486U (en) A wall grinding device for building decoration
CN210024705U (en) Dust-proof device of angle grinder
CN109107993B (en) Ash and dust removal device of industrial automation equipment
CN215999807U (en) Press down effectual wall for building engineering and grind flat device
CN217493660U (en) Decorate engineering with dustless wall polisher
CN217493734U (en) Grinding device for machine manufacturing
CN222244239U (en) Polishing and grinding device for aluminum veneers
CN110253379B (en) Glass steel processing corner grinding device
CN221658794U (en) A grinding mechanism for producing PVC floor
CN112405164A (en) Wood floor polisher
CN215457722U (en) Corridor with cleaning function
CN214817806U (en) Scrap collecting device for steel pipe production and processing
CN222383107U (en) Walking type dust removing device for cleaning service of building outer wall
CN221248050U (en) Dust absorption formula grinding device of wall
CN220533786U (en) Safety shoe production line
CN223071088U (en) A workpiece flat grinding machine
CN219987069U (en) Wall surface finishing device for interior decoration
CN219189611U (en) Wall surface grinding equipment for interior wall painting
CN219170361U (en) Building wall polisher
CN223000233U (en) Fishing rod grinding device for fishing gear production

Legal Events

Date Code Title Description
GR01 Patent grant
GR01 Patent grant
TR01 Transfer of patent right
TR01 Transfer of patent right

Effective date of registration: 20250514

Address after: 210000 Jiangsu Province, Nanjing City, Jiangning District, Jiangning High-tech Industrial Park, Lize Road 99, Building 9, 202 Room (Jiangning Hi-Tech Park)

Patentee after: Zhongling Construction (Jiangsu) Co.,Ltd.

Country or region after: China

Address before: 300000 Meichang Town, Wuqing District, Tianjin

Patentee before: Tianjin Jingcheng Architectural Decoration Engineering Co.,Ltd.

Country or region before: China