CN214158878U - A low-pressure pulse single-machine dust collector - Google Patents

A low-pressure pulse single-machine dust collector Download PDF

Info

Publication number
CN214158878U
CN214158878U CN202023134361.5U CN202023134361U CN214158878U CN 214158878 U CN214158878 U CN 214158878U CN 202023134361 U CN202023134361 U CN 202023134361U CN 214158878 U CN214158878 U CN 214158878U
Authority
CN
China
Prior art keywords
fixedly connected
low
dust
plate
dust removal
Prior art date
Legal status (The legal status is an assumption and is not a legal conclusion. Google has not performed a legal analysis and makes no representation as to the accuracy of the status listed.)
Expired - Fee Related
Application number
CN202023134361.5U
Other languages
Chinese (zh)
Inventor
孟兴蛟
丁恒
Current Assignee (The listed assignees may be inaccurate. Google has not performed a legal analysis and makes no representation or warranty as to the accuracy of the list.)
Wu Chaoqiang
Original Assignee
Kunming Guangze Environmental Protection Equipment Co ltd
Priority date (The priority date is an assumption and is not a legal conclusion. Google has not performed a legal analysis and makes no representation as to the accuracy of the date listed.)
Filing date
Publication date
Application filed by Kunming Guangze Environmental Protection Equipment Co ltd filed Critical Kunming Guangze Environmental Protection Equipment Co ltd
Priority to CN202023134361.5U priority Critical patent/CN214158878U/en
Application granted granted Critical
Publication of CN214158878U publication Critical patent/CN214158878U/en
Expired - Fee Related legal-status Critical Current
Anticipated expiration legal-status Critical

Links

Images

Landscapes

  • Cleaning In General (AREA)

Abstract

本实用新型公开了除尘设备技术领域的一种低压脉冲单机除尘器,包括机架、除尘箱、低压脉冲单机除尘器本体、第一电机和第二电机,其特征在于:所述机架的表面安装有除尘箱,且除尘箱的内壁固定连接有密封座,所述密封座的内壁固定连接有固定板,且固定板的表面固定连接有震动弹簧,所述震动弹簧的表面固定连接有安装板,且安装板的表面固定连接有低压脉冲单机除尘器本体,所述密封座的内壁固定连接有复位弹簧,且复位弹簧的一端固定连接有密封板,本实用新型解决现有的低压脉冲单机除尘器在使用过程中潮湿的会在粘附在过滤网表面造成过滤网堵塞和潮湿的灰尘粘附会使除尘网除尘效率低下并且需要经常清洗的问题。

Figure 202023134361

The utility model discloses a low-voltage pulse single-machine dust collector in the technical field of dust removal equipment, comprising a frame, a dust box, a low-voltage pulse single-machine dust collector body, a first motor and a second motor. A dust removal box is installed, and the inner wall of the dust removal box is fixedly connected with a sealing seat, the inner wall of the sealing seat is fixedly connected with a fixing plate, and the surface of the fixing plate is fixedly connected with a vibration spring, and the surface of the vibration spring is fixedly connected with a mounting plate , and the surface of the mounting plate is fixedly connected with the low-voltage pulse single-machine dust collector body, the inner wall of the sealing seat is fixedly connected with a return spring, and one end of the return spring is fixedly connected with a sealing plate, the utility model solves the existing low-voltage pulse single-machine dust collector. During use, the wet filter will adhere to the surface of the filter screen, causing the filter screen to be blocked and wet dust adhesion, which will make the dust removal screen inefficient and require frequent cleaning.

Figure 202023134361

Description

Low-voltage pulse single-machine dust remover
Technical Field
The utility model relates to a dust collecting equipment technical field specifically is a low pressure pulse unit dust remover.
Background
The long-bag low-pressure pulse dust collector is high-efficiency bag-type dust collecting equipment with advanced level, and is large-scale dust collecting equipment with large air handling quantity, good dust cleaning effect, high dust collecting efficiency, reliable operation, convenient maintenance and small occupied area.
SUMMERY OF THE UTILITY MODEL
An object of the utility model is to provide a low pressure pulse unit dust remover to solve the problem that proposes among the above-mentioned background art.
In order to achieve the above object, the utility model provides a following technical scheme: the utility model provides a low pressure pulse unit dust remover, includes frame, dust removal case, low pressure pulse unit dust remover body, first motor and second motor, its characterized in that: the surface of the frame is provided with a dust removal box, the inner wall of the dust removal box is fixedly connected with a sealing seat, the inner wall of the sealing seat is fixedly connected with a fixed plate, the surface of the fixed plate is fixedly connected with a vibration spring, the surface of the vibration spring is fixedly connected with a mounting plate, the surface of the mounting plate is fixedly connected with a low-voltage pulse single-machine dust collector body, the inner wall of the sealing seat is fixedly connected with a return spring, one end of the return spring is fixedly connected with a sealing plate, the surface of the sealing plate is fixedly connected with a sealing gasket, the surface of the dust removal box is fixedly connected with a first fixing seat, the surface of the first fixing seat is fixedly connected with a first motor, the interior of the first motor is fixedly connected with a first rotating shaft, one end of the first rotating shaft is fixedly connected with a control gear, the interior of the dust removal box is provided with a mounting seat, and the interior of the mounting seat is provided with a connecting gear, the utility model discloses a dust removal case, including connection gear, dust removal case, connecting gear, and connecting gear, wherein a second, and a second, a second and a second rotating shaft, and a second rotating shaft, are fixedly connected to the inside and a second motor are installed inside of a second and a.
Preferably, the inside of the sealing seat is hollowed, a sliding groove is formed in the inner wall of one side of the sealing seat, and two groups of limiting holes are formed in the inner wall of the sliding groove formed in the inner wall of the sealing seat.
Preferably, the inside of fixed plate is provided with the fretwork hole, the inside of vibrations spring is provided with the fretwork hole, and the inside fretwork hole that sets up of vibrations spring is perpendicular with the inside hole top that sets up of fixed plate, the surface of mounting panel is provided with the lug, and the lug that the mounting panel surface set up inserts and establish in the inside spout that sets up of seal receptacle, the spout that the mounting panel passed dust removal case surface and set up is in the external world.
Preferably, the sealing plates are symmetrically distributed on the upper side and the lower side of the surface of the mounting plate, and the surfaces of the two sealing plates are provided with sealing gaskets.
Preferably, the collecting plate penetrates through the inside of the mounting seat and is inserted into the dust removal box, and the collecting plate is vertically arranged above the low-voltage pulse single-machine dust remover body.
Preferably, the pressure plate and the mounting plate are horizontally distributed.
Compared with the prior art, the beneficial effects of the utility model are that: the utility model discloses an install low pressure pulse unit dust remover body on the mounting panel, the operation of second motor can drive the mounting panel and slide from top to bottom in the seal receptacle simultaneously, make the low pressure pulse unit dust remover body of mounting panel top installation can vibrate from top to bottom under the effect of mounting panel extrusion vibrations spring, make the dust of low pressure pulse unit dust remover body surface adhesion vibrated down, first motor drive collection board slides in the dust removal incasement simultaneously, can collect the dust of shaking the dust removal incasement portion, the utility model provides a current low pressure pulse unit dust remover moist can cause filter screen blocking and moist dust adhesion to make dust removal net dust collection efficiency low and need frequent abluent problem on the filter screen surface at the adhesion in the use.
Drawings
FIG. 1 is a schematic sectional view of the structure of the present invention;
FIG. 2 is an enlarged schematic view of the structure at A in FIG. 1 according to the present invention;
FIG. 3 is a schematic three-dimensional cross-sectional view of the structure of the present invention;
FIG. 4 is a schematic three-dimensional cross-sectional view of the structure of the present invention;
FIG. 5 is a schematic top view of the structure of the present invention;
fig. 6 is a schematic diagram of the three-dimensional cross section of the structure of the present invention.
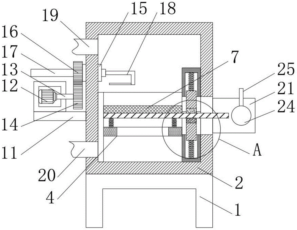
In the figure: 1. a frame; 2. a dust removal box; 3. a sealing seat; 4. a fixing plate; 5. vibrating the spring; 6. mounting a plate; 7. a low-voltage pulse single-machine dust collector body; 8. a return spring; 9. a sealing plate; 10. a gasket; 11. a first fixed seat; 12. a first motor; 13. a first rotating shaft; 14. a control gear; 15. a mounting seat; 16. a connecting gear; 17. a screw rod; 18. a collection plate; 19. an air inlet; 20. an air outlet; 21. a second fixed seat; 22. a second motor; 23. a second rotating shaft; 24. a turntable; 25. and (7) pressing a plate.
Detailed Description
The technical solutions in the embodiments of the present invention will be described clearly and completely with reference to the accompanying drawings in the embodiments of the present invention, and it is obvious that the described embodiments are only some embodiments of the present invention, not all embodiments. Based on the embodiments in the present invention, all other embodiments obtained by a person skilled in the art without creative work belong to the protection scope of the present invention.
Referring to fig. 1-6, the present invention provides a technical solution: a low-voltage pulse single-machine dust remover comprises a frame 1, a dust removing box 2, a low-voltage pulse single-machine dust remover body 7, a first motor 12 and a second motor 22, wherein the surface of the frame 1 is provided with the dust removing box 2, the inner wall of the dust removing box 2 is fixedly connected with a seal seat 3, the inner wall of the seal seat 3 is fixedly connected with a fixed plate 4, the surface of the fixed plate 4 is fixedly connected with a vibration spring 5, the surface of the vibration spring 5 is fixedly connected with a mounting plate 6, the surface of the mounting plate 6 is fixedly connected with the low-voltage pulse single-machine dust remover body 7, the inner wall of the seal seat 3 is fixedly connected with a return spring 8, one end of the return spring 8 is fixedly connected with a seal plate 9, the surface of the seal plate 9 is fixedly connected with a seal gasket 10, the surface of the dust removing box 2 is fixedly connected with a first fixing seat 11, the surface of the, and the one end fixedly connected with control gear 14 of first axis of rotation 13, the internally mounted of dust removal case 2 has mount pad 15, and the internally mounted of mount pad 15 has connecting gear 16, connecting gear 16's inside is inserted and is equipped with lead screw 17, and the one end fixedly connected with collecting plate 18 of lead screw 17, the inside fixedly connected with air inlet 19 of dust removal case 2, the inside fixedly connected with gas outlet 20 of dust removal case 2, the fixed surface of dust removal case 2 is connected with second fixing base 21, and the fixed surface of second fixing base 21 is connected with second motor 22, the internally mounted of second motor 22 has second axis of rotation 23, and the fixed surface of second axis of rotation 23 one end fixedly connected with carousel 24, the fixed surface of carousel 24 is connected with clamp plate 25.
The interior of the sealing seat 3 is hollowed, a sliding groove is formed in the inner wall of one side of the sealing seat 3, two groups of limiting holes are formed in the inner wall of the sliding groove formed in the inner wall of the sealing seat 3, and the low-pressure pulse single-machine dust collector body 7 can slide up and down in the sealing seat 3 in the filtering process through the structural assembly of the sealing seat 3, so that wet dust adhered to the surface of the low-pressure pulse single-machine dust collector body 7 can fall off under the action of vibration;
the low-voltage pulse single-machine dust collector comprises a fixing plate 4, a vibration spring 5, a mounting plate 6 and a second motor 22, wherein hollow holes are formed in the fixing plate 4, the hollow holes are formed in the vibration spring 5, the hollow holes formed in the vibration spring 5 are perpendicular to the holes formed in the fixing plate 4, bumps are arranged on the surface of the mounting plate 6, the bumps arranged on the surface of the mounting plate 6 are inserted into sliding grooves formed in a sealing seat 3, the mounting plate 6 penetrates through the sliding grooves formed in the surface of a dust collection box 2 to be located outside, through the hollow holes formed in the fixing plate 4 and the vibration spring 5, dust filtration can be conducted on a low-voltage pulse single-machine dust collector body 7, meanwhile, the mounting plate 6 is inserted into the sealing seat 3 and the dust collection box 2, the mounting plate 6 can be driven;
the sealing plates 9 are symmetrically distributed on the upper side and the lower side of the surface of the mounting plate 6 in two groups, the sealing gaskets 10 are arranged on the surfaces of the sealing plates 9, and the sealing gaskets 10 arranged on the sealing plates 9 are attached to the surface of the mounting plate 6, so that the inside of the dust removal box 2 is always kept in a sealing state in the process that the mounting plate 6 slides up and down in the sealing seat 3, and dust leakage is prevented;
the collecting plate 18 penetrates through the inside of the mounting seat 15 and is inserted into the dust removing box 2, the collecting plate 18 is vertically arranged above the low-voltage pulse single-machine dust remover body 7, and the collecting plate 18 horizontally slides above the low-voltage pulse single-machine dust remover body 7, so that the collecting plate 18 can collect dust which is vibrated into the air by the low-voltage pulse single-machine dust remover body 7 in the sliding process;
the pressing plate 25 and the mounting plate 6 are horizontally distributed, the pressing plate 25 is driven to rotate through the operation of the second motor 22, the mounting plate 6 can be indirectly knocked to slide downwards in the rotating process of the pressing plate 25, and the mounting plate 6 can intermittently extrude the vibration spring 5 to vibrate in the fixing plate 4.
The working principle is as follows: according to the attached drawings 1-6, by starting the second motor 22 to operate, the second motor 22 drives the second rotating shaft 23 to be connected with the rotating disc 24 to vibrate and rotate, so that the rotating disc 24 drives the pressing plate 25 to rotate, the pressing plate 25 intermittently presses the lug of the mounting plate 6 extending out of the dust removing box 2 during the rotation process, so that the mounting plate 6 extrudes the vibration spring 5 to slide downwards in the seal seat 3, and simultaneously vibrates under the elastic force of the vibration spring 5, the mounting plate 6 drives the low-voltage pulse single-machine dust remover body 7 to vibrate in the dust removing box 2 during the vibration process, so that the wet dust adhered to the surface of the low-voltage pulse single-machine dust remover body 7 is vibrated, and simultaneously, the first motor 12 is started to operate and drive the first rotating shaft 13 to be connected with the control gear 14 to rotate, so that the control gear 14 is meshed with the connecting gear 16 to rotate, and the inner wall thread kneading screw rod 17 rotates on the surface during the rotation of the connecting gear 16, the control screw rod 17 is connected with the collecting plate 18 to move horizontally in the dust removing box 2, so that the collecting plate 18 can collect dust which is vibrated to the air by the low-voltage pulse single-machine dust remover body 7 in the sliding process.
Although embodiments of the present invention have been shown and described, it will be appreciated by those skilled in the art that changes, modifications, substitutions and alterations can be made in these embodiments without departing from the principles and spirit of the invention, the scope of which is defined in the appended claims and their equivalents.

Claims (6)

1. The utility model provides a low pressure pulse stand-alone dust remover, includes frame (1), dust removal case (2), low pressure pulse stand-alone dust remover body (7), first motor (12) and second motor (22), its characterized in that: the surface mounting of frame (1) has dust removal case (2), and the inner wall fixedly connected with seal receptacle (3) of dust removal case (2), the inner wall fixedly connected with fixed plate (4) of seal receptacle (3), and the fixed surface of fixed plate (4) is connected with vibrations spring (5), the fixed surface of vibrations spring (5) is connected with mounting panel (6), and the fixed surface of mounting panel (6) is connected with low-voltage pulse unit dust remover body (7), the inner wall fixedly connected with reset spring (8) of seal receptacle (3), and the one end fixedly connected with closing plate (9) of reset spring (8), the fixed surface of closing plate (9) is connected with sealed pad (10), the fixed surface of dust removal case (2) is connected with first fixing base (11), and the fixed surface of first fixing base (11) is connected with first motor (12), the dust removal device comprises a first motor (12), a first rotating shaft (13) fixedly connected to the inside of the first motor (12), a control gear (14) fixedly connected to one end of the first rotating shaft (13), a mounting seat (15) installed inside the dust removal box (2), a connecting gear (16) installed inside the mounting seat (15), a lead screw (17) inserted inside the connecting gear (16), a collecting plate (18) fixedly connected to one end of the lead screw (17), an air inlet (19) fixedly connected to the inside of the dust removal box (2), an air outlet (20) fixedly connected to the inside of the dust removal box (2), a second fixing seat (21) fixedly connected to the surface of the dust removal box (2), a second motor (22) fixedly connected to the surface of the second fixing seat (21), a second rotating shaft (23) installed inside the second motor (22), and a turntable (24) fixedly connected to one end of the second rotating shaft (23), and the surface of the rotary table (24) is fixedly connected with a pressure plate (25).
2. A low-pressure pulse stand-alone dust collector as claimed in claim 1, wherein: the sealing seat is characterized in that the sealing seat (3) is hollowed out, a sliding groove is formed in the inner wall of one side of the sealing seat (3), and two groups of limiting holes are formed in the inner wall of the sliding groove formed in the inner wall of the sealing seat (3).
3. A low-pressure pulse stand-alone dust collector as claimed in claim 1, wherein: the inside of fixed plate (4) is provided with the fretwork hole, the inside of vibrations spring (5) is provided with the fretwork hole, and the inside fretwork hole that sets up of vibrations spring (5) is perpendicular with the hole top of the inside setting of fixed plate (4), the surface of mounting panel (6) is provided with the lug, and the lug that mounting panel (6) surface set up inserts and establish in seal receptacle (3) inside spout that sets up, the spout that dust removal case (2) surface set up is passed in mounting panel (6) is in the external world.
4. A low-pressure pulse stand-alone dust collector as claimed in claim 1, wherein: the sealing plates (9) are symmetrically distributed on the upper side and the lower side of the surface of the mounting plate (6), and the surfaces of the two sealing plates (9) are provided with sealing gaskets (10).
5. A low-pressure pulse stand-alone dust collector as claimed in claim 1, wherein: the collecting plate (18) penetrates through the inside of the mounting seat (15) and is inserted into the dust removing box (2), and the collecting plate (18) is vertically mounted above the low-voltage pulse single-machine dust remover body (7).
6. A low-pressure pulse stand-alone dust collector as claimed in claim 1, wherein: the pressing plate (25) and the mounting plate (6) are horizontally distributed.
CN202023134361.5U 2020-12-23 2020-12-23 A low-pressure pulse single-machine dust collector Expired - Fee Related CN214158878U (en)

Priority Applications (1)

Application Number Priority Date Filing Date Title
CN202023134361.5U CN214158878U (en) 2020-12-23 2020-12-23 A low-pressure pulse single-machine dust collector

Applications Claiming Priority (1)

Application Number Priority Date Filing Date Title
CN202023134361.5U CN214158878U (en) 2020-12-23 2020-12-23 A low-pressure pulse single-machine dust collector

Publications (1)

Publication Number Publication Date
CN214158878U true CN214158878U (en) 2021-09-10

Family

ID=77608327

Family Applications (1)

Application Number Title Priority Date Filing Date
CN202023134361.5U Expired - Fee Related CN214158878U (en) 2020-12-23 2020-12-23 A low-pressure pulse single-machine dust collector

Country Status (1)

Country Link
CN (1) CN214158878U (en)

Cited By (1)

* Cited by examiner, † Cited by third party
Publication number Priority date Publication date Assignee Title
CN115624800A (en) * 2022-10-27 2023-01-20 哈尔滨凯纳科技股份有限公司 An outdoor water supply pumping station capable of remote monitoring

Cited By (1)

* Cited by examiner, † Cited by third party
Publication number Priority date Publication date Assignee Title
CN115624800A (en) * 2022-10-27 2023-01-20 哈尔滨凯纳科技股份有限公司 An outdoor water supply pumping station capable of remote monitoring

Similar Documents

Publication Publication Date Title
CN214158878U (en) A low-pressure pulse single-machine dust collector
CN215692497U (en) Special filter bag for high-humidity high-acid low-temperature working condition
CN220699263U (en) An industrial design product appearance shaping device
CN216963894U (en) Dust collector with self-cleaning function
CN218598337U (en) Compressor air cleaner convenient to clearance
CN222495313U (en) Exhaust device for screw extruder
CN222288293U (en) Chip collection device is used in wood-based plate production and processing
CN223030407U (en) A new type of external press
CN222352492U (en) Energy-saving air-conditioning dust filter structure
CN222607147U (en) Dustproof sand screening device
CN222400706U (en) A dust removal device for electronic products
CN216320593U (en) Can clean sack pulse dust collector of dust automatically to filter screen
CN219023615U (en) A pulse cloth tube dust collector
CN223252089U (en) A dust removal device for rubber compound production
CN112681646A (en) Television background wall with indoor air cleaning function
CN222034043U (en) Dust collector is used in PVC floor processing production
CN221964788U (en) Gas emission filter equipment for environmental detection
CN223668880U (en) Waste gas recovery filter equipment when waste incineration
CN223337755U (en) A metallic silicon powder screening device with dust removal function
CN221983156U (en) Multi-layer powder coating screening device
CN218790270U (en) A device for recovering raw materials after pressing and molding tableted candies
CN216150334U (en) An environmentally friendly vibrating screen machine for screening liquor raw materials
CN206064012U (en) A kind of automatically cleaning bag filter
CN215137562U (en) Medium separation device for pharmacy
CN222490966U (en) Impurity removing equipment

Legal Events

Date Code Title Description
GR01 Patent grant
GR01 Patent grant
TR01 Transfer of patent right
TR01 Transfer of patent right

Effective date of registration: 20241101

Address after: No. 1, 4th Floor, Unit 4, Building 1, Baijiao Coal Mine Concentration Area, No. 2, Xunchang Town, Gong County, Yibin City, Sichuan Province, China 644500

Patentee after: Wu Chaoqiang

Country or region after: China

Address before: Room 302, 3rd floor, unit 1, building 8, Guolin Xigu garden, plot 9, information industry base, Kunming Economic Development Zone, 650000, Yunnan Province

Patentee before: Kunming Guangze environmental protection equipment Co.,Ltd.

Country or region before: China

CF01 Termination of patent right due to non-payment of annual fee
CF01 Termination of patent right due to non-payment of annual fee

Granted publication date: 20210910