CN214133770U - A mold for nail production - Google Patents

A mold for nail production Download PDF

Info

Publication number
CN214133770U
CN214133770U CN202023134955.6U CN202023134955U CN214133770U CN 214133770 U CN214133770 U CN 214133770U CN 202023134955 U CN202023134955 U CN 202023134955U CN 214133770 U CN214133770 U CN 214133770U
Authority
CN
China
Prior art keywords
fixedly connected
mold
die
nail production
dust
Prior art date
Legal status (The legal status is an assumption and is not a legal conclusion. Google has not performed a legal analysis and makes no representation as to the accuracy of the status listed.)
Expired - Fee Related
Application number
CN202023134955.6U
Other languages
Chinese (zh)
Inventor
张志山
Current Assignee (The listed assignees may be inaccurate. Google has not performed a legal analysis and makes no representation or warranty as to the accuracy of the list.)
Tianjin Beiersimei Technology Co ltd
Original Assignee
Tianjin Beiersimei Technology Co ltd
Priority date (The priority date is an assumption and is not a legal conclusion. Google has not performed a legal analysis and makes no representation as to the accuracy of the date listed.)
Filing date
Publication date
Application filed by Tianjin Beiersimei Technology Co ltd filed Critical Tianjin Beiersimei Technology Co ltd
Priority to CN202023134955.6U priority Critical patent/CN214133770U/en
Application granted granted Critical
Publication of CN214133770U publication Critical patent/CN214133770U/en
Expired - Fee Related legal-status Critical Current
Anticipated expiration legal-status Critical

Links

Images

Landscapes

  • Moulds For Moulding Plastics Or The Like (AREA)

Abstract

本实用新型公开了一种钉子生产用模具,包括底模,所述底模的顶部中间位置开设有放置槽,所述放置槽的一端设置有固定块,所述固定块的一端固定连接有弹簧,所述弹簧的一端固定连接有固定杆,所述固定杆的一端固定连接有弧形夹板,所述固定块的另一端固定连接有第二电动推杆,所述放置槽的内部顶部与底部均设置有减震垫。本实用新型中,当在工作的时候会产生一些屑沫,在底模的两侧设置有静电吸附膜,在上模的两侧设置有吸尘孔,吸尘孔内设置有吸尘膜,启动第一电动推杆工作时,利用吸尘孔内的吸尘膜与静电吸附膜对屑沫进行吸附,同时在底模的内部设置有减震泡棉与泡沫,减少在工作时候的震动,值得大力推广。

Figure 202023134955

The utility model discloses a nail production mold, comprising a bottom mold, a placement groove is provided at the middle position of the top of the bottom mold, one end of the placement groove is provided with a fixing block, and one end of the fixing block is fixedly connected with a spring One end of the spring is fixedly connected with a fixed rod, one end of the fixed rod is fixedly connected with an arc splint, the other end of the fixed block is fixedly connected with a second electric push rod, and the top and bottom of the placement slot are Both are equipped with shock pads. In the utility model, some dust will be generated when working, electrostatic adsorption films are arranged on both sides of the bottom mold, and dust-absorbing holes are arranged on both sides of the upper mold, and dust-absorbing films are arranged in the dust-absorbing holes. When the first electric push rod is started to work, the dust-absorbing film and the electrostatic adsorption film in the dust-absorbing hole are used to absorb the debris. It is worth promoting.

Figure 202023134955

Description

Mould is used in nail production
Technical Field
The utility model relates to a building technical field especially relates to a mould is used in nail production.
Background
Nails, which are hard metal having a pointed shape, are used for fixing wooden objects, etc., and are used for driving nails into objects by hammers, recently, electric nailing guns and gas nailing guns have been developed, and nails, which are capable of fixing objects, are hooked on the objects by deformation of the nails themselves, and are used in the construction industry by friction.
Along with the development of society, the nail often sees in the life, but need use the mould at the in-process of production nail, present mould can not effectual fixed in the in-process of using, goes wrong easily, increases manufacturing cost, and in the time of making, there is the bits foam to produce simultaneously and in the time of making, the vibrations that the organism produced also can cause bad influence.
SUMMERY OF THE UTILITY MODEL
The utility model aims at solving the defects existing in the prior art and providing a mold for nail production.
In order to achieve the above purpose, the utility model adopts the following technical scheme: a mold for nail production comprises a bottom mold, wherein a placing groove is arranged in the middle of the top of the bottom mold, one end of the placing groove is provided with a fixed block, one end of the fixed block is fixedly connected with a spring, one end of the spring is fixedly connected with a fixed rod, one end of the fixed rod is fixedly connected with an arc-shaped clamping plate, the other end of the fixed block is fixedly connected with a second electric push rod, the top and the bottom of the inner part of the placing groove are both provided with shock-absorbing pads, both sides of the top end of the bottom die are fixedly connected with sliding rods, the tops of the sliding rods are connected with the upper die in a sliding manner, dust suction holes are arranged on both sides of the top of the upper die, a stamping body is fixedly connected in the middle of the upper die, the top fixedly connected with first casing of going up the mould, the inside fixedly connected with electric putter of first casing, the inside intermediate position of die block is provided with the shock attenuation bubble cotton.
As a further description of the above technical solution:
and a fastening pad is arranged in the arc-shaped clamping plate.
As a further description of the above technical solution:
and a second shell is fixedly connected to the outside of the second electric push rod.
As a further description of the above technical solution:
and two ends of the second shell are fixedly connected to the outer side wall of the bottom die.
As a further description of the above technical solution:
and the top and the bottom of the bottom die are both provided with electrostatic adsorption films.
As a further description of the above technical solution:
and a dust absorption film is arranged in the dust absorption hole.
As a further description of the above technical solution:
one end of the first electric push rod is fixedly connected with the top of the upper die.
As a further description of the above technical solution:
and foam boards are arranged at the top and the bottom of the inside of the bottom die.
The utility model discloses following beneficial effect has:
1. the utility model discloses in, at first be provided with the second casing in the both sides of die block, the inside of second casing is provided with second electric putter, second electric putter's one end fixedly connected with fixed block, the one end fixedly connected with spring of fixed block, the one end of spring is provided with arc splint and fastening pad, be provided with the standing groove simultaneously at the intermediate position of die block, start second electric putter and utilize fixed block, spring and arc splint to carry out the fixed clamp to the nail of standing groove and press from both sides tightly, prevent that insecure influence production efficiency in work.
2. The utility model discloses in, can produce some bits foams when work, be provided with the electrostatic absorption membrane in the both sides of die block, be provided with the dust absorption hole in the both sides of last mould, the downthehole dust absorption membrane that is provided with of dust absorption starts first electric putter during operation, utilizes the downthehole dust absorption membrane of dust absorption and electrostatic absorption membrane to adsorb the bits foam, is provided with shock attenuation bubble cotton and foam simultaneously in the inside of die block, reduces the vibrations at the operating time, is worth widely promoting.
Drawings
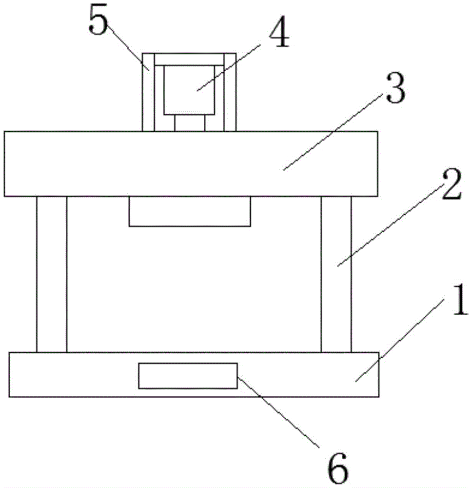
Fig. 1 is a schematic structural view of a nail production mold according to the present invention;
fig. 2 is a top view of a bottom film of the nail production mold of the present invention;
fig. 3 is a schematic structural view of a fixing block of the nail production mold of the present invention;
fig. 4 is a schematic structural view of an upper die of the nail production die provided by the present invention;
fig. 5 is a schematic view of the internal structure of the bottom film of the mold for nail production according to the present invention.
Illustration of the drawings:
1. bottom die; 2. a slide rod; 3. an upper die; 4. a first electric push rod; 5. a first housing; 6. a second housing; 7. a second electric push rod; 8. a fixed block; 9. a placement groove; 10. a spring; 11. fixing the rod; 12. An arc-shaped splint; 13. a fastening pad; 14. a dust collection hole; 15. a punch; 16. an electrostatic adsorption film; 17. A shock pad; 18. a dust-collecting film; 19. shock absorption foam; 20. a foam board.
Detailed Description
The technical solutions in the embodiments of the present invention will be described clearly and completely with reference to the accompanying drawings in the embodiments of the present invention, and it is obvious that the described embodiments are only some embodiments of the present invention, not all embodiments. Based on the embodiments in the present invention, all other embodiments obtained by a person skilled in the art without creative work belong to the protection scope of the present invention.
In the description of the present invention, it should be noted that the terms "center", "upper", "lower", "left", "right", "vertical", "horizontal", "inner", "outer", and the like indicate orientations or positional relationships based on the orientations or positional relationships shown in the drawings, and are only for convenience of description and simplification of description, but do not indicate or imply that the device or element referred to must have a specific orientation, be constructed and operated in a specific orientation, and thus, should not be construed as limiting the present invention; the terms "first," "second," and "third" are used for descriptive purposes only and are not to be construed as indicating or implying relative importance, and furthermore, unless otherwise explicitly stated or limited, the terms "mounted," "connected," and "connected" are to be construed broadly and may be, for example, fixedly connected, detachably connected, or integrally connected; can be mechanically or electrically connected; they may be connected directly or indirectly through intervening media, or they may be interconnected between two elements. The specific meaning of the above terms in the present invention can be understood in specific cases to those skilled in the art.
Referring to fig. 1-5, the present invention provides an embodiment: a mold for nail production comprises a bottom mold 1, a placement groove 9 is formed in the middle position of the top of the bottom mold 1, a fixed block 8 is arranged at one end of the placement groove 9, a spring 10 is fixedly connected to one end of the fixed block 8, a fixed rod 11 is fixedly connected to one end of the spring 10, an arc-shaped clamping plate 12 is fixedly connected to one end of the fixed rod 11, a second electric push rod 7 is fixedly connected to the other end of the fixed block 8, second housings 6 are arranged on two sides of the bottom mold 1, a second electric push rod 7 is arranged inside the second housing 6, a fixed block 8 is fixedly connected to one end of the second electric push rod 7, a spring 10 is fixedly connected to one end of the fixed block 8, an arc-shaped clamping plate 12 and a fastening pad 13 are arranged at one end of the spring 10, a placement groove 9 is arranged in the middle position of the bottom mold 1, the second electric push rod 7 is started, the fixed block 8, the spring 10 and the arc-shaped clamping plate 12 are used for fixedly clamping nails in the placement groove 9, prevent insecure influence production efficiency in the time of work, the inside top and the bottom of standing groove 9 all are provided with shock pad 17, when in the operation, utilize shock pad 17 can reduce the vibrations of whole standing groove 9, the equal fixedly connected with litter 2 in top both sides of die block 1, mould 3 on the top sliding connection of litter 2, the top both sides of going up mould 3 all are provided with dust absorption hole 14, go up the intermediate position fixedly connected with punching press body 15 of mould 3, the first casing 5 of top fixedly connected with of going up mould 3, the first electric putter 4 of inside fixedly connected with of first casing 5, the inside intermediate position of die block 1 is provided with the shock attenuation bubble cotton 19, vibrations when reducing punching press body 15 and pushing down, play absorbing effect.
Arc splint 12's inside is provided with fastening pad 13, fastening pad 13 can be fixed the work piece, the operation of being convenient for, second electric putter 7's outside fixedly connected with second casing 6, utilize second casing 6 to protect second electric putter 7, the both ends fixed connection of second casing 6 is at the lateral wall of die block 1, it is convenient fixed, the top and the bottom of die block 1 all are provided with electrostatic adsorption membrane 16, utilize electrostatic adsorption membrane 16 to adsorb bits foam, the inside of dust absorption hole 14 is provided with dust absorption membrane 18, dust absorption membrane 18 can adsorb dust bits foam, the one end of first electric putter 4 and the top fixed connection of last mould 3, the inside top and the bottom of die block 1 all are provided with cystosepiment 20, cystosepiment 20 can vibration/noise reduction.
The working principle is as follows: when the die is used, firstly, the second shell 6 is arranged on two sides of the bottom die 1, the second electric push rod 7 is arranged in the second shell 6, one end of the second electric push rod 7 is fixedly connected with the fixed block 8, one end of the fixed block 8 is fixedly connected with the spring 10, one end of the spring 10 is provided with the arc-shaped clamping plate 12 and the fastening pad 13, the middle position of the bottom die 1 is provided with the placing groove 9, the second electric push rod 7 is started, nails in the placing groove 9 are fixedly clamped by the fixed block 8, the spring 10 and the arc-shaped clamping plate 12, production efficiency is prevented from being affected by insecurity in work, meanwhile, a plurality of scrap foams are generated in work, the electrostatic adsorption films 16 are arranged on two sides of the bottom die 1, the dust suction holes 14 are arranged on two sides of the upper die 3, the dust suction films 18 are arranged in the dust suction holes 14, when the first electric push rod 4 is started, the dust absorption films 18 and the electrostatic adsorption films 16 in the dust suction holes 14 are used for absorbing the scrap foams, meanwhile, the bottom die 1 is internally provided with damping foam 19 and a foam plate 20 to reduce vibration during working.
Finally, it should be noted that: although the present invention has been described in detail with reference to the foregoing embodiments, it will be apparent to those skilled in the art that modifications and variations can be made in the embodiments or in part of the technical features of the embodiments without departing from the spirit and the scope of the invention.

Claims (8)

1. The utility model provides a mould is used in nail production, includes die block (1), its characterized in that: the die comprises a bottom die (1), and is characterized in that a placement groove (9) is formed in the middle of the top of the bottom die (1), a fixed block (8) is arranged at one end of the placement groove (9), a spring (10) is fixedly connected to one end of the fixed block (8), a fixed rod (11) is fixedly connected to one end of the spring (10), an arc-shaped clamping plate (12) is fixedly connected to one end of the fixed rod (11), a second electric push rod (7) is fixedly connected to the other end of the fixed block (8), shock absorbing pads (17) are arranged at the top and the bottom of the interior of the placement groove (9), slide rods (2) are fixedly connected to both sides of the top end of the bottom die (1), an upper die (3) is slidably connected to the top of the slide rods (2), dust absorbing holes (14) are formed in both sides of the top of the upper die (3), and a stamping body (15) is fixedly connected to the middle of the upper die (3), go up the first casing of top fixedly connected with (5) of mould (3), the first electric putter (4) of inside fixedly connected with of first casing (5), the inside intermediate position of die block (1) is provided with shock attenuation bubble cotton (19).
2. The mold for nail production according to claim 1, wherein: and a fastening pad (13) is arranged in the arc-shaped clamping plate (12).
3. The mold for nail production according to claim 1, wherein: and a second shell (6) is fixedly connected to the outside of the second electric push rod (7).
4. The mold for nail production according to claim 3, wherein: and two ends of the second shell (6) are fixedly connected to the outer side wall of the bottom die (1).
5. The mold for nail production according to claim 1, wherein: and electrostatic adsorption films (16) are arranged at the top and the bottom of the bottom die (1).
6. The mold for nail production according to claim 1, wherein: and a dust absorption film (18) is arranged in the dust absorption hole (14).
7. The mold for nail production according to claim 1, wherein: one end of the first electric push rod (4) is fixedly connected with the top of the upper die (3).
8. The mold for nail production according to claim 1, wherein: and foam plates (20) are arranged at the top and the bottom of the interior of the bottom die (1).
CN202023134955.6U 2020-12-23 2020-12-23 A mold for nail production Expired - Fee Related CN214133770U (en)

Priority Applications (1)

Application Number Priority Date Filing Date Title
CN202023134955.6U CN214133770U (en) 2020-12-23 2020-12-23 A mold for nail production

Applications Claiming Priority (1)

Application Number Priority Date Filing Date Title
CN202023134955.6U CN214133770U (en) 2020-12-23 2020-12-23 A mold for nail production

Publications (1)

Publication Number Publication Date
CN214133770U true CN214133770U (en) 2021-09-07

Family

ID=77529162

Family Applications (1)

Application Number Title Priority Date Filing Date
CN202023134955.6U Expired - Fee Related CN214133770U (en) 2020-12-23 2020-12-23 A mold for nail production

Country Status (1)

Country Link
CN (1) CN214133770U (en)

Cited By (1)

* Cited by examiner, † Cited by third party
Publication number Priority date Publication date Assignee Title
EP4414082A4 (en) * 2021-10-06 2025-10-15 Creative Tech Corp ELECTRIC SEPARATOR FOR PRESSING MOULD AND PRESSING MOULD

Cited By (1)

* Cited by examiner, † Cited by third party
Publication number Priority date Publication date Assignee Title
EP4414082A4 (en) * 2021-10-06 2025-10-15 Creative Tech Corp ELECTRIC SEPARATOR FOR PRESSING MOULD AND PRESSING MOULD

Similar Documents

Publication Publication Date Title
CN211257373U (en) Sound insulation and shock absorption building wall
CN214133770U (en) A mold for nail production
CN217976517U (en) Vibration/noise reduction air compressor
CN212506848U (en) Sound insulation building board for building
CN213393283U (en) Impact-resistant energy-saving shock absorber for electric vehicle
CN210565098U (en) Shock-absorbing circulating water vacuum pump
CN214403889U (en) Low-noise air conditioner compressor
CN213382296U (en) An environmentally friendly punching and vacuuming equipment used in the construction field
CN212733735U (en) Stamping device for positive baffle groove
CN212772977U (en) High-efficient type wallboard mounting structure
CN211888214U (en) Ultrasonic cleaner of shock attenuation low noise
CN212190841U (en) Metal mold with shock absorption and noise reduction function
CN210147627U (en) Cutting machine with vibration/noise reduction function
CN211116468U (en) Type of making an uproar vacuum pump falls in antidetonation
CN210679006U (en) Low-noise wood cutting machine tool
CN214146418U (en) A combined rubber shock pad
CN216842118U (en) Gas compressor with noise reduction function
CN114346777A (en) Outer surface wire drawing device is used in nonrust steel pipe production and processing
CN213354384U (en) Sound insulation board suitable for automotive interior
CN211029710U (en) Vacuum adsorption bottom plate for mounting chips
CN211693355U (en) High-efficient damping device is used to stage stereo set
CN219819928U (en) Cutting device and EPP panel processing equipment
CN220614170U (en) Cushion block grooving device
CN215548303U (en) Auxiliary assembly tool for fingerprint buttons of mobile phone
CN214189966U (en) Efficient damping structure of electric baby carrier

Legal Events

Date Code Title Description
GR01 Patent grant
GR01 Patent grant
CF01 Termination of patent right due to non-payment of annual fee

Granted publication date: 20210907

CF01 Termination of patent right due to non-payment of annual fee