CN214119091U - Anti-blocking valve - Google Patents

Anti-blocking valve Download PDF

Info

Publication number
CN214119091U
CN214119091U CN202023291189.4U CN202023291189U CN214119091U CN 214119091 U CN214119091 U CN 214119091U CN 202023291189 U CN202023291189 U CN 202023291189U CN 214119091 U CN214119091 U CN 214119091U
Authority
CN
China
Prior art keywords
removal box
trash removal
valve body
rod
valve
Prior art date
Legal status (The legal status is an assumption and is not a legal conclusion. Google has not performed a legal analysis and makes no representation as to the accuracy of the status listed.)
Active
Application number
CN202023291189.4U
Other languages
Chinese (zh)
Inventor
哈鑫
Current Assignee (The listed assignees may be inaccurate. Google has not performed a legal analysis and makes no representation or warranty as to the accuracy of the list.)
Jiangxi Chaohong Energy Technology Co.,Ltd.
Original Assignee
Jiangxi Chaohong Industrial Co ltd
Priority date (The priority date is an assumption and is not a legal conclusion. Google has not performed a legal analysis and makes no representation as to the accuracy of the date listed.)
Filing date
Publication date
Application filed by Jiangxi Chaohong Industrial Co ltd filed Critical Jiangxi Chaohong Industrial Co ltd
Priority to CN202023291189.4U priority Critical patent/CN214119091U/en
Application granted granted Critical
Publication of CN214119091U publication Critical patent/CN214119091U/en
Active legal-status Critical Current
Anticipated expiration legal-status Critical

Links

Images

Landscapes

  • Details Of Valves (AREA)

Abstract

本实用新型涉及一种阀门,更具体地说,是一种防堵塞阀门,包括阀体,所述阀体的两端安装有法兰,法兰上设置有密封圈,阀体的中部安装有除杂箱,除杂箱的内部设置有过滤组件,除杂箱的顶板上固定安装有触发器,除杂箱侧面底部对称安装有电动伸缩杆,电动伸缩杆的伸出端固定连接有拉环,拉环滑动连接有定位柱,定位柱的中部安装有导向杆,滑块通过侧面安装的弹簧与弧形过滤网连接,本装置整体设计合理,结构紧凑,便于安装和拆卸,通过双层过滤,在不影响液体流速的情况下,能够将液体中的杂质除去,防止液体在流动的过程中发生阻塞,还能防逆流,并能自动的将装置中的杂质清除,使用起来较为方便,具有较高的实用价值。

Figure 202023291189

The utility model relates to a valve, in particular to an anti-clogging valve, comprising a valve body, flanges are installed at both ends of the valve body, sealing rings are arranged on the flanges, and a middle part of the valve body is installed with a flange. The trash removal box has a filter assembly inside the trash removal box, a trigger is fixedly installed on the top plate of the trash removal box, an electric telescopic rod is symmetrically installed at the bottom of the side of the trash removal box, and the extension end of the electric telescopic rod is fixedly connected with a pull ring , The pull ring is slidably connected with a positioning column, and a guide rod is installed in the middle of the positioning column. The slider is connected to the arc filter screen through a spring installed on the side. The overall design of the device is reasonable, compact, and easy to install and disassemble. , Under the condition of not affecting the liquid flow rate, it can remove impurities in the liquid, prevent the liquid from blocking during the flow, and can prevent backflow, and can automatically remove impurities in the device, which is more convenient to use and has higher practical value.

Figure 202023291189

Description

Anti-blocking valve
Technical Field
The utility model relates to a valve, more specifically say, prevent blockking up valve.
Background
The valve is very common and important spare part in the pipeline, and can take place certain change at valve department velocity of flow, the jam that causes easily, traditional valve, overall structure is comparatively simple, takes place to block up easily, need unpack apart during the jam just can clear up inside, handles comparatively trouble.
SUMMERY OF THE UTILITY MODEL
An object of the utility model is to provide a prevent stifled valve to solve the problem that proposes in the above-mentioned background art.
In order to achieve the above object, the utility model provides a following technical scheme:
an anti-blocking valve comprises a valve body, wherein flanges are installed at two ends of the valve body, a sealing ring is arranged on the flanges, an impurity removing box is installed in the middle of the valve body, a filtering component is arranged inside the impurity removing box and comprises a swing rod and a partition plate, a groove for the swing rod to swing is formed in the partition plate, a filtering net is installed on the swing rod, a limiting column is installed above the middle of the swing rod in the impurity removing box, a fixing plate is fixedly installed on one side of the partition plate, a longitudinal supporting spring is fixedly installed on the upper surface of the fixing plate, the top of the longitudinal supporting spring is installed on the swing rod, an arc-shaped filtering net is fixedly connected to the other side of the partition plate, electric telescopic rods are symmetrically installed at the bottom of the side face of the impurity removing box, a pull ring is fixedly connected to the extending end of each electric telescopic rod, the pull ring is slidably connected with a positioning column, a guide rod is installed in the middle of the positioning column, and a sliding block is fixedly installed on the side face of the guide rod, the slider is connected with the inner wall of the sleeve in a sliding manner, and the slider is connected with the arc-shaped filter screen through a spring arranged on the side face.
Further: the seal ring is made of rubber material.
Further: and a trigger is longitudinally and fixedly arranged at the top of the impurity removing box.
Further: the bottom of the sleeve is provided with a connecting hole, and a sewage discharge pipe is connected to the connecting hole in a threaded manner.
Further: the bottom of the partition board is provided with a plurality of through holes distributed at equal intervals.
Adopt the technical scheme provided by the utility model, compare with prior art, have following beneficial effect: this device overall design is reasonable, compact structure, and the installation and the dismantlement of being convenient for through double-deck filtration, under the condition that does not influence the liquid velocity of flow, can detach the impurity in the liquid, prevent that liquid from taking place to block at the in-process that flows, can also prevent against the current to can be automatic clear away the impurity in the device, it is comparatively convenient to use, has higher practical value.
Drawings
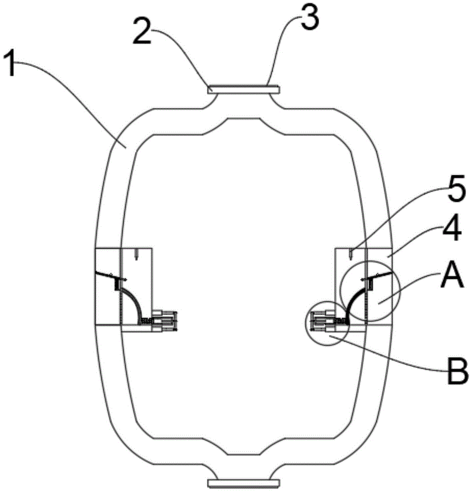
FIG. 1 is a schematic structural diagram of an anti-clogging valve;
FIG. 2 is a schematic perspective view of an electric telescopic rod in an anti-clogging valve;
FIG. 3 is a schematic view of the structure A in FIG. 1;
fig. 4 is a schematic structural diagram of B in fig. 1.
The reference numerals in the schematic drawings illustrate: the device comprises a valve body 1, a flange 2, a sealing ring 3, an impurity removing box 4, a trigger 5, a swing rod 6, a filter screen 7, a limiting column 8, a partition plate 9, an arc-shaped filter screen 10, a through hole 11, a longitudinal supporting spring 12, a fixing plate 13, a transverse supporting spring 14, a sliding block 15, a guide rod 16, a sleeve 17, an electric telescopic rod 18, a pull ring 19 and a positioning column 20.
Detailed Description
Reference will now be made in detail to embodiments of the present patent, examples of which are illustrated in the accompanying drawings, wherein like or similar reference numerals refer to the same or similar elements or elements having the same or similar function throughout. The embodiments described below with reference to the drawings are exemplary only for the purpose of explaining the present patent and are not to be construed as limiting the present patent.
In the description of this patent, it is to be understood that the terms "center," "upper," "lower," "front," "rear," "left," "right," "vertical," "horizontal," "top," "bottom," "inner," "outer," and the like are used in the orientations and positional relationships indicated in the drawings for the convenience of describing the patent and for the simplicity of description, and are not intended to indicate or imply that the referenced devices or elements must have a particular orientation, be constructed and operated in a particular orientation, and are not to be considered limiting of the patent.
In the description of this patent, it is noted that unless otherwise specifically stated or limited, the terms "mounted," "connected," and "disposed" are to be construed broadly and can include, for example, fixedly connected, disposed, detachably connected, disposed, or integrally connected and disposed. The specific meaning of the above terms in this patent may be understood by those of ordinary skill in the art as appropriate.
The technical solutions in the embodiments of the present invention will be described clearly and completely with reference to the accompanying drawings in the embodiments of the present invention, and it is obvious that the described embodiments are only some embodiments of the present invention, not all embodiments. Based on the embodiments in the present invention, all other embodiments obtained by a person skilled in the art without creative work belong to the protection scope of the present invention, and the following embodiments are combined to further describe the present invention.
Example 1
Referring to fig. 1-4, in an embodiment of the present invention, an anti-clogging valve includes a valve body 1, flanges 2 are installed at two ends of the valve body 1, a sealing ring 3 is installed on the flanges 2, the sealing ring 3 is made of rubber material, an impurity removing box 4 is installed in the middle of the valve body 1, a filtering assembly is installed inside the impurity removing box 4, the filtering assembly includes a swing rod 6 and a partition plate 9, a groove for the swing rod 6 to swing is formed on the partition plate 9, a filtering net 7 is installed on the swing rod 6, a limiting column 8 is installed above the middle of the swing rod 6 in the impurity removing box 4, a fixing plate 13 is fixedly installed on one side of the partition plate 9, a longitudinal supporting spring 12 is fixedly installed on the upper surface of the fixing plate 13, the top of the longitudinal supporting spring 12 is installed on the swing rod 6, an arc-shaped filtering net 10 is fixedly connected to the other side of the partition plate 9, a plurality of through holes 11 are arranged at equal intervals at the bottom of the partition plate 9, fixed mounting has trigger 5 on the roof of edulcoration case 4, electric telescopic handle 18 is installed to 4 side bottom symmetries of edulcoration case, electric telescopic handle 18 stretch out end fixedly connected with pull ring 19, 19 sliding connection of pull ring have reference column 20, the mid-mounting of reference column 20 has guide bar 16, fixed mounting has slider 15 on the side of guide bar 16, slider 15 and sleeve 17's inner wall sliding connection, slider 15 is connected with ARC filter 10 through side-mounting's spring.
The working principle is as follows: when the device is used, the flange 2 and other devices are installed together through bolts, the sealing ring 3 enables the valve body 1 and the other devices to be tightly attached together, leakage of the valve body 1 in the working process can be effectively prevented, liquid enters the valve body 1 from the top and is divided into two parts through corners, the liquid continuously moves into the impurity removing box 4, passes through the filter screen 7, one part of the liquid passes through the filter screen 7 and moves downwards, the direction shown in the figure is taken as the standard, the swing rod 6 swings anticlockwise along the impurity removing box 4, impurities and the other part of the liquid pass through the groove on the partition plate 9 and flows along the surface of the swing rod 6 to enter the left space, the liquid passes through the arc-shaped filter screen 10 and moves towards the right side and continues to move downwards through the through hole 11, when the impurities on the left side of the partition plate 9 are excessively accumulated, the electric telescopic rod 18 on the left side of the impurity removing box 4 works, the end of the electric telescopic rod 18 moves towards the outer side to push the positioning column 20 to move towards the left side in a translational motion, the positioning column 20 pulls the guide rod 16 to move, the guide rod 16 drives the sliding block 15 to slide outwards along the inner wall of the sleeve 17, the sliding block 15 pulls the transverse supporting spring 14, and impurities flow out of the device.
Example 2
On the basis of embodiment 1, the trigger 5 is longitudinally and fixedly installed at the top of the impurity removing box 4, the bottom of the sleeve 17 is provided with a connecting hole, and a sewage discharge pipe is connected to the connecting hole in a threaded manner. When more impurities in the device touch the trigger 5, the stretching piece on the outer side moves, and the connecting hole through which the impurities pass flows outwards from the sewage discharge pipe.
With the combination of the embodiment 1 and the embodiment 2, the working principle of the present invention is: when the anti-leakage valve is used, the flange 2 and other devices are installed together through bolts, the sealing ring 3 enables the flange 2 and the other devices to be tightly attached together, leakage of the valve body 1 in the working process can be effectively prevented, liquid enters the valve body 1 from the top and is divided into two parts through corners, the liquid continuously moves into the impurity removing box 4, passes through the filter screen 7, one part of the liquid passes through the filter screen 7 and moves downwards, the direction shown in the figure is taken as the standard, the swing rod 6 swings anticlockwise along the impurity removing box 4, impurities and the other part of the liquid pass through the groove on the partition plate 9 and flow along the surface of the swing rod 6 to enter the left space, the liquid passes through the arc-shaped filter screen 10 and moves towards the right side and continues to move downwards through the through hole 11, when the impurities on the left side of the partition plate 9 are too much accumulated to touch the trigger 5, the electric telescopic rod 18 on the left side of the impurity removing box 4 works, and the extending end of the electric telescopic rod 18 moves outwards, the positioning column 20 is pushed to translate leftwards, the positioning column 20 pulls the guide rod 16 to move, the guide rod 16 drives the sliding block 15 to slide outwards along the inner wall of the sleeve 17, the sliding block 15 pulls the transverse supporting spring 14, and impurities pass through the connecting hole and flow out of the device from the sewage discharge pipe.
The present invention and its embodiments have been described above schematically, and the description is not limited thereto, and what is shown in the drawings is only one of the embodiments of the present invention, and the actual structure is not limited thereto. Therefore, if the person skilled in the art receives the teaching of the present invention, without departing from the inventive spirit of the present invention, the person skilled in the art should also design the similar structural modes and embodiments without creativity to the technical solution, and all shall fall within the protection scope of the present invention.
Furthermore, it should be understood that although the present description refers to embodiments, not every embodiment may contain only a single embodiment, and such description is for clarity only, and those skilled in the art should integrate the description, and the embodiments may be combined as appropriate to form other embodiments understood by those skilled in the art.

Claims (5)

1.一种防堵塞阀门,包括阀体(1),其特征在于,所述阀体(1)的两端安装有法兰(2),法兰(2)上设置有密封圈(3),阀体(1)的中部安装有除杂箱(4),除杂箱(4)的内部设置有过滤组件,过滤组件包括摆杆(6)和隔板(9),隔板(9)上开设有供摆杆(6)摆动的槽,摆杆(6)上安装有过滤网(7),除杂箱(4)内位于摆杆(6)的中部上方安装有限位柱(8),隔板(9)的一侧上固定安装有固定板(13),固定板(13)的上表面固定安装有纵向支撑弹簧(12),纵向支撑弹簧(12)的顶部安装在摆杆(6)上,隔板(9)的另一侧固定连接有弧形过滤网(10),除杂箱(4)侧面底部对称安装有电动伸缩杆(18),电动伸缩杆(18)的伸出端固定连接有拉环(19),拉环(19)滑动连接有定位柱(20),定位柱(20)的中部安装有导向杆(16),导向杆(16)的侧面上固定安装有滑块(15),滑块(15)与套筒(17)的内壁滑动连接,滑块(15)通过侧面安装的弹簧与弧形过滤网(10)连接。1. An anti-clogging valve, comprising a valve body (1), characterized in that flanges (2) are installed at both ends of the valve body (1), and a sealing ring (3) is arranged on the flanges (2). , a trash removal box (4) is installed in the middle of the valve body (1), and a filter assembly is arranged inside the trash removal box (4). A slot for swinging the swing rod (6) is provided on the upper part, a filter screen (7) is installed on the swing rod (6), and a limit post (8) is installed in the trash removal box (4) above the middle of the swing rod (6). , a fixed plate (13) is fixedly installed on one side of the partition plate (9), a longitudinal support spring (12) is fixedly installed on the upper surface of the fixed plate (13), and the top of the longitudinal support spring (12) is installed on the pendulum rod ( 6) On the other side of the partition plate (9), an arc filter screen (10) is fixedly connected, and an electric telescopic rod (18) is symmetrically installed at the bottom of the side of the trash removal box (4), and the extension of the electric telescopic rod (18). The outlet end is fixedly connected with a pull ring (19), the pull ring (19) is slidably connected with a positioning column (20), a guide rod (16) is installed in the middle of the positioning column (20), and a side surface of the guide rod (16) is fixedly installed There is a sliding block (15), the sliding block (15) is slidably connected with the inner wall of the sleeve (17), and the sliding block (15) is connected with the arc filter screen (10) through a spring installed on the side. 2.根据权利要求1所述的一种防堵塞阀门,其特征在于,所述密封圈(3)由橡胶材料制成。2 . The anti-clogging valve according to claim 1 , wherein the sealing ring ( 3 ) is made of rubber material. 3 . 3.根据权利要求1所述的一种防堵塞阀门,其特征在于,所述除杂箱(4)顶部纵向固定安装有触发器(5)。3 . The anti-clogging valve according to claim 1 , wherein a trigger ( 5 ) is fixed longitudinally on the top of the trash removal box ( 4 ). 4 . 4.根据权利要求1所述的一种防堵塞阀门,其特征在于,所述套筒(17)的底部设置有连接孔,连接孔上螺纹连接有排污管。4. An anti-clogging valve according to claim 1, characterized in that, the bottom of the sleeve (17) is provided with a connection hole, and the connection hole is threadedly connected with a sewage pipe. 5.根据权利要求1所述的一种防堵塞阀门,其特征在于,所述隔板(9)的底部设置有多个等间距分布的通孔(11)。5 . The anti-clogging valve according to claim 1 , wherein a plurality of through holes ( 11 ) distributed at equal intervals are provided at the bottom of the partition plate ( 9 ). 6 .
CN202023291189.4U 2020-12-30 2020-12-30 Anti-blocking valve Active CN214119091U (en)

Priority Applications (1)

Application Number Priority Date Filing Date Title
CN202023291189.4U CN214119091U (en) 2020-12-30 2020-12-30 Anti-blocking valve

Applications Claiming Priority (1)

Application Number Priority Date Filing Date Title
CN202023291189.4U CN214119091U (en) 2020-12-30 2020-12-30 Anti-blocking valve

Publications (1)

Publication Number Publication Date
CN214119091U true CN214119091U (en) 2021-09-03

Family

ID=77486328

Family Applications (1)

Application Number Title Priority Date Filing Date
CN202023291189.4U Active CN214119091U (en) 2020-12-30 2020-12-30 Anti-blocking valve

Country Status (1)

Country Link
CN (1) CN214119091U (en)

Similar Documents

Publication Publication Date Title
CN111282364A (en) Air purification device convenient to clearance
CN214119091U (en) Anti-blocking valve
CN212119158U (en) Sewage treatment device with filter screen easy to replace
CN210385061U (en) Sewage treatment device
CN207455053U (en) A kind of new water pipeline for hydraulic engineering
CN211328313U (en) Filter device of industrial boiler feed pump
CN108635974B (en) Industrial waste gas purification and cyclic utilization equipment
CN222324535U (en) A household hollow fiber membrane filtration water purification device
CN219971892U (en) Box-type integrated sewage treatment equipment
CN217356122U (en) Joint structure of bellows
CN214260689U (en) Intermediate plate type vapor-liquid separator for evaporator
CN214512977U (en) Sewage treatment device convenient to clearance filter screen board
CN221142957U (en) Drainage device for water supply and drainage pipeline construction
CN220939560U (en) Fountain cleaning filter
CN214618110U (en) Pneumatic valve for air filtration
CN211257256U (en) Municipal works sewer scrubbing equipment
CN220047467U (en) Gas filtering separator for liquid removal
CN216006867U (en) Nursery stock ponding drainage waterlogging device
CN222111195U (en) A multi-stage cyclone filter purification device
CN212378594U (en) Water distribution pipe of extrusion-drawing type glass fiber reinforced plastic cooling tower
CN216377710U (en) Water supply and drainage sewage purification device
CN217068011U (en) Board-like rose box of pleat shape
CN220582722U (en) Mounting mechanism for air purification
CN213160148U (en) Multifunctional gas-water separator
CN220201552U (en) Sewage treatment pond dross collection device

Legal Events

Date Code Title Description
GR01 Patent grant
GR01 Patent grant
CP03 Change of name, title or address
CP03 Change of name, title or address

Address after: Room 1002, Township Government Office Building, No.1 Jinqiao Street, Jinqiao Township, Xinjian District, Nanchang City, Jiangxi Province 330119

Patentee after: Jiangxi Chaohong Energy Technology Co.,Ltd.

Country or region after: China

Address before: Building 8, Sunshine Fengqing, 699 Cuiyuan Road, Honggutan New District, Nanchang City, Jiangxi Province

Patentee before: Jiangxi Chaohong Industrial Co.,Ltd.

Country or region before: China