CN214106132U - 一种保安过滤器滤芯清洗装置 - Google Patents
一种保安过滤器滤芯清洗装置 Download PDFInfo
- Publication number
- CN214106132U CN214106132U CN202022832231.2U CN202022832231U CN214106132U CN 214106132 U CN214106132 U CN 214106132U CN 202022832231 U CN202022832231 U CN 202022832231U CN 214106132 U CN214106132 U CN 214106132U
- Authority
- CN
- China
- Prior art keywords
- control valve
- cleaning
- filter
- interface
- ultrafiltration
- Prior art date
- Legal status (The legal status is an assumption and is not a legal conclusion. Google has not performed a legal analysis and makes no representation as to the accuracy of the status listed.)
- Expired - Fee Related
Links
- 238000004140 cleaning Methods 0.000 title claims abstract description 113
- XLYOFNOQVPJJNP-UHFFFAOYSA-N water Substances O XLYOFNOQVPJJNP-UHFFFAOYSA-N 0.000 claims abstract description 101
- 238000000108 ultra-filtration Methods 0.000 claims abstract description 67
- 238000001914 filtration Methods 0.000 claims description 35
- 238000011001 backwashing Methods 0.000 claims description 13
- 230000013011 mating Effects 0.000 claims description 3
- 230000001105 regulatory effect Effects 0.000 claims 1
- 230000002000 scavenging effect Effects 0.000 claims 1
- 238000005406 washing Methods 0.000 abstract description 10
- 239000012530 fluid Substances 0.000 abstract description 4
- 239000000126 substance Substances 0.000 description 13
- 230000000694 effects Effects 0.000 description 11
- 239000003814 drug Substances 0.000 description 5
- 239000012535 impurity Substances 0.000 description 5
- 230000002035 prolonged effect Effects 0.000 description 5
- 238000000034 method Methods 0.000 description 4
- 239000011148 porous material Substances 0.000 description 4
- 239000002245 particle Substances 0.000 description 3
- 230000008569 process Effects 0.000 description 3
- 238000002791 soaking Methods 0.000 description 3
- 239000012459 cleaning agent Substances 0.000 description 2
- 239000003344 environmental pollutant Substances 0.000 description 2
- 238000002156 mixing Methods 0.000 description 2
- 231100000719 pollutant Toxicity 0.000 description 2
- 238000001223 reverse osmosis Methods 0.000 description 2
- 238000009991 scouring Methods 0.000 description 2
- 241000894006 Bacteria Species 0.000 description 1
- 230000002238 attenuated effect Effects 0.000 description 1
- 230000008859 change Effects 0.000 description 1
- 238000005352 clarification Methods 0.000 description 1
- 238000005345 coagulation Methods 0.000 description 1
- 230000015271 coagulation Effects 0.000 description 1
- 238000010276 construction Methods 0.000 description 1
- 239000000706 filtrate Substances 0.000 description 1
- 238000011010 flushing procedure Methods 0.000 description 1
- 230000004907 flux Effects 0.000 description 1
- 239000007788 liquid Substances 0.000 description 1
- 238000012423 maintenance Methods 0.000 description 1
- 238000004519 manufacturing process Methods 0.000 description 1
- 238000001556 precipitation Methods 0.000 description 1
- 238000009287 sand filtration Methods 0.000 description 1
- 239000002699 waste material Substances 0.000 description 1
Images
Landscapes
- Separation Using Semi-Permeable Membranes (AREA)
Abstract
本实用新型属于水处理滤芯清洗技术领域,具体涉及一种保安过滤器滤芯清洗装置;主要包括清洗箱、清洗泵、保安过滤器、超滤装置,它利用电厂现有超滤清洗系统,用清洗管线将上述各装置连接起来,既不影响超滤清洗系统正常运行,也可以对保安过滤器滤芯进行清洗;各清洗管线上设置控制阀,通过调节各控制阀可控制本装置管线内流体的流向和循环路线,以实现在线清洗现有系统保安过滤器滤芯,将其他系统同规格滤芯拆除放置在保安过滤器滤筒中,即可实现离线清洗其他系统同规格滤芯;本实用新型具备过滤器滤芯的在线和离线清洗功能,减少了保安过滤器滤芯更换的频次,延长滤芯使用寿命,降低备件、人工消耗,减少冲洗水量。
Description
技术领域
本实用新型属于水处理滤芯清洗技术领域,具体涉及一种保安过滤器滤芯清洗装置。
背景技术
水资源一直以来是我国乃至世界紧缺的资源之一,为了进一步节约用水,国内很多电厂锅炉补给水系统水源为城市中水,中水经混凝、沉淀、澄清、砂滤等预处理后到超滤、反渗透、混床或EDI;由于水源是城市中水,制水过程中超滤或反渗透保安滤芯很容易受到水中颗粒物、有机物、胶体物质、细菌等污染,造成滤芯孔道堵塞,通量衰减,压差上升快,运行周期短;目前保安过滤器滤芯大部分采用阻筛式过滤原理渐紧式结构设计,滤芯孔径沿滤液流向呈梯度分布,集表面粗滤、深层细虑于一体,可截留不同粒径的杂质,水首先经过粗滤网滤掉较大颗粒的杂质,然后到达细滤网,形成楔形堵塞;随着过滤时间的延长,滤网逐渐累积水中的脏物、杂质,形成过滤杂质层,由杂质层堆积在细滤网的内侧,导致滤芯内外两侧的压差逐渐上升,更换频繁,由于滤芯采用进口元件,造成维护成本攀升;为了节约成本,电厂对滤芯采用浸泡、冲洗人工清洗方法,时间长,效果差,滤芯使用寿命降低,被迫更换;另外在清洗过程中需要大量的清洗水,造成水资源的浪费;因此,提供一种具备过滤器滤芯的在线和离线清洗功能,减少了保安过滤器滤芯更换的频次,延长滤芯使用寿命,降低备件、人工消耗,减少冲洗水量的保安过滤器滤芯清洗装置是很有必要的。
实用新型内容
本实用新型的目的是为了克服现有技术的不足,而提供一种结构合理,具备过滤器滤芯的在线和离线清洗功能,减少了保安过滤器滤芯更换的频次,延长滤芯使用寿命,降低备件、人工消耗,减少冲洗水量的保安过滤器滤芯清洗装置。
本实用新型的目的是这样实现的:一种保安过滤器滤芯清洗装置,它包括清洗箱、清洗泵、保安过滤器和超滤装置,所述清洗箱上设置有出水接口和回水接口,所述保安过滤器上设置有第一过滤接口和第二过滤接口,所述超滤装置上设置有第一超滤接口和第二超滤接口;所述出水接口通过泵前管线连接所述清洗泵的入口,所述清洗泵的出口通过泵后管线连接有所述第一过滤接口,所述第二过滤接口通过中间管线连接有所述第一超滤接口,所述第二超滤接口通过第一回水管线连接所述回水接口,所述第一超滤接口通过第二回水管线连接有所述回水接口,所述第一过滤接口通过第三回水管线连接有所述回水接口;所述泵前管线上设置有第一控制阀F1,所述泵后管线上设置有第二控制阀F2和第三控制阀F3,所述第二控制阀F2设置在靠近所述清洗泵侧,所述第三控制阀F3设置在靠近所述保安过滤器侧;所述中间管线上设置有第七控制阀F7和第八控制阀F8,所述第七控制阀F7设置在靠近所述保安过滤器侧,所述第八控制阀F8设置在靠近所述超滤装置侧;所述第一回水管线上设置有第十一控制阀F11;所述第二回水管线上设置有第九控制阀F9和第十二控制阀F12,所述第九控制阀F9设置在靠近所述超滤装置侧,所述第十二控制阀F12设置在靠近所述清洗箱侧;所述第三回水管线上设置有第五控制阀F5;所述第二控制阀F2和所述第三控制阀F3之间的所述泵后管线通过第一旁路管线与所述第九控制阀F9和所述第十二控制阀F12之间的所述第二回水管线相连接,所述第一旁路管线上设置有第四控制阀F4;所述第二过滤接口通过第二旁路管线连接有所述第九控制阀F9和所述第十二控制阀F12之间的所述第二回水管线,所述第二旁路管线上设置有第六控制阀F6;所述第七控制阀F7和所述第八控制阀F8之间的所述中间管线通过第三旁路管线连接有所述第十一控制阀F11和所述第二超滤接口之间的所述第一回水管线,所述第三旁路管线上设置有第一第十控制阀F10。
所述出水接口、所述回水接口、所述第一过滤接口、所述第二过滤接口、所述第一超滤接口和所述第二超滤接口上均设置有配对法兰。
所述清洗箱底部设置有排水口。
所述清洗泵为变频反洗泵。
所述第四控制阀F4、所述第五控制阀F5、所述第六控制阀F6、所述第一第十控制阀F10和所述第九控制阀F9均为截止阀。
所述第一控制阀F1、所述第二控制阀F2、所述第三控制阀F3、所述第七控制阀F7、所述第八控制阀F8、所述第十一控制阀F11和所述第十二控制阀F12均为流量调节阀。
本实用新型的有益效果:本实用新型的一种保安过滤器滤芯清洗装置,主要包括清洗箱、清洗泵、保安过滤器、超滤装置,它利用电厂现有超滤清洗系统,用清洗管线将上述各装置连接起来,既不影响超滤清洗系统正常运行,也可以对保安过滤器滤芯进行清洗;各清洗管线上设置控制阀,通过调节各控制阀可控制本装置管线内流体的流向和循环路线,以实现在线清洗现有系统保安过滤器滤芯,将其他系统同规格滤芯拆除放置在保安过滤器滤筒中,即可实现离线清洗其他系统同规格滤芯;本实用新型的一种保安过滤器滤芯清洗装置,结构合理,具备过滤器滤芯的在线和离线清洗功能,减少了保安过滤器滤芯更换的频次,延长滤芯使用寿命,降低备件、人工消耗,减少冲洗水量,节约水耗,也延长了后序膜组件的运行周期,投资少见效快。
附图说明
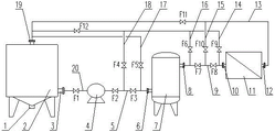
图1为本实用新型一种保安过滤器滤芯清洗装置的结构示意图。
图中:1、排水口 2、清洗箱 3、出水接口 4、清洗泵 5、泵后管线 6、第一过滤接口 7、保安过滤器 8、第二过滤接口 9、中间管线 10、第一超滤接口 11、超滤装置12、第二超滤接口 13、第一回水管线 14、第二回水管线 15、第三旁路管线 16、第二旁路管线 17、第三回水管线 18、第一旁路管线 19、回水接口 20、泵前管线 F1、第一控制阀 F2、第二控制阀 F3、第三控制阀 F4、第四控制阀 F5、第五控制阀 F6、第六控制阀 F7、第七控制阀 F8、第八控制阀 F9、第九控制阀 F10、第十控制阀 F11、第十一控制阀 F12、第十二控制阀。
具体实施方式
下面结合附图对本实用新型做进一步的说明。
实施例1
如图1所示,一种保安过滤器滤芯清洗装置,它包括清洗箱2、清洗泵4、保安过滤器7和超滤装置11,所述清洗箱2上设置有出水接口3和回水接口19,所述保安过滤器7上设置有第一过滤接口6和第二过滤接口8,所述超滤装置11上设置有第一超滤接口10和第二超滤接口12;所述出水接口3通过泵前管线20连接所述清洗泵4的入口,所述清洗泵4的出口通过泵后管线5连接有所述第一过滤接口6,所述第二过滤接口8通过中间管线9连接有所述第一超滤接口10,所述第二超滤接口12通过第一回水管线13连接所述回水接口19,所述第一超滤接口10通过第二回水管线14连接有所述回水接口19,所述第一过滤接口6通过第三回水管线17连接有所述回水接口19;所述泵前管线20上设置有第一控制阀F1,所述泵后管线5上设置有第二控制阀F2和第三控制阀F3,所述第二控制阀F2设置在靠近所述清洗泵4侧,所述第三控制阀F3设置在靠近所述保安过滤器7侧;所述中间管线9上设置有第七控制阀F7和第八控制阀F8,所述第七控制阀F7设置在靠近所述保安过滤器7侧,所述第八控制阀F8设置在靠近所述超滤装置11侧;所述第一回水管线13上设置有第十一控制阀F11;所述第二回水管线14上设置有第九控制阀F9和第十二控制阀F12,所述第九控制阀F9设置在靠近所述超滤装置11侧,所述第十二控制阀F12设置在靠近所述清洗箱2侧;所述第三回水管线17上设置有第五控制阀F5;所述第二控制阀F2和所述第三控制阀F3之间的所述泵后管线5通过第一旁路管线18与所述第九控制阀F9和所述第十二控制阀F12之间的所述第二回水管线14相连接,所述第一旁路管线18上设置有第四控制阀F4;所述第二过滤接口8通过第二旁路管线16连接有所述第九控制阀F9和所述第十二控制阀F12之间的所述第二回水管线14,所述第二旁路管线16上设置有第六控制阀F6;所述第七控制阀F7和所述第八控制阀F8之间的所述中间管线9通过第三旁路管线15连接有所述第十一控制阀F11和所述第二超滤接口12之间的所述第一回水管线13,所述第三旁路管线15上设置有第一第十控制阀F10。
本实用新型的一种保安过滤器滤芯清洗装置,主要包括清洗箱、清洗泵、保安过滤器、超滤装置,它利用电厂现有超滤清洗系统,用清洗管线将上述各装置连接起来,既不影响超滤清洗系统正常运行,也可以对保安过滤器滤芯进行清洗;各清洗管线上设置控制阀,通过调节各控制阀可控制本装置管线内流体的流向和循环路线,以实现在线清洗现有系统保安过滤器滤芯,将其他系统同规格滤芯拆除放置在保安过滤器滤筒中,即可实现离线清洗其他系统同规格滤芯。
将水与清洗药剂加入清洗箱2,打开第一控制阀F1、第二控制阀F2、第四控制阀F4、第十二控制阀F12,关闭第三控制阀F3、第六控制阀F6、第九控制阀F9,打开清洗水泵4,可实现清洗药液的循环充分混合;打开第一控制阀F1、第二控制阀F2、第三控制阀F3、第七控制阀F7、第九控制阀F9、第一第十控制阀F10、第十一控制阀F11、第十二控制阀F12,关闭第四控制阀F4、第五控制阀F5、第六控制阀F6、第八控制阀F8、第十一控制阀F11,可进行超滤装置11的反洗,打开第一控制阀F1、第二控制阀F2、第三控制阀F3、第七控制阀F7、第八控制阀F8、第十一控制阀F11,关闭第四控制阀F4、第五控制阀F5、第六控制阀F6、第九控制阀F9、第一第十控制阀F10,可进行超滤装置11的正洗;将其他系统同规格滤芯拆除放置于保安过滤器7的滤筒中,打开第一控制阀F1、第二控制阀F2、第四控制阀F4、第五控制阀F5、第六控制阀F6,关闭第三控制阀F3、第七控制阀F7、第九控制阀F9、第十二控制阀F12,可进行保安过滤器滤芯的反洗;打开第一控制阀F1、第二控制阀F2、第三控制阀F3、第十二控制阀F12,关闭第四控制阀F4、第五控制阀F5、第七控制阀F7、第九控制阀F9,可进行保安过滤器滤芯的正洗。
滤芯的运行周期与其清洗质量息息相关,在线清洗是配置化学清洗剂,对该系统保安过滤器滤芯通过药剂浸泡、反洗、正洗步序机械冲刷使其恢复工作能力达到溶解并去除污堵物的目的,减少更换滤芯的过程,延长滤芯的使用寿命,节约成本;离线清洗是将其他系统污堵滤芯从过滤器中取出,安装到此系统保安过滤器中,配置化学清洗剂,对滤芯通过药剂浸泡、反洗、正洗步序机械冲刷使其恢复工作能力,利用化学清洗将滤芯表面的污染物质除去,恢复滤芯的正常工作能力,延长滤芯使用寿命,节约更换成本;由于滤芯以楔形堵塞为主,通过此装置系统压力及结构特点,在反洗时实现过滤器内滤芯的反冲洗,将过滤孔隙冲开,滤芯的截留物排出过滤器外,从而恢复滤芯的过滤功能到初始完好状态,达到了其他清洗装置无法达到的清洗效果。
本实用新型的一种保安过滤器滤芯清洗装置,结构合理,具备过滤器滤芯的在线和离线清洗功能,减少了保安过滤器滤芯更换的频次,延长滤芯使用寿命,降低备件、人工消耗,减少冲洗水量,节约水耗,也延长了后序膜组件的运行周期,投资少见效快。
实施例2
如图1所示,一种保安过滤器滤芯清洗装置,它包括清洗箱2、清洗泵4、保安过滤器7和超滤装置11,所述清洗箱2上设置有出水接口3和回水接口19,所述保安过滤器7上设置有第一过滤接口6和第二过滤接口8,所述超滤装置11上设置有第一超滤接口10和第二超滤接口12;所述出水接口3通过泵前管线20连接所述清洗泵4的入口,所述清洗泵4的出口通过泵后管线5连接有所述第一过滤接口6,所述第二过滤接口8通过中间管线9连接有所述第一超滤接口10,所述第二超滤接口12通过第一回水管线13连接所述回水接口19,所述第一超滤接口10通过第二回水管线14连接有所述回水接口19,所述第一过滤接口6通过第三回水管线17连接有所述回水接口19;所述泵前管线20上设置有第一控制阀F1,所述泵后管线5上设置有第二控制阀F2和第三控制阀F3,所述第二控制阀F2设置在靠近所述清洗泵4侧,所述第三控制阀F3设置在靠近所述保安过滤器7侧;所述中间管线9上设置有第七控制阀F7和第八控制阀F8,所述第七控制阀F7设置在靠近所述保安过滤器7侧,所述第八控制阀F8设置在靠近所述超滤装置11侧;所述第一回水管线13上设置有第十一控制阀F11;所述第二回水管线14上设置有第九控制阀F9和第十二控制阀F12,所述第九控制阀F9设置在靠近所述超滤装置11侧,所述第十二控制阀F12设置在靠近所述清洗箱2侧;所述第三回水管线17上设置有第五控制阀F5;所述第二控制阀F2和所述第三控制阀F3之间的所述泵后管线5通过第一旁路管线18与所述第九控制阀F9和所述第十二控制阀F12之间的所述第二回水管线14相连接,所述第一旁路管线18上设置有第四控制阀F4;所述第二过滤接口8通过第二旁路管线16连接有所述第九控制阀F9和所述第十二控制阀F12之间的所述第二回水管线14,所述第二旁路管线16上设置有第六控制阀F6;所述第七控制阀F7和所述第八控制阀F8之间的所述中间管线9通过第三旁路管线15连接有所述第十一控制阀F11和所述第二超滤接口12之间的所述第一回水管线13,所述第三旁路管线15上设置有第一第十控制阀F10。
为了更好的效果,所述出水接口3、所述回水接口19、所述第一过滤接口6、所述第二过滤接口8、所述第一超滤接口10和所述第二超滤接口12上均设置有配对法兰,可方便快捷地与各管线进行连接,避免因接口尺寸或相关连接件的缺失影响施工。
为了更好的效果,所述清洗箱2底部设置有排水口1,提高所述清洗箱2的排水效率,以方便快捷地对其进行排水、更换药液等操作。
为了更好的效果,所述清洗泵4为变频反洗泵,为整个系统的循环提供动能,同时保证循环系统的恒压。
为了更好的效果,所述第四控制阀F4、所述第五控制阀F5、所述第六控制阀F6、所述第一第十控制阀F10和所述第九控制阀F9均为截止阀,可快速对相关管线进行截止和连通操作,以控制循环路线。
为了更好的效果,所述第一控制阀F1、所述第二控制阀F2、所述第三控制阀F3、所述第七控制阀F7、所述第八控制阀F8、所述第十一控制阀F11和所述第十二控制阀F12均为流量调节阀,通过各控制阀的配合有效控制系统各部分的流量与压力,提高其可操作性。
本实用新型的一种保安过滤器滤芯清洗装置,主要包括清洗箱、清洗泵、保安过滤器、超滤装置,它利用电厂现有超滤清洗系统,用清洗管线将上述各装置连接起来,既不影响超滤清洗系统正常运行,也可以对保安过滤器滤芯进行清洗;各清洗管线上设置控制阀,通过调节各控制阀可控制本装置管线内流体的流向和循环路线,以实现在线清洗现有系统保安过滤器滤芯,将其他系统同规格滤芯拆除放置在保安过滤器滤筒中,即可实现离线清洗其他系统同规格滤芯。
将水与清洗药剂加入清洗箱2,打开第一控制阀F1、第二控制阀F2、第四控制阀F4、第十二控制阀F12,关闭第三控制阀F3、第六控制阀F6、第九控制阀F9,打开清洗水泵4,可实现清洗药液的循环充分混合;打开第一控制阀F1、第二控制阀F2、第三控制阀F3、第七控制阀F7、第九控制阀F9、第一第十控制阀F10、第十一控制阀F11、第十二控制阀F12,关闭第四控制阀F4、第五控制阀F5、第六控制阀F6、第八控制阀F8、第十一控制阀F11,可进行超滤装置11的反洗,打开第一控制阀F1、第二控制阀F2、第三控制阀F3、第七控制阀F7、第八控制阀F8、第十一控制阀F11,关闭第四控制阀F4、第五控制阀F5、第六控制阀F6、第九控制阀F9、第一第十控制阀F10,可进行超滤装置11的正洗;将其他系统同规格滤芯拆除放置于保安过滤器7的滤筒中,打开第一控制阀F1、第二控制阀F2、第四控制阀F4、第五控制阀F5、第六控制阀F6,关闭第三控制阀F3、第七控制阀F7、第九控制阀F9、第十二控制阀F12,可进行保安过滤器滤芯的反洗;打开第一控制阀F1、第二控制阀F2、第三控制阀F3、第十二控制阀F12,关闭第四控制阀F4、第五控制阀F5、第七控制阀F7、第九控制阀F9,可进行保安过滤器滤芯的正洗。
滤芯的运行周期与其清洗质量息息相关,在线清洗是配置化学清洗剂,对该系统保安过滤器滤芯通过药剂浸泡、反洗、正洗步序机械冲刷使其恢复工作能力达到溶解并去除污堵物的目的,减少更换滤芯的过程,延长滤芯的使用寿命,节约成本;离线清洗是将其他系统污堵滤芯从过滤器中取出,安装到此系统保安过滤器中,配置化学清洗剂,对滤芯通过药剂浸泡、反洗、正洗步序机械冲刷使其恢复工作能力,利用化学清洗将滤芯表面的污染物质除去,恢复滤芯的正常工作能力,延长滤芯使用寿命,节约更换成本;由于滤芯以楔形堵塞为主,通过此装置系统压力及结构特点,在反洗时实现过滤器内滤芯的反冲洗,将过滤孔隙冲开,滤芯的截留物排出过滤器外,从而恢复滤芯的过滤功能到初始完好状态,达到了其他清洗装置无法达到的清洗效果。
本实用新型的一种保安过滤器滤芯清洗装置,结构合理,具备过滤器滤芯的在线和离线清洗功能,减少了保安过滤器滤芯更换的频次,延长滤芯使用寿命,降低备件、人工消耗,减少冲洗水量,节约水耗,也延长了后序膜组件的运行周期,投资少见效快。
Claims (6)
1.一种保安过滤器滤芯清洗装置,它包括清洗箱(2)、清洗泵(4)、保安过滤器(7)和超滤装置(11),其特征在于:所述清洗箱(2)上设置有出水接口(3)和回水接口(19),所述保安过滤器(7)上设置有第一过滤接口(6)和第二过滤接口(8),所述超滤装置(11)上设置有第一超滤接口(10)和第二超滤接口(12);所述出水接口(3)通过泵前管线(20)连接所述清洗泵(4)的入口,所述清洗泵(4)的出口通过泵后管线(5)连接有所述第一过滤接口(6),所述第二过滤接口(8)通过中间管线(9)连接有所述第一超滤接口(10),所述第二超滤接口(12)通过第一回水管线(13)连接所述回水接口(19),所述第一超滤接口(10)通过第二回水管线(14)连接有所述回水接口(19),所述第一过滤接口(6)通过第三回水管线(17)连接有所述回水接口(19);所述泵前管线(20)上设置有第一控制阀(F1),所述泵后管线(5)上设置有第二控制阀(F2)和第三控制阀(F3),所述第二控制阀(F2)设置在靠近所述清洗泵(4)侧,所述第三控制阀(F3)设置在靠近所述保安过滤器(7)侧;所述中间管线(9)上设置有第七控制阀(F7)和第八控制阀(F8),所述第七控制阀(F7)设置在靠近所述保安过滤器(7)侧,所述第八控制阀(F8)设置在靠近所述超滤装置(11)侧;所述第一回水管线(13)上设置有第十一控制阀(F11);所述第二回水管线(14)上设置有第九控制阀(F9)和第十二控制阀(F12),所述第九控制阀(F9)设置在靠近所述超滤装置(11)侧,所述第十二控制阀(F12)设置在靠近所述清洗箱(2)侧;所述第三回水管线(17)上设置有第五控制阀(F5);所述第二控制阀(F2)和所述第三控制阀(F3)之间的所述泵后管线(5)通过第一旁路管线(18)与所述第九控制阀(F9)和所述第十二控制阀(F12)之间的所述第二回水管线(14)相连接,所述第一旁路管线(18)上设置有第四控制阀(F4);所述第二过滤接口(8)通过第二旁路管线(16)连接有所述第九控制阀(F9)和所述第十二控制阀(F12)之间的所述第二回水管线(14),所述第二旁路管线(16)上设置有第六控制阀(F6);所述第七控制阀(F7)和所述第八控制阀(F8)之间的所述中间管线(9)通过第三旁路管线(15)连接有所述第十一控制阀(F11)和所述第二超滤接口(12)之间的所述第一回水管线(13),所述第三旁路管线(15)上设置有第十控制阀(F10)。
2.根据权利要求1所述的一种保安过滤器滤芯清洗装置,其特征在于:所述出水接口(3)、所述回水接口(19)、所述第一过滤接口(6)、所述第二过滤接口(8)、所述第一超滤接口(10)和所述第二超滤接口(12)上均设置有配对法兰。
3.根据权利要求1所述的一种保安过滤器滤芯清洗装置,其特征在于:所述清洗箱(2)底部设置有排水口(1)。
4.根据权利要求1所述的一种保安过滤器滤芯清洗装置,其特征在于:所述清洗泵(4)为变频反洗泵。
5.根据权利要求1所述的一种保安过滤器滤芯清洗装置,其特征在于:所述第四控制阀(F4)、所述第五控制阀(F5)、所述第六控制阀(F6)、所述第十控制阀(F10)和所述第九控制阀(F9)均为截止阀。
6.根据权利要求1所述的一种保安过滤器滤芯清洗装置,其特征在于:所述第一控制阀(F1)、所述第二控制阀(F2)、所述第三控制阀(F3)、所述第七控制阀(F7)、所述第八控制阀(F8)、所述第十一控制阀(F11)和所述第十二控制阀(F12)均为流量调节阀。
Priority Applications (1)
| Application Number | Priority Date | Filing Date | Title |
|---|---|---|---|
| CN202022832231.2U CN214106132U (zh) | 2020-12-01 | 2020-12-01 | 一种保安过滤器滤芯清洗装置 |
Applications Claiming Priority (1)
| Application Number | Priority Date | Filing Date | Title |
|---|---|---|---|
| CN202022832231.2U CN214106132U (zh) | 2020-12-01 | 2020-12-01 | 一种保安过滤器滤芯清洗装置 |
Publications (1)
| Publication Number | Publication Date |
|---|---|
| CN214106132U true CN214106132U (zh) | 2021-09-03 |
Family
ID=77508099
Family Applications (1)
| Application Number | Title | Priority Date | Filing Date |
|---|---|---|---|
| CN202022832231.2U Expired - Fee Related CN214106132U (zh) | 2020-12-01 | 2020-12-01 | 一种保安过滤器滤芯清洗装置 |
Country Status (1)
| Country | Link |
|---|---|
| CN (1) | CN214106132U (zh) |
Cited By (1)
| Publication number | Priority date | Publication date | Assignee | Title |
|---|---|---|---|---|
| CN116651046A (zh) * | 2023-05-10 | 2023-08-29 | 华能灌云清洁能源发电有限责任公司 | 一种精密过滤器在线自动清洗系统及方法 |
-
2020
- 2020-12-01 CN CN202022832231.2U patent/CN214106132U/zh not_active Expired - Fee Related
Cited By (1)
| Publication number | Priority date | Publication date | Assignee | Title |
|---|---|---|---|---|
| CN116651046A (zh) * | 2023-05-10 | 2023-08-29 | 华能灌云清洁能源发电有限责任公司 | 一种精密过滤器在线自动清洗系统及方法 |
Similar Documents
| Publication | Publication Date | Title |
|---|---|---|
| CN103253782A (zh) | 利用雨水洗车及洗车废水循环利用装置 | |
| CN205461190U (zh) | 一种水深度处理一体化装置 | |
| CN206730631U (zh) | 地热尾水回灌用自动反冲洗预过滤装置及系统 | |
| CN103663776B (zh) | 一种造纸白水的循环处理方法和处理装置 | |
| CN214106132U (zh) | 一种保安过滤器滤芯清洗装置 | |
| CN102179086A (zh) | 一种压滤机滤布碱洗系统及其清洗方法 | |
| CN108905320B (zh) | 一种活性砂过滤器 | |
| CN201176409Y (zh) | 一体化洗车污水回用净化装置 | |
| CN103566764A (zh) | 一种道路清洗扫路车的回收污水循环再生利用装置及方法 | |
| CN214209621U (zh) | 一种液控式反冲洗过滤装置 | |
| CN201959648U (zh) | 一种立式硅藻土过滤装置 | |
| CN113943060A (zh) | 一种高层建筑集成式环保净水工艺 | |
| CN212236121U (zh) | 一种浅层砂过滤器 | |
| CN211836602U (zh) | 互为反冲洗全自动净水前置过滤器 | |
| CN219953314U (zh) | 一种注水井井口过滤装置 | |
| CN209128197U (zh) | 一种洗车废水回收利用环保设备 | |
| CN101417842A (zh) | 一种多级自清水处理系统 | |
| CN219709195U (zh) | 一种水厂净水系统 | |
| CN206008143U (zh) | 一种水净化处理自动反冲洗系统 | |
| CN206404450U (zh) | 新型高效砂滤系统 | |
| CN209270999U (zh) | 一种新型立式反冲洗过滤装置 | |
| CN206645864U (zh) | 一种撬装试压污水处理设备 | |
| CN219156606U (zh) | 一种原水净水器 | |
| CN212594177U (zh) | 一种带有旁通减压装置的浅层砂过滤器 | |
| CN221831783U (zh) | 隔离区管道过滤器 |
Legal Events
| Date | Code | Title | Description |
|---|---|---|---|
| GR01 | Patent grant | ||
| GR01 | Patent grant | ||
| CF01 | Termination of patent right due to non-payment of annual fee |
Granted publication date: 20210903 |
|
| CF01 | Termination of patent right due to non-payment of annual fee |