CN214056008U - High-efficient pelleter of insulating level soft polyvinyl chloride plastics - Google Patents

High-efficient pelleter of insulating level soft polyvinyl chloride plastics Download PDF

Info

Publication number
CN214056008U
CN214056008U CN202022535522.5U CN202022535522U CN214056008U CN 214056008 U CN214056008 U CN 214056008U CN 202022535522 U CN202022535522 U CN 202022535522U CN 214056008 U CN214056008 U CN 214056008U
Authority
CN
China
Prior art keywords
fixedly connected
side wall
treatment tank
polyvinyl chloride
pipe
Prior art date
Legal status (The legal status is an assumption and is not a legal conclusion. Google has not performed a legal analysis and makes no representation as to the accuracy of the status listed.)
Expired - Fee Related
Application number
CN202022535522.5U
Other languages
Chinese (zh)
Inventor
杨伟
Current Assignee (The listed assignees may be inaccurate. Google has not performed a legal analysis and makes no representation or warranty as to the accuracy of the list.)
Jiangsu Shuangyang Plastics Co ltd
Original Assignee
Jiangsu Shuangyang Plastics Co ltd
Priority date (The priority date is an assumption and is not a legal conclusion. Google has not performed a legal analysis and makes no representation as to the accuracy of the date listed.)
Filing date
Publication date
Application filed by Jiangsu Shuangyang Plastics Co ltd filed Critical Jiangsu Shuangyang Plastics Co ltd
Priority to CN202022535522.5U priority Critical patent/CN214056008U/en
Application granted granted Critical
Publication of CN214056008U publication Critical patent/CN214056008U/en
Expired - Fee Related legal-status Critical Current
Anticipated expiration legal-status Critical

Links

Images

Landscapes

  • Processing And Handling Of Plastics And Other Materials For Molding In General (AREA)

Abstract

本实用新型涉及塑料切粒机技术领域,且公开了一种绝缘级软聚氯乙烯塑料高效切粒机,包括切粒机本体,切粒机本体的左侧壁固定连接有处理罐,处理罐位于切粒机本体的出料端下方设置,处理罐的内侧壁上端固定连接有环形管,环形管的下管壁固定连接有多个均匀分布的喷风头,处理罐的左外侧壁固定连接有回流盒,回流盒的上内侧壁固定连接有热风鼓风机,热风鼓风机的出风端固定连接有出风管。本实用新型可以提高塑料颗粒的风干效率,而且可以使热风循环使用,烘干效率较高,利于提高整体的生产效率,同时可以对部分切料不彻底、体积较大的塑料颗粒筛分,提高塑料切粒的整体质量效果。

Figure 202022535522

The utility model relates to the technical field of plastic pelletizers, and discloses an insulating-grade soft polyvinyl chloride plastic high-efficiency pelletizer, which comprises a pelletizer body, and a processing tank is fixedly connected to the left side wall of the pelletizer body. It is arranged below the discharge end of the pelletizer body, the upper end of the inner side wall of the processing tank is fixedly connected with a ring-shaped pipe, the lower pipe wall of the ring-shaped pipe is fixedly connected with a plurality of evenly distributed air jets, and the left outer side wall of the processing tank is fixedly connected with a The backflow box is fixedly connected with a hot air blower on the upper inner side wall of the backflow box, and an air outlet pipe is fixedly connected with the air outlet end of the hot air blower. The utility model can improve the air-drying efficiency of the plastic particles, and can make the hot air circulated for use, and the drying efficiency is high, which is beneficial to improve the overall production efficiency. Overall quality effect of plastic pellets.

Figure 202022535522

Description

High-efficient pelleter of insulating level soft polyvinyl chloride plastics
Technical Field
The utility model relates to a plastic granulator technical field especially relates to a high-efficient pelleter of soft polyvinyl chloride plastics of insulation level.
Background
The soft polyvinyl chloride plastic is also called plasticized polyvinyl chloride plastic, and refers to polyvinyl chloride plastic added with a plasticizer, and due to the addition of the plasticizer, the plasticity, the fluidity, the flexibility and the elongation of PVC are improved, the processing performance is improved, and the melt viscosity, the glass transition temperature and the elastic modulus of a product of the PVC are reduced.
At present, generally carry out the cold cut after the plastic strip cooling of producing to the previous process through the basin among the prior art, the plastic granules surface after the cold cut still can the residual part water stain, follow-up generally is the natural air-dry of stewing, but this kind of production efficiency that can influence the subsequent handling, and partial grain cutting machine can install drying device additional, with drying process to the plastic surface, but it can not carry out the circulation to the hot-blast, lead to drying efficiency lower, be unfavorable for improving production efficiency, therefore, provide a high-efficient pelleter of soft polyvinyl chloride plastics of insulation level.
SUMMERY OF THE UTILITY MODEL
The utility model aims at solving among the prior art and generally carrying out the cold cut after the plastic strip cooling that produces to the previous process through the basin, the plastic granules surface after the cold cut still can remain partial water stain, follow-up generally is the natural air-dry that stews, but this kind can influence the production efficiency of follow-up process, and partial grain cutting machine can install drying device additional, in order to carry out drying process to the plastic surface, but it can not carry out the circulation to the hot-blast, lead to drying efficiency lower, be unfavorable for improving production efficiency's problem, and the high-efficient pelleter of soft polyvinyl chloride plastics of insulation level that proposes.
In order to achieve the above purpose, the utility model adopts the following technical scheme:
an insulation-grade flexible polyvinyl chloride plastic high-efficiency granulator comprises a granulator body, wherein a treatment tank is fixedly connected to the left side wall of the granulator body, the treatment tank is arranged below the discharge end of the granulator body, a ring pipe is fixedly connected to the upper end of the inner side wall of the treatment tank, a plurality of uniformly-distributed air spraying heads are fixedly connected to the lower pipe wall of the ring pipe, a backflow box is fixedly connected to the left outer side wall of the treatment tank, a hot air blower is fixedly connected to the upper inner side wall of the backflow box, an air outlet pipe is fixedly connected to the air outlet end of the hot air blower, the air outlet pipe penetrates through the left side wall of the treatment tank and is fixedly communicated with the left side of the pipe wall of the ring pipe, backflow holes are formed in the position, below the inside of the backflow box, a first blocking net is fixedly arranged inside the backflow holes, and a second blocking net is fixedly arranged below the inside of the backflow box, the utility model discloses a dryer, including the first sealed lid of lateral wall lower extreme and inlet pipe, the first sealed lid of lateral wall upper end of discharge hopper, the position that the inside of box that flows back is located the second and keeps off the net below is filled there is the drier filler, the second keeps off the upper end fixedly connected with inlet pipe of net, and the upper end of inlet pipe runs through the left side wall of box that flows back and extends to the outside, the lower extreme fixedly connected with discharge hopper of box that flows back, the equal threaded connection in lateral wall lower extreme and the lateral wall upper end of inlet pipe of discharge hopper has first sealed lid, the left side wall lower extreme fixedly connected with U-shaped discharge plate of processing jar, the processing jar is connected with screening mechanism.
Preferably, screening mechanism includes a centrifugal net section of thick bamboo, motor and circle cover, the round hole has been seted up to the lower extreme of handling the jar and the lateral wall lower extreme fixed connection through round hole and circle cover, the lateral wall lower extreme of a centrifugal net section of thick bamboo passes through antifriction bearing and is connected with the inside wall upper end rotation of circle cover, the fixed backup pad that is equipped with in inside below of circle cover, the motor is located the fixed setting in upper end of backup pad, the output of motor is rotated through the shaft coupling and is connected with the pivot, the rotatory piece of upper end fixedly connected with of pivot, the upper end of rotatory piece and the lower extreme fixed connection of a centrifugal net section of thick bamboo, the material fill is arranged to the eccentric fixedly connected with of lower extreme of a centrifugal net section of thick bamboo, the sealed lid of lateral wall lower extreme threaded connection of arranging the material fill.
Preferably, the upper end of the inner side wall of the treatment tank is fixedly connected with a conical material guide plate, and the lower end of the conical material guide plate extends to the upper part of the inside of the centrifugal net cylinder.
Preferably, the fixed ring that has cup jointed on the lateral wall upper end of a centrifugal net section of thick bamboo, the equal fixedly connected with of lateral wall supports the slide bar about the ring, the inside wall upper end of handling the jar is seted up with supporting slide bar assorted annular spout.
Preferably, the lower inner side wall of the treatment tank is arranged obliquely.
Preferably, the desiccant filler is made of silica gel desiccant.
Compared with the prior art, the utility model provides a high-efficient pelleter of soft polyvinyl chloride plastics of insulation level possesses following beneficial effect:
1. this high-efficient pelleter of insulating level soft polyvinyl chloride plastics, through the pelleter body that is equipped with, can carry out the blank processing to plastics, through the processing jar that is equipped with, mutually support of annular pipe and a plurality of shower nozzle, can blow hot-blastly to the plastic granules that the blank was accomplished, thereby can carry out drying process to its surface, improve plastic granules's air-dry efficiency, through the backward flow hole that is equipped with, first fender net, the second keeps off mutually supporting that net and drier packed, can carry out hot-blast backward flow and drying process, thereby can make heated air circulation use, drying efficiency is higher, do benefit to and improve holistic production efficiency.
2. This high-efficient pelleter of insulation level soft polyvinyl chloride plastics, through the screening mechanism that is equipped with, can carry out centrifugal filtration to the plastic granules that the cut material was accomplished, can separate partial blank incomplete, the great plastic granules of volume to can go out again the not thorough and the great plastic granules of volume of blank, can improve the whole quality effect of plastics blank.
The part that does not relate to in the device all is the same with prior art or can adopt prior art to realize, the utility model discloses can improve plastic granules's air-dry efficiency, can make heated air circulation use moreover, drying efficiency is higher, does benefit to and improves holistic production efficiency, can improve the whole quality effect of plastic granules to the screening of partial blank incomplete, the great plastic granules of volume simultaneously.
Drawings
FIG. 1 is a schematic structural view of an insulation grade flexible polyvinyl chloride plastic high-efficiency granulator according to the present invention;
fig. 2 is a schematic top view of the annular tube of fig. 1.
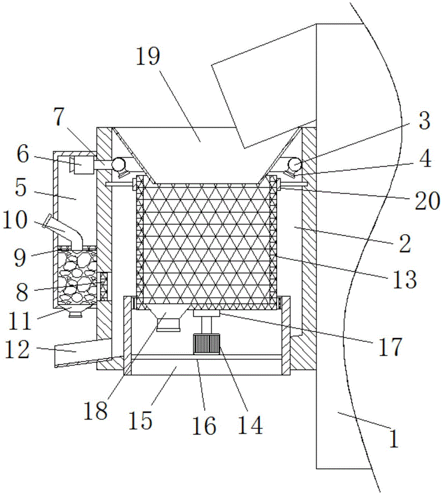
In the figure: 1 granulator body, 2 processing tanks, 3 annular pipes, 4 air nozzles, 5 return boxes, 6 hot air blowers, 7 air outlet pipes, 8 first blocking nets, 9 second blocking nets, 10 feeding pipes, 11 discharge hoppers, 12U-shaped discharge plates, 13 centrifugal net cylinders, 14 motors, 15 round sleeves, 16 supporting plates, 17 rotating blocks, 18 discharge hoppers, 19 conical guide plates and 20 round rings.
Detailed Description
The technical solutions in the embodiments of the present invention will be described clearly and completely with reference to the accompanying drawings in the embodiments of the present invention, and it is obvious that the described embodiments are only some embodiments of the present invention, not all embodiments.
Referring to fig. 1-2, an efficient insulation-grade flexible polyvinyl chloride plastic granulator comprises a granulator body 1, wherein a treatment tank 2 is fixedly connected to the left side wall of the granulator body 1, the treatment tank 2 is arranged below the discharge end of the granulator body 1, a ring pipe 3 is fixedly connected to the upper end of the inner side wall of the treatment tank 2, a plurality of uniformly distributed air nozzles 4 are fixedly connected to the lower pipe wall of the ring pipe 3, a reflux box 5 is fixedly connected to the left outer side wall of the treatment tank 2, a hot air blower 6 is fixedly connected to the upper inner side wall of the reflux box 5, an air outlet pipe 7 is fixedly connected to the air outlet end of the hot air blower 6, the air outlet pipe 7 penetrates through the left side wall of the treatment tank 2 and is fixedly communicated with the left side of the pipe wall of the ring pipe 3, a reflux hole is formed in the position, which is located below the inside of the reflux box 5, a first blocking net 8 is fixedly arranged inside the reflux hole, a second blocking net 9 is fixedly arranged below the inside of the reflux box 5, the position that the inside of backward flow box 5 is located second fender net 9 below is filled there is the drier filler, the upper end fixedly connected with inlet pipe 10 of second fender net 9, and the upper end of inlet pipe 10 runs through the left side wall of backward flow box 5 and extends to the outside, the lower extreme fixedly connected with of backward flow box 5 goes out hopper 11, the equal threaded connection in the lateral wall lower extreme that goes out hopper 11 and the lateral wall upper end of inlet pipe 10 has first sealed lid, the left side wall lower extreme fixedly connected with U-shaped play flitch 12 of treatment tank 2, treatment tank 2 is connected with screening mechanism.
The screening mechanism comprises a centrifugal net cylinder 13, a motor 14 and a round sleeve 15, the lower end of a processing tank 2 is provided with a round hole and is fixedly connected with the lower end of the outer side wall of the round sleeve 15 through the round hole, the lower end of the outer side wall of the centrifugal net cylinder 13 is rotatably connected with the upper end of the inner side wall of the round sleeve 15 through a rolling bearing, a supporting plate 16 is fixedly arranged below the inner part of the round sleeve 15, the motor 14 is fixedly arranged at the upper end of the supporting plate 16, the output end of the motor 14 is rotatably connected with a rotating shaft through a coupler, the upper end of the rotating shaft is fixedly connected with a rotating block 17, the upper end of the rotating block 17 is fixedly connected with the lower end of the centrifugal net cylinder 13, a discharge hopper 18 is fixedly connected at the eccentric part of the lower end of the centrifugal net cylinder 13, a second sealing cover is connected at the lower end of the outer side wall of the discharge hopper 18 through threads, plastic particles cut by a granulator body 1 enter the inside of the centrifugal net cylinder 13, the motor 14 is started at the moment, the rotating shaft can be rotated, and the rotating block 17 can be rotated, and then can make centrifugal net section of thick bamboo 13 rotate to isolate qualified plastic granules through centrifugal force, the blank is not thorough, the great plastic granules of volume then stays inside centrifugal net section of thick bamboo 13, twists and moves the sealed lid of second, can roll out the unqualified plastic granules in centrifugal net section of thick bamboo 13, improves the whole quality effect of the plastic grain cutting.
The upper end of the inner side wall of the treatment tank 2 is fixedly connected with a conical material guide plate 19, and the lower end of the conical material guide plate 19 extends to the upper part of the interior of the centrifugal net cylinder 13, so that plastic particles can be guided into the interior of the centrifugal net cylinder 13.
The fixed ring 20 that has cup jointed on the lateral wall upper end of a centrifugal net section of thick bamboo 13, the equal fixedly connected with of lateral wall supports the slide bar about ring 20, the inside wall upper end of handling jar 2 seted up with support slide bar assorted annular spout, can increase the holding power of handling jar 2 to a centrifugal net section of thick bamboo 13, improve 3 pivoted stability of a centrifugal net section of thick bamboo.
The lower inside wall of treatment tank 2 sets up for the slope, can do benefit to the plastic granules of separation and discharge through U-shaped play flitch 12, avoids plastic granules to remain in treatment tank 2 is inside.
The desiccant filler is made of silica gel desiccant, and the silica gel desiccant can be reused after treatment, so that the cost investment is reduced.
The utility model discloses in, during the use, through pelleter body 1, can carry out the blank to the plastic strip and handle, cut the plastic granules after the grain is accomplished and arrange into through the discharge end and handle 2 insides to the jar, hot-blast air-blower 6 work, can be with hot-blast 4 blowout of a plurality of shower nozzles from play tuber pipe 7 and toroidal tube 3, thereby can carry out fast drying to the plastic granules who falls into 2 inside of jar of handling, improve plastic granules's air-dry efficiency, it flows back to 5 inside backflow boxes through the backward flow hole to handle 2 inside hot-blast 9 of jar, the hot-blast process drier filler of backward flow can carry out drying and dehumidification, hot-blast after the drying is inhaled the utilization by hot-blast air-blower 6 again, drying efficiency is higher, do benefit to and improve holistic production efficiency.
The above, only be the concrete implementation of the preferred embodiment of the present invention, but the protection scope of the present invention is not limited thereto, and any person skilled in the art is in the technical scope of the present invention, according to the technical solution of the present invention and the utility model, the concept of which is equivalent to replace or change, should be covered within the protection scope of the present invention.

Claims (6)

1. An efficient insulation-grade polyvinyl chloride plastic granulator comprises a granulator body (1) and is characterized in that a treatment tank (2) is fixedly connected to the left side wall of the granulator body (1), the treatment tank (2) is arranged below the discharge end of the granulator body (1), a ring pipe (3) is fixedly connected to the upper end of the inner side wall of the treatment tank (2), a plurality of uniformly distributed air nozzles (4) are fixedly connected to the lower pipe wall of the ring pipe (3), a backflow box (5) is fixedly connected to the left outer side wall of the treatment tank (2), a hot air blower (6) is fixedly connected to the upper inner side wall of the backflow box (5), an air outlet pipe (7) is fixedly connected to the air outlet end of the hot air blower (6), and the air outlet pipe (7) penetrates through the left side wall of the treatment tank (2) and is fixedly communicated with the left side of the pipe wall of the ring pipe (3), a backflow hole is arranged at the position of the left side wall of the processing tank (2) which is positioned at the lower part in the backflow box (5), a first blocking net (8) is fixedly arranged inside the backflow hole, a second blocking net (9) is fixedly arranged below the inside of the backflow box (5), the position, which is positioned below the second blocking net (9), in the reflux box (5) is filled with desiccant filler, the upper end of the second blocking net (9) is fixedly connected with a feeding pipe (10), and the upper end of the feeding pipe (10) penetrates through the left side wall of the reflux box (5) and extends to the outside, the lower end of the reflux box (5) is fixedly connected with a discharge hopper (11), the lower end of the outer side wall of the discharge hopper (11) and the upper end of the outer side wall of the feeding pipe (10) are both in threaded connection with a first sealing cover, the lower end of the left side wall of the treatment tank (2) is fixedly connected with a U-shaped discharge plate (12), and the treatment tank (2) is connected with a screening mechanism.
2. The efficient insulation-grade soft polyvinyl chloride plastic granulator according to claim 1, wherein the screening mechanism comprises a centrifugal net cylinder (13), a motor (14) and a round sleeve (15), the lower end of the treatment tank (2) is provided with a round hole and is fixedly connected with the lower end of the outer side wall of the round sleeve (15) through the round hole, the lower end of the outer side wall of the centrifugal net cylinder (13) is rotatably connected with the upper end of the inner side wall of the round sleeve (15) through a rolling bearing, a supporting plate (16) is fixedly arranged below the inner part of the round sleeve (15), the motor (14) is fixedly arranged at the upper end of the supporting plate (16), the output end of the motor (14) is rotatably connected with a rotating shaft through a coupler, the upper end of the rotating shaft is fixedly connected with a rotating block (17), the upper end of the rotating block (17) is fixedly connected with the lower end of the centrifugal net cylinder (13), and a discharge hopper (18) is fixedly connected at the eccentric position of the lower end of the centrifugal net cylinder (13), and the lower end of the outer side wall of the discharge hopper (18) is in threaded connection with a second sealing cover.
3. The high-efficiency insulating grade soft polyvinyl chloride plastic granulator according to claim 2, wherein a conical material guide plate (19) is fixedly connected to the upper end of the inner side wall of the treatment tank (2), and the lower end of the conical material guide plate (19) extends to the position above the inside of the centrifugal net cylinder (13).
4. The insulating grade flexible polyvinyl chloride plastic high-efficiency granulator according to claim 2, wherein the upper end of the outer side wall of the centrifugal screen cylinder (13) is fixedly connected with a ring (20), the left and right outer side walls of the ring (20) are fixedly connected with supporting slide bars, and the upper end of the inner side wall of the treatment tank (2) is provided with an annular chute matched with the supporting slide bars.
5. The insulated grade flexible polyvinyl chloride plastic high efficiency pelletizer according to claim 1, characterized in that the lower inner side wall of the processing tank (2) is inclined.
6. The insulated grade flexible polyvinyl chloride plastic high efficiency pelletizer according to claim 1, wherein the desiccant filler is silica gel desiccant.
CN202022535522.5U 2020-11-05 2020-11-05 High-efficient pelleter of insulating level soft polyvinyl chloride plastics Expired - Fee Related CN214056008U (en)

Priority Applications (1)

Application Number Priority Date Filing Date Title
CN202022535522.5U CN214056008U (en) 2020-11-05 2020-11-05 High-efficient pelleter of insulating level soft polyvinyl chloride plastics

Applications Claiming Priority (1)

Application Number Priority Date Filing Date Title
CN202022535522.5U CN214056008U (en) 2020-11-05 2020-11-05 High-efficient pelleter of insulating level soft polyvinyl chloride plastics

Publications (1)

Publication Number Publication Date
CN214056008U true CN214056008U (en) 2021-08-27

Family

ID=77399576

Family Applications (1)

Application Number Title Priority Date Filing Date
CN202022535522.5U Expired - Fee Related CN214056008U (en) 2020-11-05 2020-11-05 High-efficient pelleter of insulating level soft polyvinyl chloride plastics

Country Status (1)

Country Link
CN (1) CN214056008U (en)

Cited By (1)

* Cited by examiner, † Cited by third party
Publication number Priority date Publication date Assignee Title
CN115781968A (en) * 2022-12-06 2023-03-14 安徽埃克森科技集团有限公司 A kind of military cable sheath material and preparation method thereof

Cited By (1)

* Cited by examiner, † Cited by third party
Publication number Priority date Publication date Assignee Title
CN115781968A (en) * 2022-12-06 2023-03-14 安徽埃克森科技集团有限公司 A kind of military cable sheath material and preparation method thereof

Similar Documents

Publication Publication Date Title
CN104596216B (en) The drying machine of plastic bottle sheet
CN107962739A (en) Feeding device for injection mold
CN206812271U (en) Extrude pelleter
CN214056008U (en) High-efficient pelleter of insulating level soft polyvinyl chloride plastics
CN204604643U (en) A kind of waste paper plastic composite materials paper is separated-moulds skin granulation production system
CN101455295B (en) A dry three-stage maturing rice noodle unit
CN201284232Y (en) Apparatus for directly and continuously producing insoluble sulfur
CN111589792A (en) Plastic master batch dedusting, cleaning and drying integrated device
CN204478752U (en) The drying machine of plastic bottle sheet
CN206186148U (en) Plastic granule drying device
CN207954386U (en) A kind of underwater pelletizer
CN206967816U (en) A kind of plastics part continuous drying drying device
CN206357487U (en) A kind of plastic cleaning device
CN220397993U (en) Particle drying device for plastic product processing
CN219114741U (en) Feeding and drying device of plastic extruding machine
CN210453344U (en) Filling masterbatch dehumidification drying system
CN209174487U (en) A kind of livestock feed cleaning device
CN217777451U (en) High-capacity efficient plastic homogenizing device
CN218049346U (en) Shell cleaning equipment with drying function
CN212498478U (en) Energy-conserving drying device of recycled plastic particle's raw materials
CN211947294U (en) Down screening plant is used in down coat processing
CN214714843U (en) Mechanical automation medicinal material processing filter media equipment of adjustable filter speed
CN210862061U (en) Car plastic particle drying device
CN207915821U (en) A kind of extruder material strip drying device
CN107856225A (en) A kind of PE films special cleaning machine

Legal Events

Date Code Title Description
GR01 Patent grant
GR01 Patent grant
CF01 Termination of patent right due to non-payment of annual fee
CF01 Termination of patent right due to non-payment of annual fee

Granted publication date: 20210827