CN214022467U - Lumen instrument cleaning and sterilizing device - Google Patents

Lumen instrument cleaning and sterilizing device Download PDF

Info

Publication number
CN214022467U
CN214022467U CN202023103251.2U CN202023103251U CN214022467U CN 214022467 U CN214022467 U CN 214022467U CN 202023103251 U CN202023103251 U CN 202023103251U CN 214022467 U CN214022467 U CN 214022467U
Authority
CN
China
Prior art keywords
water
brush
cavity
cleaning
vibration motor
Prior art date
Legal status (The legal status is an assumption and is not a legal conclusion. Google has not performed a legal analysis and makes no representation as to the accuracy of the status listed.)
Expired - Fee Related
Application number
CN202023103251.2U
Other languages
Chinese (zh)
Inventor
姚卓娅
Current Assignee (The listed assignees may be inaccurate. Google has not performed a legal analysis and makes no representation or warranty as to the accuracy of the list.)
Xuanwei Henan Life Science Co ltd
Henan Provincial Peoples Hospital
Original Assignee
Xuan Yun Henan Academy Of Life Sciences Co ltd
Priority date (The priority date is an assumption and is not a legal conclusion. Google has not performed a legal analysis and makes no representation as to the accuracy of the date listed.)
Filing date
Publication date
Application filed by Xuan Yun Henan Academy Of Life Sciences Co ltd filed Critical Xuan Yun Henan Academy Of Life Sciences Co ltd
Priority to CN202023103251.2U priority Critical patent/CN214022467U/en
Application granted granted Critical
Publication of CN214022467U publication Critical patent/CN214022467U/en
Expired - Fee Related legal-status Critical Current
Anticipated expiration legal-status Critical

Links

Images

Landscapes

  • Brushes (AREA)

Abstract

本实用新型实施例涉及技术领域,具体涉及一种管腔器械清洗消毒装置,包括刷柄、刷头、喷水机构和振动机构,刷柄具有中空的容置腔室,容置腔室靠近其自由端形成容纳水的盛水腔;刷头包括固定部和刷丝;喷水机构包括均固定于零件安装腔内的微型水泵、第一水管和第二水管;振动机构包括安装于零件安装腔内的振动电机,其包括。本实用新型实施例的有益效果为:刷丝作用的部位始终处于浸润状态,从而保证了清洗、消毒的效果;利于附着在管腔器械内壁的污染物脱落,进一步保证了清洗、消毒效果,并且大大减少了手动操作的次数,提高了清洗效率,操作方便。

Figure 202023103251

The embodiments of the present invention relate to the technical field, in particular to a device for cleaning and sterilizing lumen instruments, comprising a brush handle, a brush head, a water spray mechanism and a vibration mechanism. The brush handle has a hollow accommodating chamber, and the accommodating chamber is close to it The free end forms a water holding cavity for accommodating water; the brush head includes a fixed part and a brush wire; the water spray mechanism includes a micro water pump, a first water pipe and a second water pipe all fixed in the parts installation cavity; the vibration mechanism includes a part installed in the parts installation cavity Vibration motor inside, which includes. The beneficial effects of the embodiments of the present utility model are: the part where the brushing wire acts is always in the infiltration state, thereby ensuring the effect of cleaning and disinfection; it is beneficial for the contaminants attached to the inner wall of the lumen device to fall off, further ensuring the cleaning and disinfection effect, and The number of manual operations is greatly reduced, the cleaning efficiency is improved, and the operation is convenient.

Figure 202023103251

Description

Lumen instrument cleaning and sterilizing device
Technical Field
The utility model relates to a lumen instrument of medical treatment usefulness washs technical field, concretely relates to lumen instrument cleaning and disinfecting device.
Background
Various lumen instruments are commonly used in hospitals and laboratories. Because the lumen apparatus has structural characteristics of slender and bending, and the like, pollutants such as bloodstain and the like stained on the inner wall of the lumen apparatus are not easy to wash off, and the disinfection effect is influenced. To ensure the cleaning effect of the lumen instrument, it is generally provided that: the lumen instrument is required to be positioned below the liquid level of cleaning liquid (water or solution with a disinfection effect), meanwhile, gas of the lumen instrument is required to be fully discharged (incomplete discharge can prevent the cleaning liquid from contacting and infiltrating the inner wall, and the cleaning and disinfection effects are influenced), and then the brush is used for reciprocating motion, so that the inner wall of the lumen instrument is cleaned and disinfected.
This cleaning method, need to keep lumen apparatus to be located below the liquid level all the time when using the brush, be unfavorable for the operation, influence washing, disinfection effect, wash simultaneously, disinfect the operating efficiency low. Further, when the brush is used, hands are directly contacted with cleaning liquid or the brush is worn for operation, the hands are directly contacted with the cleaning liquid and are harmful to health, and the difficulty of operation is further improved during the operation of wearing the brush.
Therefore, there is a need for a lumen instrument cleaning and disinfecting device that overcomes the above problems.
SUMMERY OF THE UTILITY MODEL
In order to solve the above-mentioned problem, for the problem of solving washing operation inconvenient, washing and disinfection effect poor, washing and disinfection inefficiency, the embodiment of the utility model provides a lumen instrument cleaning and disinfecting device, including brush holder, brush head, water spray mechanism and vibration mechanism, wherein:
the brush handle is provided with a hollow accommodating chamber, a water containing cavity for containing water is formed near the free end of the accommodating chamber, and a part of the accommodating chamber except the water containing cavity forms a part mounting cavity;
the brush head comprises a fixing part and brush wires, the first end of the fixing part is detachably arranged at the end part of the brush handle, which is far away from the water containing cavity, the brush wires are fixed on the side surface of the fixing part, at least two groups of the brush wires are arranged on the fixing part uniformly, and a water spraying gap for water to pass through is kept between each group of the brush wires and the fixing part;
the water spraying mechanism comprises a micro water pump, a first water pipe and a second water pipe which are all fixed in the part installation cavity, the first water pipe, the micro water pump and the second water pipe are sequentially communicated, the water inlet end of the first water pipe is communicated with the water containing cavity, and the water outlet end of the second water pipe penetrates through the water flowing cavity arranged on the fixing part and then is communicated with the water spraying gap;
the vibration mechanism comprises a vibration motor arranged in the part installation cavity, and a shell of the vibration motor is fixed at the end part of the brush handle close to the brush head.
In some embodiments, the axis of the head is offset relative to the axis of the handle, and the free ends of the filaments face in a direction opposite to the direction of offset of the head.
In some embodiments, the toothbrush further comprises a power line penetrating through the shell of the toothbrush handle, and the power supply end of the micro water pump and the power supply end of the vibration motor are connected to an external power source through the power line.
In some specific embodiments, the toothbrush further comprises a storage battery and a charging interface, the power supply end of the micro water pump and the power supply end of the vibration motor are both electrically connected to the power supply end of the storage battery, the charging interface is electrically connected to the charging end of the storage battery, and the charging interface is fixed to the outer surface of the toothbrush handle.
In some embodiments, the water inlet end of the first water pipe extends to the bottom of the water containing cavity and maintains a flow gap with the bottom of the water containing cavity.
In some embodiments, the vibration damping device further comprises a vibration damping member, and the vibration damping member is located between the side surface of the vibration motor and the inner side wall of the accommodating chamber.
In some embodiments, the cushioning member is made of a soft material.
In some embodiments, the vibration damping member is a spring, and the number of the springs is at least two, and the at least two springs are uniformly arranged on the peripheral side of the vibration motor.
In some embodiments, further comprising a longitudinal limit plate and a bull's eye bearing, wherein:
the longitudinal limiting plate is fixed in the part mounting cavity and is perpendicular to the axis of the part mounting cavity, a distance is kept between the longitudinal limiting plate and the vibration motor, and the side, facing the vibration motor, of the longitudinal limiting plate is provided with the bull's eye bearing;
and the longitudinal limiting plate is provided with a through hole for the second water pipe to pass through.
In some embodiments, the brush head is removably mounted to the handle.
The utility model discloses beneficial effect does:
the micro water pump works, water (or cleaning fluid with disinfection effect) in the water containing cavity sequentially passes through the first water pipe, the micro water pump, the second water pipe and the water flowing cavity and then is sprayed out from the water spraying gap, so that the part acted by the brush wire is always in a wetting state, and the cleaning and disinfection effects are guaranteed;
the vibrating motor works to drive the brush head to vibrate, so that pollutants attached to the inner wall of the lumen instrument can fall off, the cleaning and disinfecting effects are further guaranteed, the number of times of manual operation is greatly reduced, the cleaning efficiency is improved, and the operation is convenient.
Drawings
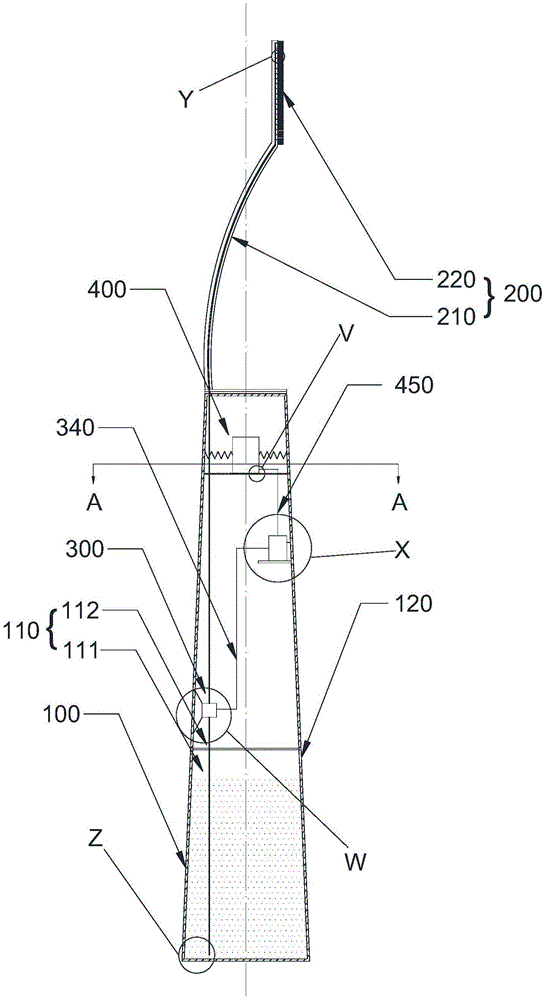
FIG. 1 is a schematic cross-sectional view of a longitudinal section of one embodiment of a cleaning and disinfecting device for lumen instruments;
FIG. 2 is a cross-sectional view of section A-A of FIG. 1;
FIG. 3 is an enlarged view of a portion of region Z of FIG. 1;
FIG. 4 is an enlarged view of a portion of region Y of FIG. 1;
FIG. 5 is an enlarged view of a portion of region X of FIG. 1;
FIG. 6 is an enlarged view of a portion of area W of FIG. 1;
fig. 7 is a partially enlarged view of the region V in fig. 1.
In the figure:
100. a brush handle; 110. an accommodating chamber; 111. a water containing cavity; 1111. a flow gap; 112. a part mounting cavity; 120. a water injection port;
200. a brush head; 210. a fixed part; 211. a running water cavity; 220. brushing wires; 230. a water spray gap;
300. a water spraying mechanism; 310. a first water pipe; 320. a micro water pump; 330. a second water pipe; 340. a first conductive line; 350. a mounting frame;
400. a vibration mechanism; 410. a vibration motor; 420. a spring; 430. a longitudinal limit plate; 440. a bull's eye bearing; 450. a second conductive line;
510. a storage battery; 520. a battery holder; 530. a charging interface; 540. and a third conductive line.
Detailed Description
Preferred embodiments of the present invention will be described below with reference to the accompanying drawings. It should be understood by those skilled in the art that these embodiments are only for explaining the technical principle of the present invention, and are not intended to limit the scope of the present invention.
Referring to fig. 1 to 7, an embodiment of the present invention discloses a cleaning and disinfecting device for a lumen instrument, including a brush handle 100, a brush head 200, a water spraying mechanism 300 and a vibrating mechanism 400, wherein:
the brush handle is provided with a hollow accommodating chamber 110, a water containing cavity 111 for containing water is formed near the free end of the accommodating chamber, and a part of the accommodating chamber except the water containing cavity forms a part mounting cavity 112;
the brush head comprises a fixed part 210 and brush wires 220, the first end of the fixed part is detachably mounted at the end part of the brush handle departing from the water containing cavity (the detachable mode can be bolt connection or buckle clamping connection), the brush wires are fixed at the side surface of the fixed part, the number of the brush wires is at least two, the at least two groups of the brush wires are uniformly arranged at the fixed part, and a water spraying gap 230 for water to pass through is kept between each group of the brush wires and the fixed part;
the water spraying mechanism comprises a micro water pump 320 (the micro water pump is fixed on the brush handle through a mounting rack 350), a first water pipe 310 and a second water pipe 330 which are all fixed in the part mounting cavity, the first water pipe, the micro water pump and the second water pipe are sequentially communicated, the water inlet end of the first water pipe is communicated to the water containing cavity, and the water outlet end of the second water pipe penetrates through a water flowing cavity 211 (the water flowing cavity penetrates through the fixing part) arranged on the fixing part and then is communicated to the water spraying gap;
the vibration mechanism comprises a vibration motor 410 arranged in the part installation cavity, and a shell of the vibration motor is fixed at the end part of the brush handle close to the brush head through a motor support.
The miniature water pump works, water (or cleaning fluid with disinfection effect) in the water containing cavity is sprayed out from the water spraying gap after sequentially passing through the first water pipe, the miniature water pump, the second water pipe and the water flowing cavity, so that the part acted by the brush wire is always in a soaking state, and the cleaning and disinfection effects are guaranteed.
The vibrating motor works to drive the brush head to vibrate, so that pollutants attached to the inner wall of the lumen instrument can fall off, the cleaning and disinfecting effects are further guaranteed, the number of times of manual operation is greatly reduced, the cleaning efficiency is improved, and the operation is convenient.
It should be noted that, for the convenience of placement, the brush handle is gradually retracted from the water containing cavity to the direction of the component mounting cavity, so as to form a structure with a large lower part (one end of the water containing cavity is the lower part) and a small upper part, thereby improving the stability of placing the lower end of the brush handle on a platform (such as a dressing table, a table top and the like) and preventing the brush handle from toppling over.
The axis of the head is offset relative to the axis of the handle and the free ends of the filaments face in the opposite direction to the offset of the head. This arrangement mode for the free end of brush silk can keep in same position basically with the brush holder and deviate from one side that the brush head is located, presses the brush holder better hard, has improved cleaning performance and cleaning efficiency.
The power source of the micro water pump and the vibration motor can adopt the following modes: the embodiment can also comprise a power line penetrating through the shell of the brush handle, and the power supply end of the micro water pump and the power supply end of the vibration motor are connected to an external power supply through the power line. When the water pump is used, the water pump can be connected with an external power supply through a power line, of course, a plug mode is usually arranged at one end of the power line connected with the external power supply, a USB plug can be used for the plug, and correspondingly, the working voltage of the micro water pump and the working voltage of the vibration motor are within the output voltage range of the USB.
The power source of the micro water pump and the vibration motor can also adopt the following modes: the embodiment may further include a storage battery 510 and a charging interface 530, wherein a power supply end of the micro water pump and a power supply end of the vibration motor are electrically connected to the power supply end of the storage battery through a first wire 340 and a second wire 450, the charging interface is electrically connected to the charging end of the storage battery through a third wire 510, and the charging interface is fixed on the outer surface of the brush handle. The rechargeable storage battery is adopted without the limitation of a power line. In addition, the battery may be fixed to the inner wall of the parts installation chamber by the battery bracket 520.
It should be noted that the water inlet end of the first water pipe extends to the bottom of the water containing cavity and maintains a flow gap 1111 with the bottom of the water containing cavity. This flow gap sets up and makes, can take out most water or washing liquid in flourishing water cavity, improves the utilization ratio of water or washing liquid.
The vibration motor is fixed on the inner wall of the accommodating chamber in a mode that: the vibration damping device comprises a vibration motor and is characterized by further comprising a vibration damping piece, wherein the vibration damping piece is located between the side face of the vibration motor and the inner side wall of the containing cavity. Fill the clearance between the inner wall of vibrating motor and accommodation chamber through the bradyseism piece, avoid vibrating motor to rock by a wide margin, the bradyseism piece adopts to make and to possess the cushioning effect like materials such as rubber, sponge, alleviates the vibration range of handle, has further promoted convenient operation nature simultaneously. The cushioning member is made of a soft material. As mentioned above, the soft material is
Because the elasticity of material itself is limited, its buffering, bradyseism effect is limited, consequently, in order to obtain bigger buffering, bradyseism effect, the bradyseism component is spring 420, the spring is at least two, at least two springs evenly arrange in vibrating motor's week side.
In addition, the brush handle at the upper part of the water containing cavity is provided with a water injection port 120 which is used for injecting water or cleaning fluid into the water containing cavity respectively, and simultaneously, the water or the cleaning fluid in the water containing cavity can be poured out through the water injection port when not in use. In addition, a sealing cap may be attached to the water filling port in order to prevent water or cleaning liquid from flowing out of the water filling port during normal use.
In some embodiments, further comprising a longitudinal limiting plate 430 and a bull's eye bearing 440, wherein:
the longitudinal limiting plate is fixed in the part mounting cavity and is perpendicular to the axis of the part mounting cavity, a distance is kept between the longitudinal limiting plate and the vibration motor, and the side, facing the vibration motor, of the longitudinal limiting plate is provided with the bull's eye bearing;
and the longitudinal limiting plate is provided with a through hole for the second water pipe to pass through.
The vertical limiting plate is used for restraining the motion of the vibration motor in the vertical direction, and the vibration motor is prevented from being overlarge in amplitude.
The brush silk has a life-span, and it is big to change the brush silk degree of difficulty alone, brush head demountable installation in the brush holder. The whole brush head is made into a consumable material, and when the service life of the brush filaments is reached, the whole brush head is detached and replaced by a new brush head.
It should be noted that in the description of the present invention, the terms "center", "upper", "lower", "left", "right", "vertical", "horizontal", "inner", "outer", etc. indicating the directions or positional relationships are based on the directions or positional relationships shown in the drawings, which are only for convenience of description, and do not indicate or imply that the device or element must have a specific orientation, be constructed and operated in a specific orientation, and thus, should not be construed as limiting the present invention. Furthermore, the terms "first," "second," and "third" are used for descriptive purposes only and are not to be construed as indicating or implying relative importance.
Furthermore, it should be noted that, in the description of the present invention, unless otherwise explicitly specified or limited, the terms "mounted," "connected," and "connected" are to be construed broadly, and may be, for example, fixedly connected, detachably connected, or integrally connected; can be mechanically or electrically connected; they may be connected directly or indirectly through intervening media, or they may be interconnected between two elements. The specific meaning of the above terms in the present invention can be understood by those skilled in the art according to specific situations.
The terms "comprises," "comprising," or any other similar term are intended to cover a non-exclusive inclusion, such that a process, article, or apparatus that comprises a list of elements does not include only those elements but may include other elements not expressly listed or inherent to such process, article, or apparatus.
So far, the technical solution of the present invention has been described with reference to the preferred embodiments shown in the drawings, but it is easily understood by those skilled in the art that the scope of the present invention is obviously not limited to these specific embodiments. Without departing from the principle of the present invention, a person skilled in the art can make equivalent changes or substitutions to the related technical features, and the technical solutions after these changes or substitutions will fall within the protection scope of the present invention.

Claims (10)

1. The utility model provides a lumen instrument cleaning and sterilizing device which characterized in that, includes brush holder, brush head, water spray mechanism and vibration mechanism, wherein:
the brush handle is provided with a hollow accommodating chamber, a water containing cavity for containing water is formed near the free end of the accommodating chamber, and a part of the accommodating chamber except the water containing cavity forms a part mounting cavity;
the brush head comprises a fixing part and brush wires, the first end of the fixing part is detachably arranged at the end part of the brush handle, which is far away from the water containing cavity, the brush wires are fixed on the side surface of the fixing part, at least two groups of the brush wires are arranged on the fixing part uniformly, and a water spraying gap for water to pass through is kept between each group of the brush wires and the fixing part;
the water spraying mechanism comprises a micro water pump, a first water pipe and a second water pipe which are all fixed in the part installation cavity, the first water pipe, the micro water pump and the second water pipe are sequentially communicated, the water inlet end of the first water pipe is communicated with the water containing cavity, and the water outlet end of the second water pipe penetrates through the water flowing cavity arranged on the fixing part and then is communicated with the water spraying gap;
the vibration mechanism comprises a vibration motor arranged in the part installation cavity, and a shell of the vibration motor is fixed at the end part of the brush handle close to the brush head.
2. The tubular lumen instrument cleaning and disinfecting device of claim 1 wherein the axis of the brush head is offset relative to the axis of the handle, the free ends of the filaments facing in a direction opposite to the offset direction of the brush head.
3. The cleaning and disinfecting device for tubular cavity instruments as claimed in claim 1, further comprising a power cord passing through the shell of the brush handle, wherein the power supply end of the micro water pump and the power supply end of the vibration motor are connected to an external power supply through the power cord.
4. The cleaning and disinfecting device for the tubular cavity instruments as claimed in claim 1, further comprising a storage battery and a charging interface, wherein the power supply end of the micro water pump and the power supply end of the vibration motor are electrically connected to the power supply end of the storage battery, the charging interface is electrically connected with the charging end of the storage battery, and the charging interface is fixed on the outer surface of the brush handle.
5. The tubular cavity instrument cleaning and disinfecting device of claim 1, wherein the water inlet end of the first water pipe extends to the bottom of the water containing cavity and is in flow clearance with the bottom of the water containing cavity.
6. The cleaning and disinfecting device for tubular cavity instruments as claimed in any one of claims 1 to 5, further comprising a shock absorber, wherein the shock absorber is positioned between the side surface of the vibration motor and the inner side wall of the accommodating chamber.
7. The tubular lumen instrument cleaning and disinfecting device of claim 6 wherein the cushioning member is made of a soft material.
8. The tubular cavity instrument cleaning and disinfecting device of claim 6, wherein the cushioning member is a spring, the number of the springs is at least two, and the at least two springs are uniformly arranged on the peripheral side of the vibration motor.
9. The cleaning and disinfecting device for lumen instruments of claim 8, further comprising a longitudinal limiting plate and a bull's eye bearing, wherein:
the longitudinal limiting plate is fixed in the part mounting cavity and is perpendicular to the axis of the part mounting cavity, a distance is kept between the longitudinal limiting plate and the vibration motor, and the side, facing the vibration motor, of the longitudinal limiting plate is provided with the bull's eye bearing;
and the longitudinal limiting plate is provided with a through hole for the second water pipe to pass through.
10. The tubular lumen instrument cleaning and disinfecting device of claim 9 wherein the brush head is removably mounted to the handle.
CN202023103251.2U 2020-12-17 2020-12-17 Lumen instrument cleaning and sterilizing device Expired - Fee Related CN214022467U (en)

Priority Applications (1)

Application Number Priority Date Filing Date Title
CN202023103251.2U CN214022467U (en) 2020-12-17 2020-12-17 Lumen instrument cleaning and sterilizing device

Applications Claiming Priority (1)

Application Number Priority Date Filing Date Title
CN202023103251.2U CN214022467U (en) 2020-12-17 2020-12-17 Lumen instrument cleaning and sterilizing device

Publications (1)

Publication Number Publication Date
CN214022467U true CN214022467U (en) 2021-08-24

Family

ID=77339304

Family Applications (1)

Application Number Title Priority Date Filing Date
CN202023103251.2U Expired - Fee Related CN214022467U (en) 2020-12-17 2020-12-17 Lumen instrument cleaning and sterilizing device

Country Status (1)

Country Link
CN (1) CN214022467U (en)

Similar Documents

Publication Publication Date Title
CN104525532B (en) Medical Tubular Container Cleaner
CN108405434A (en) A kind of vibration type cleaning device for medical appliance
CN109288242A (en) A kind of gynemetrics's production nursing cleaning device
CN214022467U (en) Lumen instrument cleaning and sterilizing device
CN104665243B (en) Medical Oral Care Devices
CN214289798U (en) Lumen instrument cleaning and disinfection device
CN212442452U (en) Cleaning device for chemical test tube
CN101332015A (en) Multifunctional electric cleaner
CN209490119U (en) A kind of oral cavity cleaning plant
CN219680817U (en) Separated tooth-flushing device
CN111419457A (en) Automatic cleaning and sterilizing device and using method
CN117160970A (en) A belt cleaning device for medical instrument
CN215017047U (en) Multifunctional endoscope cleaning brush
CN211584573U (en) Heating perineum scrubbing device
JP2013215337A (en) Intraoral cleaner
CN209647060U (en) A kind of band hairbrush Medical orthopedic electric drill cleaning device
CN201230909Y (en) Multifunctional electric cleaner
CN212592532U (en) Durable electric toothbrush
CN214503649U (en) Activity detection device for stem cell active factors
CN214719129U (en) Brush for cleaning container
CN212664267U (en) Portable anesthesia branch of academic or vocational study degassing unit
CN218870538U (en) A portable dental cleaner
CN215349575U (en) Fat transplantation syringe needle
CN213283514U (en) Head-replaceable electric toothbrush
KR20190060454A (en) Oral cleaner

Legal Events

Date Code Title Description
GR01 Patent grant
GR01 Patent grant
CP03 Change of name, title or address

Address after: 450000 rooms 102, 104, 108, 110, 112, 114, 116, 122, 1st floor, building 4, 220 Huashan Road, Zhongyuan District, Zhengzhou City, Henan Province

Patentee after: Xuanwei (Henan) Life Science Co.,Ltd.

Country or region after: China

Address before: 450000 rooms 102, 104, 108, 110, 112, 114, 116, 122, 1st floor, building 4, 220 Huashan Road, Zhongyuan District, Zhengzhou City, Henan Province

Patentee before: Xuan Yun (Henan) Academy of Life Sciences Co.,Ltd.

Country or region before: China

CP03 Change of name, title or address
TR01 Transfer of patent right

Effective date of registration: 20240707

Address after: 450000 No. 7 Weiwu Road, Jinshui District, Zhengzhou City, Henan Province

Patentee after: HENAN PROVINCIAL PEOPLE'S Hospital

Country or region after: China

Address before: 450000 rooms 102, 104, 108, 110, 112, 114, 116, 122, 1st floor, building 4, 220 Huashan Road, Zhongyuan District, Zhengzhou City, Henan Province

Patentee before: Xuanwei (Henan) Life Science Co.,Ltd.

Country or region before: China

TR01 Transfer of patent right
CF01 Termination of patent right due to non-payment of annual fee

Granted publication date: 20210824

CF01 Termination of patent right due to non-payment of annual fee