CN214000321U - 一种注塑模具加工翻转装置 - Google Patents

一种注塑模具加工翻转装置 Download PDF

Info

Publication number
CN214000321U
CN214000321U CN202022771960.1U CN202022771960U CN214000321U CN 214000321 U CN214000321 U CN 214000321U CN 202022771960 U CN202022771960 U CN 202022771960U CN 214000321 U CN214000321 U CN 214000321U
Authority
CN
China
Prior art keywords
injection mold
supporting side
side plates
fixed mounting
box body
Prior art date
Legal status (The legal status is an assumption and is not a legal conclusion. Google has not performed a legal analysis and makes no representation as to the accuracy of the status listed.)
Expired - Fee Related
Application number
CN202022771960.1U
Other languages
English (en)
Inventor
蒋颖
Current Assignee (The listed assignees may be inaccurate. Google has not performed a legal analysis and makes no representation or warranty as to the accuracy of the list.)
Shenzhen Guosheng Weiye Precision Instrument Co ltd
Original Assignee
Shenzhen Guosheng Weiye Precision Instrument Co ltd
Priority date (The priority date is an assumption and is not a legal conclusion. Google has not performed a legal analysis and makes no representation as to the accuracy of the date listed.)
Filing date
Publication date
Application filed by Shenzhen Guosheng Weiye Precision Instrument Co ltd filed Critical Shenzhen Guosheng Weiye Precision Instrument Co ltd
Priority to CN202022771960.1U priority Critical patent/CN214000321U/zh
Application granted granted Critical
Publication of CN214000321U publication Critical patent/CN214000321U/zh
Expired - Fee Related legal-status Critical Current
Anticipated expiration legal-status Critical

Links

Images

Landscapes

  • Moulds For Moulding Plastics Or The Like (AREA)

Abstract

本实用新型公开了一种注塑模具加工翻转装置,包括一号工作台和支撑侧板,一号工作台顶部相对的两侧上均固定安装有支撑侧板,两个支撑侧板和一号工作台之间呈U型结构设置,两个支撑侧板之间通过连接转轴转动安装有翻转架,翻转架其中一侧的连接转轴远离翻转架的一端通过轴承座与支撑侧板转动安装,支撑侧板远离轴承座的一侧固定安装有驱动箱体,驱动箱体的内部设有自锁驱动机构,翻转架远离轴承座一侧的连接转轴贯穿支撑侧板与自锁驱动机构安装;本实用新型结构紧凑,实现注塑模具旋转翻转,方便加工,涡轮、蜗杆自锁功能,防止翻转回转,提高翻转稳定性、可靠性,翻转架高度可调,满足翻转架不同高度要求,提高适应性,调节方便。

Description

一种注塑模具加工翻转装置
技术领域
本实用新型涉及翻转装置,特别涉及一种注塑模具加工翻转装置,属于模具加工技术领域。
背景技术
模具是工业生产上用以注塑、吹塑、挤出、压铸或锻压成型、冶炼、冲压等方法得到所需产品的各种模子和工具,注塑模具加工是先将塑料加入模具中,然后模具沿两垂直轴不断旋转并使之加热,模内的塑料在重力和热能的作用下,逐渐均匀地涂布、熔融粘附于模腔的整个表面上,成型为所需要的形状,给冷却定型而制得。
目前注塑模具加工翻转在旋转过程中,当旋转后模具在非水平状态时易出现翻转回转或继续旋转,导致旋转翻转的模具与所需翻转的角度之间存在偏差,造成翻转稳定性、可靠性较差,加工操作不便,实用性不强。
实用新型内容
本实用新型要解决的技术问题是克服现有技术目前注塑模具加工翻转在旋转过程中,当旋转后模具在非水平状态时易出现翻转回转或继续旋转,导致旋转翻转的模具与所需翻转的角度之间存在偏差,造成翻转稳定性、可靠性较差,加工操作不便的缺陷,提供一种注塑模具加工翻转装置。
为了解决上述技术问题,本实用新型提供了如下的技术方案:
本实用新型一种注塑模具加工翻转装置,包括一号工作台和支撑侧板,所述一号工作台顶部相对的两侧上均固定安装有支撑侧板,两个所述支撑侧板和一号工作台之间呈U型结构设置,两个所述支撑侧板之间通过连接转轴转动安装有翻转架,所述翻转架其中一侧的连接转轴远离翻转架的一端通过轴承座与支撑侧板转动安装,所述支撑侧板远离轴承座的一侧固定安装有驱动箱体,所述驱动箱体的内部设有自锁驱动机构,所述翻转架远离轴承座一侧的连接转轴贯穿支撑侧板与自锁驱动机构安装,所述一号工作台的底部设有二号工作台,所述二号工作台上设有升降机构。
作为本实用新型的一种优选技术方案,所述自锁驱动机构包括涡轮、蜗杆和一号电机,所述连接转轴远离轴承座的一端与涡轮固定安装,所述涡轮与蜗杆啮合设置,所述涡轮和蜗杆转动安装在驱动箱体内,所述蜗杆的一端通过联轴器与一号电机的输出端固定安装,所述一号电机固定安装在驱动箱体上。
作为本实用新型的一种优选技术方案,所述升降机构包括螺纹杆、螺纹块、支撑杆和二号电机,所述二号工作台的内部转动安装有螺纹杆,所述螺纹杆上螺纹安装有螺纹块,所述螺纹块相对的两侧均固定安装有支撑杆,两个所述支撑杆均呈L型结构设置,两个所述支撑杆的顶部均贯穿二号工作台与一号工作台的底部固定安装,所述螺纹杆的底部通过联轴器与二号工作台上二号电机的输出端固定安装。
作为本实用新型的一种优选技术方案,所述翻转架呈框型结构设置,所述翻转架相对的两侧上固定安装有夹具。
作为本实用新型的一种优选技术方案,所述夹具由液压缸、液压杆和夹板组成,所述翻转架相对的两侧上均固定安装有液压缸,两个所述液压缸的输出端均通过液压杆与夹板固定安装,所述夹板远离液压杆的一侧固定安装有橡胶垫。
作为本实用新型的一种优选技术方案,所述驱动箱体采用不锈钢材料制成,所述驱动箱体的内部固定安装有隔音层。
本实用新型所达到的有益效果是:
1、该注塑模具加工翻转装置,结构紧凑,使用方便,通过设置在一号工作台上两个支撑侧板之间的翻转架,注塑模具通过夹具夹装在翻转架上,在驱动箱体内的自锁驱动机构驱动下,实现翻转架及注塑模具的旋转翻转,方便注塑模具的加工,且涡轮、蜗杆具有自锁功能,防止翻转旋转后因模具非水平状态造成的翻转回转,从而通过自锁提高翻转的稳定性、可靠性和安全性。
2、该注塑模具加工翻转装置,通过设置在一号工作台底部的二号工作台,在二号工作台上的升降机构作用下,实现一号工作台的升降调节,使得一号工作台上的翻转架高度可调,从而满足不同使用者对翻转架高度要求,提高模具加工翻转的适应性和可操作性,调节方便,实用性更强。
附图说明
附图用来提供对本实用新型的进一步理解,并且构成说明书的一部分,与本实用新型的实施例一起用于解释本实用新型,并不构成对本实用新型的限制。在附图中:
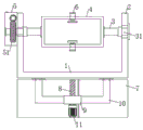
图1是本实用新型的结构示意图;
图2是本实用新型的一号工作台的结构示意图;
图3是本实用新型的蜗杆的结构示意图。
图中:1、一号工作台;2、支撑侧板;3、连接转轴;31、轴承座;4、翻转架;5、驱动箱体;51、涡轮;52、蜗杆;53、一号电机;6、夹具;7、二号工作台;8、螺纹杆;9、螺纹块;10、支撑杆;11、二号电机。
具体实施方式
以下结合附图对本实用新型的优选实施例进行说明,应当理解,此处所描述的优选实施例仅用于说明和解释本实用新型,并不用于限定本实用新型。
实施例
如图1-图3所示,一种注塑模具加工翻转装置,包括一号工作台1和支撑侧板2,所述一号工作台1顶部相对的两侧上均固定安装有支撑侧板2,两个所述支撑侧板2和一号工作台1之间呈U型结构设置,两个所述支撑侧板2之间通过连接转轴3转动安装有翻转架4,所述翻转架4其中一侧的连接转轴3远离翻转架4的一端通过轴承座31与支撑侧板2转动安装,所述支撑侧板2远离轴承座31的一侧固定安装有驱动箱体5,所述驱动箱体5的内部设有自锁驱动机构,所述翻转架4远离轴承座31一侧的连接转轴3贯穿支撑侧板2与自锁驱动机构安装,所述一号工作台1的底部设有二号工作台7,所述二号工作台7上设有升降机构。
进一步的,所述自锁驱动机构包括涡轮51、蜗杆52和一号电机53,所述连接转轴3远离轴承座31的一端与涡轮51固定安装,所述涡轮51与蜗杆52啮合设置,所述涡轮51和蜗杆52转动安装在驱动箱体5内,所述蜗杆52的一端通过联轴器与一号电机53的输出端固定安装,所述一号电机53固定安装在驱动箱体5上,在驱动箱体5内的自锁驱动机构驱动下,实现翻转架4及注塑模具的旋转翻转,涡轮51、蜗杆52具有自锁功能,因此,防止翻转旋转后因模具非水平状态造成的翻转回转或继续过度旋转,从而通过自锁提高翻转的精准度、稳定性、可靠性和安全性。
在上述方案的基础上,所述升降机构包括螺纹杆8、螺纹块9、支撑杆10和二号电机11,所述二号工作台7的内部转动安装有螺纹杆8,所述螺纹杆8上螺纹安装有螺纹块9,所述螺纹块9相对的两侧均固定安装有支撑杆10,两个所述支撑杆10均呈L型结构设置,两个所述支撑杆10的顶部均贯穿二号工作台7与一号工作台1的底部固定安装,所述螺纹杆8的底部通过联轴器与二号工作台7上二号电机11的输出端固定安装,使得一号工作台1上的翻转架4高度可调,从而满足不同使用者对翻转架4高度要求,提高模具加工翻转的适应性,调节方便。
进一步的,所述翻转架4呈框型结构设置,所述翻转架4相对的两侧上固定安装有夹具6,利用翻转架4相对两侧上的夹具6对注塑模具装夹固定。
其中,所述夹具6由液压缸、液压杆和夹板组成,所述翻转架4相对的两侧上均固定安装有液压缸,两个所述液压缸的输出端均通过液压杆与夹板固定安装,所述夹板远离液压杆的一侧固定安装有橡胶垫,夹持、拆卸方便。
其中,所述驱动箱体5采用不锈钢材料制成,所述驱动箱体5的内部固定安装有隔音层,能够提高驱动箱体5的隔音性能,降低翻转驱动噪音。
工作原理:使用时,将注塑模具放置在翻转架4内,利用翻转架4相对两侧上的夹具6对注塑模具装夹固定,翻转时,驱动箱体5上的一号电机53驱动蜗杆52转动,蜗杆52带动与其啮合的涡轮51转动,涡轮51通过连接转轴3带动两个支撑侧板2之间的翻转架4旋转,即在驱动箱体5内的自锁驱动机构驱动下,实现翻转架4及注塑模具的旋转翻转,涡轮51、蜗杆52具有自锁功能,因此,防止翻转旋转后因模具非水平状态造成的翻转回转或继续过度旋转,从而通过自锁提高翻转的精准度、稳定性、可靠性和安全性,通过设置在一号工作台1底部的二号工作台7,二号电机11驱动螺纹杆8转动,螺纹块9在螺纹杆8上升降运动,通过支撑杆10带动一号工作台1在二号工作台7上升降调节,使得一号工作台1上的翻转架4高度可调,从而满足不同使用者对翻转架4高度要求,提高模具加工翻转的适应性和可操作性,调节方便,实用性更强。
最后应说明的是:以上所述仅为本实用新型的优选实施例而已,并不用于限制本实用新型,尽管参照前述实施例对本实用新型进行了详细的说明,对于本领域的技术人员来说,其依然可以对前述各实施例所记载的技术方案进行修改,或者对其中部分技术特征进行等同替换。凡在本实用新型的精神和原则之内,所作的任何修改、等同替换、改进等,均应包含在本实用新型的保护范围之内。

Claims (6)

1.一种注塑模具加工翻转装置,其特征在于:包括一号工作台(1)和支撑侧板(2),所述一号工作台(1)顶部相对的两侧上均固定安装有支撑侧板(2),两个所述支撑侧板(2)和一号工作台(1)之间呈U型结构设置,两个所述支撑侧板(2)之间通过连接转轴(3)转动安装有翻转架(4),所述翻转架(4)其中一侧的连接转轴(3)远离翻转架(4)的一端通过轴承座(31)与支撑侧板(2)转动安装,所述支撑侧板(2)远离轴承座(31)的一侧固定安装有驱动箱体(5),所述驱动箱体(5)的内部设有自锁驱动机构,所述翻转架(4)远离轴承座(31)一侧的连接转轴(3)贯穿支撑侧板(2)与自锁驱动机构安装,所述一号工作台(1)的底部设有二号工作台(7),所述二号工作台(7)上设有升降机构。
2.根据权利要求1所述的一种注塑模具加工翻转装置,其特征在于:所述自锁驱动机构包括涡轮(51)、蜗杆(52)和一号电机(53),所述连接转轴(3)远离轴承座(31)的一端与涡轮(51)固定安装,所述涡轮(51)与蜗杆(52)啮合设置,所述涡轮(51)和蜗杆(52)转动安装在驱动箱体(5)内,所述蜗杆(52)的一端通过联轴器与一号电机(53)的输出端固定安装,所述一号电机(53)固定安装在驱动箱体(5)上。
3.根据权利要求1所述的一种注塑模具加工翻转装置,其特征在于:所述升降机构包括螺纹杆(8)、螺纹块(9)、支撑杆(10)和二号电机(11),所述二号工作台(7)的内部转动安装有螺纹杆(8),所述螺纹杆(8)上螺纹安装有螺纹块(9),所述螺纹块(9)相对的两侧均固定安装有支撑杆(10),两个所述支撑杆(10)均呈L型结构设置,两个所述支撑杆(10)的顶部均贯穿二号工作台(7)与一号工作台(1)的底部固定安装,所述螺纹杆(8)的底部通过联轴器与二号工作台(7)上二号电机(11)的输出端固定安装。
4.根据权利要求1所述的一种注塑模具加工翻转装置,其特征在于:所述翻转架(4)呈框型结构设置,所述翻转架(4)相对的两侧上固定安装有夹具(6)。
5.根据权利要求4所述的一种注塑模具加工翻转装置,其特征在于:所述夹具(6)由液压缸、液压杆和夹板组成,所述翻转架(4)相对的两侧上均固定安装有液压缸,两个所述液压缸的输出端均通过液压杆与夹板固定安装,所述夹板远离液压杆的一侧固定安装有橡胶垫。
6.根据权利要求2所述的一种注塑模具加工翻转装置,其特征在于:所述驱动箱体(5)采用不锈钢材料制成,所述驱动箱体(5)的内部固定安装有隔音层。
CN202022771960.1U 2020-11-26 2020-11-26 一种注塑模具加工翻转装置 Expired - Fee Related CN214000321U (zh)

Priority Applications (1)

Application Number Priority Date Filing Date Title
CN202022771960.1U CN214000321U (zh) 2020-11-26 2020-11-26 一种注塑模具加工翻转装置

Applications Claiming Priority (1)

Application Number Priority Date Filing Date Title
CN202022771960.1U CN214000321U (zh) 2020-11-26 2020-11-26 一种注塑模具加工翻转装置

Publications (1)

Publication Number Publication Date
CN214000321U true CN214000321U (zh) 2021-08-20

Family

ID=77307917

Family Applications (1)

Application Number Title Priority Date Filing Date
CN202022771960.1U Expired - Fee Related CN214000321U (zh) 2020-11-26 2020-11-26 一种注塑模具加工翻转装置

Country Status (1)

Country Link
CN (1) CN214000321U (zh)

Cited By (2)

* Cited by examiner, † Cited by third party
Publication number Priority date Publication date Assignee Title
CN114102967A (zh) * 2021-11-08 2022-03-01 东台市强圣精密铸造有限公司 一种用于注塑机的转动式双腔成型设备
CN117066725A (zh) * 2023-10-17 2023-11-17 赣州先牛科技有限公司 一种柔性光伏组件加工用打孔切割设备

Cited By (3)

* Cited by examiner, † Cited by third party
Publication number Priority date Publication date Assignee Title
CN114102967A (zh) * 2021-11-08 2022-03-01 东台市强圣精密铸造有限公司 一种用于注塑机的转动式双腔成型设备
CN114102967B (zh) * 2021-11-08 2023-12-26 东台市强圣精密铸造有限公司 一种用于注塑机的转动式双腔成型设备
CN117066725A (zh) * 2023-10-17 2023-11-17 赣州先牛科技有限公司 一种柔性光伏组件加工用打孔切割设备

Similar Documents

Publication Publication Date Title
CN214000321U (zh) 一种注塑模具加工翻转装置
CN112551118B (zh) 铸件模具加工用角度与旋转双调节夹持机构
CN216399568U (zh) 一种模具加工用翻转装置
CN118437791B (zh) 一种冷挤压高强度卡钩成型设备
CN220218066U (zh) 一种模具加工用支撑装置
CN114406830B (zh) 一种模具制作用内圆角磨圆装置及其实施方法
CN214212772U (zh) 一种焊接工装夹具
CN213946346U (zh) 一种铝型材挤压模具用维修研磨工作台
CN214133518U (zh) 一种压铸模具制造用压力机
CN210702197U (zh) 一种用于汽车模具的防转顶料机
CN223222929U (zh) 一种可翻转的模具加工定位装置
CN217398754U (zh) 一种工艺品生产用夹具
CN212471409U (zh) 一种模具维修用辅助装置
CN222024253U (zh) 一种艺术玻璃用加工用定型装置
CN220825977U (zh) 一种汽车零件处理加工夹持限位装置
CN217860573U (zh) 一种冲压成型模具局部修边装置
CN210940343U (zh) 一种便于取出工件的冷却定型装置
CN220864630U (zh) 一种后视镜压板垫模具定位装置
CN221538885U (zh) 一种便于定位调节的铸钢加工工装
CN223655872U (zh) 模具组装用翻转装置
CN223313723U (zh) 一种模具腔体无尘抛光装置
CN222680566U (zh) 玻璃瓶罐生产用模具抛光机
CN223656694U (zh) 一种冰箱生产用模具打磨装置
CN222175705U (zh) 一种定位夹持设备
CN222308386U (zh) 一种模具打磨装置

Legal Events

Date Code Title Description
GR01 Patent grant
GR01 Patent grant
CF01 Termination of patent right due to non-payment of annual fee

Granted publication date: 20210820

CF01 Termination of patent right due to non-payment of annual fee