CN213995189U - A kind of dust removal device for building construction - Google Patents
A kind of dust removal device for building construction Download PDFInfo
- Publication number
- CN213995189U CN213995189U CN202022816238.5U CN202022816238U CN213995189U CN 213995189 U CN213995189 U CN 213995189U CN 202022816238 U CN202022816238 U CN 202022816238U CN 213995189 U CN213995189 U CN 213995189U
- Authority
- CN
- China
- Prior art keywords
- commutator
- longitudinal
- case
- transverse
- wall
- Prior art date
- Legal status (The legal status is an assumption and is not a legal conclusion. Google has not performed a legal analysis and makes no representation as to the accuracy of the status listed.)
- Expired - Fee Related
Links
- 239000000428 dust Substances 0.000 title claims abstract description 25
- 238000009435 building construction Methods 0.000 title claims abstract description 9
- 239000004744 fabric Substances 0.000 claims abstract description 16
- 238000010276 construction Methods 0.000 claims abstract description 6
- 238000007789 sealing Methods 0.000 claims description 4
- 230000001681 protective effect Effects 0.000 claims description 3
- 239000000779 smoke Substances 0.000 description 3
- 230000000694 effects Effects 0.000 description 2
- 241000883990 Flabellum Species 0.000 description 1
- 230000009286 beneficial effect Effects 0.000 description 1
- 239000012535 impurity Substances 0.000 description 1
- 238000009434 installation Methods 0.000 description 1
- 238000012423 maintenance Methods 0.000 description 1
- 238000000034 method Methods 0.000 description 1
Images
Landscapes
- Filtering Of Dispersed Particles In Gases (AREA)
Abstract
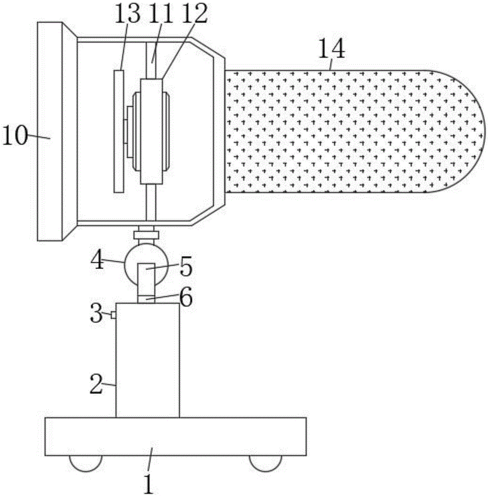
本实用新型公开了一种建筑施工用除尘装置,涉及施工除尘装置领域,包括支撑板,所述支撑板的顶端连接有支撑柱,且支撑柱的一侧设置有横向拨盘,所述支撑柱的顶端连接有连接柱,且连接柱的顶端连接有横向换向器,所述横向换向器的一侧连接有换向球,且换向球的一侧设置有纵向换向器,所述纵向换向器的一侧连接有纵向拨盘,所述换向球的顶端连接有机箱,所述机箱的内部安装有电机,且电机的输出端连接有扇叶,所述电机的两端连接有连接条,所述机箱的一侧连接有防尘布袋。本实用新型通过设置横向拨盘、横向换向器、纵向拨盘、纵向换向器等实现该装置的角度调节功能,从而使该装置具备多角度调整状态,由此提高该装置的实用性和操作性。
The utility model discloses a dust removal device for building construction, which relates to the field of construction dust removal devices. A connecting column is connected to the top of the connecting column, and a transverse commutator is connected to the top of the connecting column. One side of the transverse commutator is connected with a reversing ball, and one side of the reversing ball is provided with a longitudinal One side of the longitudinal commutator is connected with a longitudinal dial, the top of the reversing ball is connected with a chassis, a motor is installed inside the chassis, and the output end of the motor is connected with a fan blade, and both ends of the motor are connected There are connecting strips, and a dust-proof cloth bag is connected to one side of the chassis. The utility model realizes the angle adjustment function of the device by arranging a transverse dial, a transverse commutator, a longitudinal dial, a longitudinal commutator, etc., so that the device has a multi-angle adjustment state, thereby improving the practicability and the practicability of the device. operability.
Description
Claims (6)
Priority Applications (1)
| Application Number | Priority Date | Filing Date | Title |
|---|---|---|---|
| CN202022816238.5U CN213995189U (en) | 2020-11-30 | 2020-11-30 | A kind of dust removal device for building construction |
Applications Claiming Priority (1)
| Application Number | Priority Date | Filing Date | Title |
|---|---|---|---|
| CN202022816238.5U CN213995189U (en) | 2020-11-30 | 2020-11-30 | A kind of dust removal device for building construction |
Publications (1)
| Publication Number | Publication Date |
|---|---|
| CN213995189U true CN213995189U (en) | 2021-08-20 |
Family
ID=77308025
Family Applications (1)
| Application Number | Title | Priority Date | Filing Date |
|---|---|---|---|
| CN202022816238.5U Expired - Fee Related CN213995189U (en) | 2020-11-30 | 2020-11-30 | A kind of dust removal device for building construction |
Country Status (1)
| Country | Link |
|---|---|
| CN (1) | CN213995189U (en) |
-
2020
- 2020-11-30 CN CN202022816238.5U patent/CN213995189U/en not_active Expired - Fee Related
Similar Documents
| Publication | Publication Date | Title |
|---|---|---|
| CN211989878U (en) | A cleaning device for electrical automation equipment | |
| CN213995189U (en) | A kind of dust removal device for building construction | |
| CN217830366U (en) | Dust removal and recovery device for feldspar powder production workshop | |
| CN219727903U (en) | An electric bicycle charging pile with multiple charging ports | |
| CN213208033U (en) | A dust-proof structure for an indoor unit for an air-conditioning system | |
| CN214839753U (en) | Real-time information display device for countryside based on digital intelligence | |
| CN213412674U (en) | Tire trimming equipment | |
| CN211646333U (en) | Vibrating rammer for water conservancy construction | |
| CN210240111U (en) | Air inlet structure of cross flow fan | |
| CN222147929U (en) | A dust cover for electromechanical control cabinet | |
| CN213418999U (en) | Drilling positioning device for bridge engineering | |
| CN218065420U (en) | Integrated waste heat recovery sewage source heat pump unit | |
| CN218392808U (en) | Dust removal structure for crushing apparatus | |
| CN221676648U (en) | Interior wall grinding device based on house construction engineering | |
| CN207888716U (en) | A kind of pipe cutting machine convenient for fixed tubing | |
| CN220563803U (en) | Abandoned metal collection device | |
| CN112090191A (en) | Air dust adsorption equipment for construction | |
| CN222507876U (en) | Lithium ion battery PACK box | |
| CN221860469U (en) | A speed measuring device with radar and visual fusion | |
| CN220417538U (en) | Electronic factory building ventilation equipment | |
| CN215329482U (en) | Warning device suitable for municipal construction | |
| CN222063004U (en) | A waste recycling device based on construction economy | |
| CN213208189U (en) | New trend is wall dress panel for system | |
| CN221765408U (en) | A portable carbon emission collection device for public buildings | |
| CN221829307U (en) | Road traffic signal control device |
Legal Events
| Date | Code | Title | Description |
|---|---|---|---|
| GR01 | Patent grant | ||
| GR01 | Patent grant | ||
| TR01 | Transfer of patent right |
Effective date of registration: 20230718 Address after: No.398, Xinlu Road, Xinbang Town, Songjiang District, Shanghai, 201600 Patentee after: Shanghai Honggutan Enterprise Management Center (L.P.) Address before: No. 485, Binjiang dongxingang Middle Road, Haizhu District, Guangzhou, Guangdong 510310 Patentee before: Lin Feng |
|
| TR01 | Transfer of patent right | ||
| CF01 | Termination of patent right due to non-payment of annual fee |
Granted publication date: 20210820 |
|
| CF01 | Termination of patent right due to non-payment of annual fee |
