CN213982753U - A conference title display device - Google Patents

A conference title display device Download PDF

Info

Publication number
CN213982753U
CN213982753U CN202022630911.6U CN202022630911U CN213982753U CN 213982753 U CN213982753 U CN 213982753U CN 202022630911 U CN202022630911 U CN 202022630911U CN 213982753 U CN213982753 U CN 213982753U
Authority
CN
China
Prior art keywords
display device
box body
box
screw
title display
Prior art date
Legal status (The legal status is an assumption and is not a legal conclusion. Google has not performed a legal analysis and makes no representation as to the accuracy of the status listed.)
Expired - Fee Related
Application number
CN202022630911.6U
Other languages
Chinese (zh)
Inventor
柏晶
Current Assignee (The listed assignees may be inaccurate. Google has not performed a legal analysis and makes no representation or warranty as to the accuracy of the list.)
Shanwei Haoli Intelligent Technology Co ltd
Original Assignee
Yunnan Yuanshang Human Resources Information Consulting Co ltd
Priority date (The priority date is an assumption and is not a legal conclusion. Google has not performed a legal analysis and makes no representation as to the accuracy of the date listed.)
Filing date
Publication date
Application filed by Yunnan Yuanshang Human Resources Information Consulting Co ltd filed Critical Yunnan Yuanshang Human Resources Information Consulting Co ltd
Priority to CN202022630911.6U priority Critical patent/CN213982753U/en
Application granted granted Critical
Publication of CN213982753U publication Critical patent/CN213982753U/en
Expired - Fee Related legal-status Critical Current
Anticipated expiration legal-status Critical

Links

Images

Landscapes

  • Devices For Indicating Variable Information By Combining Individual Elements (AREA)

Abstract

本实用新型属于显示技术领域,尤其是一种会议标题显示装置,针对现有的显示装置不便于调节高度的问题,现提出如下方案,其包括箱体,所述箱体的一侧开设有安装孔,安装孔内转动安装有双向螺杆,双向螺杆的一端延伸至箱体外,且固定安装有手轮,双向螺杆的另一端延伸至箱体内,且转动安装在箱体的一侧内壁上,双向螺杆的两端均螺纹套接有位于箱体内的螺块,螺块的底部和顶部分别固定安装有导向块和移动板,两个移动板的一侧均开设有传动孔,箱体的顶部开设有两个通孔。本实用新型结构简单,设计合理,操作方便,能够自由调节显示装置的高度,从而能够保证人们能够完全看到会员标题,提高了装置的实用性。

Figure 202022630911

The utility model belongs to the technical field of display, in particular to a conference title display device. Aiming at the problem that the existing display device is inconvenient to adjust the height, the following solution is proposed. A two-way screw is installed in the installation hole, one end of the two-way screw extends to the outside of the box, and a handwheel is fixedly installed, and the other end of the two-way screw extends into the box, and is rotatably installed on one side of the inner wall of the box. Both ends of the two-way screw are threadedly sleeved with a screw block located in the box. The bottom and top of the screw block are respectively fixed with a guide block and a moving plate. One side of the two moving plates is provided with a transmission hole, and the top of the box is There are two through holes. The utility model has the advantages of simple structure, reasonable design and convenient operation, and can freely adjust the height of the display device, thereby ensuring that people can fully see the member titles and improving the practicability of the device.

Figure 202022630911

Description

Conference title display device
Technical Field
The utility model relates to a show technical field, especially relate to a meeting title display device.
Background
The conference title is a topic expression of the conference and is usually arranged above a chairman table of the conference, and in the prior art, a banner of the conference title is manufactured by adopting paper, textile materials and the like in a writing or printing mode and is hung or stuck above the chairman table of the conference. And because different meetings need different meeting titles, the meeting title banner is usually disposable, which not only consumes a large amount of resources, but also wastes a large amount of funds, and wastes time and labor.
The patent with publication number CN2864874 discloses a conference title display device, which has the technical scheme that the conference title display device comprises a display screen and an editing system; the display screen is connected with the editing system and used for displaying characters and background images output by the editing system. However, the height of the display device is fixed, people with different heights cannot be guaranteed to see the display device, and an improvement space exists.
SUMMERY OF THE UTILITY MODEL
The utility model aims at solving the defects existing in the prior art and providing a conference title display device.
In order to achieve the above purpose, the utility model adopts the following technical scheme:
the utility model provides a meeting title display device, the power distribution box comprises a box body, the mounting hole has been seted up to one side of box, two-way screw rod is installed to the mounting hole internal rotation, the one end of two-way screw rod extends to outside the box, and fixed mounting has the hand wheel, the other end of two-way screw rod extends to in the box, and rotate and install on one side inner wall of box, the equal screw thread in both ends of two-way screw rod has cup jointed the spiral shell piece that is located the box, the bottom and the top of spiral shell piece are fixed mounting respectively has guide block and movable plate, the transmission hole has all been seted up to one side of two movable plates, two through-holes have been seted up at the top of box, equal slidable mounting has the lifter in two through-holes, the top of two lifters all extends to the top of box, and fixed mounting has same elevating platform, the bottom of two lifters all extends to in the box, the top fixed mounting of elevating platform has the display device body.
Preferably, two guide grooves are formed in the inner wall of the bottom of the box body, and the two guide blocks are respectively slidably mounted in the two guide grooves.
Preferably, the bottom of one side of two lifter all fixed mounting have the transmission piece, and two transmission pieces are respectively slidable mounting in two transmission holes.
Preferably, the four corners of the top of the box body are fixedly provided with telescopic rods, and the top ends of the four telescopic rods are fixedly arranged at the bottom of the lifting platform.
Preferably, a fixing seat is fixedly installed on one side, close to the hand wheel, of the box body, and the fixing seat is movably sleeved on the two-way screw rod.
Preferably, a threaded hole is formed in the top of the fixing seat, and a fixing bolt is installed in the threaded hole.
In the utility model, when in use, the hand wheel is rotated to drive the bidirectional screw fixedly connected with the hand wheel to rotate, the guide block is slidably arranged in the guide groove, so the guide block can only horizontally slide along the guide groove, the screw block can only horizontally move due to the fixed connection relationship between the guide block and the screw block, the two screw blocks are respectively sleeved at the two ends of the bidirectional screw rod by screw threads, so the two screw blocks are mutually close along with the rotation of the bidirectional screw rod, the movable plate is fixedly arranged at the top of the screw block, so the movable plate can be driven to horizontally move, the lifting rod is slidably arranged in the through hole, so the lifting rod can only vertically move along the through hole, the transmission block fixedly arranged on the lifting rod can only vertically move, and due to the connection relationship among the transmission block, the transmission hole and the movable plate, therefore, the transmission block can be driven to move upwards, so that the lifting rod moves upwards, the display device body moves upwards due to the fixed connection relation among the lifting rod, the lifting platform and the display device body, when the display device body moves to a proper position, the hand wheel stops rotating, the fixing bolt is rotated, the bottom of the fixing bolt extrudes the bidirectional screw, the bidirectional screw is limited to rotate, and the display device body is fixed at the current height. The utility model discloses simple structure, reasonable in design, convenient operation can freely adjust display device's height to can guarantee that people can see the member title completely, improve the practicality of device.
Drawings
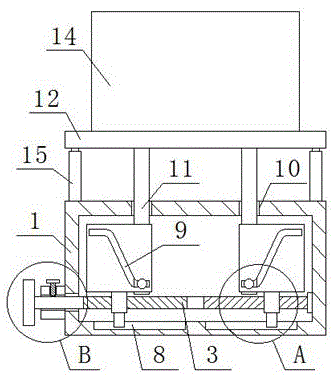
Fig. 1 is a schematic structural diagram of a conference title display device provided by the present invention;
fig. 2 is a schematic structural diagram of a part a of fig. 1 of a conference title display device according to the present invention;
fig. 3 is a schematic structural diagram of a part B in fig. 1 of a conference title display device according to the present invention.
In the figure: the display device comprises a box body 1, a mounting hole 2, a bidirectional screw rod 3, a hand wheel 4, a screw block 5, a guide block 6, a movable plate 7, a guide groove 8, a transmission hole 9, a through hole 10, a lifting rod 11, a lifting table 12, a transmission block 13, a display device body 14, a telescopic rod 15, a fixed seat 16, a threaded hole 17 and a fixing bolt 18.
Detailed Description
The technical solutions in the embodiments of the present invention will be described clearly and completely with reference to the accompanying drawings in the embodiments of the present invention, and it is obvious that the described embodiments are only some embodiments of the present invention, not all embodiments.
Example one
Referring to fig. 1-3, a conference title display device comprises a box body 1, wherein one side of the box body 1 is provided with a mounting hole 2, a bidirectional screw 3 is rotatably mounted in the mounting hole 2, one end of the bidirectional screw 3 extends out of the box body 1, a hand wheel 4 is fixedly mounted, the other end of the bidirectional screw 3 extends into the box body 1 and is rotatably mounted on one side inner wall of the box body 1, two ends of the bidirectional screw 3 are respectively in threaded sleeve connection with a screw block 5 positioned in the box body 1, the bottom and the top of the screw block 5 are respectively and fixedly mounted with a guide block 6 and a moving plate 7, one side of each of the two moving plates 7 is provided with a transmission hole 9, the top of the box body 1 is provided with two through holes 10, lifting rods 11 are respectively and slidably mounted in the two through holes 10, the top ends of the two lifting rods 11 extend to the upper side of the box body 1 and are fixedly mounted with a same lifting platform 12, and the bottom ends of the two lifting rods 11 extend into the box body 1, a display device body 14 is fixedly mounted on the top of the lifting table 12.
The utility model discloses in, two guide ways 8 have been seted up to the bottom inner wall of box 1, and two guide blocks 6 respectively slidable mounting in two guide ways 8, and guide block 6 only can be along 8 horizontal slip of guide ways.
The utility model discloses in, the equal fixed mounting in one side bottom of two lifter 11 has transmission piece 13, and two transmission piece 13 respectively slidable mounting in two transmission holes 9, and lifter 11 removes, can drive transmission piece 13 and remove for transmission piece 13 slides along transmission hole 9.
The utility model discloses in, the equal fixed mounting in top four corners position of box 1 has telescopic link 15, and the equal fixed mounting in top of four telescopic links 15 is in the bottom of elevating platform 12, and the stability that elevating platform 12 removed can be increased in the setting of telescopic link 15.
The utility model discloses in, one side fixed mounting that box 1 is close to hand wheel 4 has fixing base 16, and 16 activities of fixing base cup joint on two-way screw rod 3.
The utility model discloses in, threaded hole 17 is seted up at the top of fixing base 16, and fixing bolt 18 is installed to screw hole 17 internal thread, rotates fixing bolt 18, can be so that 18 vertical removal of fixing bolt.
Example two
Referring to fig. 1-3, a conference title display device comprises a box body 1, wherein one side of the box body 1 is provided with a mounting hole 2, a bidirectional screw 3 is rotatably mounted in the mounting hole 2, one end of the bidirectional screw 3 extends out of the box body 1, a hand wheel 4 is fixedly mounted, the other end of the bidirectional screw 3 extends into the box body 1 and is rotatably mounted on one side inner wall of the box body 1, two ends of the bidirectional screw 3 are respectively in threaded sleeve connection with a screw block 5 positioned in the box body 1, the bottom and the top of the screw block 5 are respectively and fixedly mounted with a guide block 6 and a moving plate 7, one side of each of the two moving plates 7 is provided with a transmission hole 9, the top of the box body 1 is provided with two through holes 10, lifting rods 11 are respectively and slidably mounted in the two through holes 10, the top ends of the two lifting rods 11 extend to the upper side of the box body 1 and are fixedly mounted with a same lifting platform 12, and the bottom ends of the two lifting rods 11 extend into the box body 1, a display device body 14 is fixedly mounted on the top of the lifting table 12.
The utility model discloses in, two guide ways 8 have been seted up to the bottom inner wall of box 1, and two guide blocks 6 respectively slidable mounting in two guide ways 8, and guide block 6 only can be along 8 horizontal slip of guide ways.
The utility model discloses in, the equal fixed mounting in one side bottom of two lifter 11 has transmission piece 13, and two transmission piece 13 respectively slidable mounting in two transmission holes 9, and lifter 11 removes, can drive transmission piece 13 and remove for transmission piece 13 slides along transmission hole 9.
The utility model discloses in, the equal fixed mounting in top four corners position of box 1 has telescopic link 15, and the equal fixed mounting in top of four telescopic links 15 is in the bottom of elevating platform 12, and the stability that elevating platform 12 removed can be increased in the setting of telescopic link 15.
The utility model discloses in, one side fixed mounting that box 1 is close to hand wheel 4 has fixing base 16, and 16 activities of fixing base cup joint on two-way screw rod 3.
The utility model discloses in, threaded hole 17 is seted up at the top of fixing base 16, and fixing bolt 18 is installed to screw hole 17 internal thread, rotates fixing bolt 18, can be so that 18 vertical removal of fixing bolt.
In the utility model, when in use, the hand wheel 4 is rotated to drive the bidirectional screw 3 fixedly connected with the hand wheel 4 to rotate, the guide block 6 is slidably arranged in the guide groove 8, so the guide block 6 can only horizontally slide along the guide groove 8, the screw block 5 can only horizontally move due to the fixed connection relationship between the guide block 6 and the screw block 5, the two screw blocks 5 are respectively in threaded sleeve connection with the two ends of the bidirectional screw 3, so the two screw blocks 5 are close to each other along with the rotation of the bidirectional screw 3, the movable plate 7 is fixedly arranged at the top of the screw block 5, so the movable plate 7 can be driven to horizontally move, the lifting rod 11 is slidably arranged in the through hole 10, so the lifting rod 11 can only vertically move along the through hole 10, so the transmission block 13 fixedly arranged on the lifting rod 11 can only vertically move, and the connection relationship between the transmission hole 9 and the movable plate 7 is realized due to the transmission block 13, therefore, the transmission block 13 can be driven to move upwards, so that the lifting rod 11 moves upwards, the display device body 14 moves upwards due to the fixed connection relationship among the lifting rod 11, the lifting table 12 and the display device body 14, when the display device body 14 moves to a proper position, the hand wheel 4 stops rotating, the fixing bolt 18 is rotated, the bottom of the fixing bolt 18 extrudes the bidirectional screw 3, the bidirectional screw 3 is limited to rotate, and the display device body 14 is fixed at the current height. The utility model discloses simple structure, reasonable in design, convenient operation can freely adjust display device's height to can guarantee that people can see the member title completely, improve the practicality of device.
The above, only be the concrete implementation of the preferred embodiment of the present invention, but the protection scope of the present invention is not limited thereto, and any person skilled in the art is in the technical scope of the present invention, according to the technical solution of the present invention and the utility model, the concept of which is equivalent to replace or change, should be covered within the protection scope of the present invention.

Claims (6)

1. The conference title display device comprises a box body (1) and is characterized in that one side of the box body (1) is provided with a mounting hole (2), a bidirectional screw (3) is rotatably installed in the mounting hole (2), one end of the bidirectional screw (3) extends out of the box body (1), a hand wheel (4) is fixedly installed on the other end of the bidirectional screw (3) extends into the box body (1) and is rotatably installed on the inner wall of one side of the box body (1), screw blocks (5) located in the box body (1) are sleeved on the two ends of the bidirectional screw (3) in a threaded manner, a guide block (6) and a movable plate (7) are respectively and fixedly installed at the bottom and the top of each screw block (5), transmission holes (9) are respectively formed in one side of each of the two movable plates (7), two through holes (10) are formed in the top of the box body (1), and lifting rods (11) are respectively and slidably installed in the two through holes (10), the top of two lifter (11) all extends to the top of box (1), and fixed mounting has same elevating platform (12), and in the bottom of two lifter (11) all extended to box (1), the top fixed mounting of elevating platform (12) had display device body (14).
2. The conference title display device as claimed in claim 1, wherein the inner wall of the bottom of the box body (1) is provided with two guide grooves (8), and the two guide blocks (6) are respectively slidably mounted in the two guide grooves (8).
3. The conference title display device as claimed in claim 1, wherein the two lifting rods (11) are fixedly provided with a transmission block (13) at the bottom of one side, and the two transmission blocks (13) are respectively slidably arranged in the two transmission holes (9).
4. The conference title display device as claimed in claim 1, wherein the four corners of the top of the box body (1) are fixedly provided with telescopic rods (15), and the top ends of the four telescopic rods (15) are fixedly arranged at the bottom of the lifting platform (12).
5. The conference title display device according to claim 1, wherein a fixing seat (16) is fixedly installed on one side of the box body (1) close to the hand wheel (4), and the fixing seat (16) is movably sleeved on the bidirectional screw rod (3).
6. The conference title display device as claimed in claim 5, wherein a threaded hole (17) is formed in the top of the fixed seat (16), and a fixing bolt (18) is installed in the threaded hole (17) in a threaded manner.
CN202022630911.6U 2020-11-14 2020-11-14 A conference title display device Expired - Fee Related CN213982753U (en)

Priority Applications (1)

Application Number Priority Date Filing Date Title
CN202022630911.6U CN213982753U (en) 2020-11-14 2020-11-14 A conference title display device

Applications Claiming Priority (1)

Application Number Priority Date Filing Date Title
CN202022630911.6U CN213982753U (en) 2020-11-14 2020-11-14 A conference title display device

Publications (1)

Publication Number Publication Date
CN213982753U true CN213982753U (en) 2021-08-17

Family

ID=77263192

Family Applications (1)

Application Number Title Priority Date Filing Date
CN202022630911.6U Expired - Fee Related CN213982753U (en) 2020-11-14 2020-11-14 A conference title display device

Country Status (1)

Country Link
CN (1) CN213982753U (en)

Similar Documents

Publication Publication Date Title
CN104948887A (en) Telescopic grid type liquid crystal screen lifting machine
CN207752706U (en) One kind being used for business administration Employees' achievement display board
CN213982753U (en) A conference title display device
CN210097120U (en) A disc filter cleaning device that is easy to move and adjust the height
CN212537217U (en) But electronic combat commander sand table of vertical lift upset
CN206395808U (en) A kind of new nuclear medicine fume hood radiopharmaceutical source lifter
CN204764343U (en) LCD screen lift rack body
CN216699133U (en) Switch cabinet convenient to overhaul
CN215814854U (en) Signboard is used in gardens with lift adjustment function
CN212647852U (en) Signboard capable of rapidly replacing advertisement content
CN211672922U (en) Workstation for building management with regulatory function
CN211673272U (en) Foldable picture hanger
CN209131650U (en) A kind of high-speed rail monitoring spherical prism regulating device
CN211231011U (en) A liquid medicine circulating pump
CN210337364U (en) Marketing data statistics appurtenance
CN219491756U (en) Mounting support frame for building glass curtain wall
CN207458460U (en) A kind of human resource information showing stand
CN113273806A (en) Drawing workstation for architectural design
CN210636574U (en) Building steel structure with lateral force resistance
CN214008636U (en) Display screen for displaying directed acyclic graph
CN206973214U (en) A kind of lift computer display
CN221019386U (en) Welding roller frame with adjustable lifting
CN219374057U (en) Screen easy to install and maintain
CN206852329U (en) Lift literary sketch easel
CN217877754U (en) Environmental monitoring device for building engineering with protective structure

Legal Events

Date Code Title Description
GR01 Patent grant
GR01 Patent grant
TR01 Transfer of patent right
TR01 Transfer of patent right

Effective date of registration: 20230519

Address after: Building 2, Building 6, Guangming Innovation and Entrepreneurship Center, No. 09 Sanhe Road, Hongcao Park, Shanwei High tech Zone, Shanwei City, Guangdong Province, 516600 (self declared)

Patentee after: Shanwei Haoli Intelligent Technology Co.,Ltd.

Address before: No. 4-1, floor 4, building 5, No. 70, Fengqi Road, Xishan District, Kunming, Yunnan 650100

Patentee before: Yunnan Yuanshang Human Resources Information Consulting Co.,Ltd.

CF01 Termination of patent right due to non-payment of annual fee
CF01 Termination of patent right due to non-payment of annual fee

Granted publication date: 20210817