CN213982645U - Computer display support convenient to angle modulation - Google Patents

Computer display support convenient to angle modulation Download PDF

Info

Publication number
CN213982645U
CN213982645U CN202022930897.1U CN202022930897U CN213982645U CN 213982645 U CN213982645 U CN 213982645U CN 202022930897 U CN202022930897 U CN 202022930897U CN 213982645 U CN213982645 U CN 213982645U
Authority
CN
China
Prior art keywords
hinged
connecting rod
fixedly connected
fixing seat
box
Prior art date
Legal status (The legal status is an assumption and is not a legal conclusion. Google has not performed a legal analysis and makes no representation as to the accuracy of the status listed.)
Expired - Fee Related
Application number
CN202022930897.1U
Other languages
Chinese (zh)
Inventor
左逸琳
林涛
Current Assignee (The listed assignees may be inaccurate. Google has not performed a legal analysis and makes no representation or warranty as to the accuracy of the list.)
Hebei University of Technology
Original Assignee
Hebei University of Technology
Priority date (The priority date is an assumption and is not a legal conclusion. Google has not performed a legal analysis and makes no representation as to the accuracy of the date listed.)
Filing date
Publication date
Application filed by Hebei University of Technology filed Critical Hebei University of Technology
Priority to CN202022930897.1U priority Critical patent/CN213982645U/en
Application granted granted Critical
Publication of CN213982645U publication Critical patent/CN213982645U/en
Expired - Fee Related legal-status Critical Current
Anticipated expiration legal-status Critical

Links

Images

Landscapes

  • Devices For Indicating Variable Information By Combining Individual Elements (AREA)

Abstract

本实用新型涉及计算机显示器技术领域,具体是一种便于角度调节的计算机显示器支架,包括固定板,所述固定板上设有若干个螺纹孔,所述固定板背面连接有转动组件,所述转动组件连接有固定柱,所述固定柱下端固定连接有支撑板表面,所述支撑板底面对称固定连接有移动柱,所述移动柱滑动连接有箱体,所述箱体为内部中空结构,所述移动柱穿过箱体延伸至箱体内,且固定连接有与箱体内腔底面固定连接的升降组件,本装置解决了现有的便于角度调节的计算机显示器支架存在的功能单一,不能进行高度调节,使用不方便的问题,本实用新型结构设计合理,使用方便,实用性强,实现了对高度进行调节,为用户使用带来了便利,从而满足用户的需求。

Figure 202022930897

The utility model relates to the technical field of computer monitors, in particular to a computer monitor stand which is convenient for angle adjustment. The assembly is connected with a fixed column, the lower end of the fixed column is fixedly connected with the surface of the support plate, the bottom surface of the support plate is symmetrically and fixedly connected with a moving column, and the moving column is slidably connected with a box body, and the box body is an internal hollow structure, so The moving column extends through the box body into the box body, and is fixedly connected with a lifting component that is fixedly connected with the bottom surface of the inner cavity of the box body. The device solves the problem that the existing computer monitor brackets that are convenient for angle adjustment have a single function and cannot perform height adjustment. , the problem of inconvenience in use, the utility model has reasonable structure design, convenient use and strong practicability, realizes the adjustment of the height, brings convenience for users to use, and thus meets the needs of users.

Figure 202022930897

Description

Computer display support convenient to angle modulation
Technical Field
The utility model relates to a computer display technical field specifically is a computer display support convenient to angle modulation.
Background
Computers are widely used, and have been applied to various households, and with the progress of computers, people pay more attention to the cases of computers. Computer displays are also commonly referred to as computer monitors or computer screens. It is the most important computer component except for CPU, mainboard, memory, power supply, keyboard and mouse. The concept of computer display is not unified, but is mostly recognized, and as the name suggests, it should be a display tool for displaying certain electronic documents on a screen through a specific transmission device and reflecting the electronic documents to human eyes.
The display is at the in-process that uses, often needs the support to support, and current display support function singleness can only single a pair of display carry out inclination and adjust, when facing different crowds, because of there is the difference in different crowds' height, the display support is immovable, has brought the inconvenience when can giving the user use.
SUMMERY OF THE UTILITY MODEL
An object of the utility model is to provide a computer display support convenient to angle modulation aims at solving the function singleness that current computer display support convenient to angle modulation exists, can not carry out altitude mixture control, uses inconvenient problem.
In order to achieve the above object, the utility model provides a following technical scheme:
the utility model provides a computer display support convenient to angle modulation, includes the fixed plate, be equipped with a plurality of screw hole on the fixed plate, its characterized in that, the fixed plate back connection has rotating assembly, rotating assembly is connected with the fixed column, fixed column lower extreme fixed connection is on the backup pad surface, the backup pad bottom surface symmetry fixedly connected with removes the post, it has the box to remove post sliding connection, the box is inside hollow structure, it passes the box and extends to in the box to remove the post, and fixedly connected with and box inner chamber bottom surface fixed connection's lifting unit.
As a further aspect of the present invention: and four corners of the bottom surface of the box body are fixedly connected with suckers.
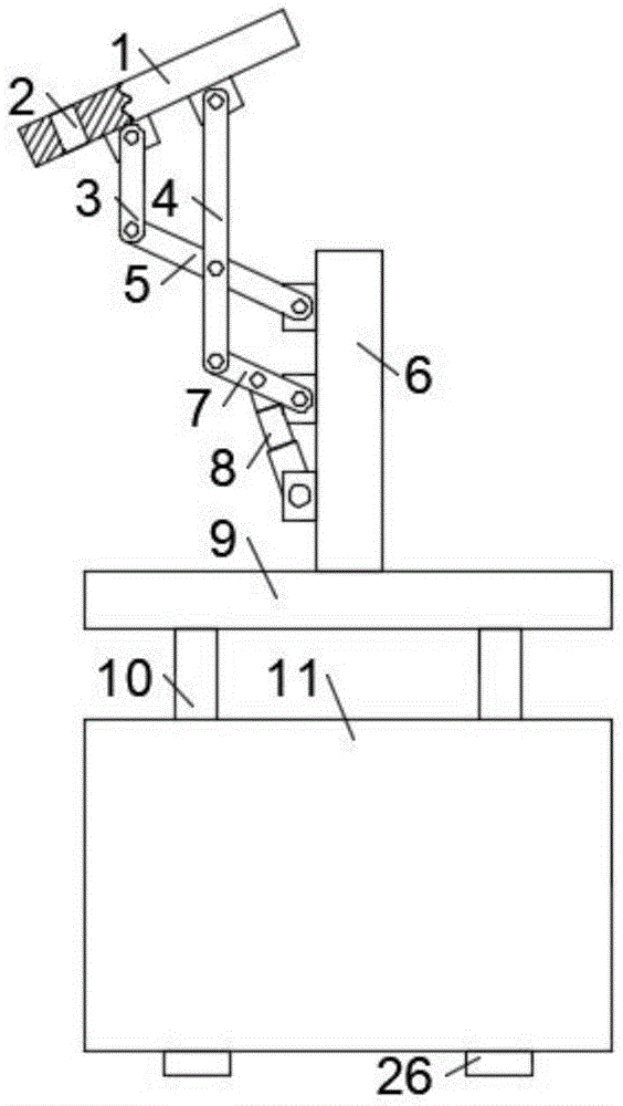
As a further aspect of the present invention: the rotating assembly comprises a first connecting rod hinged to the back of the fixing seat and the back of the fixing plate, the other end of the first connecting rod is hinged to a third connecting rod, the center of the third connecting rod is hinged to a second connecting rod hinged to the back of the fixing plate through the fixing seat, the end of the third connecting rod is hinged to the fixing column through the fixing seat, the end of the second connecting rod is hinged to a fourth connecting rod hinged to the fixing column through the fixing seat, and the fourth connecting rod is hinged to a telescopic piece hinged to the fixing column through the fixing seat.
As a further aspect of the present invention: lifting unit includes the movable plate with removal post fixed connection, movable plate and box inner wall sliding connection, the movable plate bottom surface articulates through the fixing base symmetry has the fifth connecting rod, the fifth connecting rod other end articulates there is the sixth connecting rod, two the sixth connecting rod is alternately articulated, and articulated department articulates through the loose axle has the spiral shell piece, the sixth connecting rod other end articulates there is the seventh connecting rod, two the seventh connecting rod passes through the fixing base jointly and articulates with box inner chamber bottom surface, spiral shell piece threaded connection has the threaded rod, threaded rod lower extreme fixedly connected with and box inner chamber bottom surface fixed connection's motor, threaded rod side fixedly connected with carriage release lever, carriage release lever sliding connection have with box inner chamber bottom surface fixed connection's mounting.
As a further aspect of the present invention: the box lateral wall symmetry is equipped with first spout, first spout inner wall sliding connection have with movable plate fixed connection's first slider, threaded rod upper end fixedly connected with baffle, the mounting side is equipped with the second spout, second spout inner wall sliding connection have with carriage release lever fixed connection's second slider.
Compared with the prior art, the beneficial effects of the utility model are that: this device passes the screw hole through the screw and fixes fixed plate and display, under the runner assembly effect, it rotates to drive fixed plate and display, carry out angle modulation to the display, under the elevating action, it reciprocates along the box to drive the removal post, drive the backup pad, the fixed column, fixed plate and display go up and down, carry out altitude mixture control to the display, for the user uses and has brought the facility, thereby satisfy user's demand, fine practicality has, the function singleness that current computer display support of being convenient for angle modulation exists has been solved to this device, can not carry out altitude mixture control, use inconvenient problem, the utility model has the advantages of reasonable design, convenient to use, the practicality is strong, has realized highly adjusting, has brought the facility for the user uses, thereby satisfies user's demand.
Drawings
FIG. 1 is a front view of a computer display stand facilitating angular adjustment;
fig. 2 is an internal sectional view of the case.
In the figure: 1. a fixing plate; 2. a threaded hole; 3. a first link; 4. a second link; 5. a third link; 6. fixing a column; 7. a fourth link; 8. a telescoping member; 9. a support plate; 10. moving the column; 11. a box body; 12. moving the plate; 13. a first slider; 14. a first chute; 15. a fifth link; 16. a sixth link; 17. a seventh connecting rod; 18. a screw block; 19. a threaded rod; 20. a motor; 21. a baffle plate; 22. a travel bar; 23. a second slider; 24. a second chute; 25. a fixing member; 26. And (4) sucking discs.
Detailed Description
The technical solution of the present patent will be described in further detail with reference to the following embodiments.
Reference will now be made in detail to embodiments of the present patent, examples of which are illustrated in the accompanying drawings, wherein like or similar reference numerals refer to the same or similar elements or elements having the same or similar function throughout. The embodiments described below with reference to the drawings are exemplary only for the purpose of explaining the present patent and are not to be construed as limiting the present patent.
Example 1
Please refer to fig. 1-2, in the embodiment of the present invention, a computer display bracket convenient for angle adjustment includes a fixing plate 1, a plurality of threaded holes 2 are provided on the fixing plate 1, a rotating component is connected to the back of the fixing plate 1, the rotating component is connected to a fixed column 6, the lower end of the fixed column 6 is fixedly connected to the surface of a supporting plate 9, a movable column 10 is symmetrically and fixedly connected to the bottom surface of the supporting plate 9, the movable column 10 is slidably connected to a box body 11, the box body 11 is an internal hollow structure, the movable column 10 passes through the box body 11 and extends into the box body 11, and a lifting component fixedly connected to the bottom surface of the inner cavity of the box body 11.
The utility model discloses an in the embodiment, it is fixed with fixed plate 1 and display to pass screw hole 2 through the screw, under the runner assembly effect, drives fixed plate 1 and display and rotates, carries out angle modulation to the display, under the elevating action, drives and removes post 10 and reciprocate along box 11, drives backup pad 9, fixed column 6, fixed plate 1 and display and goes up and down, carries out altitude mixture control to the display, for the user uses the facility of having brought, thereby satisfy user's demand, fine practicality has.
Example 2
Referring to fig. 1, in an embodiment of the present invention, suction cups 26 are fixedly connected to four corners of the bottom surface of the box 11.
The utility model discloses an in the embodiment, set up sucking disc 26, improve computer display support's stability for the support is fixed firm.
Example 3
Referring to fig. 1, in an embodiment of the present invention, the rotating assembly includes a first connecting rod 3 hinged to the back of the fixing plate 1 through a fixing seat, the other end of the first connecting rod 3 is hinged to a third connecting rod 5, a second connecting rod 4 hinged to the back of the fixing plate 1 through a fixing seat is hinged to a center of the third connecting rod 5, an end of the third connecting rod 5 is hinged to the fixing column 6 through a fixing seat, an end of the second connecting rod 4 is hinged to a fourth connecting rod 7 hinged to the fixing column 6 through a fixing seat, and the fourth connecting rod 7 is hinged to a telescopic member 8 hinged to the fixing column 6 through a fixing seat.
The utility model discloses an in the embodiment, extensible member 8 stretches out and draws back, under fourth connecting rod 7, third connecting rod 5, second connecting rod 4 and first connecting rod 3 mutually supporting, drives fixed plate 1 and display and rotates, carries out angle modulation to the display.
Example 4
Referring to fig. 2, in the embodiment of the present invention, the lifting assembly includes a moving plate 12 fixedly connected to a moving column 10, the moving plate 12 is connected with the inner wall of the box body 11 in a sliding way, the bottom surface of the moving plate 12 is symmetrically hinged with fifth connecting rods 15 through a fixed seat, the other end of the fifth connecting rod 15 is hinged with a sixth connecting rod 16, the two sixth connecting rods 16 are hinged in a crossing way, and the hinged part is hinged with a screw block 18 through a movable shaft, the other end of the sixth connecting rod 16 is hinged with a seventh connecting rod 17, the two seventh connecting rods 17 are hinged with the bottom surface of the inner cavity of the box body 11 through a fixed seat, the screw block 18 is connected with a threaded rod 19 in a threaded manner, the lower end of the threaded rod 19 is fixedly connected with a motor 20 fixedly connected with the bottom surface of the inner cavity of the box body 11, the side surface of the threaded rod 19 is fixedly connected with a moving rod 22, and the moving rod 22 is slidably connected with a fixing part 25 fixedly connected with the bottom surface of the inner cavity of the box body 11.
The utility model discloses an in the embodiment, open motor 20, motor 20 carries out just reversing, motor 20 output shaft drives threaded rod 19 and rotates, and then drive spiral shell piece 18 and carriage release lever 22 and reciprocate along mounting 25, and then at fifth connecting rod 15, sixth connecting rod 16 and seventh connecting rod 17 are under the mutually supporting action, it reciprocates along 11 inner walls of box to drive movable plate 12, then drive movable column 10 and reciprocate along box 11, drive backup pad 9, fixed column 6, fixed plate 1 and display go up and down, carry out altitude mixture control to the display, for the user uses and has brought the facility, thereby satisfy user's demand, and the multifunctional electric heating device has good practicality.
Example 5
Referring to fig. 2, in an embodiment of the present invention, the side wall of the box 11 is symmetrically provided with first sliding grooves 14, the inner wall of the first sliding grooves 14 is slidably connected to a first sliding block 13 fixedly connected to the moving plate 12, the upper end of the threaded rod 19 is fixedly connected to a baffle 21, the side surface of the fixing member 25 is provided with second sliding grooves 24, and the inner wall of the second sliding grooves 24 is slidably connected to a second sliding block 23 fixedly connected to the moving rod 22.
The utility model discloses an in the embodiment, first slider 13 reciprocates in first spout 14, drives and removes post 10 and removes from top to bottom, sets up baffle 21, plays limiting displacement, prevents that spiral shell piece 18 from coming off from threaded rod 19 to guarantee the stability of spiral shell piece 18 motion, second slider 23 reciprocates in second spout 24, drives movable rod 22 and removes from top to bottom.
The utility model discloses a theory of operation is: the fixing plate 1 is fixed with the display through the screw penetrating through the threaded hole 2, the extensible part 8 extends and retracts, the fixing plate 1 and the display are driven to rotate under the mutual cooperation of the fourth connecting rod 7, the third connecting rod 5, the second connecting rod 4 and the first connecting rod 3, the display is subjected to angle adjustment, the motor 20 is started, the motor 20 rotates forwards and backwards, the output shaft of the motor 20 drives the threaded rod 19 to rotate, the threaded block 18 and the moving rod 22 are further driven to move up and down along the fixing part 25, the moving plate 12 is further driven to move up and down along the inner wall of the box body 11 under the mutual cooperation of the fifth connecting rod 15, the sixth connecting rod 16 and the seventh connecting rod 17, the moving column 10 is further driven to move up and down along the box body 11, the supporting plate 9, the fixing column 6, the fixing plate 1 and the display are driven to lift, the height adjustment of the display is carried out, convenience is brought to the use of a user, and the requirement of the user is met, has good practicability.
The above is only the preferred embodiment of the present invention, and it should be noted that, for those skilled in the art, without departing from the concept of the present invention, several modifications and improvements can be made, which should also be regarded as the protection scope of the present invention, and these will not affect the effect of the implementation of the present invention and the practicability of the patent.

Claims (5)

1. The utility model provides a computer display support convenient to angle modulation, includes fixed plate (1), be equipped with a plurality of screw hole (2) on fixed plate (1), its characterized in that, fixed plate (1) back connection has rotating assembly, rotating assembly is connected with fixed column (6), fixed column (6) lower extreme fixed connection is on backup pad (9) surface, backup pad (9) bottom surface symmetry fixedly connected with removes post (10), it has box (11) to remove post (10) sliding connection, box (11) are inside hollow structure, it passes box (11) and extends to box (11) in to remove post (10), and fixedly connected with and box (11) inner chamber bottom surface fixed connection's elevating module.
2. The computer display support facilitating angle adjustment according to claim 1, wherein suction cups (26) are fixedly connected to four corners of the bottom surface of the case (11).
3. The computer display bracket convenient for angle adjustment according to claim 1, wherein the rotating assembly comprises a first connecting rod (3) hinged to the back of the fixing plate (1) through a fixing seat, the other end of the first connecting rod (3) is hinged to a third connecting rod (5), a second connecting rod (4) hinged to the back of the fixing plate (1) through a fixing seat is hinged to the center of the third connecting rod (5), the end of the third connecting rod (5) is hinged to the fixing seat (6) through a fixing seat, a fourth connecting rod (7) hinged to the fixing seat (6) through a fixing seat is hinged to the end of the second connecting rod (4), and a telescopic piece (8) hinged to the fixing seat (6) through a fixing seat is hinged to the fourth connecting rod (7).
4. The computer display bracket convenient for angle adjustment according to claim 1, wherein the lifting assembly comprises a moving plate (12) fixedly connected with the moving column (10), the moving plate (12) is slidably connected with the inner wall of the box body (11), the bottom surface of the moving plate (12) is symmetrically hinged with a fifth connecting rod (15) through a fixing seat, the other end of the fifth connecting rod (15) is hinged with a sixth connecting rod (16), two sixth connecting rods (16) are hinged in a crossed manner, a hinged part is hinged with a screw block (18) through a movable shaft, the other end of the sixth connecting rod (16) is hinged with a seventh connecting rod (17), two seventh connecting rods (17) are hinged with the bottom surface of the inner cavity of the box body (11) through the fixing seat, the screw block (18) is in threaded connection with a threaded rod (19), the lower end of the threaded rod (19) is fixedly connected with a motor (20) fixedly connected with the bottom surface of the inner cavity of the box body (11), threaded rod (19) side fixedly connected with carriage release lever (22), carriage release lever (22) sliding connection has with box (11) inner chamber bottom surface fixed connection's mounting (25).
5. The computer display bracket convenient for angle adjustment according to claim 4, wherein the side wall of the box body (11) is symmetrically provided with first sliding grooves (14), the inner wall of the first sliding grooves (14) is slidably connected with first sliding blocks (13) fixedly connected with the moving plate (12), the upper end of the threaded rod (19) is fixedly connected with a baffle (21), the side surface of the fixing member (25) is provided with second sliding grooves (24), and the inner wall of the second sliding grooves (24) is slidably connected with second sliding blocks (23) fixedly connected with the moving rod (22).
CN202022930897.1U 2020-12-09 2020-12-09 Computer display support convenient to angle modulation Expired - Fee Related CN213982645U (en)

Priority Applications (1)

Application Number Priority Date Filing Date Title
CN202022930897.1U CN213982645U (en) 2020-12-09 2020-12-09 Computer display support convenient to angle modulation

Applications Claiming Priority (1)

Application Number Priority Date Filing Date Title
CN202022930897.1U CN213982645U (en) 2020-12-09 2020-12-09 Computer display support convenient to angle modulation

Publications (1)

Publication Number Publication Date
CN213982645U true CN213982645U (en) 2021-08-17

Family

ID=77241330

Family Applications (1)

Application Number Title Priority Date Filing Date
CN202022930897.1U Expired - Fee Related CN213982645U (en) 2020-12-09 2020-12-09 Computer display support convenient to angle modulation

Country Status (1)

Country Link
CN (1) CN213982645U (en)

Similar Documents

Publication Publication Date Title
CN211902134U (en) Computer display screen base device
CN213900627U (en) Recorder for computer graphic image processing
CN213982645U (en) Computer display support convenient to angle modulation
CN207687622U (en) Bracket for anti-glare touch screen
CN215488468U (en) Shockproof multifunctional liquid crystal display screen
CN212156344U (en) Lifting support frame for splicing display screen
CN211694157U (en) Double screen display ware support that can freely adjust
CN209543320U (en) A kind of one backlight capacitance touch all-in-one machine
CN212080707U (en) A fixing device for a computer monitor
CN208156994U (en) Portable exhibition plate
CN212745738U (en) Computer display screen positioning device
CN221922895U (en) Can shrink display stand of (a)
CN2356559Y (en) Multi-angle lift table
CN215674320U (en) Capacitive touch screen convenient to adjust
CN210831196U (en) An all-in-one machine for old-age care
CN219606600U (en) Multiple regulation formula display support
CN216479701U (en) Display support convenient to height-adjusting
CN109812665B (en) Multifunctional lifting device for computer display
CN208237402U (en) A kind of height-adjustable liquid crystal display screen support
CN218671210U (en) Internet hospital information display platform
CN222880782U (en) A bracket for a computer monitor
CN221825009U (en) Inclination angle adjusting bracket of display screen
CN212066025U (en) Office table with computer fixing frame
CN219249495U (en) Multifunctional platform structure
CN218935849U (en) Display with adjustable height

Legal Events

Date Code Title Description
GR01 Patent grant
GR01 Patent grant
CF01 Termination of patent right due to non-payment of annual fee
CF01 Termination of patent right due to non-payment of annual fee

Granted publication date: 20210817