CN213981826U - A transfer device for installation of electromechanical equipment - Google Patents

A transfer device for installation of electromechanical equipment Download PDF

Info

Publication number
CN213981826U
CN213981826U CN202022671658.9U CN202022671658U CN213981826U CN 213981826 U CN213981826 U CN 213981826U CN 202022671658 U CN202022671658 U CN 202022671658U CN 213981826 U CN213981826 U CN 213981826U
Authority
CN
China
Prior art keywords
buffer
fixedly connected
connecting block
sliding
transfer device
Prior art date
Legal status (The legal status is an assumption and is not a legal conclusion. Google has not performed a legal analysis and makes no representation as to the accuracy of the status listed.)
Expired - Fee Related
Application number
CN202022671658.9U
Other languages
Chinese (zh)
Inventor
包崇让
陈同惠
Current Assignee (The listed assignees may be inaccurate. Google has not performed a legal analysis and makes no representation or warranty as to the accuracy of the list.)
Yunnan Tianding Technology Co ltd
Original Assignee
Yunnan Tianding Technology Co ltd
Priority date (The priority date is an assumption and is not a legal conclusion. Google has not performed a legal analysis and makes no representation as to the accuracy of the date listed.)
Filing date
Publication date
Application filed by Yunnan Tianding Technology Co ltd filed Critical Yunnan Tianding Technology Co ltd
Priority to CN202022671658.9U priority Critical patent/CN213981826U/en
Application granted granted Critical
Publication of CN213981826U publication Critical patent/CN213981826U/en
Expired - Fee Related legal-status Critical Current
Anticipated expiration legal-status Critical

Links

Images

Landscapes

  • Vibration Prevention Devices (AREA)

Abstract

本实用新型公开了一种机电设备安装用的转运装置,包括箱体,所述箱体的底部上固定安装有多个第一缓冲机构,多个所述第一缓冲机构的顶部均固定安装有第二缓冲机构,多个所述第二缓冲机构的顶部滑动设有底板,所述底板的底部设置有与第二缓冲机构顶部固定连接的第三缓冲机构,所述底板的顶部固定安装有支撑板,所述支撑板的顶部开设有两个凹槽。本实用新型通过箱体、底板、第一缓冲机构、第二缓冲机构和第三缓冲机构之间的配合使用,实现了通过设置伸缩杆和第一缓冲弹簧实现上下缓冲的目的,通过设置第一连接块和第二缓冲弹簧,实现左右缓冲的目的,通过设置第二连接块和第三缓冲弹簧,实现前后缓冲的目的,从而提高减震效果。

Figure 202022671658

The utility model discloses a transfer device for installation of electromechanical equipment, comprising a box body, a plurality of first buffer mechanisms are fixedly installed on the bottom of the box body, and the tops of the plurality of first buffer mechanisms are fixedly installed with The second buffer mechanism, the tops of the plurality of second buffer mechanisms are slidably provided with a bottom plate, the bottom of the bottom plate is provided with a third buffer mechanism fixedly connected to the top of the second buffer mechanism, and the top of the bottom plate is fixedly installed with a support The top of the support plate is provided with two grooves. The utility model achieves the purpose of realizing upper and lower buffering by arranging a telescopic rod and a first buffer spring through the cooperation among the box body, the bottom plate, the first buffer mechanism, the second buffer mechanism and the third buffer mechanism. The connecting block and the second buffer spring achieve the purpose of left and right buffering, and the second connecting block and the third buffer spring are arranged to achieve the purpose of front and rear buffering, thereby improving the shock absorption effect.

Figure 202022671658

Description

Transfer device for mounting electromechanical equipment
Technical Field
The utility model belongs to the technical field of the operation device, especially, relate to a transfer device of electromechanical device installation usefulness.
Background
The electromechanical equipment generally refers to machinery, electrical equipment and electrical automation equipment, and in a building, the electromechanical equipment is generally called machinery and pipeline equipment except for woodworking, earthwork, reinforcing steel bars and cement, and needs to be transported during construction engineering.
When the existing transfer device for mounting the electromechanical equipment runs the electromechanical equipment, the shock absorption effect on the electromechanical equipment is poor, the electromechanical equipment is easy to damage, meanwhile, the electromechanical equipment is inconvenient to fix in the running device, and the operation is inconvenient, so that the transfer device for mounting the electromechanical equipment is provided.
SUMMERY OF THE UTILITY MODEL
The utility model aims at solving the problem that the damping effect is not only poor and the electromechanical device is not convenient to fix, and providing a transfer device for electromechanical device installation.
In order to achieve the above purpose, the utility model adopts the following technical scheme:
the utility model provides a transfer device that electromechanical device installation was used, the power distribution box comprises a box body, fixed mounting has a plurality of first buffer gear on the bottom of box, and is a plurality of the equal fixed mounting in top of first buffer gear has second buffer gear, and is a plurality of second buffer gear's top slides and is equipped with the bottom plate, the bottom of bottom plate is provided with the third buffer gear with second buffer gear top fixed connection, the top fixed mounting of bottom plate has the backup pad, two recesses, two have been seted up at the top of backup pad rotate between the lateral wall in opposite directions of recess and run through and be equipped with same threaded rod, two equal sliding is equipped with the interior thread piece that the threaded rod was located to the thread bush in the recess, two the equal fixed mounting in top of interior thread piece has fixture.
Preferably, the first buffer mechanism comprises a telescopic rod fixedly installed at the bottom of the box body, the top of the telescopic rod is fixedly connected with the second buffer mechanism, and a first buffer spring is fixedly connected between the second buffer mechanism and the box body and sleeved on the telescopic rod in a sliding manner.
Preferably, the second buffer gear is including setting up in the connecting plate at telescopic link top, the connecting plate sets up with third buffer gear fixed connection, first spout has been seted up to the bottom of connecting plate, the first dead lever of fixedly connected with between the both ends lateral wall of first spout, it is equipped with the first connecting block of slip cap on locating first dead lever to slide in the first spout, first connecting block sets up with telescopic link and first buffer spring fixed connection, equal fixedly connected with slip cap second buffer spring on locating first dead lever between the both ends lateral wall of first connecting block and first spout.
Preferably, the third buffer gear is including offering the second spout on the bottom plate bottom, the same root second dead lever of fixedly connected with between the both ends lateral wall of second spout, it locates the second connecting block on the second dead lever to slide in the second spout to be equipped with the slip cap, second connecting block and connecting plate fixed connection set up, equal fixedly connected with slip cap locates the third buffer spring on the second dead lever between the both ends lateral wall of second connecting block and second spout.
Preferably, fixture include with internal thread piece top fixed connection's splint, the backup pad is located in splint slip, it runs through and is equipped with many slide bars, many to slide on the splint the free end fixed mounting of slide bar has same buffer board, fixedly connected with slip cap locates the fourth buffer spring on the slide bar between buffer board and the splint.
Preferably, the threads on the two sides of the threaded rod are arranged in opposite directions.
Compared with the prior art, the beneficial effects of the utility model are that:
1. the utility model discloses a cooperation between box, bottom plate, first buffer gear, second buffer gear and the third buffer gear is used, has realized realizing the purpose of buffering from top to bottom through setting up telescopic link and first buffer spring, through setting up first connecting block and second buffer spring, realizes controlling the purpose of buffering, through setting up second connecting block and third buffer spring, realizes the purpose of buffering around the realization to improve the shock attenuation effect.
2. The utility model discloses a cooperation between backup pad, recess, threaded rod, internal thread piece and the fixture is used, has realized placing electromechanical device in the backup pad, through rotating the threaded rod, can realize fixing electromechanical device's purpose, and easy operation realizes preventing to press from both sides electromechanical device bad simultaneously through setting up fourth buffer spring.
Drawings
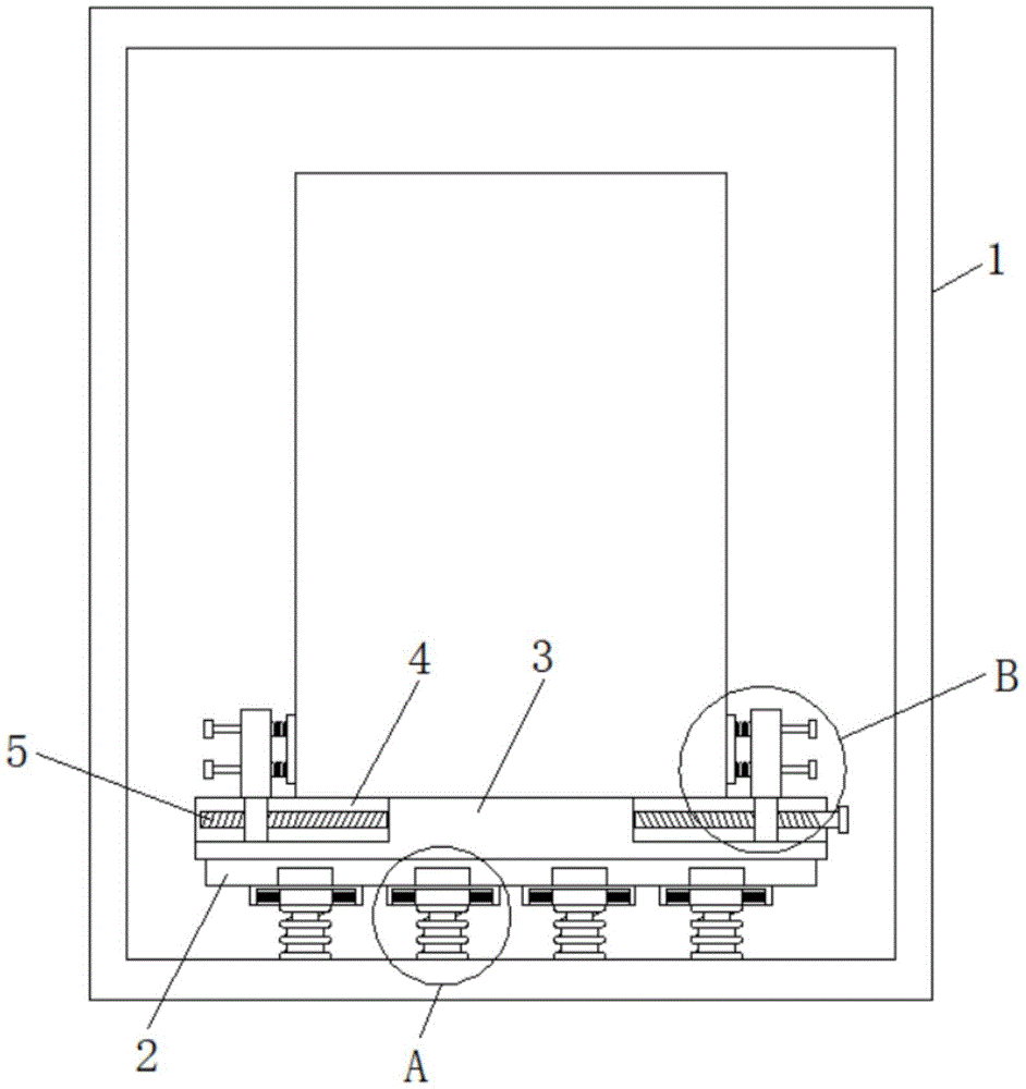
Fig. 1 is a schematic front perspective structural view of a transfer device for mounting electromechanical devices according to the present invention;
fig. 2 is a schematic view of a partial side perspective structure of a transfer device for mounting electromechanical devices according to the present invention;
FIG. 3 is an enlarged view of a portion of FIG. 1 at A;
fig. 4 is a partially enlarged view of fig. 1 at B.
In the figure: the device comprises a box body 1, a bottom plate 2, a supporting plate 3, a groove 4, a threaded rod 5, an internal thread block 6, a telescopic rod 7, a first buffer spring 8, a connecting plate 9, a first sliding groove 10, a first fixing rod 11, a first connecting block 12, a second buffer spring 13, a second sliding groove 14, a second fixing rod 15, a second connecting block 16, a third buffer spring 17, a clamping plate 18, a sliding rod 19, a buffer plate 20 and a fourth buffer spring 21.
Detailed Description
The technical solutions in the embodiments of the present invention will be described clearly and completely with reference to the accompanying drawings in the embodiments of the present invention, and it is obvious that the described embodiments are only some embodiments of the present invention, not all embodiments.
Referring to fig. 1-4, a transfer device for electromechanical device installation, including box 1, fixed mounting has a plurality of first buffer gear on the bottom of box 1, the equal fixed mounting in top of a plurality of first buffer gear has second buffer gear, the top of a plurality of second buffer gear slides and is equipped with bottom plate 2, the bottom of bottom plate 2 is provided with the third buffer gear with second buffer gear top fixed connection, the top fixed mounting of bottom plate 2 has backup pad 3, two recesses 4 have been seted up at the top of backup pad 3, it runs through same threaded rod 5 to rotate between the lateral wall in opposite directions of two recesses 4, it locates interior thread piece 6 on threaded rod 5 to all slide in two recesses 4 is equipped with the thread bush, the equal fixed mounting in top of two interior thread pieces 6 has fixture.
Wherein, first buffer gear includes telescopic link 7 of fixed mounting on the box 1 bottom, and the top and the second buffer gear fixed connection of telescopic link 7 set up, and fixedly connected with slip cap locates the first buffer spring 8 on telescopic link 7 between second buffer gear and the box 1.
It should be noted that the telescopic rod 7 and the first buffer spring 8 are telescopic, so that the purpose of buffering the electromechanical device in the vertical direction is achieved, the purpose of damping the electromechanical device is achieved, and internal elements of the electromechanical device are prevented from being damaged.
Wherein, second buffer gear is including setting up in connecting plate 9 at telescopic link 7 top, connecting plate 9 sets up with third buffer gear fixed connection, first spout 10 has been seted up to the bottom of connecting plate 9, the first dead lever 11 of fixedly connected with between the both ends lateral wall of first spout 10, it is equipped with the first connecting block 12 of slip cap on locating first dead lever 11 to slide in the first spout 10, first connecting block 12 sets up with telescopic link 7 and 8 fixed connection of first buffer spring, equal fixedly connected with slip cap second buffer spring 13 on first dead lever 11 between the both ends lateral wall of first connecting block 12 and first spout 10.
It should be noted that the first connecting block 12 slides on the first fixing rod 11 to achieve the purpose of extruding the second buffer spring 13, so as to achieve the purpose of buffering the electromechanical device in the left-right direction, and improve the damping effect.
Wherein, the third buffer gear is including offering the second spout 14 on bottom plate 2 bottom, fixedly connected with is same root second dead lever 15 between the both ends lateral wall of second spout 14, it locates second connecting block 16 on second dead lever 15 to slide in the second spout 14 and be equipped with the slip cap, second connecting block 16 and connecting plate 9 fixed connection set up, equal fixedly connected with slip cap locates the third buffer spring 17 on second dead lever 15 between the both ends lateral wall of second connecting block 16 and second spout 14.
It should be noted that the second connecting block 16 slides on the second fixing rod 15 to achieve the purpose of pressing the third buffer spring 17, so as to achieve the purpose of buffering the electromechanical device in the front-back direction.
Wherein, fixture include with 6 top fixed connection's of internal thread piece splint 18, splint 18 slides and locates backup pad 3, and it runs through and is equipped with many slide bars 19 to slide on the splint 18, and the free end fixed mounting of many slide bars 19 has same buffer board 20, and fixedly connected with slip cap locates the fourth buffer spring 21 on slide bar 19 between buffer board 20 and the splint 18, and further, the both sides screw thread on the threaded rod 5 is reverse setting.
It should be noted that, because the threads on the two sides of the threaded rod 5 are arranged in opposite directions, the inner thread blocks 6 of the two blocks move on the threaded rod 5 in opposite directions all the time, the inner thread block 6 is provided with a through threaded hole, and the threaded rod 5 is in threaded connection with the threaded hole.
The utility model discloses in, through placing electromechanical device in backup pad 3, then rotate threaded rod 5, make 6 opposite directions movements of internal thread piece of two blocks, thereby make two splint 18 opposite directions movements, two splint 18 drive two buffer boards 20 opposite directions through two slide bars 19 and move, two buffer boards 20 can extrude first buffer spring 21 when contacting electromechanical device's lateral wall, realize the purpose of buffering, prevent that electromechanical device from appearing being pressed from both sides the bad condition, thereby realize being convenient for fixed electromechanical device's purpose.
Further, when box 1 shakes, through telescopic link 7 and first buffer spring 8, realize the buffering purpose to electromechanical device vertical side ascending, through setting up first connecting block 12 and second buffer spring 13, then realize the buffering purpose to electromechanical device left and right sides ascending, through setting up second connecting block 16 and third buffer spring 17, then realize the buffering purpose to electromechanical device fore-and-aft direction to improve the shock attenuation effect.
The above, only be the concrete implementation of the preferred embodiment of the present invention, but the protection scope of the present invention is not limited thereto, and any person skilled in the art is in the technical scope of the present invention, according to the technical solution of the present invention and the utility model, the concept of which is equivalent to replace or change, should be covered within the protection scope of the present invention.

Claims (6)

1. A transfer device for mounting electromechanical equipment comprises a box body (1) and is characterized in that, a plurality of first buffer mechanisms are fixedly arranged on the bottom of the box body (1), second buffer mechanisms are fixedly arranged on the tops of the first buffer mechanisms, a bottom plate (2) is arranged on the tops of the second buffer mechanisms in a sliding manner, the bottom of the bottom plate (2) is provided with a third buffer mechanism fixedly connected with the top of the second buffer mechanism, the top fixed mounting of bottom plate (2) has backup pad (3), two recess (4), two have been seted up at the top of backup pad (3) rotate between the lateral wall in opposite directions of recess (4) and run through and be equipped with same threaded rod (5), two equal sliding is equipped with interior thread piece (6) that the threaded rod (5) was located to the thread bush in recess (4), two the equal fixed mounting in top of interior thread piece (6) has fixture.
2. The transfer device for electromechanical device installation according to claim 1, wherein the first buffer mechanism comprises a telescopic rod (7) fixedly installed on the bottom of the box body (1), the top of the telescopic rod (7) is fixedly connected with the second buffer mechanism, and a first buffer spring (8) slidably sleeved on the telescopic rod (7) is fixedly connected between the second buffer mechanism and the box body (1).
3. The transfer device for electromechanical equipment installation according to claim 2, the second buffer mechanism comprises a connecting plate (9) arranged at the top of the telescopic rod (7), the connecting plate (9) is fixedly connected with the third buffer mechanism, the bottom of the connecting plate (9) is provided with a first chute (10), a first fixed rod (11) is fixedly connected between the side walls of the two ends of the first chute (10), a first connecting block (12) which is slidably sleeved on the first fixing rod (11) is arranged in the first sliding chute (10) in a sliding way, the first connecting block (12) is fixedly connected with the telescopic rod (7) and the first buffer spring (8), and a second buffer spring (13) which is sleeved on the first fixed rod (11) in a sliding manner is fixedly connected between the first connecting block (12) and the side walls of the two ends of the first sliding chute (10).
4. The transfer device for electromechanical device installation according to claim 3, wherein the third buffer mechanism comprises a second sliding groove (14) formed in the bottom of the bottom plate (2), the same second fixing rod (15) is fixedly connected between the side walls at the two ends of the second sliding groove (14), a second connecting block (16) slidably sleeved on the second fixing rod (15) is slidably arranged in the second sliding groove (14), the second connecting block (16) is fixedly connected with the connecting plate (9), and a third buffer spring (17) slidably sleeved on the second fixing rod (15) is fixedly connected between the side walls at the two ends of the second connecting block (16) and the second sliding groove (14).
5. The transfer device of claim 1, characterized in that the clamping mechanism comprises a clamping plate (18) fixedly connected with the top of the internal thread block (6), the clamping plate (18) is slidably arranged on the supporting plate (3), a plurality of sliding rods (19) are slidably arranged on the clamping plate (18) in a penetrating manner, a plurality of buffer plates (20) are fixedly mounted at the free ends of the sliding rods (19), and a fourth buffer spring (21) is fixedly connected between the buffer plates (20) and the clamping plate (18) and slidably sleeved on the sliding rods (19).
6. Transfer device for electromechanical device mounting according to claim 1, characterised in that the two side threads on the threaded rod (5) are arranged in opposite directions.
CN202022671658.9U 2020-11-18 2020-11-18 A transfer device for installation of electromechanical equipment Expired - Fee Related CN213981826U (en)

Priority Applications (1)

Application Number Priority Date Filing Date Title
CN202022671658.9U CN213981826U (en) 2020-11-18 2020-11-18 A transfer device for installation of electromechanical equipment

Applications Claiming Priority (1)

Application Number Priority Date Filing Date Title
CN202022671658.9U CN213981826U (en) 2020-11-18 2020-11-18 A transfer device for installation of electromechanical equipment

Publications (1)

Publication Number Publication Date
CN213981826U true CN213981826U (en) 2021-08-17

Family

ID=77263791

Family Applications (1)

Application Number Title Priority Date Filing Date
CN202022671658.9U Expired - Fee Related CN213981826U (en) 2020-11-18 2020-11-18 A transfer device for installation of electromechanical equipment

Country Status (1)

Country Link
CN (1) CN213981826U (en)

Similar Documents

Publication Publication Date Title
CN207794672U (en) A kind of reinforcing support construction for architectural engineering
CN213981826U (en) A transfer device for installation of electromechanical equipment
CN210648870U (en) Multi-shaft tapping machine
CN208584238U (en) A kind of automobile jacking positioning jig with buffer function
CN209492916U (en) A kind of transport case facilitating fixed glass
CN202464051U (en) Bicycle seat tube adjusting device
CN212929215U (en) Weaving equipment is with just dismantling type fixing device
CN217652469U (en) Pole waist ring is embraced to transmission tower
CN214785152U (en) Glass curtain wall fixed mounting clamping frame
CN207813032U (en) A kind of Screw arbor with nut at both-ends device easy to use
CN118390698A (en) Assembled building connecting device with shock-absorbing function
CN208518083U (en) A kind of easy-to-dismount steel connection structure
CN211037286U (en) A steel structure steel beam connection structure
CN213460945U (en) Safe cable channel gallows that takes precautions against earthquakes
CN219994885U (en) Anti-seismic support for electromechanical equipment
CN211774524U (en) Stable steel structure net rack
CN218226195U (en) Supporting device for processing long filament rod
CN219677477U (en) Energy storage device mounting device
CN209429387U (en) A kind of assembled combined special-shaped column
CN207616606U (en) A kind of manipulator with safeguard function
CN217811316U (en) A novel engine installation fixed knot constructs for excavator
CN209054034U (en) A kind of electric vehicle driving gear set
CN208226469U (en) A kind of device convenient for communication cable solidus
CN207710640U (en) A metal assembly clamping mechanism that can be finely adjusted laterally
CN220828010U (en) Auxiliary assembly device for external wall of AAC (advanced integrated circuit) board

Legal Events

Date Code Title Description
GR01 Patent grant
GR01 Patent grant
CF01 Termination of patent right due to non-payment of annual fee

Granted publication date: 20210817

CF01 Termination of patent right due to non-payment of annual fee