CN213976505U - Industrial safety isolation device for weak trust environment - Google Patents

Industrial safety isolation device for weak trust environment Download PDF

Info

Publication number
CN213976505U
CN213976505U CN202022424255.4U CN202022424255U CN213976505U CN 213976505 U CN213976505 U CN 213976505U CN 202022424255 U CN202022424255 U CN 202022424255U CN 213976505 U CN213976505 U CN 213976505U
Authority
CN
China
Prior art keywords
wall
cylinder
permanent magnet
connecting sleeve
industrial safety
Prior art date
Legal status (The legal status is an assumption and is not a legal conclusion. Google has not performed a legal analysis and makes no representation as to the accuracy of the status listed.)
Expired - Fee Related
Application number
CN202022424255.4U
Other languages
Chinese (zh)
Inventor
史一岐
刘铎
孙建国
刘泽超
Current Assignee (The listed assignees may be inaccurate. Google has not performed a legal analysis and makes no representation or warranty as to the accuracy of the list.)
Harbin Engineering University
Original Assignee
Harbin Engineering University
Priority date (The priority date is an assumption and is not a legal conclusion. Google has not performed a legal analysis and makes no representation as to the accuracy of the date listed.)
Filing date
Publication date
Application filed by Harbin Engineering University filed Critical Harbin Engineering University
Priority to CN202022424255.4U priority Critical patent/CN213976505U/en
Application granted granted Critical
Publication of CN213976505U publication Critical patent/CN213976505U/en
Expired - Fee Related legal-status Critical Current
Anticipated expiration legal-status Critical

Links

Images

Landscapes

  • Burglar Alarm Systems (AREA)

Abstract

本实用新型公开了一种面向弱信任环境的工业安全隔离装置,包括立柱和顶盖,所述立柱的顶端安装有顶盖,还包括,收卷机构,安装在所述立柱的内腔;固定机构,安装在收卷机构的外壁;隔离组件,安装在固定机构的外壁。该面向弱信任环境的工业安全隔离装置,通过涡卷弹簧收缩,可带动圆筒顺时针旋转,可带动隔离带自动缠绕在连接套的外壁,通过向上移动连接套,带动插杆移动出卡槽内腔,将第一永磁块和第二永磁块分离,使连接套可在圆筒的外壁向上移动,可将连接套与圆筒分离,装置可自动将隔离带自动收回,收回较为简单,且当隔离带损坏需要跟换时,更换速度较快,省时省力。

Figure 202022424255

The utility model discloses an industrial safety isolation device facing a weak trust environment, which comprises a vertical column and a top cover, the top of the vertical column is installed with a top cover, and further comprises a winding mechanism, which is installed in the inner cavity of the vertical column; The mechanism is installed on the outer wall of the winding mechanism; the isolation component is installed on the outer wall of the fixing mechanism. The industrial safety isolation device for a weak trust environment can drive the cylinder to rotate clockwise through the contraction of the scroll spring, and can drive the isolation belt to automatically wrap around the outer wall of the connecting sleeve. By moving the connecting sleeve upward, it drives the insertion rod to move out of the slot. In the inner cavity, the first permanent magnet block and the second permanent magnet block are separated, so that the connecting sleeve can move upward on the outer wall of the cylinder, and the connecting sleeve can be separated from the cylinder. The device can automatically retract the isolation belt, which is relatively simple to retract. , and when the isolation belt is damaged and needs to be replaced, the replacement speed is faster, saving time and effort.

Figure 202022424255

Description

Industrial safety isolation device for weak trust environment
Technical Field
The utility model relates to a safety isolation technical field specifically is an industrial safety isolating device towards weak trust environment.
Background
At present, industrial safety protection warning isolation is frequently needed, industrial safety is a safety problem encountered in engineering construction, industrial safety covers all safety problems in the operation process and relates to management, financial affairs, logistics support and other related contents, isolation protection needs to be carried out on a construction site in the construction process, and potential safety hazards are prevented.
But current isolating device can't withdraw the median automatically when using, leads to withdrawing comparatively troublesome, and when the median damaged and need change, changes speed slower, wastes time and energy.
SUMMERY OF THE UTILITY MODEL
An object of the utility model is to provide an industrial safety isolating device towards weak trust environment to can't withdraw the median automatically when using among the solution prior art, lead to withdrawing comparatively trouble, and when the median damages and need change, change speed is slower, the problem that wastes time and energy.
In order to achieve the above object, the utility model provides a following technical scheme: an industrial safety isolation device facing to a weak trust environment comprises an upright post, a top cover and a safety protection device,
the winding mechanism is arranged in the inner cavity of the upright post;
the fixing mechanism is arranged on the outer wall of the winding mechanism;
an isolation component arranged on the outer wall of the fixing mechanism
Preferably, winding mechanism includes cylinder, drum and spiral spring, the inner chamber bottom central point of stand puts fixed mounting with the cylinder, the drum is installed through the bearing in the bottom of stand, the cylinder is located the inner chamber of drum, the inner ring of bearing and the outer wall interference fit of drum, the outer loop of bearing and the bottom fixed mounting of stand, cylindrical outer wall joint has spiral spring's one end, and spiral spring's the other end winding at cylindrical outer wall and with the inner wall joint of drum.
Preferably, fixed establishment includes disc, draw-in groove, first permanent magnetism piece, adapter sleeve, inserted bar and second permanent magnetism piece, the outer wall top interference fit of drum has the disc, the draw-in groove has all been seted up at both ends about the top of disc, first permanent magnetism piece is installed to the inner chamber of draw-in groove, the adapter sleeve has been cup jointed on the outer wall top of drum, and the adapter sleeve is located the top of disc, the bottom left and right sides of adapter sleeve all install with draw-in groove assorted inserted bar, and the bottom of inserted bar extends to the inner chamber of draw-in groove, the bottom of inserted bar install with first permanent magnetism piece assorted second permanent magnetism piece, and first permanent magnetism piece and second permanent magnetism piece laminate mutually.
Preferably, the insertion rod and the clamping groove are located on the same vertical line.
Preferably, keep apart the subassembly and include connecting block, spread groove, median and connector, the connecting block is installed on the right side of stand, the spread groove has been seted up on the top of connecting block, the outer wall joint of adapter sleeve has the one end of median, and the other end winding of median extends the left side of stand at the outer wall of adapter sleeve, the other end of median install with spread groove assorted connector.
Preferably, the connecting head and the connecting groove are both T-shaped.
Compared with the prior art, the beneficial effects of the utility model are that: this towards industry safety isolating device of weak trust environment, through the contraction of volute spiral spring, can drive the drum clockwise rotation, can drive the median automatic winding at the outer wall of adapter sleeve, through upwards moving the adapter sleeve, drive the inserted bar and remove out the draw-in groove inner chamber, separate first permanent-magnet block and second permanent-magnet block, make the adapter sleeve can upwards move at the outer wall of drum, can separate adapter sleeve and drum, the device can withdraw the median automatically, it is comparatively simple to withdraw, and when the median damages needs to follow the trade, change speed is very fast, and is time-saving and labor-saving.
Drawings
FIG. 1 is a schematic structural view of the present invention;
FIG. 2 is a schematic cross-sectional view of the column of FIG. 1;
FIG. 3 is a schematic view of the fixing mechanism of FIG. 2;
fig. 4 is a schematic top view of the cylinder of fig. 2.
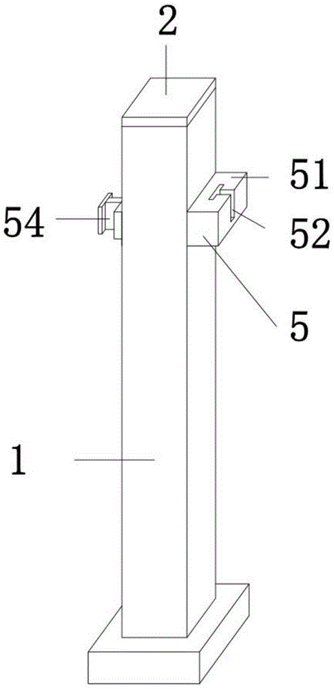
In the figure: 1. the device comprises an upright post, 2, a top cover, 3, a winding mechanism, 31, a cylinder, 32, a cylinder, 33, a volute spiral spring, 4, a fixing mechanism, 41, a disc, 42, a clamping groove, 43, a first permanent magnet, 44, a connecting sleeve, 45, an inserting rod, 46, a second permanent magnet, 5, an isolating component, 51, a connecting block, 52, a connecting groove, 53, an isolating belt, 54 and a connecting head.
Detailed Description
The technical solutions in the embodiments of the present invention will be described clearly and completely with reference to the accompanying drawings in the embodiments of the present invention, and it is obvious that the described embodiments are only some embodiments of the present invention, not all embodiments. Based on the embodiments in the present invention, all other embodiments obtained by a person skilled in the art without creative work belong to the protection scope of the present invention.
Referring to fig. 1-4, the present invention provides a technical solution: the utility model provides an industrial safety isolating device towards weak trust environment, including stand 1 and top cap 2, top cap 2 is installed on the top of stand 1, still include, winding mechanism 3, fixed establishment 4 and isolating component 5, winding mechanism 3 installs the inner chamber at stand 1, can withdraw median 53 automatically through winding mechanism 3, fixed establishment 4 installs the outer wall at winding mechanism 3, can be convenient through fixed establishment 4 with median 53 and 3 separation of winding mechanism, isolating component 5 installs the outer wall at fixed establishment 4, the purpose of safety isolation can be realized through isolating component 5.
As the preferred scheme, winding mechanism 3 includes cylinder 31, drum 32 and spiral spring 33, the inner chamber bottom central point of stand 1 puts fixed mounting with cylinder 31, drum 32 is installed through the bearing in the bottom of stand 1, cylinder 31 is located the inner chamber of drum 32, the inner ring of bearing and the outer wall interference fit of drum 32, the outer loop of bearing and the bottom fixed mounting of stand 1, the outer wall joint of cylinder 31 has the one end of spiral spring 33, and the other end winding of spiral spring 33 is in the outer wall of cylinder 31 and with the inner wall joint of drum 32, can drive drum 32 clockwise rotation through the contraction of spiral spring 33, impel adapter sleeve 44 can follow clockwise rotation, can twine median 53 at the outer wall of adapter sleeve 44.
As a preferable scheme, the fixing mechanism 4 includes a disc 41, a slot 42, a first permanent magnet 43, a connecting sleeve 44, an insert rod 45 and a second permanent magnet 46, the disc 41 is in interference fit with the top end of the outer wall of the cylinder 32, the slot 42 is respectively formed at the left and right ends of the top end of the disc 41, the first permanent magnet 43 is installed in the cavity of the slot 42, the connecting sleeve 44 is sleeved at the top end of the outer wall of the cylinder 32, the connecting sleeve 44 is located at the top end of the disc 41, the insert rods 45 matched with the slot 42 are respectively installed at the left and right sides of the bottom end of the connecting sleeve 44, the bottom end of the insert rod 45 extends to the cavity of the slot 42, the insert rod 45 is inserted into the cavity of the slot 42, the connecting sleeve 44 can be connected with the disc 41, the disc 41 is made to rotate to drive the connecting sleeve 44 to rotate, the second permanent magnet 46 matched with the first permanent magnet 43 is installed at the bottom end of the insert rod 45, and the first permanent magnet 43 is attached to the second permanent magnet 46, the first permanent magnet 43 and the second permanent magnet 46 attract each other, so that the inserted rod 45 can be fixed in the inner cavity of the clamping groove 42.
Preferably, the insertion rod 45 and the slot 42 are located on the same vertical line, so that the insertion rod 45 can be inserted into the cavity of the slot 42 after moving downward.
As the preferred scheme, isolation component 5 includes connecting block 51, connecting groove 52, median 53 and connector 54, connecting block 51 is installed on the right side of stand 1, connecting groove 52 has been seted up to the top of connecting block 51, the outer wall joint of connecting sleeve 44 has the one end of median 53, and the other end winding of median 53 is at the outer wall of connecting sleeve 44 and extend the left side of stand 1, connector 54 with connecting groove 52 assorted is installed to the other end of median 53, can prevent through connector 54 that median 53 all withdraws to the inner chamber of stand 1, can be connected isolation median 53 and adjacent stand 1 and use simultaneously.
Preferably, the shapes of the connecting head 54 and the connecting groove 52 are T-shaped, so that the connecting head 54 cannot fall out of the inner cavity of the connecting groove 52 when the connecting head 54 is inserted into the inner cavity of the connecting groove 52.
The detailed connection means is a technique known in the art, and the following mainly describes the working principle and process, and the specific operation is as follows.
When the isolation belt is required to be recovered, the connecting head 54 is moved upwards to be separated from the connecting groove 52, the connecting head 54 is released, the volute spring 33 is contracted to drive the cylinder 32 to rotate clockwise, the connecting sleeve 44 rotates clockwise to drive the isolation belt 53 to wind on the outer wall of the connecting sleeve 44, when the isolation belt 53 is damaged or broken and needs to be replaced, the top cover 2 is opened by hand, the connecting sleeve 44 is moved upwards to drive the inserting rod 45 to move out of the inner cavity of the clamping groove 42, and the first permanent magnet block 43 is separated from the second permanent magnet block 46, in order to relieve the fixed to adapter sleeve 44, guarantee that adapter sleeve 44 can normally upwards remove to with drum 32 separation, can be convenient change median 53, the device can withdraw median 53 to the inner chamber of stand 1 automatically, and it is comparatively convenient to use, and can be convenient change labour saving and time saving median 53.
Although embodiments of the present invention have been shown and described, it will be appreciated by those skilled in the art that changes, modifications, substitutions and alterations can be made in these embodiments without departing from the principles and spirit of the invention, the scope of which is defined in the appended claims and their equivalents.

Claims (6)

1.一种面向弱信任环境的工业安全隔离装置,包括立柱(1)和顶盖(2),所述立柱(1)的顶端安装有顶盖(2),其特征在于:还包括,1. An industrial safety isolation device for a weakly trusted environment, comprising a column (1) and a top cover (2), the top of the column (1) being provided with a top cover (2), characterized in that: it also includes, 收卷机构(3),安装在所述立柱(1)的内腔;a winding mechanism (3), installed in the inner cavity of the upright column (1); 固定机构(4),安装在收卷机构(3)的外壁;The fixing mechanism (4) is installed on the outer wall of the winding mechanism (3); 隔离组件(5),安装在固定机构(4)的外壁。The isolation assembly (5) is mounted on the outer wall of the fixing mechanism (4). 2.根据权利要求1所述的一种面向弱信任环境的工业安全隔离装置,其特征在于:所述收卷机构(3)包括圆柱(31)、圆筒(32)和涡卷弹簧(33),所述立柱(1)的内腔底端中心位置固定安装有圆柱(31),所述立柱(1)的底端通过轴承安装有圆筒(32),所述圆柱(31)位于圆筒(32)的内腔,所述轴承的内环与圆筒(32)的外壁过盈配合,所述轴承的外环与立柱(1)的底端固定安装,所述圆柱(31)的外壁卡接有涡卷弹簧(33)的一端,且涡卷弹簧(33)的另一端缠绕在圆柱(31)的外壁并与圆筒(32)的内壁卡接。2. An industrial safety isolation device oriented to a weak trust environment according to claim 1, characterized in that: the winding mechanism (3) comprises a cylinder (31), a cylinder (32) and a scroll spring (33) ), a cylinder (31) is fixedly installed at the center of the bottom end of the inner cavity of the column (1), a cylinder (32) is installed at the bottom end of the column (1) through a bearing, and the cylinder (31) is located in the circular The inner cavity of the cylinder (32), the inner ring of the bearing is in interference fit with the outer wall of the cylinder (32), the outer ring of the bearing is fixedly installed with the bottom end of the column (1), the One end of the scroll spring (33) is clamped on the outer wall, and the other end of the scroll spring (33) is wound around the outer wall of the cylinder (31) and is clamped with the inner wall of the cylinder (32). 3.根据权利要求2所述的一种面向弱信任环境的工业安全隔离装置,其特征在于:所述固定机构(4)包括圆盘(41)、卡槽(42)、第一永磁块(43)、连接套(44)、插杆(45)和第二永磁块(46),所述圆筒(32)的外壁顶端过盈配合有圆盘(41),所述圆盘(41)的顶端左右两端均开设有卡槽(42),所述卡槽(42)的内腔安装有第一永磁块(43),所述圆筒(32)的外壁顶端套接有连接套(44),且连接套(44)位于圆盘(41)的顶端,所述连接套(44)的底端左右两侧均安装有与卡槽(42)相匹配的插杆(45),且插杆(45)的底端延伸至卡槽(42)的内腔,所述插杆(45)的底端安装有与第一永磁块(43)相匹配的第二永磁块(46),且第一永磁块(43)和第二永磁块(46)相贴合。3. An industrial safety isolation device oriented to a weak trust environment according to claim 2, characterized in that: the fixing mechanism (4) comprises a disc (41), a card slot (42), a first permanent magnet block (43), the connecting sleeve (44), the insert rod (45) and the second permanent magnet block (46), the top of the outer wall of the cylinder (32) is fitted with a disc (41) in an interference fit, and the disc ( The top left and right ends of 41) are provided with card slots (42), the inner cavity of the card slots (42) is provided with a first permanent magnet block (43), and the top of the outer wall of the cylinder (32) is sleeved with a first permanent magnet block (43). A connecting sleeve (44), and the connecting sleeve (44) is located at the top end of the disc (41), and inserting rods (45) matching the card grooves (42) are installed on the left and right sides of the bottom end of the connecting sleeve (44). ), and the bottom end of the insertion rod (45) extends to the inner cavity of the card slot (42), and the bottom end of the insertion rod (45) is installed with a second permanent magnet matching the first permanent magnet block (43). block (46), and the first permanent magnet block (43) and the second permanent magnet block (46) fit together. 4.根据权利要求3所述的一种面向弱信任环境的工业安全隔离装置,其特征在于:所述插杆(45)与卡槽(42)位于同一垂直线上。4 . The industrial safety isolation device for a weak trust environment according to claim 3 , wherein the insertion rod ( 45 ) and the card slot ( 42 ) are located on the same vertical line. 5 . 5.根据权利要求3所述的一种面向弱信任环境的工业安全隔离装置,其特征在于:所述隔离组件(5)包括连接块(51)、连接槽(52)、隔离带(53)和连接头(54),所述立柱(1)的右侧安装有连接块(51),所述连接块(51)的顶端开设有连接槽(52),所述连接套(44)的外壁卡接有隔离带(53)的一端,且隔离带(53)的另一端缠绕在连接套(44)的外壁并延伸出立柱(1)的左侧,所述隔离带(53)的另一端安装有与连接槽(52)相匹配的连接头(54)。5 . The industrial safety isolation device for a weak trust environment according to claim 3 , wherein the isolation component ( 5 ) comprises a connection block ( 51 ), a connection groove ( 52 ), and an isolation belt ( 53 ). 6 . and a connecting head (54), a connecting block (51) is installed on the right side of the column (1), a connecting groove (52) is formed on the top of the connecting block (51), and the outer wall of the connecting sleeve (44) is One end of the isolation belt (53) is clamped, and the other end of the isolation belt (53) is wrapped around the outer wall of the connecting sleeve (44) and extends out of the left side of the upright column (1), and the other end of the isolation belt (53) A connecting head (54) matching the connecting groove (52) is installed. 6.根据权利要求5所述的一种面向弱信任环境的工业安全隔离装置,其特征在于:所述连接头(54)和连接槽(52)的形状均为T形。6 . The industrial safety isolation device for a weak trust environment according to claim 5 , wherein the shape of the connecting head ( 54 ) and the connecting groove ( 52 ) are both T-shaped. 7 .
CN202022424255.4U 2020-10-27 2020-10-27 Industrial safety isolation device for weak trust environment Expired - Fee Related CN213976505U (en)

Priority Applications (1)

Application Number Priority Date Filing Date Title
CN202022424255.4U CN213976505U (en) 2020-10-27 2020-10-27 Industrial safety isolation device for weak trust environment

Applications Claiming Priority (1)

Application Number Priority Date Filing Date Title
CN202022424255.4U CN213976505U (en) 2020-10-27 2020-10-27 Industrial safety isolation device for weak trust environment

Publications (1)

Publication Number Publication Date
CN213976505U true CN213976505U (en) 2021-08-17

Family

ID=77259061

Family Applications (1)

Application Number Title Priority Date Filing Date
CN202022424255.4U Expired - Fee Related CN213976505U (en) 2020-10-27 2020-10-27 Industrial safety isolation device for weak trust environment

Country Status (1)

Country Link
CN (1) CN213976505U (en)

Similar Documents

Publication Publication Date Title
ITRE930049A1 (en) CENTRIFUGAL EXTRACTION MACHINE EQUIPPED WITH A BALANCING SYSTEM.
CN213976505U (en) Industrial safety isolation device for weak trust environment
CN209117684U (en) A kind of afforestation soil testing assemblies
CN105140871A (en) Take-up device of phase checking instrument
CN211197985U (en) Continuous winding device for textile printing and dyeing
CN201682187U (en) retractable warning curtain
CN205966837U (en) Overhaul convenient tight book machine
CN206105014U (en) Support device
ITMI20130288A1 (en) METHOD AND SYSTEM OF ASSEMBLY AND / OR DISASSEMBLY OF A ROTARY ELECTRIC MACHINE OF A AIRCRAFT MACHINE
KR200418732Y1 (en) Reel which can wind up and take out material on tape
CN213580030U (en) Measuring and fixing device for front and rear lenses after edging
CN105084079A (en) Adhesive tape cutter
CN108955798A (en) A kind of water meter with nonmagnetic
CN111422394B (en) Packaging machine
CN209925029U (en) Metal mine underground water prevention and control early warning device
CN209835178U (en) Winding roller hoisting protection device
JPH04190660A (en) Method of assembling an disassembling vertical axis type rotary electric machine
CN207720000U (en) A kind of magnetic suspension motor stator winding tooling
CN203199805U (en) Spinning thread winding device
CN108063531A (en) A kind of magnetic suspension motor stator winding frock
CN205702597U (en) A kind of outer shroud slotter
CN216272517U (en) Colliery cable recovery unit
CN215047921U (en) Crane magnetic chuck mounting rack
CN202788678U (en) Support rod mechanism of horizontal drilling machine
CN203617843U (en) Variable frequency motor

Legal Events

Date Code Title Description
GR01 Patent grant
GR01 Patent grant
CF01 Termination of patent right due to non-payment of annual fee

Granted publication date: 20210817

CF01 Termination of patent right due to non-payment of annual fee