CN213968432U - 便携式卷圆机 - Google Patents
便携式卷圆机 Download PDFInfo
- Publication number
- CN213968432U CN213968432U CN202022135298.0U CN202022135298U CN213968432U CN 213968432 U CN213968432 U CN 213968432U CN 202022135298 U CN202022135298 U CN 202022135298U CN 213968432 U CN213968432 U CN 213968432U
- Authority
- CN
- China
- Prior art keywords
- compression roller
- rolling machine
- portable
- driving
- driven
- Prior art date
- Legal status (The legal status is an assumption and is not a legal conclusion. Google has not performed a legal analysis and makes no representation as to the accuracy of the status listed.)
- Active
Links
- 238000005096 rolling process Methods 0.000 title claims abstract description 34
- 230000006835 compression Effects 0.000 claims abstract description 52
- 238000007906 compression Methods 0.000 claims abstract description 52
- 238000009434 installation Methods 0.000 claims abstract description 12
- XEEYBQQBJWHFJM-UHFFFAOYSA-N Iron Chemical compound [Fe] XEEYBQQBJWHFJM-UHFFFAOYSA-N 0.000 claims description 10
- 229910052742 iron Inorganic materials 0.000 claims description 5
- 238000003466 welding Methods 0.000 claims description 4
- 229910000831 Steel Inorganic materials 0.000 abstract description 7
- 239000010959 steel Substances 0.000 abstract description 7
- 229910001220 stainless steel Inorganic materials 0.000 description 4
- 239000010935 stainless steel Substances 0.000 description 4
- 238000004519 manufacturing process Methods 0.000 description 3
- 239000000463 material Substances 0.000 description 2
- 239000002699 waste material Substances 0.000 description 2
- 238000010586 diagram Methods 0.000 description 1
- 235000021190 leftovers Nutrition 0.000 description 1
- 238000003754 machining Methods 0.000 description 1
- 238000000034 method Methods 0.000 description 1
- 230000008092 positive effect Effects 0.000 description 1
Images
Landscapes
- Metal Rolling (AREA)
Abstract
本实用新型公开了一种便携式卷圆机,属于机械加工设备领域,其特征在于,包括机架和卷圆机构,所述机架为两块平行布置的支撑板;所述卷圆机构设置于机架上,包括主动压辊、从动压辊和下托压辊,主动压辊和下托压辊的安装轴与支撑板转动配合,从动压辊的安装轴与支撑板固定连接;主动压辊安装轴的一端固定安装转动手柄,下托压辊的安装轴下端与限位螺栓接触配合,其中,限位螺栓与安装在条形通孔下端的螺母配合。与现有技术相比较具有在小型钢板快速卷圆的基础上,降低劳动强度,保障工人安全的特点。
Description
技术领域
本实用新型涉及机械加工设备领域,特别是属于一种针对小型钢板的便携式卷圆机。
背景技术
在板材卷圆焊接工序中,通常需要先将钢板卷圈加工成筒形部件,再进行焊接。在实际生产过程中,大型筒形部件通常用卷圆机卷制,小型筒形部件则通常借助一些简单的卷圆模型,手工操作卷圆,不仅劳动强度大、工作效率低、卷圆质量差,而且存在诸多不安全因素。
发明内容
本实用新型的目的即在于提供一种便携式卷圆机,以达到在小型钢板快速卷圆的基础上,降低劳动强度,保障工人安全的目的。
本实用新型所提供的便携式卷圆机,其特征在于,包括机架和卷圆机构,所述机架为两块平行布置的支撑板;所述卷圆机构设置于机架上,包括主动压辊、从动压辊和下托压辊,主动压辊和下托压辊的安装轴与支撑板转动配合,从动压辊的安装轴与支撑板固定连接;主动压辊安装轴的一端固定安装转动手柄,下托压辊的安装轴下端与限位螺栓接触配合,其中,限位螺栓与安装在条形通孔下端的螺母配合。
本实用新型所提供的便携式卷圆机,在使用时,通过转动手柄及调节限位螺栓,实现小型钢板的快速卷圆,具有以下积极效果:
1、通过转动手柄及调节限位螺栓,准确控制压辊的上下移动距离,减轻工人劳动强度,提高生产效率;
2、避免了纯手工操作,保障工人作业安全;
3、在实际生产过程中,该便携式卷圆机携带方便、操作灵活、结实耐用、节省空间;
4、所用材料均为公司废旧下脚料,废物利用,节约成本。
附图说明
附图部分公开了本实用新型具体实施例,其中,
图1为本实用新型的立体结构示意图;
图2为本实用新型的正视结构示意图;
图3为本实用新型的图2中A-A线的剖面示意图;
图4为本实用新型的应用状态图。
具体实施方式
下面通过实施例并结合附图对本实用新型进一步的说明。
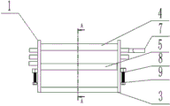
如图1-3所示,本实用新型所提供的便携式卷圆机,包括机架和卷圆机构。所述机架为两块竖向且平行相对的支撑板1,在两块支撑板1的竖直方向上分别开设两个平行的通孔。两通孔的一侧开设条形通孔,条形通孔的长度大于两通孔之间的距离,通孔及条形通孔在两块支撑板1的水平方向上一一对应。
两块支撑板1沿纵向中心线下端位置固定安装横撑3,将两块支撑板1连接固定。
在两块支撑板1外侧、条形通孔下端且与条形通孔呈垂直方向处分别固定安装螺母8,螺母8与限位螺栓9配合。
所述卷圆机构设置于机架上,包括主动压辊4、从动压辊5和下托压辊6,主动压辊4与从动压辊5的两端依次与支撑板1的上下两个通孔配合,在支撑板1外侧、主动压辊4的安装轴一端固定焊接转动手柄7,通过手摇即可实现主动压辊4的转动。从动压辊5的安装轴与支撑板1焊接固定。下托压辊6的两端分别与两块支撑板1的条形通孔配合,限位螺栓9与下托压辊6接触配合,用于调节固定下托压辊6的位置。主动压辊4、从动压辊5与下托压辊6均伸出于安装转动手柄对侧的支撑板1,主动压辊4、从动压辊5之间的距离与待卷圆的铁板相配合。
所述主动压辊4、从动压辊5和下托压辊6由圆管、安装轴和不锈钢垫片焊接制成,在圆管两端各焊接一个不锈钢垫片,安装轴从不锈钢垫片中心孔中穿过,安装轴直径与不锈钢垫片中心孔的直径对应。
在具体的实施例中,如图4所示,将已安装卷圆机构的机架置于操作台上,将铁板放置在主动压辊4与从动压辊5之间,以下托压辊6支撑铁板背部,调节限位螺栓9的位置,将铁板固定,通过手摇转动手柄7,将钢板卷至需要的曲面形状,工作完成后,将限位螺栓9从螺母8中旋出,将下托压辊中的安装轴抽出,拆下下托压辊,即可将卷圆的钢板取下。
需要说明的是,本实用新型的特定实施方案已经对本实用新型进行了详细描述,对于本领域的技术人员来说,在不背离本实用新型的精神和范围的情况下对它进行的各种显而易见的改变都在本实用新型的保护范围之内。
Claims (8)
1.一种便携式卷圆机,其特征在于,包括机架和卷圆机构,所述机架为两块平行布置的支撑板(1);所述卷圆机构设置于机架上,包括主动压辊(4)、从动压辊(5)和下托压辊(6),主动压辊(4)和下托压辊(6)的安装轴与支撑板(1)转动配合,从动压辊(5)的安装轴与支撑板(1)固定连接;主动压辊(4)安装轴的一端固定安装转动手柄(7),下托压辊(6)的安装轴下端与限位螺栓(9)接触配合,其中,限位螺栓(9)与安装在条形通孔下端的螺母(8)配合。
2.根据权利要求1所述的便携式卷圆机,其特征还在于,两块支撑板(1)沿纵向中心线下端位置固定安装横撑(3)。
3.根据权利要求1所述的便携式卷圆机,其特征还在于,所述条形通孔的长度大于两通孔之间的距离。
4.根据权利要求1所述的便携式卷圆机,其特征还在于,所述两块支撑板(1)上的通孔及条形通孔在水平方向上一一对应。
5.根据权利要求1所述的便携式卷圆机,其特征还在于,主动压辊(4)、从动压辊(5)与下托压辊(6)均伸出于安装转动手柄的对侧支撑板。
6.根据权利要求1所述的便携式卷圆机,其特征还在于,所述主动压辊(4)、从动压辊(5)与下托压辊(6)由圆管、安装轴和垫片焊接制成,在圆管两端焊接垫片,安装轴穿过垫片中心孔,安装轴的直径与垫片中心孔对应。
7.根据权利要求1所述的便携式卷圆机,其特征还在于,所述螺母(8)安装在支撑板(1)外侧且与条形通孔垂直。
8.根据权利要求1所述的便携式卷圆机,其特征还在于,主动压辊(4)、从动压辊(5)之间的距离与待卷圆铁板相配合。
Priority Applications (1)
| Application Number | Priority Date | Filing Date | Title |
|---|---|---|---|
| CN202022135298.0U CN213968432U (zh) | 2020-09-25 | 2020-09-25 | 便携式卷圆机 |
Applications Claiming Priority (1)
| Application Number | Priority Date | Filing Date | Title |
|---|---|---|---|
| CN202022135298.0U CN213968432U (zh) | 2020-09-25 | 2020-09-25 | 便携式卷圆机 |
Publications (1)
| Publication Number | Publication Date |
|---|---|
| CN213968432U true CN213968432U (zh) | 2021-08-17 |
Family
ID=77254273
Family Applications (1)
| Application Number | Title | Priority Date | Filing Date |
|---|---|---|---|
| CN202022135298.0U Active CN213968432U (zh) | 2020-09-25 | 2020-09-25 | 便携式卷圆机 |
Country Status (1)
| Country | Link |
|---|---|
| CN (1) | CN213968432U (zh) |
Cited By (1)
| Publication number | Priority date | Publication date | Assignee | Title |
|---|---|---|---|---|
| CN115194059A (zh) * | 2022-08-18 | 2022-10-18 | 涂爱琴 | 一种钢铁冶炼辊轧设备及其辊轧方法 |
-
2020
- 2020-09-25 CN CN202022135298.0U patent/CN213968432U/zh active Active
Cited By (1)
| Publication number | Priority date | Publication date | Assignee | Title |
|---|---|---|---|---|
| CN115194059A (zh) * | 2022-08-18 | 2022-10-18 | 涂爱琴 | 一种钢铁冶炼辊轧设备及其辊轧方法 |
Similar Documents
| Publication | Publication Date | Title |
|---|---|---|
| CN213968432U (zh) | 便携式卷圆机 | |
| CN212633907U (zh) | 一种折弯机用折弯机构 | |
| CN209531767U (zh) | 一种便携式大尺寸型钢校正装置 | |
| CN202316524U (zh) | 下轧辊擦拭清洁装置 | |
| CN202316523U (zh) | 上轧辊擦拭清洁装置 | |
| CN203599923U (zh) | 筒体纵缝铣边机工作台夹紧装置 | |
| CN211729349U (zh) | 多功能一体板双组自动切断锯 | |
| CN209886451U (zh) | 一种钣金件定位折弯装置 | |
| CN210080417U (zh) | 一种可方便使用的不锈钢板弯折装置 | |
| CN215315054U (zh) | 一种铁件冲孔的工装设备 | |
| CN219293356U (zh) | 一种活塞加工内孔定位接触的治具 | |
| CN215788989U (zh) | 一种切割机用抗震支架槽钢定位夹具 | |
| CN201175871Y (zh) | 通用型在线打磨装置 | |
| CN214977280U (zh) | 一种用于冲压机的进料装置 | |
| CN209896874U (zh) | 一种电机定转子冲片冲模可调滚架的工装 | |
| CN213197286U (zh) | 一种煤矿机械滚筒拆装装置 | |
| CN208083104U (zh) | 一种条状金属件校直装置 | |
| CN210999151U (zh) | 一种裁剪雕刻设备 | |
| CN209597955U (zh) | 一种具有防护结构的钢带冲压机 | |
| CN202366948U (zh) | 夹送辊自动擦辊装置 | |
| CN221966513U (zh) | 一种自动定位冲床 | |
| CN202861964U (zh) | 一种板边自动除锈机 | |
| CN221581797U (zh) | 一种便于旋转的折弯机用夹紧装置 | |
| CN218695503U (zh) | 一种气室加工设备 | |
| CN223130603U (zh) | 轨梁锯钻床提升辊和皮带轮拆装用工具 |
Legal Events
| Date | Code | Title | Description |
|---|---|---|---|
| GR01 | Patent grant | ||
| GR01 | Patent grant |