CN213960012U - A photovoltaic power generation grid-connected device - Google Patents

A photovoltaic power generation grid-connected device Download PDF

Info

Publication number
CN213960012U
CN213960012U CN202120088700.6U CN202120088700U CN213960012U CN 213960012 U CN213960012 U CN 213960012U CN 202120088700 U CN202120088700 U CN 202120088700U CN 213960012 U CN213960012 U CN 213960012U
Authority
CN
China
Prior art keywords
fixedly connected
photovoltaic
power generation
wall
photovoltaic power
Prior art date
Legal status (The legal status is an assumption and is not a legal conclusion. Google has not performed a legal analysis and makes no representation as to the accuracy of the status listed.)
Expired - Fee Related
Application number
CN202120088700.6U
Other languages
Chinese (zh)
Inventor
孙艳波
冀勇
Current Assignee (The listed assignees may be inaccurate. Google has not performed a legal analysis and makes no representation or warranty as to the accuracy of the list.)
Individual
Original Assignee
Individual
Priority date (The priority date is an assumption and is not a legal conclusion. Google has not performed a legal analysis and makes no representation as to the accuracy of the date listed.)
Filing date
Publication date
Application filed by Individual filed Critical Individual
Priority to CN202120088700.6U priority Critical patent/CN213960012U/en
Application granted granted Critical
Publication of CN213960012U publication Critical patent/CN213960012U/en
Expired - Fee Related legal-status Critical Current
Anticipated expiration legal-status Critical

Links

Images

Classifications

    • YGENERAL TAGGING OF NEW TECHNOLOGICAL DEVELOPMENTS; GENERAL TAGGING OF CROSS-SECTIONAL TECHNOLOGIES SPANNING OVER SEVERAL SECTIONS OF THE IPC; TECHNICAL SUBJECTS COVERED BY FORMER USPC CROSS-REFERENCE ART COLLECTIONS [XRACs] AND DIGESTS
    • Y02TECHNOLOGIES OR APPLICATIONS FOR MITIGATION OR ADAPTATION AGAINST CLIMATE CHANGE
    • Y02EREDUCTION OF GREENHOUSE GAS [GHG] EMISSIONS, RELATED TO ENERGY GENERATION, TRANSMISSION OR DISTRIBUTION
    • Y02E10/00Energy generation through renewable energy sources
    • Y02E10/50Photovoltaic [PV] energy

Landscapes

  • Photovoltaic Devices (AREA)

Abstract

本实用新型公开了一种光伏发电并网装置,涉及光伏发电技术领域。本实用新型包括清理组件、光伏板、防护组件、固定环和连接轴,光伏板的一侧与防护组件的外壁固定连接,光伏板的顶部与清理组件的底部固定连接,光伏板之间通过连接块固定连接,光伏板后侧面的中部与固定环的外壁固定连接,固定环的内壁与连接轴的外壁啮合连接。本实用新型通过清理组件、防护组件和光伏追光传感器,解决了现有的光伏发电并网装置长时间放置在室外容易积有大量的灰尘,灰尘污染会大幅降低光伏电站发电量,需要人工对光伏发电并网上的灰尘进行清理,工程量较大,效率较低,以及无法根据太阳的方位进行转动,大大降低了光伏发电并网的利用率的问题。

Figure 202120088700

The utility model discloses a photovoltaic power generation grid-connected device, which relates to the technical field of photovoltaic power generation. The utility model comprises a cleaning component, a photovoltaic panel, a protective component, a fixing ring and a connecting shaft, one side of the photovoltaic panel is fixedly connected with the outer wall of the protective component, the top of the photovoltaic panel is fixedly connected with the bottom of the cleaning component, and the photovoltaic panels are connected through a connection The blocks are fixedly connected, the middle part of the rear side of the photovoltaic panel is fixedly connected with the outer wall of the fixing ring, and the inner wall of the fixing ring is engaged with the outer wall of the connecting shaft. The utility model solves the problem that the existing photovoltaic power generation grid-connected device is likely to accumulate a large amount of dust when placed outdoors for a long time by cleaning the components, the protective components and the photovoltaic tracking sensor, and the dust pollution will greatly reduce the power generation of the photovoltaic power station. The dust on the photovoltaic power generation grid is cleaned up, the amount of work is large, the efficiency is low, and it cannot be rotated according to the orientation of the sun, which greatly reduces the utilization rate of the photovoltaic power generation grid.

Figure 202120088700

Description

Photovoltaic power generation grid-connected device
Technical Field
The utility model belongs to the technical field of photovoltaic power generation, especially, relate to a photovoltaic power generation grid-connected device.
Background
The photovoltaic power generation system can be divided into an off-grid photovoltaic power generation system and a grid-connected photovoltaic power generation system, and the investment of the grid-connected photovoltaic power generation system is reduced by 25% compared with that of the off-grid photovoltaic power generation system. The photovoltaic power generation system is connected to a large power grid in a micro-grid mode for grid-connected operation, the photovoltaic power generation system and the large power grid support each other, the important technology for improving the scale of photovoltaic power generation is provided, the grid-connected operation of the photovoltaic power generation system is also a main direction of future technical development, the range and flexibility of solar energy use can be expanded through grid connection, and the photovoltaic power generation system has the following defects in actual use:
1. the existing photovoltaic power generation grid-connected device is placed outdoors for a long time and is exposed to the sun by wind and water, a large amount of dust cannot be accumulated, atmospheric dust is one of key factors influencing the solar power generation efficiency, the generated energy of a photovoltaic power station can be greatly reduced due to dust pollution, the dust on the photovoltaic power generation grid-connected device needs to be manually cleaned, the engineering quantity is large, and the efficiency is low;
2. the existing photovoltaic power generation grid-connected device is fixed, and the inclination angle of the photovoltaic power generation grid-connected device is fixed during installation, so that the mode has certain limitation, the photovoltaic power generation grid-connected receiving light energy has certain limitation, and the photovoltaic power generation grid-connected receiving light energy cannot rotate according to the direction of the sun, and the utilization rate of the photovoltaic power generation grid-connected device is greatly reduced.
Therefore, the existing photovoltaic power generation grid-connected device cannot meet the requirements in practical use, so that an improved technology is urgently needed in the market to solve the problems.
SUMMERY OF THE UTILITY MODEL
An object of the utility model is to provide a photovoltaic power generation grid-connected device, through the clearance subassembly, protection component and photovoltaic chasing light sensor, it has a large amount of dusts to have solved current photovoltaic power generation grid-connected device and place for a long time outdoor easy accumulations, dust pollution can reduce photovoltaic power plant generated energy by a wide margin, need the manual work to clear up the dust on the photovoltaic power generation grid-connected, the engineering volume is great, efficiency is lower, and can't rotate according to the position of sun, greatly reduced the problem of photovoltaic power generation grid-connected's utilization ratio.
In order to solve the technical problem, the utility model discloses a realize through following technical scheme:
the utility model relates to a photovoltaic power generation grid-connected device, including clearance subassembly, photovoltaic board, protection component, solid fixed ring and connecting axle, one side of photovoltaic board and protection component's outer wall fixed connection, the top of photovoltaic board and clearance subassembly's bottom fixed connection, through connecting block fixed connection between the photovoltaic board, the middle part of photovoltaic board trailing flank and solid fixed ring's outer wall fixed connection, gu fixed ring's inner wall is connected with the outer wall meshing of connecting axle.
Further, the both ends of connecting axle are rotated and are connected with the support column, the top fixedly connected with motor case of connecting axle one end support column one side, the upper portion fixedly connected with photovoltaic of connecting axle one end support column one side is followed spot light sensor, the bottom that photovoltaic was followed spot light sensor one side is provided with shift knob, the bottom fixedly connected with stabilizing block of support column, the device utilize and set up shift knob on photovoltaic was followed spot light sensor for the staff can control the motor of motor incasement, photovoltaic and follow spot light sensor and driving motor's start-up and closing through shift knob, greatly increased the device's practicality.
Further, the clearance subassembly includes conveyer belt, first protecting crust, driving motor and second protecting crust, the bottom fixed connection of one side of first protecting crust and second protecting crust one side, the inside of second protecting crust and driving motor's outer wall fixed connection, driving motor's lower part is connected with the inner wall meshing of conveyer belt, and the device utilizes and sets up first protecting crust and second protecting crust in the outside of driving motor and conveyer belt, can avoid bad weather to cause the influence that increases for clearance subassembly and protecting crust, greatly increased the life of clearance subassembly, the connected mode of driving motor and conveyer belt for when the motor rotates, can avoid the condition of skidding.
Further, the inner wall of conveyer belt is connected with the latch meshing of pivot outer wall setting, the inner wall of pivot rotates and is connected with first fixed block, the top butt of pivot has the piece of hindering, the first fixed block of central point department of putting fixedly connected with of the bottom of the piece of hindering, the bottom of first fixed block and the top fixed connection of photovoltaic board, the device utilize the inner wall interval at the conveyer belt to set up first fixed block, and the latch of the pivot outer wall setting that first fixed block is connected can assist the conveyer belt to transmit, can avoid the conveyer belt to go up to slide by the chunk that sets up to appear, influences the result of use.
Further, the outer wall fixedly connected with second fixed block of conveyer belt, the bottom fixedly connected with brush cleaner of second fixed block, the device utilize and set up the second fixed block at the outer wall of conveyer belt for during the conveyer belt transmission, can drive the dust on the brush cleaner with the photovoltaic board through the second fixed block and clean.
Further, the protection component comprises a third protection shell, a key, a hinge and a fixture block, the third protection shell is connected through hinge rotation, the key is connected to one side of the third protection shell on one side of the hinge in a clamping mode, a clamping groove is formed in the front side face of the third protection shell on one side of the hinge, the fixture block is fixedly connected to the front side face of the third protection shell on the other side of the hinge, the third protection shell can be closed through the fixture block arranged on the third protection shell, the third protection shell can be opened through the set key, and the protection performance of the device is greatly improved.
The utility model discloses following beneficial effect has:
1. the utility model discloses a set up clearance subassembly and protection component, driving motor and external power electric connection, driving motor's output shaft drives the transmission of drive belt, and the drive belt drives the brush cleaner motion on the second fixed block, and the brush cleaner can clean the dust on the photovoltaic board, has avoided the manual work to clean, can accomodate the brush cleaner who cleans the end through the third protecting crust on the protection component, increases the life of brush cleaner.
2. The utility model discloses a set up photovoltaic and follow spot sensor, motor case and connecting axle, motor and external power electric connection of motor incasement portion follow spot sensor through the photovoltaic and make the motor of motor incasement portion rotate, and the motor of motor incasement portion drives the connecting axle and rotates, and the connecting axle drives the photovoltaic board rotation on the solid fixed ring, greatly increased the sensitization effect of photovoltaic board.
Of course, it is not necessary for any particular product to achieve all of the above-described advantages at the same time.
Drawings
In order to more clearly illustrate the technical solutions of the embodiments of the present invention, the drawings used in the description of the embodiments will be briefly introduced below, and it is obvious that the drawings in the following description are only some embodiments of the present invention, and it is obvious for those skilled in the art that other drawings can be obtained according to these drawings without creative efforts.
FIG. 1 is a front view of the present invention;
fig. 2 is a rear view of the present invention;
FIG. 3 is a schematic view of the cleaning assembly of FIG. 1 according to the present invention;
fig. 4 is a schematic structural diagram of the protection assembly of fig. 1 according to the present invention.
In the drawings, the components represented by the respective reference numerals are listed below:
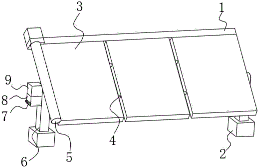
1. cleaning the assembly; 101. blocking; 102. a conveyor belt; 103. a first protective shell; 104. clamping teeth; 105. a first fixed block; 106. a rotating shaft; 107. cleaning with a brush; 108. a second fixed block; 109. a drive motor; 110. a second protective shell; 2. a stabilizing block; 3. a photovoltaic panel; 4. connecting blocks; 5. a guard assembly; 501. a third protective shell; 502. a card slot; 503. pressing a key; 504. a hinge; 505. a clamping block; 6. a support pillar; 7. a switch button; 8. a photovoltaic light tracking sensor; 9. a motor case; 10. a fixing ring; 11. and (7) connecting the shafts.
Detailed Description
The technical solution in the embodiments of the present invention will be clearly and completely described below with reference to the accompanying drawings in the embodiments of the present invention.
Referring to fig. 1-4, the utility model relates to a photovoltaic power generation grid-connected device, which comprises a cleaning component 1, a photovoltaic plate 3, a protective component 5, a fixing ring 10 and a connecting shaft 11, wherein one side of the photovoltaic plate 3 is fixedly connected with the outer wall of the protective component 5, the top of the photovoltaic plate 3 is fixedly connected with the bottom of the cleaning component 1, the photovoltaic plates 3 are fixedly connected with each other through a connecting block 4, the middle part of the rear side surface of the photovoltaic plate 3 is fixedly connected with the outer wall of the fixing ring 10, the inner wall of the fixing ring 10 is engaged with the outer wall of the connecting shaft 11, two ends of the connecting shaft 11 are rotatably connected with supporting columns 6, the top of one end of the supporting column 6 of the connecting shaft 11 is fixedly connected with a motor box 9, the upper part of one end of the connecting shaft 11, one side of the supporting column 6 is fixedly connected with a photovoltaic light tracing sensor 8, the bottom of one side of the photovoltaic light tracing sensor 8 is provided with a switch button 7, the bottom of the supporting column 6 is fixedly connected with a stabilizing block 2, during the use, press two shift knob 7 of one side on the photovoltaic sensor 8 of following spot, motor to in photovoltaic sensor 8 and the motor case 9 of following spot starts, photovoltaic sensor 8 of following spot is through response sunshine, and to motor send instruction in the motor case 9, motor in the motor case 9 rotates, and drive output shaft's connecting axle 11 rotates in the motor case 9, connecting axle 11 drives solid fixed ring 10 and rotates, make photovoltaic board 3 can the largest area with the sunlight contact, greatly increased the device's availability factor, when needing to clear up, press shift knob 7 of opposite side on the photovoltaic sensor 8 of following spot, start driving motor 109 and clear up photovoltaic board 3.
As shown in fig. 3, the cleaning assembly 1 includes a conveyor belt 102, a first protective shell 103, a driving motor 109 and a second protective shell 110, one side of the first protective shell 103 is fixedly connected with the bottom of one side of the second protective shell 110, the inside of the second protective shell 110 is fixedly connected with the outer wall of the driving motor 109, the lower portion of the driving motor 109 is engaged with the inner wall of the conveyor belt 102, the inner wall of the conveyor belt 102 is engaged with a latch 104 arranged on the outer wall of a rotating shaft 106, the inner wall of the rotating shaft 106 is rotatably connected with a first fixed block 105, the top of the rotating shaft 106 is abutted with a resistance block 101, the central position of the bottom of the resistance block 101 is fixedly connected with the first fixed block 105, the bottom of the first fixed block 105 is fixedly connected with the top of the photovoltaic panel 3, the outer wall of the conveyor belt 102 is fixedly connected with a second fixed block 108, the bottom of the second fixed block 108 is fixedly connected with a cleaning brush 107, the driving motor 109 is started, and the cleaning output shaft of the driving motor 109 drives the conveyor belt 102 to transmit, the conveyor belt 102 drives the cleaning brush 107 on the second fixing block 108 to move, the cleaning brush 107 is in contact with the photovoltaic panel 3, when the cleaning brush 107 moves, the cleaning brush rubs against the photovoltaic panel 3, dust on the photovoltaic panel 3 can be cleaned, and after cleaning is finished, the switch button 7 is pressed to be closed.
As shown in fig. 4, the protection assembly 5 includes a third protection shell 501, a button 503, a hinge 504 and a latch 505, the third protection shells 501 are rotatably connected through the hinge 504, the button 503 is fastened to one side of the third protection shell 501 on one side of the hinge 504, the front side of the third protection shell 501 on one side of the hinge 504 is provided with the latch 502, the latch 505 is fixedly connected to the front side of the third protection shell 501 on the other side of the hinge 504, before use, the button 503 is pressed, and the other end of the button 503 is abutted to one end of the latch 505, so that the latch 505 can be taken out of the latch 502, the third protection shell 501 on one side of the hinge 504 can be taken out, the cleaning brush 107 inside the third protection shell 501 can be used, after the cleaning brush 107 is finished, the cleaning brush is placed back into the protection assembly 5, the latch 505 on the third protection shell 501 is fastened in the latch 502, and when severe weather occurs, the cleaning brush 107 can be protected to a certain extent, the service life is prolonged.
The above is only the preferred embodiment of the present invention, and the present invention is not limited thereto, any technical solutions recorded in the foregoing embodiments are modified, and some technical features thereof are replaced with equivalent ones, and any modification, equivalent replacement, and improvement made thereby all belong to the protection scope of the present invention.

Claims (6)

1.一种光伏发电并网装置,包括清理组件(1)、光伏板(3)、防护组件(5)、固定环(10)和连接轴(11),其特征在于:所述光伏板(3)的一侧与防护组件(5)的外壁固定连接,所述光伏板(3)的顶部与清理组件(1)的底部固定连接,所述光伏板(3)之间通过连接块(4)固定连接,所述光伏板(3)后侧面的中部与固定环(10)的外壁固定连接,所述固定环(10)的内壁与连接轴(11)的外壁啮合连接。1. A photovoltaic power generation grid-connected device, comprising a cleaning component (1), a photovoltaic panel (3), a protection component (5), a fixing ring (10) and a connecting shaft (11), characterized in that: the photovoltaic panel ( 3) One side is fixedly connected to the outer wall of the protective assembly (5), the top of the photovoltaic panel (3) is fixedly connected to the bottom of the cleaning assembly (1), and the photovoltaic panels (3) are connected by connecting blocks (4). ) is fixedly connected, the middle part of the rear side of the photovoltaic panel (3) is fixedly connected with the outer wall of the fixing ring (10), and the inner wall of the fixing ring (10) is engaged with the outer wall of the connecting shaft (11). 2.根据权利要求1所述的一种光伏发电并网装置,其特征在于,所述连接轴(11)的两端转动连接有支撑柱(6),所述连接轴(11)一端支撑柱(6)一侧的顶部固定连接有电机箱(9),所述连接轴(11)一端支撑柱(6)一侧的上部固定连接有光伏追光传感器(8),所述光伏追光传感器(8)一侧的底部设置有开关按钮(7),所述支撑柱(6)的底部固定连接有稳固块(2)。2 . The photovoltaic power generation grid-connected device according to claim 1 , wherein two ends of the connecting shaft ( 11 ) are rotatably connected with support columns ( 6 ), and one end of the connecting shaft ( 11 ) supports the columns. 3 . (6) A motor box (9) is fixedly connected to the top of one side, and a photovoltaic tracking sensor (8) is fixedly connected to the upper part of one side of the support column (6) at one end of the connecting shaft (11). (8) A switch button (7) is arranged at the bottom of one side, and a stabilization block (2) is fixedly connected to the bottom of the support column (6). 3.根据权利要求1所述的一种光伏发电并网装置,其特征在于,所述清理组件(1)包括传送带(102)、第一防护壳(103)、驱动电机(109)和第二防护壳(110),所述第一防护壳(103)的一侧与第二防护壳(110)一侧的底部固定连接,所述第二防护壳(110)的内部与驱动电机(109)的外壁固定连接,所述驱动电机(109)的下部与传送带(102)的内壁啮合连接。3. The photovoltaic power generation grid-connected device according to claim 1, wherein the cleaning assembly (1) comprises a conveyor belt (102), a first protective casing (103), a drive motor (109) and a second A protective case (110), one side of the first protective case (103) is fixedly connected to the bottom of one side of the second protective case (110), and the inside of the second protective case (110) is connected to the drive motor (109) The outer wall of the belt is fixedly connected, and the lower part of the drive motor (109) is engaged with the inner wall of the conveyor belt (102). 4.根据权利要求3所述的一种光伏发电并网装置,其特征在于,所述传送带(102)的内壁与转轴(106)外壁设置的卡齿(104)啮合连接,所述转轴(106)的内壁转动连接有第一固定块(105),所述转轴(106)的顶部抵接有阻块(101),所述阻块(101)底部的中心位置处固定连接有第一固定块(105),所述第一固定块(105)的底部与光伏板(3)的顶部固定连接。4. A photovoltaic power generation grid-connected device according to claim 3, characterized in that the inner wall of the conveyor belt (102) is engaged with the teeth (104) provided on the outer wall of the rotating shaft (106), and the rotating shaft (106) ) is rotatably connected with a first fixing block (105), the top of the rotating shaft (106) is abutted with a blocking block (101), and the central position of the bottom of the blocking block (101) is fixedly connected with a first fixing block (105), the bottom of the first fixing block (105) is fixedly connected with the top of the photovoltaic panel (3). 5.根据权利要求3所述的一种光伏发电并网装置,其特征在于,所述传送带(102)的外壁固定连接有第二固定块(108),所述第二固定块(108)的底部固定连接有清扫刷(107)。5. The photovoltaic power generation grid-connected device according to claim 3, wherein a second fixing block (108) is fixedly connected to the outer wall of the conveyor belt (102), and the second fixing block (108) is A cleaning brush (107) is fixedly connected to the bottom. 6.根据权利要求1所述的一种光伏发电并网装置,其特征在于,所述防护组件(5)包括第三防护壳(501)、按键(503)、合页(504)和卡块(505),所述第三防护壳(501)之间通过合页(504)转动连接,所述合页(504)一侧第三防护壳(501)的一侧卡接有按键(503),所述合页(504)一侧第三防护壳(501)的前侧面开设有卡槽(502),所述合页(504)另一侧第三防护壳(501)的前侧面固定连接有卡块(505)。6. The photovoltaic power generation grid-connected device according to claim 1, characterized in that, the protective component (5) comprises a third protective shell (501), a button (503), a hinge (504) and a clamping block (505), the third protective shells (501) are rotatably connected by a hinge (504), and a button (503) is snapped on one side of the third protective shell (501) on one side of the hinge (504) , the front side of the third protective shell (501) on one side of the hinge (504) is provided with a card slot (502), and the front side of the third protective shell (501) on the other side of the hinge (504) is fixedly connected There are blocks (505).
CN202120088700.6U 2021-01-13 2021-01-13 A photovoltaic power generation grid-connected device Expired - Fee Related CN213960012U (en)

Priority Applications (1)

Application Number Priority Date Filing Date Title
CN202120088700.6U CN213960012U (en) 2021-01-13 2021-01-13 A photovoltaic power generation grid-connected device

Applications Claiming Priority (1)

Application Number Priority Date Filing Date Title
CN202120088700.6U CN213960012U (en) 2021-01-13 2021-01-13 A photovoltaic power generation grid-connected device

Publications (1)

Publication Number Publication Date
CN213960012U true CN213960012U (en) 2021-08-13

Family

ID=77198915

Family Applications (1)

Application Number Title Priority Date Filing Date
CN202120088700.6U Expired - Fee Related CN213960012U (en) 2021-01-13 2021-01-13 A photovoltaic power generation grid-connected device

Country Status (1)

Country Link
CN (1) CN213960012U (en)

Cited By (2)

* Cited by examiner, † Cited by third party
Publication number Priority date Publication date Assignee Title
CN116208073A (en) * 2022-09-09 2023-06-02 苏州吉弘能源科技有限公司 Photovoltaic cell assembly and power generation system
CN119496454A (en) * 2024-11-15 2025-02-21 江苏库能电力科技有限公司 A daily photovoltaic power generation device

Cited By (3)

* Cited by examiner, † Cited by third party
Publication number Priority date Publication date Assignee Title
CN116208073A (en) * 2022-09-09 2023-06-02 苏州吉弘能源科技有限公司 Photovoltaic cell assembly and power generation system
CN116208073B (en) * 2022-09-09 2024-01-23 苏州吉弘能源科技有限公司 Photovoltaic power generation system
CN119496454A (en) * 2024-11-15 2025-02-21 江苏库能电力科技有限公司 A daily photovoltaic power generation device

Similar Documents

Publication Publication Date Title
CN213960012U (en) A photovoltaic power generation grid-connected device
CN212518876U (en) Solar photovoltaic panel equipment
CN211266855U (en) Solar photovoltaic panel with self-cleaning function
CN111404452B (en) Device based on integration of photovoltaic technology and wind power generation technology
CN210469177U (en) Supporting device with photovoltaic plate angle adjustment
CN210986013U (en) Ventilation heat dissipation energy storage solar photovoltaic board
CN208015664U (en) A tracking solar photovoltaic power generation system
CN218473109U (en) Photovoltaic solar panel with surface cleaning function
CN211930583U (en) Solar power generation device with snow sweeping function
CN215990690U (en) Solar photovoltaic panel support
CN209488518U (en) A dust-proof solar photovoltaic module
CN214544228U (en) Solar photovoltaic panel convenient to clean
CN211860038U (en) Solar photovoltaic panel power generation device
CN210927556U (en) A photovoltaic panel dust cleaning device for a cellular photovoltaic power station
CN209805725U (en) Movable solar cell panel
CN214045746U (en) An environmentally friendly camera for residential use
CN209881722U (en) Solar photovoltaic panel with cleaning function
CN209462334U (en) Solar panels with dust removal function
CN220915244U (en) Solar photovoltaic panel surface dust removal mechanism
CN221523934U (en) Efficient energy-saving photoelectric curtain wall
CN212063925U (en) A building-based solar photovoltaic facility
CN217984931U (en) New energy power generation device
CN216290821U (en) Solar photovoltaic panel with cleaning function
CN217693238U (en) Solar panel adjusting device
CN221570820U (en) Solar photo-thermal receiving device

Legal Events

Date Code Title Description
GR01 Patent grant
GR01 Patent grant
CF01 Termination of patent right due to non-payment of annual fee

Granted publication date: 20210813