CN213949914U - 一种玻璃移动用辅助用具 - Google Patents

一种玻璃移动用辅助用具 Download PDF

Info

Publication number
CN213949914U
CN213949914U CN202022938330.9U CN202022938330U CN213949914U CN 213949914 U CN213949914 U CN 213949914U CN 202022938330 U CN202022938330 U CN 202022938330U CN 213949914 U CN213949914 U CN 213949914U
Authority
CN
China
Prior art keywords
glass
fixedly connected
spacing pipe
electric telescopic
auxiliary tool
Prior art date
Legal status (The legal status is an assumption and is not a legal conclusion. Google has not performed a legal analysis and makes no representation as to the accuracy of the status listed.)
Expired - Fee Related
Application number
CN202022938330.9U
Other languages
English (en)
Inventor
张强
Current Assignee (The listed assignees may be inaccurate. Google has not performed a legal analysis and makes no representation or warranty as to the accuracy of the list.)
Anhui Xingbao Aquatic Products Co ltd
Original Assignee
Anhui Xingbao Aquatic Products Co ltd
Priority date (The priority date is an assumption and is not a legal conclusion. Google has not performed a legal analysis and makes no representation as to the accuracy of the date listed.)
Filing date
Publication date
Application filed by Anhui Xingbao Aquatic Products Co ltd filed Critical Anhui Xingbao Aquatic Products Co ltd
Priority to CN202022938330.9U priority Critical patent/CN213949914U/zh
Application granted granted Critical
Publication of CN213949914U publication Critical patent/CN213949914U/zh
Expired - Fee Related legal-status Critical Current
Anticipated expiration legal-status Critical

Links

Images

Landscapes

  • Conveying And Assembling Of Building Elements In Situ (AREA)

Abstract

本实用新型公开了一种玻璃移动用辅助用具,包括移动底板,所述移动底板的上表面分别固定连接有移动电源、安装箱、把手和置物海绵垫,所述安装箱的上表面固定连接有第一限位管,所述安装箱的内顶壁和第一限位管的内顶壁通过轴承转动连接有升降丝杠。该玻璃移动用辅助用具,通过设置竖向支撑杆、调节支撑杆、负压机、安装板、吸盘和电动伸缩杆,能够调整安装板和吸盘的倾斜角度,从而能够对多种放置状态的玻璃进行吸附固定,通过设置移动底板、移动滚轮、驱动电机、第一限位管、升降丝杠、第二限位管、多级电动伸缩杆和滑动块,能够达到对吸盘吸附固定的玻璃进行起吊和移动的目的,且能够在移动后调整玻璃的放置状态。

Description

一种玻璃移动用辅助用具
技术领域
本实用新型涉及玻璃加工技术领域,具体为一种玻璃移动用辅助用具。
背景技术
玻璃是非晶无机非金属材料,主要成分是硅酸盐复盐,是一种无规则结构的非晶态固体,广泛应用于建筑物,用来隔风透光,属于混合物,另有混入了某些金属的氧化物或者盐类而显现出颜色的有色玻璃和通过物理或者化学的方法制得的钢化玻璃等。
在对玻璃进行加工前,需要将玻璃搬运至工作台,现有的用于移动玻璃的装置,功能较为单一,不便于对多种放置状态(平放、竖放和斜放)的玻璃进行移动。
因此,我们需要一种玻璃移动用辅助用具。
实用新型内容
本实用新型的目的在于提供一种玻璃移动用辅助用具,以解决上述背景技术中提出的问题。
为实现上述目的,本实用新型提供如下技术方案:一种玻璃移动用辅助用具,包括移动底板,所述移动底板的上表面分别固定连接有移动电源、安装箱、把手和置物海绵垫,所述安装箱的上表面固定连接有第一限位管,所述安装箱的内顶壁和第一限位管的内顶壁通过轴承转动连接有升降丝杠,所述升降丝杠的表面螺纹连接有移动螺母,所述移动螺母的右侧壁固定连接有第二限位管,所述第二限位管的内壁滑动连接有滑动块,所述滑动块的下表面固定连接有竖向支撑杆,所述竖向支撑杆的底端通过转动轴转动连接有调节支撑杆,所述调节支撑杆的左侧壁固定连接有负压机,所述调节支撑杆的底端固定连接有安装板,所述安装板的下表面开设有四个矩形安装槽,所述矩形安装槽的内壁通过轴承转动连接有调节螺杆,所述调节螺杆的表面螺纹连接有与矩形安装槽相适配的矩形移动块,所述矩形移动块的下表面固定连接有吸盘。
优选的,所述安装箱的内底壁固定连接有驱动电机,所述驱动电机的输出端与升降丝杠的底端固定连接。
优选的,所述第一限位管的右侧壁开设有与第二限位管相适配的竖向滑动槽,所述第二限位管的下表面开设有与竖向支撑杆相适配的横向滑动槽,所述第二限位管的内左壁固定连接有多级电动伸缩杆,所述多级电动伸缩杆的伸缩端与滑动块的左侧壁固定连接。
优选的,所述移动底板的下表面分别设置有移动滚轮和配重块,所述把手的顶端设置有控制开关。
优选的,所述竖向支撑杆的右侧壁通过衔接转轴转动连接有电动伸缩杆,所述电动伸缩杆的伸缩端通过衔接转轴与调节支撑杆的右侧壁转动连接。
优选的,四个所述吸盘的表面均通过管道与负压机的进气端相连通,所述调节螺杆的一端设置有旋钮。
有益效果
本实用新型提供了一种玻璃移动用辅助用具,具备以下有益效果:
1.该玻璃移动用辅助用具,通过设置竖向支撑杆、调节支撑杆、负压机、安装板、吸盘和电动伸缩杆,能够调整安装板和吸盘的倾斜角度,从而能够对多种放置状态的玻璃进行吸附固定,通过设置移动底板、移动滚轮、驱动电机、第一限位管、升降丝杠、第二限位管、多级电动伸缩杆和滑动块,能够达到对吸盘吸附固定的玻璃进行起吊和移动的目的,且能够在移动后调整玻璃的放置状态。
2.该玻璃移动用辅助用具,通过设置置物海绵垫,能够将单片或者多片玻璃移动至置物海绵垫的表面,再对玻璃进行转移,保障了安全性的同时,提高了工作效率,通过设置调节螺杆、矩形移动块和旋钮,能够针对玻璃的大小对四个吸盘的位置进行调整,增强该装置的适用性。
附图说明
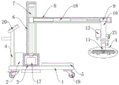
图1为本实用新型正剖结构示意图;
图2为图1中A处放大结构示意图;
图3为安装板仰视结构示意图。
图中:1移动底板、2移动电源、3安装箱、4把手、5置物海绵垫、6第一限位管、7升降丝杠、8第二限位管、9滑动块、10竖向支撑杆、11调节支撑杆、12负压机、13安装板、14调节螺杆、15矩形移动块、16吸盘、17驱动电机、18多级电动伸缩杆、19移动滚轮、20控制开关、21电动伸缩杆。
具体实施方式
下面将结合本实用新型实施例中的附图,对本实用新型实施例中的技术方案进行清楚、完整地描述,显然,所描述的实施例仅仅是本实用新型一部分实施例,而不是全部的实施例。基于本实用新型中的实施例,本领域普通技术人员在没有做出创造性劳动前提下所获得的所有其他实施例,都属于本实用新型保护的范围。
请参阅图1-3,本实用新型提供一种技术方案:一种玻璃移动用辅助用具,包括移动底板1,移动底板1的上表面分别固定连接有移动电源2、安装箱3、把手4和置物海绵垫5,移动底板1的下表面分别设置有移动滚轮19和配重块,把手4的顶端设置有控制开关20,通过设置置物海绵垫5,能够将单片或者多片玻璃移动至置物海绵垫5的表面,再对玻璃进行转移,保障了安全性的同时,提高了工作效率。
安装箱3的上表面固定连接有第一限位管6,安装箱3的内顶壁和第一限位管6的内顶壁通过轴承转动连接有升降丝杠7,安装箱3的内底壁固定连接有驱动电机17,驱动电机17的输出端与升降丝杠7的底端固定连接。
升降丝杠7的表面螺纹连接有移动螺母,移动螺母的右侧壁固定连接有第二限位管8,第二限位管8的内壁滑动连接有滑动块9,滑动块9的下表面固定连接有竖向支撑杆10,第一限位管6的右侧壁开设有与第二限位管8相适配的竖向滑动槽,第二限位管8的下表面开设有与竖向支撑杆10相适配的横向滑动槽,第二限位管8的内左壁固定连接有多级电动伸缩杆18,多级电动伸缩杆18的伸缩端与滑动块9的左侧壁固定连接。
竖向支撑杆10的底端通过转动轴转动连接有调节支撑杆11,竖向支撑杆10的右侧壁通过衔接转轴转动连接有电动伸缩杆21,电动伸缩杆21的伸缩端通过衔接转轴与调节支撑杆11的右侧壁转动连接,调节支撑杆11的左侧壁固定连接有负压机12,调节支撑杆11的底端固定连接有安装板13,安装板13的下表面开设有四个矩形安装槽,矩形安装槽的内壁通过轴承转动连接有调节螺杆14,调节螺杆14的表面螺纹连接有与矩形安装槽相适配的矩形移动块15,矩形移动块15的下表面固定连接有吸盘16,四个吸盘16的表面均通过管道与负压机12的进气端相连通,通过设置竖向支撑杆10、调节支撑杆11、负压机12、安装板13、吸盘16和电动伸缩杆21,能够调整安装板13和吸盘16的倾斜角度,从而能够对多种放置状态的玻璃进行吸附固定,通过设置移动底板1、移动滚轮19、驱动电机17、第一限位管6、升降丝杠7、第二限位管8、多级电动伸缩杆18和滑动块9,能够达到对吸盘16吸附固定的玻璃进行起吊和移动的目的,且能够在移动后调整玻璃的放置状态。
调节螺杆14的一端设置有旋钮,通过设置调节螺杆14、矩形移动块15和旋钮,能够针对玻璃的大小对四个吸盘16的位置进行调整,增强该装置的适用性。
工作原理:当该玻璃移动用辅助用具使用时,将该装置设置有吸盘16的一侧移动至玻璃前,通过控制开关20控制驱动电机17带动升降丝杠7转动,带动第二限位管8下降,在下降的过程中,吸盘16与玻璃之间的距离逐渐缩短,根据玻璃的放置状态,利用电动伸缩杆21拉动调节支撑杆11,对安装板13和吸盘16的倾角进行调整,使吸盘16与玻璃的平面贴合,负压机12启动,负压通过管道传递至吸盘16,将玻璃进行吸附固定,此时驱动电机17反转,对玻璃进行抬升,并能够在抬升的过程中将玻璃调整至水平,多级电动伸缩杆收缩18,将玻璃移动至置物海绵垫5的上方,随后安装板13下降,将玻璃放置在置物海绵垫5上,再利用移动滚轮19对玻璃进行移动,从而达到了对多种放置状态的玻璃进行移动的目的。
尽管已经示出和描述了本实用新型的实施例,对于本领域的普通技术人员而言,可以理解在不脱离本实用新型的原理和精神的情况下可以对这些实施例进行多种变化、修改、替换和变型,本实用新型的范围由所附权利要求及其等同物限定。

Claims (6)

1.一种玻璃移动用辅助用具,包括移动底板(1),其特征在于:所述移动底板(1)的上表面分别固定连接有移动电源(2)、安装箱(3)、把手(4)和置物海绵垫(5),所述安装箱(3)的上表面固定连接有第一限位管(6),所述安装箱(3)的内顶壁和第一限位管(6)的内顶壁通过轴承转动连接有升降丝杠(7),所述升降丝杠(7)的表面螺纹连接有移动螺母,所述移动螺母的右侧壁固定连接有第二限位管(8),所述第二限位管(8)的内壁滑动连接有滑动块(9),所述滑动块(9)的下表面固定连接有竖向支撑杆(10),所述竖向支撑杆(10)的底端通过转动轴转动连接有调节支撑杆(11),所述调节支撑杆(11)的左侧壁固定连接有负压机(12),所述调节支撑杆(11)的底端固定连接有安装板(13),所述安装板(13)的下表面开设有四个矩形安装槽,所述矩形安装槽的内壁通过轴承转动连接有调节螺杆(14),所述调节螺杆(14)的表面螺纹连接有与矩形安装槽相适配的矩形移动块(15),所述矩形移动块(15)的下表面固定连接有吸盘(16)。
2.根据权利要求1所述的一种玻璃移动用辅助用具,其特征在于:所述安装箱(3)的内底壁固定连接有驱动电机(17),所述驱动电机(17)的输出端与升降丝杠(7)的底端固定连接。
3.根据权利要求1所述的一种玻璃移动用辅助用具,其特征在于:所述第一限位管(6)的右侧壁开设有与第二限位管(8)相适配的竖向滑动槽,所述第二限位管(8)的下表面开设有与竖向支撑杆(10)相适配的横向滑动槽,所述第二限位管(8)的内左壁固定连接有多级电动伸缩杆(18),所述多级电动伸缩杆(18)的伸缩端与滑动块(9)的左侧壁固定连接。
4.根据权利要求1所述的一种玻璃移动用辅助用具,其特征在于:所述移动底板(1)的下表面分别设置有移动滚轮(19)和配重块,所述把手(4)的顶端设置有控制开关(20)。
5.根据权利要求1所述的一种玻璃移动用辅助用具,其特征在于:所述竖向支撑杆(10)的右侧壁通过衔接转轴转动连接有电动伸缩杆(21),所述电动伸缩杆(21)的伸缩端通过衔接转轴与调节支撑杆(11)的右侧壁转动连接。
6.根据权利要求1所述的一种玻璃移动用辅助用具,其特征在于:四个所述吸盘(16)的表面均通过管道与负压机(12)的进气端相连通,所述调节螺杆(14)的一端设置有旋钮。
CN202022938330.9U 2020-12-10 2020-12-10 一种玻璃移动用辅助用具 Expired - Fee Related CN213949914U (zh)

Priority Applications (1)

Application Number Priority Date Filing Date Title
CN202022938330.9U CN213949914U (zh) 2020-12-10 2020-12-10 一种玻璃移动用辅助用具

Applications Claiming Priority (1)

Application Number Priority Date Filing Date Title
CN202022938330.9U CN213949914U (zh) 2020-12-10 2020-12-10 一种玻璃移动用辅助用具

Publications (1)

Publication Number Publication Date
CN213949914U true CN213949914U (zh) 2021-08-13

Family

ID=77214581

Family Applications (1)

Application Number Title Priority Date Filing Date
CN202022938330.9U Expired - Fee Related CN213949914U (zh) 2020-12-10 2020-12-10 一种玻璃移动用辅助用具

Country Status (1)

Country Link
CN (1) CN213949914U (zh)

Cited By (2)

* Cited by examiner, † Cited by third party
Publication number Priority date Publication date Assignee Title
CN116692479A (zh) * 2023-04-26 2023-09-05 中建八局第一建设有限公司 一种用于不规则外形玻璃的托运安装系统
WO2025236486A1 (zh) * 2024-05-16 2025-11-20 上海普英特高层设备股份有限公司 一种四轮调节玻璃转运装置

Cited By (2)

* Cited by examiner, † Cited by third party
Publication number Priority date Publication date Assignee Title
CN116692479A (zh) * 2023-04-26 2023-09-05 中建八局第一建设有限公司 一种用于不规则外形玻璃的托运安装系统
WO2025236486A1 (zh) * 2024-05-16 2025-11-20 上海普英特高层设备股份有限公司 一种四轮调节玻璃转运装置

Similar Documents

Publication Publication Date Title
CN213949914U (zh) 一种玻璃移动用辅助用具
CN210365957U (zh) 一种扩散板生产用上料装置
CN116423319A (zh) 一种光伏玻璃生产用抛光设备
CN210342599U (zh) 一种房屋施工用水平地面瓷砖铺设装置
CN215659449U (zh) 一种自动化玻璃边缘打磨装置
CN215733207U (zh) 弱电工程用便捷型管道支撑机构
CN215107051U (zh) 一种用于安装单元式幕墙的水平平衡吊具
CN208982041U (zh) 一种可调式煤炭开采装置
CN218173896U (zh) 一种玻璃深加工用抓取设备
CN214118403U (zh) 一种水利工程的环保节能水泵
CN216463322U (zh) 一种便于调节的抓手零件加工装置
CN209958484U (zh) 一种污水处理水泵自动调节装置
CN210483976U (zh) 一种水利水电用提水装置
CN221367244U (zh) 一种耐寒式内衬软管加工用的放料小车
CN217173114U (zh) 一种用于中央空调的风管安装提升机
CN223739006U (zh) 一种玻璃幕墙安装用辅助装置
CN219938141U (zh) 一种电机组装用支撑固定架
CN221160267U (zh) 一种彩钢板加工用定位夹具
CN216189242U (zh) 一种玻璃加工用传送机构
CN218622793U (zh) 一种玻璃幕墙连接装置
CN110775339A (zh) 一种玻璃加工用贴膜装置
CN220765812U (zh) 一种柔性搬运机器人
CN215482658U (zh) 电控捡拾器
CN207903801U (zh) 一种建筑隔板提升安装车
CN221583533U (zh) 一种触摸屏加工用夹持机构

Legal Events

Date Code Title Description
GR01 Patent grant
GR01 Patent grant
CF01 Termination of patent right due to non-payment of annual fee

Granted publication date: 20210813

CF01 Termination of patent right due to non-payment of annual fee